Принят и введен в
действие
Постановлением
Госстандарта РФ
от 6 июня 2003 г. N
184-ст
НАЦИОНАЛЬНЫЙ СТАНДАРТ РОССИЙСКОЙ ФЕДЕРАЦИИ
КОНТЕЙНЕРЫ ГРУЗОВЫЕ СЕРИИ 1
ТЕХНИЧЕСКИЕ ТРЕБОВАНИЯ И МЕТОДЫ ИСПЫТАНИЙ
ЧАСТЬ 3
КОНТЕЙНЕРЫ-ЦИСТЕРНЫ ДЛЯ ЖИДКОСТЕЙ,
ГАЗОВ И СЫПУЧИХ ГРУЗОВ ПОД ДАВЛЕНИЕМ
Series 1 freight containers.
Technical requirements and
test methods.
Part
3. Tank containers for liquids,
gases and pressurized
dry bulk
ГОСТ Р 52076-2003
(ИСО 1496-3-95)
Группа Д88
ОКС 55.180.10
ОКП 31 7700
Дата введения
1 января 2004 года
Предисловие
1. Разработан ГУ
"Российский морской регистр судоходства" и Проектно-изыскательским и
научно-исследовательским институтом промышленного транспорта ЗАО "Промтрансниипроект".
Внесен Техническим комитетом по стандартизации ТК 246
"Контейнеры".
2. Принят и введен
в действие Постановлением Госстандарта России от 6 июня 2003 г. N 184-ст.
3. Настоящий стандарт разработан на основании требований международного
стандарта ИСО 1496-3-95 "Контейнеры грузовые серии 1. Технические
требования и методы испытаний. Часть 3. Контейнеры-цистерны для жидкостей,
газов и сыпучих грузов под давлением" с дополнительными требованиями,
отражающими потребности экономики страны.
4. Введен впервые.
1. Область
применения
1.1. Настоящий
стандарт устанавливает технические требования и методы испытаний
контейнеров-цистерн, предназначенных для транспортирования жидкостей, газов и
сыпучих грузов под давлением железнодорожным, водным и автомобильным
транспортом в прямом и смешанном сообщениях.
1.2. Типы
контейнеров-цистерн, требования к которым установлены в настоящем стандарте,
приведены в таблице 1.
Таблица 1
Типы
контейнеров
┌─────────────────────────────────────┬──────────────┬────────────────────┐
│ Тип груза │ Минимальное │
Основа кода │
│ и код типа контейнера ИСО <1> │испытательное
│ по инструкции [1] │
├──────────────┬────┬─────────────────┤давление
<2>,
├──────┬─────┬───────┤
│ Жидкости
│Газы│ Сыпучие
грузы │ кПа
│Т1 -
│ Т50 │ Т75 │
├────────┬─────┤
├────────┬────────┤ │ Т23│ │ │
│неопас-
│опас-│
│горизон-│разгруз-│ │ │ │ │
│ные │ные │ │тальная
│ка опро-│ │ │ │
│
│ │ │
│разгруз-│кидыва- │ │ │ │ │
│ │ │
│ка │нием │ │ │ │ │
├────────┼─────┼────┼────────┼────────┼──────────────┼──────┼─────┼───────┤
│ Т0 │
│ │ │ │ 45
│ │ │ │
│ Т1 │ Т3
│ │ В3
│ В5 │
150 │ +
│ │ │
│ Т2 │ Т4
│ │ В4
│ В6 │265 (300) <3> │ +
│ │(+)
<3>│
│ │ Т5 │
│ │ │ 400
│ +
│ │ +
│
│ │ Т6 │
│ │ │ 600
│ + │
│ + │
│ │ │ Т7
│ │ │910 (1000) <3>│
(+) │ [+] │ +
│
│ │ │
│ │ │ │<3> │<3> │
│
│
│ │
│ │ │ [950] <3> │
│ │ │
│ │ │ Т8 │ │ │ 2200
│ │ +
│ + │
│ │ │ Т9
│ │ │ Резерв
│ │ +
│ + │
├────────┴─────┴────┴────────┴────────┴──────────────┴──────┴─────┴───────┤
│
<1> Маркировка кода
типа контейнера ИСО
не означает одобрение│
│каким-либо компетентным
органом транспортирования
специфических грузов│
│или
продукции, которые могут перевозиться в контейнере-цистерне. Код типа│
│зависит
только от испытательного давления. │
│
<2> Указанные значения
испытательного давления - это
минимальные│
│значения для
соответствующего типа. Любой
контейнер-цистерна,│
│испытательное давление которого находится в пределах указанных
значений│
│минимального
давления, принадлежит к низшему типу. │
│
<3> Круглые и
квадратные скобки указывают на
соответствие значений│
│минимального
испытательного давления определенной
инструкции по съемным│
│цистернам
ООН [1].
│
│ Примечание. Для всех контейнеров, за
исключением 1D и 1DX, должны быть│
│также
учтены требования 5.1.5 по конструкции. │
└─────────────────────────────────────────────────────────────────────────┘
1.3. Требования по
маркировке контейнеров-цистерн должны соответствовать требованиям, изложенным в
[2].
2.
Нормативные ссылки
В настоящем
стандарте использованы ссылки на следующие стандарты:
ГОСТ 14249-89
Сосуды и аппараты. Нормы и методы расчета на прочность
ГОСТ Р 51891-2002 (ИСО 1161-84) Контейнеры грузовые серии 1.
Фитинги угловые. Технические условия
3.
Определения
В настоящем
стандарте применяют следующие термины с соответствующими определениями в
соответствии с [3]:
3.1.
Контейнер-цистерна: контейнер, состоящий из следующих основных элементов:
цистерны (или цистерн) и каркаса (или рамных элементов для контейнеров-цистерн,
не имеющих продольных несущих элементов).
3.2. Каркас:
конструкция, состоящая из торцевых рам и несущих элементов, защищающих
цистерну, способная выдерживать статические и динамические нагрузки,
возникающие при подъеме, перегрузке, закреплении и транспортировании
контейнера-цистерны, но не предназначенная заключать в себе транспортируемый
груз.
3.3. Цистерна(ы): емкость (емкости) с соответствующими трубопроводами и
арматурой, предназначенная(ые) заключать в себе
перевозимые грузы.
3.4. Отсек: любая
герметичная секция цистерны, образованная оболочкой, днищами и/или переборками.
Примечание.
Отбойные перегородки не формируют отсек.
3.5. Газ: газ или насыщенные пары с абсолютным
давлением испарения выше 300 кПа (абсолютное) при
температуре 50 °C.
3.6. Жидкость:
жидкое вещество с абсолютным давлением испарения не более 300 кПа (абсолютное)
при температуре 50 °C.
3.7. Сыпучий груз:
множество отдельных частиц твердого вещества, обычно тесно сцепляющихся друг с
другом и способных к образованию потока.
3.8. Опасные грузы:
вещества, классифицированные как опасные Комитетом экспертов ООН по
транспортированию опасных грузов или уполномоченным национальным органом.
3.9. Компетентный
орган <1>: орган, назначенный правительством для выполнения задач по
проведению технического контроля за
контейнерами-цистернами.
--------------------------------
<1>
Национальным органом Российской Федерации является Российский морской регистр
судоходства, уполномоченный осуществлять технический контроль
за контейнерами массой брутто 10 т и более в соответствии с положениями
Международной конвенции по безопасным контейнерам 1972 г., а также за
выполнением требований Международного морского кодекса по опасным грузам.
3.10. Максимальное
допустимое рабочее давление: давление, установленное для данного типа цистерн и
предписанное компетентным органом или ответственным лицом. Цистерну нельзя
использовать при давлении выше указанного.
3.11. Испытательное
давление: манометрическое давление, при котором испытывают цистерну (6.13.2).
3.12. Общая
вместимость: объем воды, полностью заполняющий цистерну при 20 °C.
3.13. Незаполняемый объем: часть общей емкости цистерны, не
заполненная грузом. Выражается в процентах от общей емкости.
3.14. Запорное
устройство: устройство, закрывающее отверстие в цистерне.
4. Размеры и параметры
4.1.
Наружные размеры
Наружные размеры
контейнеров-цистерн и допуски к ним должны соответствовать указанным в [4], за
исключением контейнеров-цистерн меньшей высоты, которые обозначаются: 1AX, 1BX,
1CX и 1DX. Все конструктивные элементы контейнеров-цистерн, включая их
оборудование, не должны превышать установленные наружные размеры.
4.2. Масса брутто
Максимальная масса
брутто контейнера R должна соответствовать указанной в [4]. Однако, учитывая
высокую плотность многих жидких продуктов, R для контейнеров-цистерн типов
1BBB, 1BB, 1B, 1CC и 1C может быть больше и может превышать указанную в [4].
При этом масса брутто для всех типов контейнеров-цистерн не должна превышать
значения, установленного в [4] для контейнеров-цистерн типов 1AAA, 1AA и 1A.
Примечание. Контейнеры-цистерны высотой и массой брутто, отличными от
приведенных в [3], являются предметом рассмотрения компетентным органом.
5. Технические требования
5.1. Общие положения
Все
контейнеры-цистерны должны удовлетворять следующим требованиям в отношении
каркаса, конструкции цистерны и любых дополнительных приспособлений.
5.1.1. Способность
цистерны выдерживать заданные конструкционные нагрузки следует определять расчетным
путем и подтверждать опытным путем.
5.1.2. Требования
прочности контейнеров-цистерн изложены в виде схем в Приложении А (эти требования применяют ко всем контейнерам-цистернам,
если не оговорено другое).
5.1.3. Требования
прочности угловых фитингов приведены в ГОСТ Р 51891.
5.1.4.
Контейнер-цистерна должен выдерживать испытательные нагрузки, указанные в
разделе 6.
5.1.5.
Каждый контейнер-цистерна должен выдерживать воздействие сил инерции
содержащегося в нем груза, возникающих в результате движения транспорта. При
проектировании данные воздействия можно принять равными нагрузкам: 2Rg - в
продольном направлении, Rg - в поперечном направлении
и 2Rg - в вертикальном направлении <1>.
--------------------------------
См. примечание в
6.1.1.
Эти нагрузки можно
рассматривать как равномерно распределенные и действующие через геометрический
центр цистерны. Вертикальные нагрузки - это общие нагрузки, включающие
динамические воздействия.
Вышеуказанные
нагрузки не увеличивают давление в паровом пространстве. При проектировании
может быть использована эквивалентная нагрузка давлением.
Примечание. При
проектировании контейнеров-цистерн, предназначенных для опасных грузов,
воздействующие силы инерции должны соответствовать требованиям компетентных
органов.
5.1.6. Каждый
контейнер-цистерна должен соответствовать требованиям 5.1.5 и выдерживать
гидростатическое давление, возникающее при его загрузке до массы брутто R.
Особое внимание следует уделять жидким/сухим грузам высокой плотности, а также
цистернам, разделенным на отсеки.
5.1.7. Значения
нагрузок, зафиксированных в ходе испытаний контейнеров-цистерн в соответствии с
разделом 6 и указанных в Приложении А, не следует
превышать при эксплуатации.
5.1.8. Любое
запорное устройство на контейнере-цистерне, которое в незакрытом состоянии
может привести к возникновению опасной ситуации, должно быть обеспечено
надежной системой закрытия, имеющей по возможности систему внешней индикации
рабочего положения запорного устройства.
5.1.9. Карманы для
вилочных захватов в контейнерах-цистернах не допускаются.
5.1.10.
Материалы, применяемые для изготовления контейнеров-цистерн, должны быть
стойкими к воздействию перевозимого груза и окружающей среды и иметь
гарантированные свойства (прочность, вязкость, свариваемость и т.д.).
5.1.11. В
конструкции контейнеров-цистерн типов 1AAA и 1BBB следует уделять особое
внимание проблеме динамической неустойчивости данных контейнеров-цистерн по
сравнению с контейнерами-цистернами типов 1AA и 1BB при их эксплуатации на
автомобильном/железнодорожном транспорте с частичным заполнением.
5.2.
Угловые фитинги
5.2.1. Общие
положения
Все
контейнеры-цистерны должны быть оборудованы верхними и нижними угловыми
фитингами. Требования к угловым фитингам и их расположению установлены в ГОСТ Р 51891.
Расстояние между
верхней плоскостью верхних угловых фитингов и наивысшей точкой любого элемента
контейнера-цистерны должно быть не менее 6 мм (5.3.5).
5.2.2. Усиливающие
пластины.
При использовании
усиливающих пластин в местах расположения верхних угловых фитингов пластины и
их крепления не должны выступать над верхней поверхностью верхнего углового
фитинга. Эти пластины не должны простираться более чем на 750 мм от каждого
торца контейнера, но могут располагаться по всей его ширине.
5.3. Конструкция основания
5.3.1. Все
контейнеры-цистерны должны опираться только на нижние угловые фитинги.
5.3.2. Все
контейнеры-цистерны, кроме контейнеров типов 1CC, 1C, 1CX, 1D и 1DX, должны
опираться на опорные (контактные) площадки основания.
Контейнеры-цистерны
типов 1CC, 1C и 1CX могут иметь промежуточные опорные (контактные) площадки
основания в качестве дополнительных элементов. В этом случае
контейнеры-цистерны должны отвечать требованиям 5.3.2.1, 5.3.2.2 и Приложения
Б.
5.3.2.1.
Контейнеры-цистерны с опорными (контактными) площадками должны иметь торцевые
поперечные элементы и промежуточные опорные (контактные) площадки достаточной
прочности, чтобы обеспечить передачу
вертикальной нагрузки на или от
продольных элементов конструкции транспортного средства, которые должны
находиться в пределах двух зон по 250 мм, обозначенных пунктирными линиями на
рисунке Б.1.
Особое внимание
должно уделяться конструкции основания с точки зрения возможности ее разрушения
в результате усталости.
5.3.2.2.
Расстояние между нижними поверхностями опорных (контактных) площадок и
плоскостью, проходящей по нижним поверхностям нижних угловых фитингов, должно
составлять
.
Кроме нижних
угловых фитингов и нижних продольных балок, ни одна часть контейнера-цистерны
не должна быть ниже этого уровня, за исключением усиливающих пластин,
находящихся в местах расположения нижних угловых фитингов. Такие
пластины не должны простираться более чем на 550 мм от торцевой и 470 мм от
боковой поверхностей нижних угловых фитингов, и они должны располагаться в
плоскости, находящейся не менее чем на 5 мм выше плоскости, проходящей по
нижним поверхностям нижних угловых фитингов.
5.3.2.3. Передача
нагрузки между нижними поверхностями нижних боковых балок и транспортными
средствами не предусмотрена.
5.3.2.4. Требования
к опорным (контактным) площадкам изложены в Приложении Б.
5.3.3. В отношении
нижней плоскости основания контейнеров-цистерн типов 1D и 1DX никакие
дополнительные требования, помимо указанных в 5.3.4
и 5.3.5, не предусмотрены.
5.3.4. При загрузке
контейнеров-цистерн до массы брутто R никакая часть цистерны или ее
трубопроводов и арматуры не должна выступать за пределы плоскости,
расположенной на расстоянии 25 мм выше плоскости, образованной нижними
поверхностями нижних угловых фитингов.
5.3.5. Для
всех контейнеров-цистерн с внутренней равномерно распределенной нагрузкой до
массы брутто 1,8R, при воздействии динамической или эквивалентной ей
статической нагрузки, никакая часть конструкции основания контейнера-цистерны
не должна прогибаться более чем на 6 мм ниже плоскости, проходящей по нижним
граням нижних угловых фитингов.
5.4. Торцевая конструкция
Для всех
контейнеров-цистерн, кроме контейнеров-цистерн типов 1D и 1DX, смещение верха в
поперечном направлении по отношению к основанию при испытании на поперечный
перекос (6.8) не должно вызывать деформаций, при которых сумма изменений длин
двух диагоналей превышает 60 мм.
5.5. Боковая конструкция
Для всех
контейнеров-цистерн, кроме контейнеров-цистерн типов 1D и 1DX, смещение верха в
поперечном направлении по отношению к основанию при испытании на продольный
перекос (6.9) не должно превышать 25 мм.
5.6.
Цистерна
5.6.1. Устройство
и конструкция
5.6.1.1. Цистерна
или ее отсек должен иметь конструкцию, удобную для использования по назначению.
5.6.1.2. Цистерна
или цистерны должны быть жестко соединены с элементами каркаса контейнера.
Конструкция должна обеспечивать возможность загрузки или разгрузки цистерн без
снятия их с каркаса.
5.6.1.3. Цистерны
или отсеки цистерн без вакуумных предохранительных устройств должны выдерживать
внешнее давление, на 40 кПа превышающее внутреннее давление.
Цистерны,
оснащенные вакуумными предохранительными устройствами, должны выдерживать
внешнее избыточное давление 21 кПа и более.
5.6.2. Допуск на
коррозию
При необходимости
дополнительно к требованиям 5.1.10 следует учитывать допуск на коррозию.
5.6.3.
Эксплуатационное оборудование контейнеров-цистерн
5.6.3.1. Все
отверстия цистерн, за исключением тех, которые оборудованы предохранительными
устройствами для сброса избыточного давления, должны быть оснащены надежными
запорными устройствами для предотвращения случайной утечки содержимого.
5.6.3.2. Располагаемое
на цистерне оборудование должно быть прочным и крепиться к цистерне таким
образом, чтобы уменьшить риск его повреждения. При необходимости следует
устанавливать защитные чехлы и кожухи с соблюдением настоящего требования (4.1
и 5.3).
По возможности
необходимо использовать устройства на шарнирах, позволяющие открывать
оборудование в сторону, противоположную месту расположения обслуживающего
персонала.
5.6.3.3. Любые
отверстия цистерны, расположенные ниже нормального уровня груза, должны иметь
запорные клапаны с ручным приводом, а также во избежание случайных протечек
дополнительные закрытия на внешней стороне запорного клапана (заглушки, глухие
фланцы на болтах и др.).
По возможности
клапаны, как внутренние, так и наружные, должны располагаться как можно ближе к
стенке цистерны.
5.6.3.4. Запорные
клапаны с винтовыми штоками должны иметь ручной привод, закрывающийся путем
вращения по часовой стрелке.
5.6.3.5. Все
оборудование цистерны, горловины, разгрузочные и запорные клапаны должны иметь
надписи, указывающие их назначение.
5.6.4.
Предохранительные устройства и вакуумные клапаны
5.6.4.1.
Каждая цистерна или ее отсек, предназначенный для транспортирования неопасных
грузов, должен быть оснащен предохранительными устройствами от избыточного
давления, которые должны быть полностью открыты при давлении, не превышающем
испытательное давление цистерны, для предотвращения возникновения избыточного
внутреннего давления. Такие устройства должны быть расположены в зоне парового
пространства цистерны как можно ближе к верху цистерны и к середине длины
цистерны (или отсека цистерны).
В случаях, когда
контейнер-цистерну используют для перевозки опасных и неопасных грузов,
предохранительные устройства должны быть установлены в соответствии с 5.6.4.3.
5.6.4.2.
Предохранительные устройства, установленные в соответствии с 5.6.4.1, должны
иметь минимальную пропускную способность стандартного воздуха (абсолютное
давление 100 кПа при 15 °C) 0,05 м3/с.
Это условие можно
рассматривать как обеспечение защиты от избыточного давления в обычных
условиях, но нельзя считать гарантией защиты контейнера-цистерны или ее отсека
от избыточного давления в условиях пожарной опасности, взрыва пыли сухого груза
или излишнего повышения давления сухого груза.
5.6.4.3.
Контейнеры-цистерны или их отсеки, предназначенные для транспортирования
опасных грузов, должны быть оснащены предохранительными устройствами,
отвечающими требованиям компетентного органа.
5.6.4.4. На каждом
предохранительном устройстве должно быть четко указано давление, на которое
предохранительное устройство настроено.
5.6.4.5.
Контейнер-цистерна или его отсек, рассчитанные на внешнее расчетное давление
менее 40 кПа, должен быть оснащен вакуумным предохранительным устройством,
срабатывающим при абсолютном давлении 79 кПа, за исключением случаев
использования вакуумных предохранительных устройств, настроенных на более
низкое давление при условии, что внешнее расчетное давление не превышено.
Вакуумные предохранительные устройства должны иметь минимальную площадь
проходного сечения 284 мм2 и должны соответствовать
требованиям компетентного органа.
Разрешается
использовать комбинации обычных предохранительных устройств от избыточного
давления и вакуумных предохранительных устройств.
Примечание. Перечисленные
требования предназначены для защиты от повреждения цистерны или ее отсека в
условиях нормальных колебаний температуры окружающей среды. Однако нет гарантии
предотвращения повреждений, если цистерна или ее отсек, например, герметично
закрыт после паровой очистки или разгружен без открытия запорного устройства
горловины или соответствующей арматуры.
5.6.5. Отверстия
для проверок и обслуживания
Контейнеры-цистерны
должны иметь люки или другие отверстия, позволяющие провести их полный
внутренний осмотр, если иное не предусмотрено компетентными органами. Диаметр
люков должен быть не менее 500 мм и должен соответствовать диаметру,
определенному, исходя из необходимости проведения проверок персоналом с помощью
оборудования, а также необходимости обслуживания и выполнения ремонта внутри
цистерны, учитывая требования компетентного органа.
5.6.6.
Измерительная аппаратура
Измерительная
аппаратура, которая может находиться в прямом контакте с содержимым цистерны,
должна быть выполнена из прочных материалов.
5.6.7.
Пломбирование (таможенные требования)
Процедура
пломбирования цистерны должна соответствовать международным таможенным
соглашениям.
5.6.8. Заземление
Цистерны и каркас
должны иметь соответствующее заземление.
5.7.
Необязательные конструкции
5.7.1. Пазы для
захвата типа "шея гуся"
Пазы для захвата
типа "шея гуся" должны быть обязательным элементом
контейнеров-цистерн типа 1AAA и могут быть установлены как необязательный
элемент на контейнерах-цистернах типов 1AA, 1A и 1AX. Требования к размерам
указаны в Приложении Б, все остальные части
конструкции основания должны соответствовать требованиям 5.3.
5.7.2. Переходные
мостки
Переходные мостки
должны выдерживать равномерно распределенную на площади 600 x 300 мм нагрузку
не менее чем 3 кН.
Продольные
переходные мостки должны быть шириной не менее 400 мм.
5.7.3. Лестницы
Лестницы должны
выдерживать нагрузку, равную 200 кг, на любую ступеньку.
5.7.4. Изоляция
цистерны
Конструкция
изоляции не должна нарушать указанных требований и препятствовать нормальному
функционированию оборудования цистерны.
Должное внимание
необходимо уделять требованиям 5.1.10.
5.7.5. Обогрев и
охлаждение цистерны
Особое внимание при
обогреве или охлаждении цистерны следует уделять обеспечению безопасности
цистерны и ее содержимого. Для предотвращения повышения температуры и давления
должны быть предприняты соответствующие меры безопасности.
6. Испытания
6.1. Общие
положения
Контейнеры-цистерны,
отвечающие техническим требованиям по устройству и конструкции, изложенным в
разделе 5, должны, кроме того, выдерживать испытания по 6.2 - 6.15, если иное
не предусмотрено. Гидравлическому испытанию и испытанию на плотность (испытания
N 13 и N 14) должен быть подвержен каждый контейнер-цистерна и по возможности
эти испытания должны быть проведены в последнюю очередь.
6.1.1.
Максимальную полезную нагрузку P испытываемого контейнера определяют по формуле
P = R - T, (1)
где R -
максимальная масса брутто контейнера;
T - масса порожнего
контейнера.
W обозначает
полезную нагрузку контейнера при полностью заполненной водой цистерне.
Примечание.
R, P, T и W в соответствии с определением измеряют в единицах массы. В случае,
когда требования к испытаниям основываются на гравитационных силах, эти силы
являются инерционными и обозначаются как Rg, Pg, Tg, Wg
и измеряются в ньютонах или единицах, производных от ньютона.
Слово
"нагрузка", когда его используют при описании физического количества
единиц, означает "массу". Слово "усилие", например в
словосочетании "внутреннее усилие", означает воздействующую силу.
6.1.2.
Испытываемый контейнер-цистерна, если не предусмотрено иное, должен быть
загружен подходящим жидким/сухим сыпучим грузом для достижения указанной
испытательной нагрузки или усилия.
Если испытательная
нагрузка или усилие могут быть получены вышеупомянутым
методом или если такой метод нежелателен, контейнер-цистерна должен быть
загружен подходящим жидким/сухим сыпучим грузом и к нему должна быть приложена
дополнительная нагрузка или усилие.
Приложенная общая
нагрузка или усилие должно быть равномерно распределено.
Отклонения в 20%
диаграмм расчетного изгибающего момента равномерно загруженного
контейнера-цистерны должны приниматься как допустимые.
Примечание. Могут
применяться другие альтернативные методы приложения испытательных нагрузок или
усилий (например, при испытаниях на продольное и поперечное крепления) при
условии, что они обеспечивают достижение требуемых усилий.
6.1.3.
Испытательные нагрузки и усилия, указанные для
всех перечисленных испытаний, являются минимальными.
Примечание. Особое
внимание следует обратить на усилия, возникающие при эксплуатации
контейнеров-цистерн типов B5 и B6.
6.1.4.
Контейнер-цистерна должен находиться под действием испытательных нагрузок в
течение 5 мин, если иное не оговорено.
6.1.5. Требования к
размерам, на которые делаются ссылки в требованиях по испытаниям, указаны в:
- требованиях к конструкции и размерам в разделах 4 и 5
настоящего стандарта;
- ГОСТ Р 51891;
- [3].
6.2. Испытание N 1. Штабелирование
6.2.1. Общие
положения
Испытание
проводится с целью проверки способности контейнера-цистерны выдерживать массу
контейнеров, поставленных сверху, учитывая условия, возникающие на борту судна
в море, и относительный эксцентриситет между поставленными друг на друга
контейнерами.
В таблице 2 указаны
силы, которые необходимо приложить в ходе испытания к каждой паре угловых
фитингов, и помещенные сверху массы, создающие компенсирующее испытательное
усилие.
Таблица 2
Силы,
прикладываемые при испытании на штабелирование
┌──────────────────┬─────────────────┬───────────────┬────────────────────┐
│ Тип контейнера │Сила, приклады- │Сила, приклады-│Масса,
соответствую-│
│ │ваемая
к контей-
│ваемая к паре
│щая силе, │
│ │неру
(к четырем │торцевых фитин-│прикладываемой к
│
│ │фитингам одновре-│гов, кН
│четырем фитингам │
│
│менно),
кН │ │одновременно, кг │
├──────────────────┼─────────────────┼───────────────┼────────────────────┤
│1AAA,
1AA, 1A, 1AX│ 3392 │ 1696
│ 192000 │
├──────────────────┼─────────────────┼───────────────┼────────────────────┤
│1BBB,
1BB, 1B, 1BX│ 3392 │ 1696
│ 192000 │
├──────────────────┼─────────────────┼───────────────┼────────────────────┤
│1CC,
1C, 1CX │ 3392
│ 1696 │ 192000 │
├──────────────────┼─────────────────┼───────────────┼────────────────────┤
│1D,
1DX │ 896
│ 448 │ 50800 │
├──────────────────┴─────────────────┴───────────────┴────────────────────┤
│ Примечание.
Сила, равная 3392
кН, прикладываемая к
контейнеру,│
│рассчитана
исходя из массы
восьми контейнеров, установленных
на│
│испытываемый контейнер. Все девять контейнеров загружены
до массы брутто│
│24000
кг при силе ускорения 1,8g. Каждую угловую стойку таких контейнеров│
│следует
испытывать нагрузкой 86400 кг. │
└─────────────────────────────────────────────────────────────────────────┘
6.2.2. Методика
проведения испытания
Контейнер-цистерну,
полностью заполненный водой, помещают на четыре равные опоры,
расположенные на одном уровне, по одной под каждым нижним угловым фитингом.
Центры опор и фитингов, а также их размеры в плане должны совпадать.
Контейнер-цистерна
должен быть подвергнут воздействию вертикальных сил, указанных в таблице 2,
приложенных или ко всем четырем угловым фитингам одновременно, или к каждой
паре торцевых фитингов.
Силы должны быть
приложены через специальное испытательное приспособление, снабженное угловыми
фитингами, соответствующими ГОСТ Р 51891, или
аналогичными фитингам элементами, имеющими оттиск той же геометрии (т.е. таких
же внешних размеров, с отверстиями, со снятой фаской и закругленными краями),
что и нижняя поверхность нижнего углового фитинга, указанного в ГОСТ Р 51891.
При использовании эквивалентных фитингов их конструкция должна обеспечивать
такое же воздействие на испытываемый контейнер, что и при использовании угловых
фитингов.
В любом случае
усилия должны быть приложены таким образом, чтобы смещение поверхностей, через
которые прилагаются силы и на которые опирается контейнер, было минимальным.
Каждый
угловой фитинг или аналогичный элемент должен быть смещен в одном и том же
направлении относительно осей симметрии отверстий верхних угловых фитингов на
25,4 мм в поперечном и 38 мм в продольном направлениях.
В случае, если конструкция торцевых рам контейнера-цистерны
одинаковая, достаточно испытать только одну торцевую раму.
6.2.3. Требования
После завершения
испытания в контейнере-цистерне не должно быть протечек, остаточных деформаций
или неисправностей, которые могут повлечь за собой непригодность его к
эксплуатации. Требования к размерам, связанным с перегрузкой, креплением и
транспортированием, должны быть соблюдены.
6.3. Испытание N 2. Подъем за четыре верхних угловых фитинга
6.3.1. Общие
положения
Испытание
проводят с целью проверки способности контейнера-цистерны, кроме контейнеров
типов 1D или 1DX, выдерживать нагрузки, возникающие при подъеме за четыре
верхних угловых фитинга с вертикальным приложением сил, а также способности
контейнеров-цистерн типа 1D или 1DX выдерживать нагрузки, возникающие при
подъеме за четыре верхних угловых фитинга, с приложением сил под любым углом к
вертикали и 60° к горизонтали.
Настоящее испытание
рассматривается, как проверка способности контейнера-цистерны выдерживать
испытательные нагрузки, возникающие в результате действия сил ускорения при
подъеме контейнера-цистерны.
6.3.2. Методика
проведения испытания
Контейнер-цистерна
должен быть загружен таким образом, чтобы собственная его масса и масса
испытательной нагрузки были равны 2R каждая (6.1.2), и поднят за все четыре
верхних угловых фитинга таким образом, чтобы не возникли значительные силы
ускорения или торможения.
Для
контейнеров-цистерн, отличных от контейнеров типов 1D и 1DX, усилия необходимо
прикладывать вертикально. Для контейнеров-цистерн типов 1D и 1DX поднимающие
усилия необходимо прикладывать через стропы, угол наклона к горизонтали каждого
из которых равен 60°. После подъема контейнер-цистерна должен удерживаться в
течение 5 мин и затем должен быть опущен на землю.
6.3.3. Требования
После завершения
испытания в контейнере-цистерне не должно быть протечек, или остаточных
деформаций, или неисправностей, которые могут повлечь за собой непригодность
его к эксплуатации. Требования к размерам, связанным с перегрузкой, креплением
и транспортированием, должны быть соблюдены.
6.4. Испытание N 3. Подъем за четыре нижних угловых фитинга
6.4.1. Общие
положения
Испытание проводят
с целью проверки способности контейнера-цистерны выдерживать нагрузки,
возникающие при подъеме за четыре нижних угловых фитинга с помощью подъемных
устройств, закрепленных за нижние угловые фитинги и одну центральную поперечную
траверсу над контейнером.
6.4.2. Методика
проведения испытания
Контейнер-цистерна
должен быть загружен таким образом, чтобы собственная масса контейнера-цистерны
и масса испытательной нагрузки были равны 2R (6.1.2), и поднят за боковые
отверстия всех четырех нижних угловых фитингов таким образом, чтобы не возникли
значительные силы ускорения или торможения.
Подъемные усилия
должны прикладываться под углом:
- 30° к горизонтали
- для контейнеров-цистерн типов 1AAA, 1AA, 1A и 1AX;
- 37° к горизонтали
- для контейнеров-цистерн 1BBB, 1BB, 1B и 1BX;
- 45° к горизонтали
- для контейнеров-цистерн типов 1CC, 1C и 1CX;
- 60° к горизонтали
- для контейнеров-цистерн типов 1D и 1DX.
В каждом случае
линия действия подъемных усилий и наружная поверхность углового фитинга не
должны быть удалены более чем на 38 мм. Подъем должен осуществляться таким
образом, чтобы подъемные устройства передавали усилия только на четыре нижних
угловых фитинга.
После подъема
контейнер-цистерна должен удерживаться в течение 5 мин и затем должен быть опущен
на землю.
6.4.3. Требования
После завершения
испытания в контейнере-цистерне не должно быть протечек, или остаточных
деформаций, или неисправностей, которые могут повлечь за собой непригодность
его к эксплуатации. Требования к размерам, связанным с перегрузкой, креплением
и транспортированием, должны быть соблюдены.
6.5. Испытание N 4. Закрепление в продольном направлении
6.5.1. Общие
положения
Испытание проводят
с целью проверки способности контейнера-цистерны выдерживать внешнее продольное
сжатие и растяжение под воздействием динамических нагрузок при железнодорожных
операциях, вызываемых ускорением 2g.
6.5.2. Методика
проведения испытаний
Контейнер-цистерна
должен быть загружен таким образом, чтобы собственная масса контейнера-цистерны
и масса испытательной нагрузки были равны R (6.1.2).
Контейнер-цистерна
должен быть жестко закреплен в продольном направлении с помощью анкерных
устройств за нижние отверстия нижних угловых фитингов одного из торцов
контейнера-цистерны.
Усилие 2Rg должно
быть приложено горизонтально к контейнеру-цистерне через нижние отверстия
других нижних угловых фитингов, сначала по направлению к,
а затем от закрепленного торца.
6.5.3. Требования
После завершения
испытания в контейнере-цистерне не должно быть протечек, или остаточных
деформаций, или неисправностей, которые могут повлечь за собой непригодность
его к эксплуатации. Требования к размерам, связанным с перегрузкой, креплением
и транспортированием, должны быть соблюдены.
6.6. Испытание N 5. Продольное крепление
6.6.1. Общие
положения
Испытание проводят
с целью проверки способности контейнера-цистерны выдерживать воздействие сил
инерции содержимого цистерны как на саму цистерну, так
и на соединения цистерны с рамой в условиях продольного ускорения,
предусмотренного в 5.1.
Примечание.
Воздействия вертикального ускорения учтены в испытаниях N 2 и N 3.
Для
контейнеров-цистерн без продольных элементов рамы данное испытание допускается
не проводить при условии проведения испытания N 4.
6.6.2. Методика
проведения испытания
Испытываемый
контейнер-цистерна должен быть загружен таким образом, чтобы собственная масса
контейнера-цистерны и масса испытательной нагрузки были равны R.
Примечание.
Контейнер-цистерна может быть загружен как до, так и после позиционирования.
Контейнер-цистерна
должен быть установлен так, чтобы продольная ось контейнера-цистерны
располагалась вертикально (допустимо отклонение, равное 3°). Контейнер-цистерна
должен удерживаться в таком положении 5 мин с помощью:
а) закрепления одной пары
нижних угловых фитингов, расположенных
снизу, с целью предотвращения поперечного и вертикального смещений контейнера и
закрепления другой пары угловых фитингов, расположенных сверху, с целью
предотвращения поперечного смещения;
б)
закрепления четырех обращенных вниз угловых фитингов.
Процедура б) может
быть использована только для тех типов контейнеров-цистерн, где цистерна
соединена только с нижней частью рамы или если, по мнению компетентного органа,
контейнер-цистерна достаточно испытан на прочность соединений цистерна - рама
при испытаниях N 4 и N 8.
Контейнеры-цистерны
с несимметричной внутренней конструкцией или несимметричной конструкцией
крепления цистерны к раме должны быть испытаны с обоих торцов.
6.6.3. Требования
После завершения
испытания в контейнере-цистерне не должно быть протечек, или остаточных
деформаций, или неисправностей, которые могут повлечь за собой непригодность
его к эксплуатации. Требования к размерам, связанным с перегрузкой, креплением
и транспортированием, должны быть соблюдены.
6.7. Испытание N 6. Поперечное крепление
6.7.1. Общие
положения
Испытание проводят
с целью проверки способности контейнера-цистерны выдерживать воздействие
инерции содержимого цистерны как на саму цистерну, так
и на соединения цистерны с рамой в условиях поперечного ускорения, предусмотренного
в 5.1.
Примечание.
Воздействия вертикального ускорения учтены в испытаниях N 2 и N 3.
Для
контейнеров-цистерн без продольных элементов рамы данное испытание допускается
не проводить при условии проведения испытания N 4.
6.7.2. Методика
проведения испытания
Контейнер-цистерна
должен быть загружен таким образом, чтобы собственная масса контейнера-цистерны
и масса испытательной нагрузки были равны R.
Примечание.
Контейнер-цистерна может быть загружен как до, так и после позиционирования.
Контейнер-цистерна
должен быть установлен так, чтобы поперечная ось контейнера-цистерны
располагалась вертикально (допустимо отклонение, равное 3°). Контейнер-цистерна
должен удерживаться в таком положении 5 мин с помощью:
а) закрепления одной пары
нижних угловых фитингов, расположенных
снизу, с целью предотвращения поперечного и вертикального смещений контейнера и
закрепления другой пары угловых фитингов, расположенных сверху, с целью
предотвращения поперечного смещения;
б) закрепления
четырех обращенных вниз угловых фитингов.
Процедура б) может
быть использована только для тех типов контейнеров-цистерн, где цистерна
соединена только с нижней частью рамы или если, по мнению компетентного органа,
контейнер-цистерна достаточно испытан на прочность соединений цистерна - рама
при испытаниях N 4 и N 8.
6.7.3. Требования
После завершения
испытания в контейнере-цистерне не должно быть протечек, или остаточных
деформаций, или неисправностей, которые могут повлечь за собой непригодность
его к эксплуатации. Требования к размерам, связанным с перегрузкой, креплением
и транспортированием, должны быть соблюдены.
6.8. Испытание N 7. Поперечный перекос
6.8.1. Общие
положения
Испытание проводят
с целью проверки способности контейнера-цистерны, кроме контейнеров типов 1D и
1DX, выдерживать поперечные усилия на перекос, возникающие в результате
движения судна.
6.8.2. Методика
проведения испытания
Контейнер-цистерну
в порожнем состоянии T помещают на четыре опоры, расположенные на одном уровне,
по одной под каждым угловым фитингом и закрепляют от поперечного и
вертикального смещений с помощью анкерных устройств за нижние отверстия нижних
угловых фитингов контейнера-цистерны. Крепление
от поперечного смещения должно осуществляться только в нижнем угловом фитинге,
диагонально противоположном верхнему угловому фитингу, к которому прилагается
усилие, и находящемуся в той же торцевой раме.
При раздельном
испытании торцевых рам закрепление от вертикального смещения осуществляют
только в угловых фитингах испытываемой торцевой рамы.
Силы по 150 кН
каждая прикладываются раздельно или одновременно к каждому верхнему угловому
фитингу одной боковой стороны контейнера-цистерны параллельно как плоскости
основания, так и торцевым плоскостям контейнера-цистерны. Силы должны быть
приложены сначала по направлению к верхним угловым фитингам, а затем по
направлению от них.
Если
контейнер-цистерна имеет идентичную конструкцию торцов, допускается испытание
одного торца. Если конструкция торца не симметрична относительной своей
вертикальной оси, обе стороны торца должны быть испытаны. Допустимые деформации
при полной испытательной нагрузке указаны в 5.4.
6.8.3. Требования
После завершения
испытания в контейнере-цистерне не должно быть протечек, или остаточных
деформаций, или неисправностей, которые могут повлечь за собой непригодность
его к эксплуатации. Требования к размерам, связанным с перегрузкой, креплением
и транспортированием, должны быть соблюдены.
6.9. Испытание N 8. Продольный перекос
6.9.1. Общие положения
Испытание проводят
с целью проверки способности контейнера-цистерны, кроме контейнеров типов 1D и
1DX, выдерживать продольные усилия на перекос, возникающие в результате
движения судна.
6.9.2. Методика
проведения испытания
Контейнер-цистерну
в порожнем состоянии помещают на четыре опоры, расположенные на одном уровне,
по одной под каждым угловым фитингом и закрепляют от продольного и
вертикального смещений с помощью анкерных устройств за нижние отверстия нижних
угловых фитингов контейнера-цистерны. Крепление
от продольного смещения должно осуществляться только в нижнем угловом фитинге,
диагонально противоположном верхнему угловому фитингу, к которому прилагается
усилие, и находящемуся в той же боковой стороне.
Силы по 75 кН
каждая прикладывают раздельно и одновременно к каждому верхнему угловому
фитингу одного торца контейнера-цистерны параллельно как плоскости основания,
так и боковым плоскостям контейнера-цистерны.
Силы должны быть
приложены сначала по направлению к верхним угловым фитингам, а затем по
направлению от них. Если контейнер-цистерна имеет идентичные боковые
конструкции, то только одна боковая сторона должна быть испытана. Если боковая
конструкция не симметрична относительной своей вертикальной оси, обе стороны
боковой конструкции должны быть испытаны. Допустимые деформации при полной
испытательной нагрузке указаны в 5.5.
6.9.3. Требования
После завершения
испытания в контейнере-цистерне не должно быть протечек, или остаточных
деформаций, или неисправностей, которые могут повлечь за собой непригодность
его к эксплуатации. Требования к размерам, связанным с перегрузкой, креплением
и транспортированием, должны быть соблюдены.
6.10. Испытание N 9. Испытание опорных (контактных) площадок
6.10.1. Общие
положения
Испытание проводят
с целью статической имитации динамических усилий, возникающих в случае, когда
опорные площадки частично соприкасаются с транспортным средством. Данное
испытание подтверждает прочность конструкции под действием статических
нагрузок.
6.10.2. Методика
проведения испытания
Контейнер-цистерна
должен быть загружен таким образом, чтобы собственная масса контейнера-цистерны
и масса испытательной нагрузки были равны 2R, и помещен на четыре опоры так,
чтобы две опоры приходились на торцевые контактные площадки и две - на
промежуточные.
Каждая из опор
должна иметь размеры опорной поверхности 150 x 150 мм. Опоры должны быть
установлены к внутренним кромкам допустимой поперечной области контакта.
Контейнер-цистерна
должен оставаться в таком положении не менее 5 мин.
Аналогичное
испытание проводят для другой группы контактных площадок. В случае
симметричного расположения контактных площадок контейнера-цистерны допускается
испытывать только одну их группу.
6.10.3. Требования
После завершения
испытания в контейнере-цистерне не должно быть протечек, или остаточных
деформаций, или неисправностей, которые могут повлечь за собой непригодность
его к эксплуатации. Требования к размерам, связанным с перегрузкой, креплением
и транспортированием, должны быть соблюдены.
6.11. Испытание N 10. Мостки (при наличии)
6.11.1. Общие
положения
Испытание проводят
для всех мостков для проверки способности мостков выдерживать нагрузки,
возникающие при нахождении на них персонала.
6.11.2. Методика
проведения испытания
Нагрузка, равная не
менее 300 кг, должна быть равномерно распределена на площади 600 x 300 мм,
находящейся на самом слабом участке мостка.
6.11.3. Требования
После завершения
испытания на мостках не должно быть остаточных деформаций или неисправностей,
которые могут повлечь за собой невозможность их использования.
6.12. Испытание N 11. Лестницы (при наличии)
6.12.1. Общие
положения
Испытанию
подвергают все лестницы с целью проверки способности выдерживать нагрузки,
возникающие в случае нахождения на них людей.
6.12.2. Методика
проведения испытания
Нагрузку 200 кг
помещают в центре самой широкой ступеньки.
6.12.3. Требования
После завершения
испытания на лестницах не должно быть остаточных деформаций или неисправностей,
которые могут повлечь за собой невозможность их использования.
6.13.
Испытание N 12. Динамическое испытание
6.13.1. Общие
положения
Испытание проводят
с целью проверки способности контейнера-цистерны выдерживать динамические
нагрузки при железнодорожных операциях, которые вызывают действие в продольном
направлении сил с ускорением 4g для контейнеров-цистерн, предназначенных для
перевозки опасных грузов, и 2g - для остальных контейнеров-цистерн.
6.13.2.
Методика проведения испытания
Испытание следует
проводить по методике, согласованной с компетентным органом.
6.13.3. Требования
После завершения
испытания в контейнере-цистерне не должно быть протечек, или остаточных
деформаций, или неисправностей, которые могут повлечь за собой непригодность
его к эксплуатации. Требования к размерам, связанным с перегрузкой, креплением
и транспортированием, должны быть соблюдены.
6.14. Испытание N 13. Испытание давлением
6.14.1. Общие
положения
Испытание проводят
на каждом контейнере-цистерне для проверки способности цистерны выдерживать
заданное внутреннее давление. По возможности данное испытание необходимо
проводить последним, если проводились другие испытания, но перед установкой
теплоизоляции в случае ее применения.
Перед нанесением
изоляции или защитного покрытия дробеструйная или иная обработка поверхностей
цистерны не должна проводиться до испытания.
6.14.2. Методика
проведения испытания
Испытание цистерны
следует проводить водой. Если цистерна имеет отсеки, должны быть проведены
испытания каждого отсека, при этом смежные с испытываемым отсеки должны быть
порожними и давление в них должно соответствовать атмосферному.
Испытательное
давление должно быть измерено в верхней части цистерны или отсека при
нахождении контейнера-цистерны в эксплуатационном положении.
Испытательное
давление следует поддерживать так долго, как это необходимо для осуществления
полной проверки цистерны и ее оборудования, но в любом случае не менее 30 мин.
Предохранительные
устройства, при наличии, должны быть нейтрализованы или сняты на время
проведения настоящего испытания. Давление, при котором цистерну испытывают,
следует выбирать с учетом предполагаемого использования цистерны в соответствии
с правилами, применяемыми компетентным органом, и требованиями 5.1.6. Это
давление будет определяющим для кода типа контейнера-цистерны в соответствии с
таблицей 1.
6.14.3. Требования
Напряжения,
возникающие в стенках и днищах цистерны во время испытания давлением, не должны
превышать
(
,
) или
в зависимости от того, что меньше.
Примечание.
- минимальный
гарантированный предел текучести металла;
-
гарантированный условный предел текучести для сталей аустенитного
класса;
-
гарантированный условный предел текучести для сталей, отличных от аустенитного класса;
-
минимальное гарантированное временное сопротивление металла при испытании на
растяжение.
В процессе
испытания в цистерне не должно быть протечек. После завершения испытания в
контейнере-цистерне не должно быть протечек, или остаточных деформаций, или
неисправностей, которые могут повлечь за собой непригодность его к
эксплуатации. Требования к размерам, связанным с перегрузкой, креплением и
транспортированием, должны быть соблюдены.
6.15. Испытание N 14. Испытание на плотность
6.15.1. Общие
положения
Испытание проводят
на каждом контейнере-цистерне в сборе со всей предохранительной и
эксплуатационной арматурой для проверки герметичности соединений оборудования и
арматуры контейнера-цистерны. Данное испытание необходимо проводить после
испытания давлением и при его положительных результатах.
6.15.2. Методика
проведения испытания
Испытание цистерны
следует проводить сжатым воздухом. Если цистерна имеет отсеки, должны быть
проведены испытания каждого отсека.
Испытательное
давление должно быть измерено в верхней части цистерны или отсека при
нахождении контейнера-цистерны в эксплуатационном положении.
Испытательное
давление следует поддерживать так долго, как это необходимо для осуществления
полной проверки цистерны и ее оборудования, но в любом случае не менее 5 мин.
Давление, при
котором цистерну испытывают, следует выбирать с учетом требований действующих
правил по безопасности для места проведения испытаний и в соответствии с
правилами, применяемыми компетентным органом, но не ниже чем 0,25 максимально
допустимого рабочего давления.
Примечание. Могут
применяться другие альтернативные методы испытаний цистерны на плотность при
условии, что они удовлетворяют требованиям компетентного органа.
6.15.3. Требования
В процессе
испытания в соединениях оборудования и арматуры с цистерной не должно быть
протечек. После завершения испытания в контейнере-цистерне не должно быть
протечек, или остаточных деформаций, или неисправностей, которые могут повлечь
за собой невозможность его использования в целях, для которых он предназначен.
7.
Идентификация и маркировка
7.1. Требования к
маркировке контейнеров-цистерн должны соответствовать требованиям [2], а
относящимся к идентификации - [5].
7.2. В доступном
для чтения месте на контейнере-цистерне должна быть прочно прикреплена табличка
из коррозионно-стойкого материала с данными,
позволяющими идентифицировать контейнер-цистерну. В случае, когда табличка не
может быть прикреплена к цистерне из-за конструктивных особенностей контейнера-цистерны,
на корпус цистерны наносят данные, предусмотренные ГОСТ 14249 при расчете
сосудов, работающих под давлением, или указанные в [6]. Данные на табличке
следует наносить клеймением, тиснением или другими способами, кроме нанесения
краской. Содержание таблички должно соответствовать требованиям компетентного
органа.
7.3. Все
прикрепленные к контейнеру таблички следует располагать как можно ближе друг к
другу.
Приложение А
(обязательное)
СХЕМАТИЧЕСКОЕ
ИЗОБРАЖЕНИЕ ДЕЙСТВИЯ НАГРУЗОК
ПРИ ИСПЫТАНИЯХ ВСЕХ
ТИПОВ КОНТЕЙНЕРОВ-ЦИСТЕРН,
ЗА ИСКЛЮЧЕНИЕМ
ОСОБО ОГОВОРЕННЫХ
Примечания. 1.
Указанные усилия, приложенные к контейнеру снаружи, действуют только со стороны
одного торца или одной боковой стенки. Нагрузки, указанные внутри контейнеров,
представляют собой только равномерно распределенные внутренние нагрузки,
относящиеся ко всему контейнеру.
2. Цифры в
настоящем Приложении соответствуют испытаниям по 6.2 - 6.15.
3. Для определения
R, P, T и W - см. 6.1.1.
Таблица А.1
─────┬───────────────────────────────────┬───────────────────────────────────
Номер│ Вид с торца │ Вид сбоку
─────┴───────────────────────────────────┴───────────────────────────────────
А.1
Испытание N 1. Штабелирование

Не применимо к
контейнерам-цистернам типов 1D и 1DX
─────────────────────────────────────────────────────────────────────────────
А.1а
Испытание N 1. Штабелирование

Применимо только к
контейнерам-цистернам типов 1D и 1DX
──────────────────────────────────────────────────────────────────────────
А.2
Подъем за верхние угловые фитинги

────────────────────────────────────────────────────────────────────────────────
А.3
Испытание N 2. Подъем за верхние
угловые фитинги

Неприменимо к
контейнерам-цистернам типов 1D и 1DX
─────────────────────────────────────────────────────────────────────────────
А.4
Испытание N 2. Подъем за угловые
фитинги

Применимо только к
контейнерам-цистернам типов 1D и 1DX
─────────────────────────────────────────────────────────────────────────────
А.5
Испытание N 3. Подъем за нижние
угловые фитинги

Применимо ко всем типам
контейнеров-цистерн
─────────────────────────────────────────────────────────────────────────────
А.6
Испытание N 4. Продольное
сжатие (растяжение) основания
Применимо ко всем типам контейнеров

─────────────────────────────────────────────────────────────────────────────
А.7
Испытание N 5. Продольное
крепление [см. 6.6.2, а)]

Рама контейнера-цистерны закреплена
через верхние и нижние фитинги
─────────────────────────────────────────────────────────────────────────────
А.8
Испытание N 5. Продольное
крепление [см. 6.6.2, б)]

Рама контейнера-цистерны закреплена
только через низлежащие фитинги
─────────────────────────────────────────────────────────────────────────────
А.9
Испытание N 6. Поперечное
крепление [см. 6.7.2, а)]

─────────────────────────────────────────────────────────────────────────────
А.10
Испытание N 6. Поперечное
крепление [см. 6.7.2, б)]

Рама контейнера-цистерны закреплена
только через низлежащие фитинги
─────────────────────────────────────────────────────────────────────────────
Испытание N 7. Поперечный перекос

─────────────────────────────────────────────────────────────────────────────
Испытание N 8. Продольный перекос

─────────────────────────────────────────────────────────────────────────────
А.15
Испытание N 9. Испытание
контактных площадок

Торцевые контактные площадки

Промежуточные контактные площадки
─────────────────────────────────────────────────────────────────────────────
Необязательные
конструкции
─────────────────────────────────────────────────────────────────────────────
А.16
Испытание N 10. Испытание
переходных мостков

Применимо ко всем
контейнерам-цистернам (где предусмотрены
переходные
мостки)
─────────────────────────────────────────────────────────────────────────────
А.17
Испытание N 11. Испытание лестниц

Применимо ко всем контейнерам-цистернам
(где предусмотрены лестницы)
─────────────────────────────────────────────────────────────────────────────
Приложение Б
(обязательное)
ТРЕБОВАНИЯ
К ОПОРНЫМ
(КОНТАКТНЫМ) ПЛОЩАДКАМ В КОНСТРУКЦИИ
ОСНОВАНИЯ
КОНТЕЙНЕРОВ
Б.1. Конструкции основания
контейнеров, т.е. торцевые поперечные балки и промежуточные балки (или
соответствующее плоское днище при наличии), на которых размещены зоны передачи
нагрузок, должны выдерживать нагрузку от продольных элементов транспортного
средства, которые должны лежать внутри двух зон шириной 250 мм каждая,
указанных пунктирными линиями на рисунке Б.1.
Б.2. Контейнеры,
имеющие поперечные балки, удаленные друг от друга на расстояние более 1000 мм
(и не имеющие плоского днища), должны иметь контактные площадки для передачи
нагрузки, как показано на рисунках Б.2 - Б.4, и отвечать следующим требованиям.
Б.2.1. Каждая пара
площадок, передающих нагрузки, расположенная на торцевом поперечном элементе,
должна выдерживать нагрузки не менее R, т.е. нагрузки, которые могут возникнуть
при установке контейнера на такое транспортное средство, когда контейнер не
опирается на свои угловые фитинги.
Каждая пара опорных
(контактных) промежуточных площадок, передающих нагрузки, должна быть способна
передавать нагрузку не менее 2R / n, где n - число пар промежуточных
поверхностей, передающих нагрузку, которая может возникнуть во время
транспортных операций.
Б.2.2. Минимальное
число пар опорных (контактных) площадок для контейнеров типов:
- 1CC, 1C, 1CX
(если применимо) - 2;
- 1BBB, 1BB, 1B, 1BX - 2;
- 1AA, 1A, 1AX - 3;
- 1AAA, 1AA, 1A,
1AX с тоннелем для захвата типа "шея гуся" - 4.
Там, где имеется
большее число пар опорных (контактных) площадок, они должны быть размещены
приблизительно равномерно по всей длине контейнера.
Б.2.3. Расстояние
между торцевым поперечным элементом и ближайшей промежуточной парой опорных
(контактных) площадок должно быть, мм:
- от 1700 до 2000 -
для контейнеров, имеющих минимальное число пар опорных (контактных) площадок,
требуемых для контейнера;
- от 1000 до 2000 -
для контейнеров, имеющих на одну пару опорных (контактных) площадок больше, чем
минимальное число пар площадок, требуемых для контейнера.
Б.2.4. Каждая из
опорных (контактных) поверхностей должна иметь размер в направлении продольной
оси контейнера не менее 75 мм.
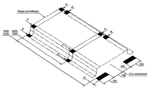
Б.3. Минимальные
требования для опорных (контактных) поверхностей, находящихся в зоне тоннеля
для захвата типа "шея гуся", показаны на рисунке Б.5.
Примечание. На
рисунках Б.2 - Б.4 опорные (контактные) площадки днища контейнера заштрихованы
черным. Опорные (контактные) площадки тоннеля для захвата типа "шея
гуся" также заштрихованы черным на рисунке Б.5.

Рисунок
Б.1. Размеры зон в продольном направлении

Рисунок
Б.2. Минимальное количество пар
опорных
(контактных) площадок контейнеров
типов 1CCC, 1C и
1CX (при наличии) и контейнеров
типов 1BBB, 1BB, 1B
и 1BX

Рисунок Б.3.
Минимальное количество пар
опорных
(контактных) площадок контейнеров
типов 1AAA, 1AA, 1A
и 1AX без тоннеля
для захвата типа
"шея гуся"

Рисунок
Б.4. Минимальное количество пар
опорных
(контактных) площадок контейнеров
типов 1AAA, 1AA, 1A
и 1AX с тоннелем
для захвата типа
"шея гуся"

Каждая опорная
(контактная) зона тоннеля имеет две составляющие: в верхней части - A и в
нижней части - B. Суммарная площадь каждой пары площадок A и B, которые следует
рассматривать как составные части одной поверхности, передающей нагрузки в зоне
паза, должна быть не менее 1250 мм2 (см. Приложение В
для более подробного описания тоннеля).
Примечание. Если
боковые элементы тоннеля предусматриваются сплошными, то поверхности,
передающие нагрузки в пределах расстояния 3150 - 3500 мм от торца контейнера,
необязательны.
Рисунок
Б.5. Минимальное требование
для опорных
(контактных) площадок тоннеля
для захвата типа
"шея гуся"
Приложение В
(обязательное)
РАЗМЕРЫ
ТОННЕЛЯ ДЛЯ ЗАХВАТА ТИПА "ШЕЯ ГУСЯ"
(ЕСЛИ ОН
ПРЕДУСМОТРЕН)

1 - наружная
поверхность передней торцевой балки,
2 - уровень
поперечных балок основания в зоне тоннеля
Рисунок В.1
Таблица В.1
┌───────┬────────────┬───────────────────────┬───────────────────┐
│Размеры│ Длина
│ Ширина │ Высота │
│
├──────┬─────┼────┬──────┬────┬──────┼─────┬────┬────────┤
│ │
L │ D
│ W ,│ X │ Y
│Z, мин│ B │
b │ C
│
│ │
t │ │
t │ t │
t │ │ t
│ t │ │
│ │ │ │макс│ │
│ │ │
│ │
├───────┼──────┼─────┼────┼──────┼────┼──────┼─────┼────┼────────┤
│ мм │ 3500 │ +1 │930 │ +3│1130│ 25
│ 0 │ 70
│ +5 │
│ │ 3150 │ 6 │
│1029 │1070│ │120 │ 35 │12,5 │
│ │ │
-2 │ │ 0 │
│ │ -3│
│ -1,5│
├───────┴──────┴─────┴────┴──────┴────┴──────┴─────┴────┴────────┤
│ Примечания. 1. Высоту
тоннеля B проверяют
на расстоянии│
│ t │
│600
мм от его конца.
│
│ 2.
Контактные площадки тоннеля
могут быть сплошными│
│минимальной
длиной, приведенной в
настоящей таблице, и иметь│
│сечение,
показанное на рисунке "жирными" линиями, или
состоять│
│из
площадок, отвечающих требованиям, приведенным в Приложении Б,│
│рисунок
Б.5.
│
└────────────────────────────────────────────────────────────────┘
Приложение
Г
(справочное)
БИБЛИОГРАФИЯ
[1] ООН.
Рекомендации по перевозке опасных грузов. Типовые правила <*>
[2] ИСО
6346:95 <*> Контейнеры грузовые. Кодирование, идентификация и маркировка
[3] ИСО
830:99 <*> Контейнеры грузовые. Словарь
[4] ИСО
668:95 <*> Контейнеры грузовые серии 1. Классификация, размеры и масса
[5] ИСО
10374:91 <*> Контейнеры грузовые. Автоматическая идентификация
[6] ASME Boiler & Pressure Vessel Code, Section VIII, Rules for
Construction of Pressure Vessel, Division 1 <*>
--------------------------------
<*>
Международные стандарты - во ВНИИКИ Госстандарта России.