Утверждено
Распоряжением
Минтранса РФ
от 23 мая 2003 г. N
ОС-461-р
ОТРАСЛЕВЫЕ ДОРОЖНЫЕ НОРМЫ
УКРЕПЛЕНИЕ ОБОЧИН АВТОМОБИЛЬНЫХ ДОРОГ
ОДН 218.3.039-2003
Взамен ВСН 39-79
ВВЕДЕНИЕ
ОДН 218.3.039-2003.
Укрепление обочин автомобильных дорог разработаны взамен ВСН 39-79
"Технические указания по укреплению обочин автомобильных дорог".
Настоящие нормы предназначены
для выбора материалов и конструкций укрепления обочин. Они учитывают положения
действующих нормативных документов по проектированию, строительству и ремонту
автомобильных дорог, организации и обеспечению на них безопасности движения.
Документ разработан
в ГП "Росдорнии" канд. техн. наук Ю.Р. Перковым, инж. А.П. Фоминым.
1. ОБЩИЕ
ПОЛОЖЕНИЯ
1.1. Настоящие
Нормы развивают положения СНиП 2.05.02-85, СНиП 3.06.03-85 и "Технических
правил ремонта и содержания автомобильных дорог общего
пользования".
1.2. Нормы
распространяются на автомобильные дороги общего пользования I - V категорий.
Они предназначены для выбора конструкций укрепления обочин, материалов и
технологии производства работ на строящихся, реконструируемых и эксплуатируемых
автомобильных дорогах.
1.3. Укрепление
обочин выполняют для повышения скорости пропускной способности автомобильных
дорог, удобства и безопасности движения. В неблагоприятных
грунтово-гидрологических условиях укреплением обочин защищают земляное полотно
от проникновения поверхностных вод, предохраняют проезжую часть дороги от
разрушения и загрязнения.
Укреплением обочин
обеспечивают более полный перенос снега в зимний период, облегчают содержание
дороги, а также организацию движения при проведении на проезжей части ремонтных
работ.
1.4. По
своему назначению обочины по ширине разделяются на:
- краевую укрепительную
полосу, служащую упором для дорожной одежды проезжей части дороги,
устраиваемую, как правило, совместно с проезжей частью при строительстве
(реконструкции) дороги или самостоятельно на обочинах и разделительных полосах
при ее ремонте;
- остановочную
полосу, предназначенную для вынужденной остановки автомобилей. К ней относятся
также специально устраиваемые на обочине или выносном участке для этой же цели
остановочные площадки;
- прибровочную
полосу шириной 0,5 м (0,75 м при наличии оградительных устройств), служащую
переходной зоной от обочины к откосу.
1.5. При
назначении конструкций укрепления обочин, технологии производства работ, наряду
с положениями настоящих ОДН, следует учитывать региональные особенности в части
климатических условий и обеспеченности местными материалами.
2. ТРЕБОВАНИЯ К УКРЕПЛЕНИЮ ОБОЧИН
2.1. Конструкция
укрепления и используемые материалы должны обеспечивать заезд на обочину
транспортных средств с расчетной нагрузкой, скоростью и повторностью наезда без
возникновения деформаций, превышающих по величине и характеру допустимые
действующими "Техническими правилами ремонта и содержания
автомобильных дорог общего пользования".
2.2. Параметры,
конструкции укрепления обочин назначаются с учетом влияния погодно-климатических
факторов на состояние поверхности дороги и безопасность движения.
При этом особое
значение имеет продолжительность зимнего и переходных (осеннего и весеннего)
периодов, когда укрепленные обочины работают наиболее эффективно. В
соответствии с этим территория России разделяется на следующие зоны (рис. 1):

Рис. 1. Карта
районирования территории России
по условиям
движения
- Зона I с
расчетным зимним периодом продолжительностью 125 дней в году и более. Эта зона
состоит из двух подзон:
подзона IA -
продолжительность зимнего периода составляет 180 - 260, а переходных периодов
20 - 60 дней; подзона IБ - продолжительность зимнего
периода составляет 140 - 180, а переходных периодов 60 - 100 дней.
- Зона II с
расчетными переходными периодами продолжительностью от 14 до 110 дней и зимним
периодом менее 125 дней в году.
- Зона Г - горные
районы.
2.3. В случае
значительного влияния на состояние грунтов рабочего слоя земляного полотна
поверхностных вод одновременно с укреплением обочин принимают меры по его гидрозащите от поверхностных
вод.
2.4.
Краевые укрепительные и остановочные полосы не предназначены для
систематического движения транспортных средств. Их отделяют от проезжей части
дороги сплошной линией разметки за исключением специальных площадок для
остановки автомобилей, где устраивается прерывистая разметка.
2.5. Укрепление
обочин в первую очередь выполняют на наиболее сложных участках.
К ним относятся:
- участки с
интенсивностью движения выше указанной в СНиП 2.05.02-85;
- участки в сложных
грунтово-гидрологических условиях;
- населенные
пункты;
- подходы к местам
пересечений и примыканий дорог в одном уровне;
- участки дорог с
необеспеченной видимостью;
- кривые
минимального радиуса и меньше минимальных в плане,
максимальные продольные уклоны согласно СНиП 2.05.02-85;
- съезды и въезды
пересечений и примыканий дорог в разных уровнях и подходы к ним;
- снегозаносимые
участки;
- ветроопасные и
туманоопасные участки.
2.6. Отметка
поверхности укрепленной обочины, не отделенной от проезжей части бордюром
(бордюр устраивается, как правило, в пределах населенных пунктов городского
типа и участков размещения пунктов сервиса), не должна быть ниже уровня
проезжей части более чем на 4 см. Возвышение обочины над проезжей частью при
отсутствии бордюра не допускается.
2.7. Покрытие
краевой укрепительной полосы должно иметь коэффициент сцепления не менее
коэффициента сцепления для проезжей части дороги.
2.8. Ровность
покрытия краевой укрепительной полосы должна соответствовать требованиям табл.
2.1.
Таблица
2.1.
|
Группа
дорог и улиц по
их транспортно-
эксплуатационным
характеристикам
|
Состояние покрытия по
ровности
|
Допустимые
предельные
повреждения
на 1000 м2
покрытия не
более, м2
|
|
Показатель
ровности по
прибору ПКРС-
2, см/км, не
более
|
Число
просветов
под 3-
метровой
рейкой, %,
не более
|
|
Автомобильные
дороги
с интенсивностью
движения более 3000
авт./сут
|
660
|
7
|
0,3
(1,5)
|
|
То
же,
1000 - 3000 авт./сут
|
860
|
9
|
1,5
(3,5)
|
|
То
же,
менее 1000 авт./сут
|
1200
|
11
|
2,5
(7)
|
Примечания. 1.
Число просветов подсчитывают по
значениям, превышающим указанные в СНиП 3.06.03-85.
2. В скобках даны
значения для весеннего периода.
Предельные размеры
отдельных повреждений покрытия краевой укрепительной полосы не должны превышать
по длине 15 см, ширине - 60 см и глубине 5 см при их суммарной площади на
дорогах с интенсивностью движения по табл. 2.1, соответственно 5 м2, 7 м2 и 10 м2 на площадь 1000 м2.
2.9. Ширину краевой
укрепительной полосы строящихся, реконструируемых и эксплуатируемых дорог I -
II категорий принимают равной, как правило, 0,75 м, III - IV категорий - 0,5 м.
Краевая
укрепительная полоса для дорог V категории назначается только в случае
соответствующего технико-экономического обоснования с учетом п. 1.5 и шириной
не более 0,5 м.
Ширину укрепляемой
остановочной полосы определяют как разницу между общей шириной обочины и суммой
ширин краевой укрепительной и прибровочной полос с учетом п. 1.4.
2.10. При
технико-экономическом обосновании допускается увеличение ширины укрепления
обочины по типу краевой укрепительной полосы к значениям СНиП 2.05.02-85 в
условиях значительного влияния погодно-климатических факторов на характер,
вероятность и продолжительность неблагоприятного состояния поверхности дороги и
условий движения с учетом опыта эксплуатации. Для зоны I (см. п. 2.2) могут
быть использованы данные табл. 2.2 с учетом указанных в таблице типов
укрепления остановочной полосы для дорог III - IV категорий.
Таблица 2.2
|
Материал
укрепления
остановочных
полос
|
Дополнительное увеличение ширины укрепления
по
типу краевых укрепительных полос на
участках
|
|
прямых
|
с радиусом
кривых <*>
в плане < 600м
|
с ограждениями
|
|
1
|
2
|
3
|
1
|
2
|
3
|
1
|
2
|
3
|
|
Щебень
или
гравий
|
-
|
-
|
0,1
|
1,0
|
1,0
|
1,3
|
-
|
0,25
|
0,5
|
|
Засев
трав
|
-
|
0,1
|
0,5
|
1,1
|
1,1
|
1,4
|
0,7
|
1,0
|
1,3
|
|
Нет
укреп-
ления
|
-
|
0,2
|
0,5
|
1,1
|
1,1
|
1,5
|
0,7
|
1,0
|
1,3
|
--------------------------------
<*>
При отсутствии требуемого СНиП уширения проезжей части.
Примечание. Графы
1, 2, 3 - при % оснащенности машинами и оборудованием для зимнего содержания
автомобильной дороги соответственно выше 70%, 50 - 70%, менее 50%.
2.11. Общая
ширина обочины может быть уменьшена по отношению к положениям СниП 2.05.02-85
при соответствующем обосновании и разработке мероприятий по организации и
безопасности движения для дорог I, II категорий не менее чем до 1,5 м, для
дорог других категорий не менее чем до 1,0 м в случаях:
- увеличения ширины
проезжей части за счет обочин (участки расположения дополнительных полос
движения, переходно-скоростных полос, с радиусом кривых в плане не более 1000
м);
- прохождения трассы
в особых условиях (особо трудные участки горной местности, особо ценные
сельскохозяйственные земли).
2.12. На дорогах I
- III категорий, а также IV категории с облегченным типом покрытия, если
обочина по каким-либо причинам уменьшена (см. п. 2.11) и уширение земляного
полотна не предусматривается, укрепление на остановочной полосе принимается
аналогично укреплению краевой укрепительной полосы.
2.13. Укрепление
обочины на уширяемом земляном полотне по прочности должно соответствовать
требованиям настоящего документа. В зоне расположения стыка старой и отсыпаемой
части уширения насыпи должна обеспечиваться равнопрочность конструкции
укрепления.
2.14. Поперечные
уклоны при укреплении обочин должны приниматься согласно требованиям
действующих нормативно-технических документов.
При односкатном
поперечном профиле (виражи) поперечный уклон должен соответствовать уклону
проезжей части. При двухскатном поперечном профиле поперечный уклон назначают в
зависимости от полосы обочины (п. 1.5) и типа укрепления полосы.
Краевая
укрепительная полоса, имеющая покрытие укрепления аналогичное покрытию проезжей
части, должна иметь поперечный уклон проезжей части. При ином типе покрытия
поперечный уклон согласно СНиП 2.05.02-85 должен превышать уклон проезжей части
на 10 - 30% в зависимости от вида укрепления и составлять:
- 30 - 40
при
укреплении материалами с применением вяжущего;
- 40 - 60
при
укреплении гравием, щебнем, мелкоразмерной бетонной плиткой;
- 50 - 60
при
биологическом укреплении (засев трав, дернование).
2.15. Покрытия
конструкций укрепления обочин автомобильных дорог, проходящих через населенные
пункты и сельскохозяйственные угодья, не должны содержать материалов,
способствующих пылеобразованию, а в населенных пунктах дополнительно и
обладающих канцерогенными свойствами.
2.16. Покрытия
укрепленных обочин должны отличаться по цвету и внешнему виду от покрытия
проезжей части дороги или отделяться разметкой согласно п. 2.4.
2.17. При
реконструкции дороги или ее ремонте укрепление обочин выполняется с учетом
возможной необходимости изменения водно-теплового режима земляного полотна в
части его защиты от поверхностных вод и предотвращения образования на дороге
пучин. Выбор решения осуществляется на основе данных обследования дороги, в
т.ч. и на период выполнения строительно-ремонтных работ.
2.18. При стадийном
устройстве дорожной одежды на проезжей части дороги или длительных перерывах
между устройством отдельных ее слоев порядок укрепления обочин назначают в
зависимости от предусмотренных стадий, их продолжительности. Как правило,
следует предусматривать укрепление обочин также стадийно, по мере устройства
дорожной одежды.
2.19. При
необходимости устройства продольных лотков для перехвата и отвода поверхностных
вод с покрытия проезжей части их размещают за пределами укрепленной с
применением органических вяжущих материалов части обочины - желательно на
границе остановочной и прибровочной полос и в любом случае за пределами краевой
укрепительной полосы.
2.20. Конструкции
укрепления обочин эксплуатируемых дорог при их самостоятельном сооружении
назначают раздельно для укрепительной и остановочной полос на основе расчетного
обоснования их прочности (разд. 4). При этом для укрепительных полос учитывают
повторность нагружения (вероятное число заездов транспортных средств в рассматриваемых условиях), а сам расчет выполняют с
учетом всех критериев прочности, предусмотренных для дорожной одежды проезжей
части.
В пределах
остановочных полос конструкцию укрепления, как правило, рассчитывают на
продолжительное единичное нагружение по критерию сдвига (дороги III - IV). При обосновании возможен расчет по всем критериям оценки прочности,
предусмотренным для расчета дорожной одежды проезжей части. Такое решение возможно прежде всего для отдельных участков дорог высоких
технических категорий (см. п. 3.3 - 3.6), в т.ч. где вследствие высокой
интенсивности движения имеется необходимость, по опыту эксплуатации,
систематического пропуска потока по укрепительной и остановочной полосам в
периоды ограничения проезда или в отдельные кратковременные "пиковые"
периоды роста интенсивности движения, когда уширение дорожной одежды проезжей
части нецелесообразно или невозможно по технико-экономическим условиям.
3. ВЫБОР
КОНСТРУКЦИЙ УКРЕПЛЕНИЯ ОБОЧИН
3.1. Выбор
конструкции укрепления обочин, соответствующей условиям движения и изложенным
выше требованиям, осуществляется на стадии разработки проекта строительства,
реконструкции или ремонта дороги. При этом в расчетах и выборе конструкции
дорожной одежды проезжей части дороги при ее строительстве или ремонте,
усилении, разработке мероприятий по ликвидации пучин или пучиноопасных мест
следует учитывать, что устройство на обочине слоев укрепления улучшает
водно-тепловой режим земляного полотна. Степень этого влияния зависит от
применяемых при укреплении материалов.
3.2. В состав работ
при выборе конструкции укрепления входит определение:
- необходимости
устройства только краевой укрепительной или дополнительно и укрепление
остановочной полосы;
- материалов для
устройства слоев;
- толщин слоев
укрепления.
3.3.
Краевая укрепительная и остановочные полосы на федеральных дорогах с индексами
"Е" и "М", на прочих федеральных дорогах, где
проектно-сметной документацией предусматривается устройство разделительной
полосы с установкой барьерного ограждения, укрепляются по типу дорожной одежды
проезжей части дороги.
3.4. Краевая
укрепительная полоса на эксплуатируемых дорогах I - IV категорий при
самостоятельном выполнении работ укрепляется согласно положениям настоящего
документа, СНиП 2.05.02-85 и "Технических правил ремонта и содержания автомобильных дорог общего пользования", на
строящихся дорогах - по типу дорожной одежды проезжей части путем ее уширения.
3.5. Остановочная
полоса на строящихся и эксплуатируемых дорогах I - IV категорий укрепляется в
соответствии с положениями настоящего документа в первую очередь в местах:
- населенных
пунктов и подходов к ним;
- подходов к местам
пересечений и примыканий в одном уровне;
- подходов к
искусственным сооружениям, особенно, если необходимо устройство велосипедной
дорожки;
- концентрации ДТП
по дорожным условиям;
- расположения
пунктов дорожного сервиса, смотровых площадок и площадок отдыха, у памятников и
др., связанных с возможностью частой остановки транспортных средств;
- необеспеченной
видимости, ветро- и туманоопасных;
- кривых меньше
минимального радиуса, при продольных уклонах больше максимальных согласно СНиП
2.05.02-85.
3.6.
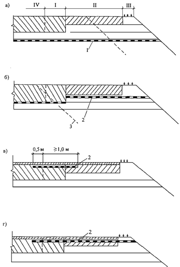
Покрытия из связных материалов на остановочных полосах обочин (помимо указанных в п. 3.3) при обосновании выполняют (рис.
2, в, г, д):

Рис 2.
Конструктивные решения по укреплению обочин
- на дорогах I -
III категорий в зоне населенных пунктов городского типа и на подходах к ним на
расстоянии не менее 100 м;
- на участках между
населенными пунктами дорог I - II категорий при интенсивности движения выше
25000 авт./сут;
- на подходах к
местам пересечения, примыкания и съездов дорог в одном уровне, на расстоянии не
менее 100 м (200 м в неблагоприятных грунтовых условиях) для дорог I - II
категорий и не менее 50 м и 25 м для дорог соответственно III и IV категорий с
капитальными и облегченными типами покрытий;
- на подходах к
местам пересечений и примыканий дорог в разных уровнях, где не предусмотрено
устройство переходно-скоростных полос, на расстоянии от оси пересечения не
менее 150 м;
- в местах
размещения пунктов общественного питания, торговли, технического обслуживания
автомобилей и т.д., оговариваемых в СНиП и других нормативных документах;
- на участках
обочин дорог I и II категорий в качестве отдельных площадок для остановки
автомобилей при интенсивности движения более значений, указанных в СНиП;
- на участках дорог
I и II категорий, где интенсивность движения за первые 5 лет эксплуатации
превышает 50% от расчетной перспективной;
- на обочинах
левосторонних съездов, пересечений и примыканий в разных уровнях;
- непосредственно
на въездах и съездах пересечений и примыканий дорог в разных уровнях. Как
исключение, в этих условиях обочины можно укреплять полосой шириной не менее
0,5 - 0,75 м.
В остальных случаях
при укреплении обочин используют конструкции, приведенные на рис. 2, а, б, е.
3.7. Для улучшения
работы укрепления, особенно в тяжелых грунтово-гидрологических условиях и
напряженного режима движения транспортных средств, в конструкции целесообразно
использовать прослойки из различных геосинтетических материалов.
3.8. Для снижения
толщин основания (других слоев укрепления) или повышения срока службы
укрепленной обочины используются прослойки с защитно-армирующей функцией с
условным модулем более 350 Н/см.
3.9.
Защитно-дренирующие прослойки из геосинтетических материалов устраиваются, как
правило, на контакте между слоями основания и земляным полотном. Такое решение
целесообразно применять:
- при
переустройстве дренирующего слоя в зоне обочин с отсыпкой слоя из мелких песков
с
= 1 - 2 м/сут;
- при заиленном
дренирующем слое и укреплении обочины без его переустройства;
- в качестве
мероприятия, снижающего влажность грунтов земляного полотна при 2 и 3 типе
местности по условиям увлажнения во II и III дорожно-климатических зонах (дороги
I и III категорий) и как мероприятие при регулировании водно-теплового режима
земляного полотна на участках, подверженных образованию пучин, для ускорения
отвода воды;
- при укладке
щебеночного слоя непосредственно на грунт на их контакте.
3.10. Гидроизолирующие
прослойки применяют для предотвращения поступления влаги атмосферных осадков в
тело земляного полотна через неукрепленные или укрепленные водопроницаемым
материалом обочины при 2 - 3 типе местности по условиям увлажнения во II и III
дорожно-климатических зонах при высокой фактической (расчетной) влажности,
средних и тяжелых пылеватых суглинках, при наличии или опасности образования
пучин. При этом величина снижения влажности в расчетах может быть принята (0,05
- 0,03)
и (0,03 - 0,01)
(
-
влажность на границе текучести), соответственно для II и III
дорожно-климатических зон 2 и 3 типа местности по условиям увлажнения.
3.11. Наиболее
экономичным по единовременным капитальным затратам является укрепление обочин
устройством краевой укрепительной полосы, в т.ч. выполняемое и путем уширения
проезжей части (рис. 2, а, б) и укрепления остановочной полосы крупно
фракционным несвязным материалом. Использование такого решения улучшает
транспортно-эксплуатационные показатели, способствует усилению кромки проезжей
части. Однако рассматриваемая конструкция эффективна при малом количестве
наездов на обочину, малом количестве выпадающих осадков и земляном полотне из
легких грунтов. Такое решение возможно и как укрепление на первой стадии при
двухстадийном строительстве дороги.
3.12. Если земляное
полотно выполнено из связных грунтов и подвержено повышенному увлажнению, в
конструкции по типу рис. 2, а, б целесообразно
использовать гидроизолирующую прослойку. В условиях, если остро стоит задача не
гидроизоляции земляного полотна, а усиления конструкции, вместо
гидроизоляционного материала можно использовать геосетку или другой геоматериал
с высоким модулем деформации.
3.13. Укрепление по
рис. 2, в, г, д является наиболее капитальным. Такая
конструкция оказывает положительное воздействие на водно-тепловой режим
земляного полотна. Степень снижения влажности грунтов зависит от применяемых в
конструкции материалов и колеблется в пределах до 0,05
.
Использование в таких конструкциях прослоек из геосинтетических материалов или
георешеток направлено на экономию дорожно-строительных материалов, повышение
прочности конструкции укрепления, дренаж поступившей в земляное полотно воды
или его защиту от влагонакопления.
3.14. Аналогичная
конструкция, но с краевой укрепительной полосой, выполненной путем уширения
проезжей части, целесообразна при строительстве, реконструкции или ремонте дороги,
связанными с уширением дорожной одежды проезжей части,
на первой стадии при двухстадийном строительстве дороги при значительном числе
останавливающихся транспортных средств.
3.15. Конструкция
по рис. 2, б, е применяется, когда материалы укрепления краевой и остановочных
полос (в основном - покрытие) отличаются друг от друга. Так, краевая
укрепительная полоса имеет покрытие из асфальтобетона или выполнена из
цементобетона, а остановочная полоса укреплена щебнем, гравием, шлаком или
другим несвязным материалом. Снижение в такой конструкции влажности земляного полотна возможно не более чем на 0,02
.
Наиболее целесообразно ее применять в легких грунтово-климатических условиях,
при невысокой интенсивности движения или в местах редкой остановки транспортных
средств, на первой стадии при двухстадийном строительстве дороги.
3.16.
Защитно-армирующие прослойки из нетканых геосинтетических материалов,
выполняющие в отдельных случаях также функции водоотвода (гидроизоляции),
применяют при укреплении обочин с целью снижения расхода других строительных
материалов, усиления конструкции укрепления, защиты его от водной эрозии, а
рабочего слоя земляного полотна - от дополнительного увлажнения поверхностными
водами, усиления прикромочной зоны дорожной одежды.
Основные варианты
конструктивных решений представлены на рис. 3:
- если ГМ имеют
небольшую водопроницаемость (соизмеримую с водопроницаемостью песчаных грунтов)
или нет необходимости в выполнении ими функций дренирующего (гидроизолирующего)
и защитного от водной эрозии слоя, целесообразно укладывать ГМ лишь в пределах
краевой укрепительной полосы с небольшим запасом (ширина укладки ГМ
=
+ 0,2 м) - рис. 3, а;
- если ГМ выполняют
функцию дренирующего слоя, а земляное полотно представлено связными грунтами,
которые подвергаются повышенному увлажнению и имеют высокую деформативность в
отдельные периоды года, ГМ укладывают непосредственно на поверхность земляного
полотна по всей ширине обочины с выводом его на откос (рис. 3, б). Также
укладывают ГМ в качестве водонепроницаемых экранов при необходимости
дополнительной гидроизоляции грунтов земляного полотна, если покрытие
укрепления обочины водопроницаемо;
- если возможна
водная эрозия укрепления обочины или ее части (остановочная полоса), с которой,
как правило, начинается размыв откоса, ГМ укладывают на всю ширину обочины с
выводом на откос, в том числе и на всю его плоскость (рис. 3, в) с отсыпкой на
его поверхность растительного грунта или соответствующего материала. В этом
случае возможна укладка ГМ с уклоном в сторону проезжей части и выводом на
поверхность обочины у бровки откоса (рис. 3, г), если это не будет
способствовать дополнительному увлажнению земляного полотна (под ГМ расположен
дренирующий грунт).

Рис. 3.
Основные варианты применения ГМ при укреплении обочин:
I - краевая
укрепительная полоса шириной
;
II - остановочная
полоса; III - прибровочная полоса;
1 - ГМ; 2 -
конструкция укрепления;
3 - проезжая часть;
4 - дренирующий грунт (песок)
При необходимости
применяют различные комбинации размещения ГМ в пределах обочины (рис. 3, д).
3.17. При
укреплении обочин на уширяемой насыпи, когда линии контакта старой и присыпной
части находятся в пределах конструкции укрепления, для обеспечения ее
равнопрочности в основание слоев укрепления укладывается прослойка из
геосинтетического материала (рис. 4). Если прослойка должна выполнять функции
дренажа и отвода воды (рис. 4, а), используются нетканые синтетические
материалы с коэффициентом фильтрации не менее 100 м/сут. Если решается задача
экономии материалов, усиления конструкции или ее усиления с гидроизоляцией
(рис. 4, б), используются более прочные и жесткие материалы. В таких случаях
краевую укрепительную полосу целесообразно выполнять путем уширения проезжей
части. Заделка прослоек в проезжей части в этой конструкции должна быть не
менее 0,5 м.

Рис. 4. Усиление
конструкций укрепления обочин при
уширении земляного полотна и дорожной одежды:
I - краевая
укрепительная полоса; II - остановочная
полоса; III -
прибровочная полоса; IV - полоса уширения
проезжей части; 1 -
защитно-дренирующая полоса из ГМ;
2 - армирующая
прослойка из ГМ; 3 - граница уширяемой
части насыпи
3.18. При ремонте (усилении) дорожной конструкции
проезжей части дороги, имеющей укрепление обочины, в зоне контакта проезжей
части и краевой укрепительной полосы целесообразно укладывать прослойку из
геосинтетического материала (рис. 4, в). В качестве прослойки следует
использовать сетку или материал нетканого типа с высоким условным модулем
упругости. При недостаточной прочности старой конструкции укрепления
остановочной полосы прослойка укладывается на всю ширину укрепления (рис. 4,
г).
3.19. В отдельных
случаях при специальном технико-экономическом обосновании для укрепления обочин
возможно применение геокомпозитов и пространственных георешеток. Применение
геокомпозитов (из двух слоев фильтров с пористым заполнителем между ними)
целесообразно в качестве защитно-дренирующего слоя на контакте с грунтом
земляного полотна, когда существующий дренирующий слой под проезжей частью
имеет ухудшенные в процессе эксплуатации дренирующие свойства. Применение
пространственных георешеток может быть целесообразным на отдельных особо
сложных участках, где наблюдаются повышенные разрушения в пределах обочины,
связанные с наездом автомобилей и размывами, переходящими на откос.
4. ПРОЕКТИРОВАНИЕ КОНСТРУКЦИЙ УКРЕПЛЕНИЯ
4.1. Выбор
параметров конструкций укрепления, как правило, производится на основе
расчетов. В качестве расчетной согласно ОДН 218-046-01 принимается автомобиль с
нагрузкой 10 т на ось давлением в шинах 0,6 МПа и диаметром отпечатка,
эквивалентным следу колеса, 33 см для расчета укрепления остановочной полосы
(если расчет выполняется только по критерию сдвига) и 37 см - краевой
укрепительной полосы.
4.2. Толщину
каждого слоя конструкции укрепления следует принимать не ниже значений,
указанных в СНиП 2.05.02-85. Верхний слой укрепления (покрытие) принимают
наименьшей толщины, если при расчете конструкции его толщина оказалась меньше
указанных в СНиП 2.05.02-85 величин.
4.3. Расчетные
значения влажности грунта земляного полотна в зависимости от условий увлажнения
и типа покрытия укрепления для использования в расчетах конструкций укрепления
приведены в табл. 4.1.
- только по
критерию сдвига, если покрытие укрепления выполнено из слабосвязных материалов
или материалов, обработанных органическим вяжущим (см.
рис. 2, б, е). Расчет ведется на действие единичной статической нагрузки;
- по трем критериям
аналогично расчету краевой укрепительной полосы (см. п. 4.9), если покрытие
укрепления выполнено из связных материалов (см. пп. 3.3, 3.6).
4.8. Величина
требуемого модуля упругости конструкции укрепления
остановочной полосы принимается равной:
- при укреплении с
использованием в покрытии асфальтобетона или других связных материалов
(конструкции с капитальным или облегченным типами дорожных одежд) - 120 МПа;
- при укреплении
битумоминеральными смесями, гравийными, щебеночными материалами, в т.ч. и
обработанными способами пропитки, укрепленными грунтами (конструкции с
облегченными и переходными типами дорожных одежд) - 85 МПа.
4.9. Параметры
краевой укрепительной полосы, сооружаемой при самостоятельном выполнении работ
по укреплению обочин, устанавливаются согласно ОДН 218-046-01 расчетами по трем
критериям:
- упругому прогибу;
- сдвигу в грунте
земляного полотна, слабосвязных материалах и материалах, обработанных вяжущим (см. п. 4.7);
- растягивающим
напряжениям в монолитных слоях.
4.10. Требуемое
минимальное значение модуля упругости конструкции укрепления
краевой полосы устанавливается в зависимости от количества наездов
автомобилей
,
определяемого по номограмме (рис. 5) в зависимости от типа покрытия краевой
укрепительной полосы.

Рис. 5. Номограмма
для расчета требуемого модуля упругости
краевой
укрепительной полосы:
-
приведенное количество наездов автомобилей
на краевую
укрепительную полосу за сутки;
а - покрытие из
асфальтобетона, цементобетона,
битумоминеральных
смесей, приготовленных в установке;
б - покрытия из битумоминеральных смесей,
щебеночных и
гравийных материалов,
обработанных способами пропитки,
песчаными и
супесчаными укрепленными различными
вяжущими грунтами
4.11.
Среднесуточное количество наездов на обочину автомобилей
рассчитывается по формуле
,
где
- коэффициент, учитывающий количество наездов
автомобилей на краевую укрепительную полосу, принимается по табл. 4.2;
- число
проездов автомобилей по дороге m-й марки в сутки;
-
суммарный коэффициент приведения к расчетной нагрузке, принимаемый по
приложению 1 ОДН 218.046.01.
Таблица 4.2
┌───┬─────────────┬─────────────────────────────────────────────────────┐
│
N │ Средняя │ Коэффициент А
│
│пп.│ суточная
├─────────────────────────────────────────────────────┤
│ │интенсивность│ Ширина проезжей части, м │
│ │
движения
├─────┬──────┬──────┬──────┬──────┬──────┬─────┬──────┤
│ │
расчетных │ 7,0
│ 7,5 │ 10,5 │>
10,5│ 7,0 │ 7,5 │10,5 │> 10,5│
│ │
автомобилей,├─────┴──────┴──────┴──────┼──────┴──────┴─────┴──────┤
│ │
авт./сут │Покрытие обочин
аналогично│ Покрытие обочин
не │
│ │ │ по виду покрытиям │
аналогично по виду │
│ │ │ усовершенствованного
типа│ покрытиям │
│ │ │
│усовершенствованного типа │
├───┼─────────────┼──────────────────────────┴──────────────────────────┤
│1 │1000 │ Расчет ведется при коэффициенте А, равном 0,001
│
├───┼─────────────┼─────┐
│
│2 │2000 │0,006│ │
├───┼─────────────┤
├──────┬──────┬──────┐ │
│3 │3000 │0,012│0,004 │0,003
│0,003 │
│
├───┼─────────────┤ │ │ │
├──────┐ │
│4 │4000 │0,02 │0,003 │0,004
│0,0035│0,003 │ │
├───┼─────────────┼─────┤ │ │ │
├──────┬─────┐ │
│5 │5000 │0,03 │0,012 │0,005
│0,004 │0,005 │0,004 │0,002│ │
├───┼─────────────┤ │ │ │ │ │ │
│ │
│6 │6000 │0,04 │0,016 │0,007
│0,005 │0,007 │0,005 │0,003│ │
├───┼─────────────┤
├──────┤ │ │ │ │ ├──────┤
│7 │7000 │0,055│0,020
│0,01 │0,007
│0,01 │0,007
│0,004│0,002 │
├───┼─────────────┤ │
├──────┤ │ │ │ │ │
│8 │8000 │- │0,035 │0,02 │0,012 │0,012 │0,01 │0,006│0,003 │
├───┼─────────────┤ │ │
├──────┼──────┼──────┤ │ │
│9 │9000 │- │0,05
│0,03 │0,018
│0,02 │0,02 │0,009│0,004 │
├───┼─────────────┤ │ │ │ │ │
├─────┤ │
│10
│10000 │- │-
│0,04 │0,024
│0,04 │0,03 │0,015│0,006 │
├───┼─────────────┤ │ │ │ │ │ │ │ │
│11
│> 10000 │- │-
│0,05 │0,035
│- │- │0,02 │0,01 │
└───┴─────────────┴─────┴──────┴──────┴──────┴──────┴──────┴─────┴──────┘
Примечание. Если
значение коэффициента А располагается ниже нижней
ограничительной линии, необходимо уширение проезжей части дороги, так как
укрепление обочин при этих значениях коэффициента А может привести к созданию
экономически неэффективных конструкций.
4.12. Проверка
монолитных слоев на изгиб производится согласно положениям ОДН 218.046-01.
4.13. Если в
конструкции укрепления обочины используются прослойки из геосинтетических
материалов, величина расчетного модуля упругости конструкции умножается на
коэффициент 1/
, где
- показатель, принимаемый по приложению 1
настоящего документа.
5. МАТЕРИАЛЫ ДЛЯ УКРЕПЛЕНИЯ ОБОЧИН
5.1. Для укрепления
обочин используются материалы:
- асфальтобетон
различных марок, асфальтогранулобетон, фиброасфальтобетон;
- сборный цементобетон;
- битумоминеральные
смеси;
- обработанные различными вяжущими щебеночные и гравийные материалы;
- укрепленный различными вяжущими грунт;
- щебеночные,
гравийные и другие несвязные материалы, в т.ч. отходы камнедробильного
производства, кирпичных, бетонных заводов, шлаки и другие местные материалы;
- грунтощебеночные,
грунтогравийные смеси.
5.2. Выбор
материалов определяется требованиями раздела 2 с учетом особенностей работы
материалов под нагрузкой в соответствующих грунтово-климатических условиях.
Рекомендуемое
расположение материалов в конструкции укрепления приведено на рис. 6.

Рис. 6. Материалы
слоев укрепления обочин:
1 - асфальтобетон,
асфальтогранулобетон,
фиброасфальтобетон,
цементобетон;
2 - щебеночные материалы,
шлаки;
3 - укрепленный неорганическими вяжущими грунт;
4 - щебень, гравий
с пропиткой вяжущими материалами;
5 - гравийные
(щебеночные) материалы;
6 -
грунтогравийные, грунтощебеночные материалы,
отходы
производства (кирпичный бой,
отходы бетонных
заводов, породы угольных шахт и т.д.);
7 -
битумоминеральные смеси; 8 - битумогрунт
5.3. Применяемые
для укрепления обочин дорожно-строительные материалы должны соответствовать
техническим условиям на их производство и применение.
5.4. При укреплении
обочин асфальтобетоном низких марок для улучшения свойств целесообразно
применять стекловолокна или базальтовые волокна ориентировочно из расчета 3 -
5% от объема смеси. Расчетные характеристики армированного таким образом
асфальтобетона следует повышать на 20%.
5.5. При
использовании для укрепления обочин обработанных вяжущими грунтов следует
руководствоваться положениями специальных документов по их применению.
5.6. В условиях необходимости повышения прочности конструкции укрепления недостатка
дорожно-строительных материалов, необходимости гидроизоляции земляного
полотна или улучшения условий отвода воды используются геосинтетические
материалы (ГМ), в группу которых входят нетканые, пленочные, сетчатые материалы
и георешетки пространственного типа.
Геосинтетические
материалы должны отвечать требованиям технических условий на их производство и
применение, обладать биологической и химической устойчивостью к воздействию
агрессивных факторов.
Место расположения
ГМ в конструкции укрепления обочин (по ширине обочины и глубине заложения)
определяется видом применяемого ГСМ и выполнением им указанных выше функций.
5.7. Нетканые ГМ представляют собой хаотично переплетенные короткие или
длинные (бесконечные) волокна, соединенные механическим, физическим или
химическим способами.
ГМ, соединенные
механическим способом (иглопрокалыванием), обладают, как правило, высокой
водопроницаемостью во всех направлениях и при достаточной толщине выполняют
функции дренирующих слоев и фильтров, но имеют повышенную
деформативность. Нетканые ГСМ, соединенные сшиванием или химическим способом и
имеющие высокий модуль деформации, не обладают, как правило, водопроницаемостью
в горизонтальном направлении, могут выполнять функции арматуры.
5.8. Тканые ГМ отличаются регулярной структурой и меньшей
деформативностью, чем нетканые. Они в подавляющем большинстве случаев выполняют
функции защитных и армирующих, но не дренирующих слоев.
5.9. Пленочные ГМ отличаются гидроизоляционными свойствами, но
имеют обычно меньшую прочность. Используя пленку, следует учитывать низкое
значение сопротивления сдвигу на контакте с грунтом, а также плохую
сопротивляемость воздействию нетрадиционных нагрузок (щебень, гравий).
5.10. Материалы
сетчатого типа - геосетки - обладают
высокой прочностью и малой деформативностью. Они используются как армирующие
прослойки. Наибольший эффект проявляется при их включении в слои из связных
материалов. Для объемного армирования, т.е. устройства самостоятельного слоя
укрепления на остановочной полосе (при достаточной ее ширине), могут
использоваться объемные геосетки - георешетки, ячейки которых заполняются
грунтом, щебнем, гравием, укрепленным различными
вяжущими грунтом, обеспечивающими в комплексе прочность слоя.
5.11. При
укреплении обочин с использованием армирующих прослоек из геосинтетических
материалов они укладываются в зависимости от решаемой задачи:
- под слой
укрепления, если он выполняется из несвязных материалов на границе с грунтом
земляного полотна;
- на границе между
слоями укрепления, если оба слоя выполнены из связного материала или один из
них из несвязного.
5.12.
Гидроизоляционную защиту грунтов обочин от воздействия поверхностных вод
осуществляют следующими способами:
- устройством слоя
асфальтобетона минимальной толщины;
- устройством на
верхнем слое укрепления поверхностной обработки, а если укрепление обочин
выполнено из грунтов, укрепленных неорганическими вяжущими и смолами, то с
укладкой промежуточного щебеночного слоя толщиной 5 см;
- применением
синтетических пленочных или пленкообразующих материалов из органических
вяжущих, укладываемых или наносимых тонким слоем путем набрызга на основание нижнего слоя укрепления или прослойки из геосинтетического
материала;
- смазкой торцов
дорожной одежды одним из видов органических вяжущих перед укладкой слоев
укрепления.
5.13. Укрепление
травосеянием прибровочной полосы применяют при грунтах, имеющих рН >= 5. Для
посева травы растительная земля должна содержать необходимые компоненты
питательных веществ. При использовании бедных растительных почв их обогащают
органическими и минеральными удобрениями.
5.14. При
использовании в конструкциях укрепления прослоек из ГМ
необходимо выполнять проверку их прочности на действие
строительных и эксплуатационных нагрузок в соответствии с ОДН 218.049-03.
6.
ТЕХНОЛОГИЯ И ПРАВИЛА ПРОИЗВОДСТВА РАБОТ
6.1. Работы по
укладке, профилированию и уплотнению слоев укрепления обочин выполняют согласно
проекту на производство работ, СНиП 3.06.03-85 и положениям настоящего
документа в зависимости от дорожной обстановки, плана и профиля дороги,
интенсивности движения, конструкции укрепления, применяемых материалов и
средств механизации работ.
6.2. При отсутствии
проекта на производство работ укрепление может выполняться по технологическим
картам, составляемым на месте дорожными организациями, выполняющими эти работы,
в зависимости от указанных в п. 6.1 условий.
6.3. Для
составления проекта на производство работ или технологической карты в табл. 6.1
и 6.2 даны возможные варианты использования материалов, технология
укрепительных работ, порядок выполнения и наиболее приемлемые типы дорожных
машин.
Таблица 6.1
|
Вид
укрепления
обочины
|
Конструкция с одним
слоем укрепления
|
Конструкция
с двумя слоями
укрепления
|
|
Приготовление
материала на
обочине
(укрепленный
грунт)
|
Привоз-
ной ма-
териал
|
Приготовление
нижнего слоя на
обочине, верхний
из привозного
материала
|
Привозной
материал
|
|
Укрепление
с
использованием
грунта обочины
Грунт при
устройстве ко-
рыта удаляется
за пределы зем-
ляного полотна
|
I
-
|
-
III
|
II
IV
|
-
V
|
Примечание. I - V -
номера вариантов технологии выполнения работ.
Таблица 6.2
┌─────────────────────┬────────────────────────┬─────────────────┐
│ Наименование │Порядок выполнения │ Тип механизмов, │
│ операций │операций
по сооружению │ которые
│
│ │конструкций
укрепления │ могут быть
│
│ │обочин по вариантам
I - │ использованы │
│ │V согласно табл.
6.1 │ │
│ ├────┬────┬────┬────┬────┤ │
│ │ I │ II │III │ IV │
V │ │
├─────────────────────┼────┼────┼────┼────┼────┼─────────────────┤
│ 1 │ 2 │ 3
│ 4 │ 5 │ 6
│ 7 │
├─────────────────────┼────┼────┼────┼────┼────┼─────────────────┤
│Зачистка
поверхности │1 │- │-
│- │- │Автогрейдеры │
│обочин
путем снятия │ │
│ │ │
│легкого и │
│грунта
толщиной 3 - 5│ │ │
│ │ │среднего типов. │
│см с перемещением его│ │
│ │ │
│Бульдозеры │
│на
откосную часть │ │
│ │ │
│ │
│Устройство
корыта в
│ │ │
│ │ │ │
│соответствии
с про-
│ │ │
│ │ │ │
│филем
и глубиной, │ │
│ │ │
│ │
│определяемой
конст- │ │
│ │ │
│ │
│рукцией
укрепления │ │
│ │ │
│ │
│(толщиной слоя ук- │
│ │ │
│ │ │
│репления) из привоз- │ │
│ │ │
│ │
│ного
материала: │ │
│ │ │
│ │
│-
со срезкой и пере- │-
│1 │1 │1
│1
│Для срезки:
│
│мещением
в валы на │ │
│ │ │
│автогрейдеры │
│обочине с последующей│ │
│ │ │
│легкого и средне-│
│погрузкой
и вывозом │ │
│ │ │
│го типов; │
│за
пределы земляного │ │
│ │ │
│экскаваторы с │
│полотна; │ │
│ │ │
│емкостью ковша │
│ │ │
│ │ │
│0,15 - 0,3 м3. │
│ │ │
│ │ │
│Для вывоза: │
│ │ │
│ │ │
│автосамосвалы │
│ │ │
│ │ │
│всех типов. │
│ │ │
│ │ │
│Для погрузки: │
│ │ │
│ │ │
│экскаваторы с │
│ │ │
│ │ │
│емкостью ковша │
│ │ │
│ │ │
│0,15 - 0,3 м3 и │
│ │ │
│ │ │
│др. │
│-
со срезкой и │- │1
│1 │1 │1
│Автогрейдеры │
│удалением
на откосы │ │
│ │ │ │легкого и средне-│
│ │ │
│ │ │
│го типов │
│Выравнивание
кромки │2 │2
│2 │2 │2
│Бетоноломы, │
│проезжей части │ │
│ │ │
│пневмонические │
│ │ │
│ │ │
│молотки │
│Смазка
торца дорож- │- │7
│- │10 │7
│- │
│ной
одежды одним из
│ │ │
│ │ │ │
│видов
органического
│ │ │
│ │ │ │
│вяжущего
материала │ │
│ │ │
│ │
│Рыхление
грунта │3 │-
│- │3 │-
│Кирковщики │
│ │ │
│ │ │
│автогрейдеров, │
│ │ │
│ │ │
│рыхлители │
│Уплотнение
дна корыта│- │3 │3
│- │3 │Катки с шириной │
│за
3 - 5 проходов │ │
│ │ │
│захвата до 2 м │
│Размельчение
и пере- │4
│- │- │4
│- │Фрезы с
шириной │
│мешивание
грунта │ │
│ │ │
│захвата до 2 м │
│Завоз
на обочину вя- │5 │- │-
│5 │- │Автогудронаторы, │
│жущего
материала │ │
│ │ │
│цементовозы │
│Распределение
вяжу- │6 │-
│- │6 │-
│Фрезы, распреде- │
│щих
материалов на │ │
│ │ │
│лители сыпучих │
│обочине │ │
│ │ │
│материалов, авто-│
│ │ │
│ │ │
│гудронаторы │
│Приготовление
смеси │7 │-
│- │7 │-
│Фрезы, автогрей- │
│(перемешивание │ │
│ │ │
│деры среднего и │
│грунта
с вяжущим)
│ │ │
│ │ │легкого типов │
│Завоз
несвязного
│- │4 │4
│- │4 │Автосамосвалы │
│материала
укрепления │ │ │
│ │ │всех типов │
│на
обочину │ │
│ │ │
│ │
│Завоз
на обочину │- │8
│- │11 │8
│Автосамосвалы │
│материала
верхнего │ │
│ │ │
│всех типов │
│слоя │ │
│ │ │
│ │
│Разравнивание
и │8 │5,9 │5 │8,12│5,9
│Автогрейдеры │
│профилирование
слоя │ │
│ │ │
│легкого и │
│ │ │
│ │ │
│среднего типов, │
│ │ │
│ │ │
│бульдозеры, │
│ │ │
│ │ │
│асфальтоукладчик │
│ │ │
│ │ │
│с шириной захвата│
│ │ │
│ │ │
│2 м, машина для │
│ │ │
│ │ │
│устройства укре- │
│ │ │
│ │ │
│пительных полос │
│Уплотнение
слоя │9 │10
│- │9,13│10 │Катки с шириной │
│укрепления
на
│ │ │
│ │ │захвата 2
м │
│обочине: │ │
│ │ │
│ │
│-
верхнего из связных│ │
│ │ │
│ │
│материалов
или укреп-│ │ │
│ │ │ │
│ленного
грунта; │ │
│ │ │
│ │
│-
слоя из несвязных
│- │6 │6
│13 │6 │Катки с шириной │
│материалов │ │
│ │ │
│захвата 2 м │
└─────────────────────┴────┴────┴────┴────┴────┴─────────────────┘
Примечание. Цифры в
вертикальных графах показывают порядок операций по устройству слоев укрепления,
принятого согласно табл. 6.1 варианта конструкции.
6.4. При выполнении
работ по укреплению обочин должен быть удален на откос (прибровочную полосу)
растительный грунт с последующей его планировкой и засевом травами. Грунт
обочин в зависимости от планируемой конструкции укрепления также удаляется на
откос или используется для устройства слоя укрепления.
6.5. При
использовании в конструкциях укрепления прослоек из геосинтетических материалов
или георешеток дополнительно к работам, определяемым СНиП 3.06.03-85, табл. 6.1
и 6.2 настоящего документа, производятся работы по транспортировке,
распределению и укладке прослойки ГСМ (георешетки) в конструкцию укрепления.
6.6. Раскатку
рулонов и укладку полотен ГМ в рабочее положение выполняют с низовой (по
отношению к направлению стока воды) стороны.
Их положение
закрепляют прижатием полотна к грунту через 10 - 12 м анкерами, присыпкой
грунтом, щебенкой. Прижатие производят во избежание смещения полотна при
действии ветровой нагрузки, укладке вышележащих слоев укрепления, а также для
сохранения небольшого предварительного его натяжения.
6.7. При
недостаточной ширине ГМ полотна укладывают с перекрытием не менее 0,10 - 0,15 м
(при создании гидроизолирующих слоев - 0,3 м), а в случае возможности
возникновения в месте перекрытия полотен значительных растягивающих напряжений
их соединяют. Соединение выполняют, если:
- перекрытие
расположено в пределах краевой укрепительной полосы, а основной функцией ГМ в
конструкции укрепления является армирование;
- полотна
укладывают с выходом на откос с целью его защиты, а перекрытие расположено в
пределах 0,5 м от бровки откоса.
Выбор способа
соединения зависит от вида применяемого ГМ и функций, которые он выполняет в
конструкции.
6.8. При устройстве прослоек из СМ, особенно гидроизолирующих,
необходимо проверить качество планировки и соответствие поперечных уклонов
проектным, качество швов соединения полотен.
6.9. Отсыпку на ГМ материала вышележащего слоя
укрепления желательно вести с таким расчетом, чтобы ГМ (нестабилизированный)
находился под действием дневного света не более 4 - 5 ч.
Отсыпку материала
ведут по способу "от себя" без заезда строительных машин на открытые
полотна. Материал укрепления выгружают непосредственно на уложенные полотна,
надвигают, разравнивают и профилируют бульдозером и автогрейдером, после чего
уплотняют. При строительстве избегают резких поворотов гусеничных машин, так
как это может привести к повреждению полотен ГМ.
6.10. Первый слой
укрепления поверх ГМ отсыпают на толщину, не менее требуемой, исходя из данных
расчета на строительные нагрузки (см. раздел 5). Если на поверхность ГМ
укладывают крупнофракционный материал (щебень, гравий), а данные по стойкости
ГМ к нетрадиционным воздействиям отсутствуют, проверяют возможность такой
укладки путем визуальной оценки степени повреждения образца ГМ размерами 2 x 2
м после проезда построечного транспорта по покрывающему его слою. При наличии
повреждений на полотно отсыпают технологический слой из мелкозернистого
материала толщиной в уплотненном состоянии не менее 5 см (для пленок - 10 см).
6.11. Прослойку из
геосинтетического материала под пространственную
георешетку (при необходимости) устраивают согласно изложенным выше правилам.
6.12. Укладку
георешетки производят путем растяжки пакета и прикрепления (фиксации положения)
георешетки к грунту земляного полотна штырями по всему ее периметру.
6.13. Отсыпку
материала в ячейки георешетки выполняют одновременно на всю высоту георешетки с
запасом ориентировочно 15 см для защиты ребер георешетки от смятия уплотняющими
и транспортными машинами.
6.14. Планировку и
уплотнение материала-заполнителя георешетки выполняют обычным способом согласно
СНиП 3.06.03-85.
6.15. Работы по
укреплению обочин следует производить в соответствии с действующими правилами
по технике безопасности. Примерная схема расположения дорожных знаков и
ограждений при производстве работ показана на рис. 7.

Рис. 7. Схема
ограждения участка работ
при укреплении
обочин
7. КОНТРОЛЬ
КАЧЕСТВА
7.1. Контроль качества
выполнения работ осуществляется с целью обеспечения
соответствия параметров конструкций укрепления обочин требованиям
раздела 2 настоящего документа и соответствующих положений ГОСТ 50597-93, СНиП
2.05.02-85, СНиП 3.06.03-85, ВСН 19-89 и др.
7.2. Толщина слоев
укрепления и поперечные уклоны определяются мерным инструментом. Они не должны
иметь отклонения от проектных значений более указанных
в СНиП 3.06.03-85, ВСН 19-89 и "Пособии по производственному контролю
качества при строительстве автомобильных дорог" (далее - Пособие).
7.3. Сцепление
колес автомобиля с покрытием должно соответствовать ГОСТ 50597-93 и
определяться согласно ГОСТ 30413-96. Ровность покрытия укрепленной обочины
должна соответствовать требованиям ВСН 38-90, ГОСТ 50597-93 и определяться по
ГОСТ 30412-96.
7.4. Контроль
качества устройства конструктивных слоев укрепления осуществляется согласно
соответствующим положениям ВСН 19-89 и СНиП 3.06.03-85.
7.5. Качество
используемых геосинтетических материалов и их укладки в конструкцию укрепления
оценивают согласно ВСН 49-86 и соответствующим положениям Пособия.
7.6. Качество
используемых при укреплении обочин дорожно-строительных материалов
устанавливается согласно положениям специальных нормативно-технических
документов.
Приложение
1
ЗНАЧЕНИЕ
КОЭФФИЦИЕНТОВ
ПОВЫШЕНИЯ МОДУЛЯ УПРУГОСТИ
КОНСТРУКЦИИ
ПРИ ВВЕДЕНИИ ПРОСЛОЕК
ИЗ ГЕОСИНТЕТИЧЕСКИХ
МАТЕРИАЛОВ
┌──────────┬─────────────────────────────────────────────────────┐
│Е /Е │ Значение альфа при H/D │
│
ср о
├─────────┬────────┬─────────┬──────────┬─────────────┤
│ │ 0,3
│ 0,6 │
0,9 │ 1,2
│ 1,5 - 2,0 │
│ │ │ │ │ │ │
├──────────┼─────────┼────────┼─────────┼──────────┼─────────────┤
│1 │ 2
│ 3 │
4 │ 5
│ 6 │
├──────────┴─────────┴────────┴─────────┴──────────┴─────────────┤
│ Е = 20 МПа │
│ о │
├──────────┬─────────┬────────┬─────────┬──────────┬─────────────┤
│1,0 │0,635 │0,690 │0,766 │0,829 │0,908 │
│ │0,720 │0,790 │0,873 │0,939 │0,989 │
│3,0 │0,635 │0,701 │0,778 │0,864 │0,926 │
│ │0,720 │0,803 │0,884 │0,964 │0,995 │
│5,0 │0,635 │0,710 │0,800 │0,886 │0,947 │
│ │0,720 │0,813 │0,912 │0,978 │0,998 │
│10,0 │0,637 │0,722 │0,837 │0,913 │0,966 │
│ │0,723 │0,827 │0,945 │0,986 │1,000 │
│20,0 │0,646 │0,773 │0,869 │0,932 │0,974 │
│ │0,738 │0,878 │0,960 │0,991 │1,000 │
│40,0 │0,654 │0,806 │0,893 │0,945 │0,978 │
│ │0,751 │0,909 │0,970 │0,996 │1,000 │
├──────────┴─────────┴────────┴─────────┴──────────┴─────────────┤
│ Е = 36 МПа │
│ о │
├──────────┬──────────┬───────┬─────────┬──────────┬─────────────┤
│1,0 │0,650 │0,729 │0,833 │0,907 │0,963 │
│ │0,744 │0,834 │0,941 │0,985 │1,000 │
│3,0 │0,654 │0,775 │0,864 │0,927 │0,972 │
│ │0,751 │0,880 │0,958 │0,990 │1,000 │
│5,0 │0,659 │0,797 │0,881 │0,938 │0,977 │
│ │0,758 │0,902 │0,966 │0,993 │1,000 │
│10,0 │0,691 │0,828 │0,908 │0,950 │0,986 │
│ │0,791 │0,922 │0,975 │0,996 │1,000 │
│20,0 │0,729 │0,854 │0,920 │0,960 │0,986 │
│ │0,832 │0,936 │0,982 │0,997 │1,000 │
│30,0 │0,749 │0,867 │0,927 │0,964 │0,988 │
│ │0,853 │0,943 │0,984 │0,998 │1,000 │
├──────────┴──────────┴───────┴─────────┴──────────┴─────────────┤
│ Е = 50 МПа │
│ о │
├──────────┬──────────┬───────┬─────────┬──────────┬─────────────┤
│1,0 │0,675 │0,794 │0,875 │0,933 │0,978 │
│ │0,755 │0,899 │0,963 │0,992 │1,000 │
│2,0 │0,698 │0,811 │0,888 │0,941 │0,978 │
│ │0,798 │0,912 │0,968 │0,994 │1,000 │
│3,0 │0,714 │0,824 │0,898 │0,946 │1,000 │
│ │0,824 │0,920 │0,973 │0,995 │1,000 │
│5,0 │0,733 │0,842 │0,910 │0,954 │0,987 │
│ │0,836 │0,932 │0,978 │0,996 │1,000 │
│10,0 │0,760 │0,865 │0,924 │0,963 │0,987 │
│ │0,864 │0,947 │0,983 │0,997 │1,000 │
│20,0 │0,783 │0,883 │0,935 │0,970 │0,980 │
│ │0,881 │0,950 │0,987 │0,998 │1,000 │
├──────────┴──────────┴───────┴─────────┴──────────┴─────────────┤
│ Е = 80 МПа │
│ о │
├──────────┬──────────┬───────┬─────────┬──────────┬─────────────┤
│1,0 │0,773 │0,856 │0,916 │0,959 │0,987 │
│ │0,873 │0,937 │0,980 │0,997 │1,000 │
│2,0 │0,784 │0,867 │0,923 │0,959 │0,987 │
│ │0,882 │0,946 │0,983 │0,997 │1,000 │
│3,0 │0,792 │0,875 │0,928 │0,963 │1,000 │
│ │0,888 │0,951 │0,985 │0,997 │1,000 │
│5,0 │0,804 │0,886 │0,935 │0,969 │1,000 │
│ │0,898 │0,958 │0,987 │0,998 │1,000 │
│10,0 │0,821 │0,898 │0,943 │0,975 │1,000 │
│ │0,913 │0,966 │0,990 │1,000 │1,000 │
├──────────┴──────────┴───────┴─────────┴──────────┴─────────────┤
│ Е
= 100 МПа
│
│ о │
├──────────┬──────────┬───────┬─────────┬──────────┬─────────────┤
│1,0 │0,802 │0,877 │0,931 │0,966 │1,000 │
│ │0,896 │0,957 │0,986 │0,998 │1,000 │
│2,0 │0,812 │0,885 │0,931 │0,966 │1,000 │
│ │0,905 │0,963 │0,986 │0,998 │1,000 │
│3,0 │0,819 │0,891 │0,936 │0,974 │1,000 │
│ │0,912 │0,967 │0,987 │1,000 │1,000 │
│5,0 │0,829 │0,898 │0,943 │0,974 │1,000 │
│ │0,920 │0,972 │0,990 │1,000 │1,000 │
│10,0 │0,843 │0,908 │0,952 │0,974 │1,000 │
│ │0,932 │0,978 │0,993 │1,000 │1,000 │
└──────────┴──────────┴───────┴─────────┴──────────┴─────────────┘
Примечания. 1.
Верхнее значение
в таблице берется при
60 кН/м, нижнее - при 35
< 60 кН/м.
2.
- модуль упругости грунта земляного полотна.
3.
- среднее значение модуля упругости дорожной
конструкции, определяемое по формуле


СПИСОК
НОРМАТИВНО-ТЕХНИЧЕСКОЙ ЛИТЕРАТУРЫ
1. СНиП 2.05.02-85.
Автомобильные дороги. Госстрой СССР, М., 1986.
2. СНиП 3.06.03-85.
Автомобильные дороги. Госстрой СССР, М., 1986.
3. СН 25-76.
Инструкция по применению грунтов, укрепленных вяжущими материалами, для
устройства оснований и покрытий автомобильных дорог и
аэродромов. Минтрансстрой СССР, 1975.
4. ОДН 218.046-01.
Проектирование нежестких дорожных одежд. ГСДХ Минтранса России, М., 2001.
5. ГОСТ Р 50597-93. Требования к эксплуатационному состоянию, допустимому
по условиям обеспечения безопасности дорожного движения. Госстандарт России,
М., 1993.
6. ОДН 218.024-03.
Технические правила ремонта и содержания автомобильных
дорог. ГСДХ Минтранса России, М., 2003.
7. ОДН 218.049-02.
Правила применения геосинтетических материалов при строительстве и ремонте
автомобильных дорог. ГСДХ Минтранса России, М., 2003.
8. ВСН 39-79.
"Технические указания по укреплению обочин автомобильных дорог".
Минавтодор РСФСР, Транспорт, М., 1980.
9. ВСН 14-95.
Инструкция по строительству дорожных асфальтобетонных покрытий. НТУ
Департамента строительства. Мосстройлицензия, 1995.
10. ВСН 7-89.
Указание по строительству, ремонту и содержанию гравийных покрытий. Минавтодор
РСФСР, М., 1989.
11. ВСН 25-86.
Указания по обеспечению безопасности дорожного движения на автомобильных
дорогах. Минавтодор РСФСР, М., 1986.
12. ВСН 123-77.
Инструкция по устройству покрытий и оснований из щебеночных, гравийных и
песчаных материалов, обработанных органическими вяжущими.
Минтрансстрой, М., 1977.
13. Руководство по
строительству оснований и покрытий автомобильных дорог
из щебеночных и гравийных материалов. Союздорнии, 1999.
14. Рекомендации по
применению влажных органоминеральных смесей для устройства конструктивных слоев
дорожных одежд. Минавтодор РСФСР, Гипродорнии, 1986.
15. О производстве
работ по укреплению обочин. Распоряжение Минтранса России от 14.02.2003 N
ИС-79-р.
16. Типовые решения
по восстановлению несущей способности земляного полотна и обеспечению прочности
и морозоустойчивости дорожной одежды на пучинистых участках автомобильных
дорог. Росавтодор Минтранса России. Распоряжение от 14.06.2002 г. N 113-р, М.,
2002.
17. Рекомендации по
расчету и технологии устройства оптимальных конструкций дорожных одежд с армированными
прослойками при строительстве, реконструкции и ремонте дорог с
асфальтобетонными покрытиями. ФДД Минтранса России, 1993.
18. Рекомендации по
выявлению и устранению колей на нежестких дорожных одеждах. Росавтодор
Минтранса России, М., 2002.
19. Временные
строительные нормы. Применение синтетических материалов при устройстве
нежестких одежд автомобильных дорог (IV - V категорий по классификации СНиП
2.05.02-85). 26 Центральный НИИ МО, ОАО "ЦНИИС-тест" Минстроя России,
1999.
20. Методические
рекомендации по технологии армирования асфальтобетонных покрытий добавками
базальтовых волокон (фиброй) при строительстве и ремонте автомобильных дорог.
Росавтодор Минтранса России. Распоряжение от 11.01.2002 г. N 12-р.
21. Методические
рекомендации по применению технологии армирования асфальтобетонных покрытий
рулонными базальтоволокнистыми материалами при строительстве и ремонте
автомобильных дорог. Росавтодор Минтранса России. Распоряжение N 333-р, М.,
2001.
22. Методические
рекомендации по применению объемной георешетки типа "геовеб" при
сооружении автомобильных дорог в районах вечной мерзлоты Западной Сибири (для
опытного применения), ФГУП "Союздорнии" Госстроя РФ, Балашиха, 2001.
23. ВСН 19-89.
Правила приемки работ при строительстве и ремонте автомобильных дорог. М.,
Транспорт, 1990.
24. Пособие по
производственному контролю качества при строительстве автомобильных дорог. НИЦ
"Инженер", М., 1998.