Поиск по базе документов:

Бесплатное обучение по алготрейдингу на Python и Backtrader

 

Введен в действие

Постановлением Госстандарта РФ

от 14 марта 2002 г. N 94-ст

 

 

МЕЖГОСУДАРСТВЕННЫЙ СТАНДАРТ

 

СИСТЕМА СТАНДАРТОВ БЕЗОПАСНОСТИ ТРУДА

 

ОБУВЬ СПЕЦИАЛЬНАЯ, СРЕДСТВА ИНДИВИДУАЛЬНОЙ ЗАЩИТЫ РУК,

ОДЕЖДА СПЕЦИАЛЬНАЯ И МАТЕРИАЛЫ ДЛЯ ИХ ИЗГОТОВЛЕНИЯ

 

МЕТОД ОПРЕДЕЛЕНИЯ

ПРОНИЦАЕМОСТИ НЕФТИ И НЕФТЕПРОДУКТОВ

 

occupational safety standards system.

Special foot-wear, personal means of hands protection,

special protective clothes

and materials for their manufacture.

Method for determination of petroleum

and petroleum products penetration

 

ГОСТ 12.4.129-2001

 

Предисловие

 

1. Разработан Техническим комитетом по стандартизации ТК 320 "Средства индивидуальной защиты"; Научным Центром социально-производственных проблем охраны труда (МИОТ).

Внесен Госстандартом России.

2. Принят Межгосударственным советом по стандартизации, метрологии и сертификации (протокол N 20 от 1 ноября 2001 г.).

За принятие проголосовали:

 

┌───────────────────────────┬────────────────────────────────────┐

  Наименование государства │  Наименование национального органа │

                                    по стандартизации         

├───────────────────────────┼────────────────────────────────────┤

│Азербайджанская Республика │Азгосстандарт                      

│Республика Армения         Армгосстандарт                     

│Республика Беларусь        │Госстандарт Республики Беларусь    

│Республика Казахстан       │Госстандарт Республики Казахстан   

│Кыргызская Республика      Кыргызстандарт                     

│Республика Молдова         Молдовастандарт                    

│Российская Федерация       │Госстандарт России                 

│Республика Таджикистан     Таджикстандарт                     

│Туркменистан               Главгосслужба "Туркменстандартлары" │

│Республика Узбекистан      Узгосстандарт                      

└───────────────────────────┴────────────────────────────────────┘

 

3. Постановлением Государственного комитета Российской Федерации по стандартизации и метрологии от 14 марта 2002 г. N 94-ст межгосударственный стандарт ГОСТ 12.4.129-2001 вводится непосредственно в качестве государственного стандарта Российской Федерации с 1 января 2003 г.

4. Взамен ГОСТ 12.4.129-83.

 

1. Область применения

 

Настоящий стандарт распространяется на специальную кожаную обувь; средства индивидуальной защиты рук (СИЗ рук), кроме средств защиты рук, изготовленных методом макания; специальную одежду и материалы для их изготовления и устанавливает метод определения проницаемости нефти и нефтепродуктов (далее - агрессивная среда).

Сущность метода заключается в обнаружении оптическим способом на изнаночной стороне пробы агрессивной среды (или ее паров), люминесцирующих в ультрафиолетовом (Уф) свете, и определении времени их проникания через испытуемую пробу.

 

2. Нормативные ссылки

 

В настоящем стандарте использованы ссылки на следующие стандарты:

ГОСТ 12.1.004-91. Система стандартов безопасности труда. Пожарная безопасность. Общие требования

ГОСТ 12.1.005-88. Система стандартов безопасности труда. Воздух рабочей зоны. Общие санитарно-гигиенические требования

ГОСТ 938.0-75. Кожа. Правила приемки. Методы отбора проб

ГОСТ 938.14-70. Кожа. Метод кондиционирования пробы

ГОСТ 9289-78. Обувь. Правила приемки

ГОСТ 9290-76. Обувь. Метод определения прочности ниточных швов соединения деталей верха

ГОСТ 9965-76. Нефть для нефтеперерабатывающих предприятий. Технические условия

ГОСТ 10681-75. Материалы текстильные. Климатические условия для кондиционирования и испытания проб и методы их определения

ГОСТ 17299-78. Спирт этиловый технический. Технические условия

ГОСТ 17316-71. Кожа искусственная. Метод определения разрывной нагрузки и удлинения при разрыве

ГОСТ 20566-75. Ткани и штучные изделия текстильные. Правила приемки и метод отбора проб

ГОСТ 20799-88. Масла индустриальные. Технические условия.

 

3. Аппаратура и реактивы

 

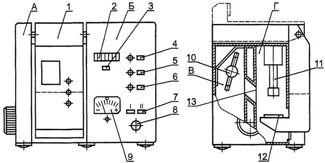
3.1. Для определения проницаемости агрессивной среды (нефти и нефтепродуктов) применяют прибор (рисунок 1), принцип работы которого основан на регистрации изменения отражательной способности поверхности испытуемой пробы.

 

 

А - блок индексации; Б - электронный блок управления;

В - отсек излучателя; Г - испытательный отсек;

1 - кювета; 2 - счетчик времени;

3 - кнопка сброса счетчика времени;

4 - кнопка выключения прибора;

5 - кнопка выключения ртутной лампы;

6 - кнопка выключения ФЭУ;

7 - кнопка переключения режимов;

8 - индикатор напряжения;

9 - регулятор порога чувствительности;

10 - ртутная лампа ДРК 120;

11 - фотоэлектронный умножитель;

12 - кассета с образцом; 13 - светофильтр УФС-8

 

Рисунок 1. Схема прибора для определения

проницаемости нефти и нефтепродуктов

 

Прибор состоит из двух блоков: блока индексации А и электронного блока управления Б. Блок индексации имеет два отсека: отсек излучателя В и испытательный отсек Г.

К испытательному отсеку шарнирно крепится съемная герметичная кювета 1 с резьбовым отверстием для закрепления кассеты 12 с пробой. В испытательном отсеке Г закреплен фотоэлектронный умножитель (ФЭУ) 11, являющийся датчиком обнаружения проникающей агрессивной среды. В отсеке излучателя В установлена газоразрядная ртутная лампа 10 с отражателем.

Отсеки излучателя В и испытательный Г разделены между собой двойной теплоизолирующей перегородкой, представляющей собой вентиляционный короб для продувки воздуха. В коробе имеется окно для светофильтра 13.

Блок управления Б содержит электронный счетчик времени 2, который автоматически отключается при установке кюветы 1 в "рабочее" (вертикальное) положение. Остановка счетчика времени 2 и включение световой и звуковой сигнализации происходят автоматически при появлении порогового напряжения на выходе ФЭУ 11.

Блок управления Б содержит индикатор напряжения 8, при помощи которого вместе с регулятором 9 устанавливается порог чувствительности прибора.

Прибор позволяет проводить испытания в двух режимах в зависимости от цвета поверхности испытуемой пробы.

При исходном (горизонтальном) положении кюветы 1 агрессивная среда не касается пробы. При повороте кюветы 1 в "рабочее" (вертикальное) положение агрессивная среда приходит в соприкосновение с поверхностью пробы. С этого момента автоматически включается счетчик времени 2 проникания агрессивной среды и ФЭУ 11. Первые следы агрессивной среды, появившейся на поверхности пробы, начинают люминесцировать под ультрафиолетовым светом ртутной лампы 10 через светофильтр. В результате люминесценции сигнал от ФЭУ 11 через усилитель поступает на исполнительные органы: счетчик времени 2, световую и звуковую сигнализации.

Время проникновения агрессивной среды через элементарную пробу определяется от 1 до 1000 мин. с точностью +/- 1,0 мин.

Прибор обеспечивает надежную работу после прогрева. Время прогрева - 60 мин.

Мощность, потребляемая прибором от сети, не превышает 350 Вт.

3.2. Спирт этиловый технический по ГОСТ 17299 или другое вещество, инертное к испытуемому материалу.

3.3. Агрессивные среды:

- масло индустриальное по ГОСТ 20799;

- нефть высокосернистая с содержанием парафина не более 1,5% по ГОСТ 9965;

- нефрасы по нормативной документации.

 

4. Подготовка к проведению испытаний

 

4.1. Подготовка образцов специальной обуви (спецобуви)

4.1.1. Отбор образцов - по ГОСТ 9289.

4.1.2. Из отобранных образцов спецобуви вырезают элементарную пробу диаметром (70 +/- 1) мм для проведения испытаний на проницаемость агрессивной среды через ниточные швы заготовки. Место вырезания элементарной пробы определяют по ГОСТ 9290.

4.1.3. Для испытаний используют не менее трех полупар обуви. Из каждой полупары вырезают три элементарные пробы.

4.2. Подготовка материалов для спецобуви

4.2.1. Отбор натуральных кож от партии - по ГОСТ 938.0.

4.2.2. Элементарную пробу диаметром (70 +/- 1) мм из натуральной кожи для верха спецобуви вырубают вдоль хребтовой линии ХУ на расстоянии не менее 50 мм от нее. При этом центр средней элементарной пробы должен быть расположен на линии AD, перпендикулярной к хребтовой линии на расстоянии 1/3 ее длины от линии VW, касательной к впадинам заднего реза (рисунок 2).

 

 

Рисунок 2. Схема расположения элементарных проб

из натуральной кожи для верха спецобуви

 

4.2.3. Из каждой кожи вырубают не менее трех элементарных проб.

4.2.4. Из точечной пробы искусственной кожи для верха спецобуви вырезают 10 элементарных проб диаметром (70 +/- 1) мм в продольном и поперечном направлениях на расстоянии не менее 50 мм от кромки.

4.3. Элементарные пробы, вырезанные из заготовки спецобуви или из материала верха, протирают этиловым техническим спиртом или другим инертным по отношению к испытуемому материалу веществом.

4.4. Отбор проб для испытания средств защиты рук, специальной одежды и материалов для их изготовления

4.4.1. Для испытаний вырезают элементарные пробы диаметром (70 +/- 1) мм в количестве пяти штук.

4.4.2. При испытании материалов от рулона выборки отрезают точечную пробу размером 150 мм по всей ширине рулона, из разных мест которой на расстоянии не менее 50 мм от кромки вырезают элементарные пробы.

4.4.3. Для испытаний средств защиты рук отбирают не менее трех изделий.

4.4.4. Отбор образцов специальной одежды - по ГОСТ 20566.

Элементарные пробы могут быть вырезаны из материалов, использованных при изготовлении спецодежды данного назначения по 4.4.2, и приложены к образцу, представленному на испытания.

4.5. Элементарные пробы перед испытанием кондиционируют:

- из натуральных кож - по ГОСТ 938.14;

- из искусственных кож - по ГОСТ 17316;

- из тканей - по ГОСТ 10681.

4.6. Выбор режима работы

Прибор через стабилизатор подключают в сеть, после чего нажимают кнопки включения прибора 4 и ртутной лампы 5 и прогревают прибор в течение 1 ч.

4.6.1. Выбор режима работы.

4.6.1.1. Режим работы определяют при помощи контрольной элементарной пробы, подвергаемой испытанию.

4.6.1.2. В испытательный отсек Г помещают элементарную пробу и включают ФЭУ 11.

4.6.1.3. При помощи регулятора 9 подводят стрелку индикатора напряжения 8 на деление 0.

4.6.1.4. Вынимают контрольную элементарную пробу и на ее лицевую поверхность наносят одну, две капли агрессивной среды, после чего помещают в испытательный отсек Г и включают ФЭУ 11.

4.6.1.5. При отклонении стрелки индикатора напряжения 8 вправо включают кнопку переключения режимов I, при отклонении влево - кнопку переключения режимов II.

4.6.1.6. Вынимают контрольную элементарную пробу из испытательного отсека Г.

 

5. Порядок проведения испытаний

 

5.1. Устанавливают показания счетчика времени 2 на 0.

5.2. Вращением регулятора 9 устанавливают стрелку индикатора напряжения 8 на деление 1 для режима I и на деление 11 для режима II.

5.3. Кювету 1 прибора заполняют агрессивной средой объемом 500 куб. см при испытаниях натуральных кож, предназначенных для верха специальной обуви, и объемом 300 куб. см - при всех остальных испытаниях.

5.4. Элементарную пробу закрепляют в кассете лицевой стороной вниз.

5.5. Кассету с элементарной пробой вставляют в кювету 1, которую приводят в "рабочее" (вертикальное) положение.

5.6. После срабатывания звуковой и световой сигнализаций снимают показания счетчика времени и приводят кювету 1 в исходное положение.

5.7. Вынимают кассету с элементарной пробой 12 из кюветы 1 и удаляют остатки агрессивной среды с наружной стороны кюветы 1 при помощи ветоши и тампона, смоченного этиловым спиртом.

 

6. Обработка результатов испытания

 

6.1. За показатель проницаемости принимают время (минуты, секунды) от начала контакта до момента проникания агрессивной среды через элементарную пробу.

6.2. За результат испытания принимают среднеарифметическое результатов не менее трех параллельных определений проницаемости.

Допустимое отклонение от среднего значения не должно превышать 10%.

 

7. Требования безопасности

 

7.1. Испытания следует проводить в вытяжном шкафу при включенной вентиляции.

7.2. При работе с легковоспламеняющимися материалами следует соблюдать требования пожарной безопасности в соответствии с ГОСТ 12.1.004.

7.3. Промывка кассеты 12 и кюветы 1 должна осуществляться в резиновых перчатках.

7.4. Концентрации бензина, этилового спирта и других нефтепродуктов не должны превышать предельно допустимые концентрации по ГОСТ 12.1.005.

 

 





ТЕХНОРМАТИВЫ ДЛЯ СТРОИТЕЛЕЙ И ПРОЕКТИРОВЩИКОВ

Яндекс цитирования


Copyright © www.docstroika.ru, 2013 - 2026