Принят и введен в
действие
Постановлением
Госстандарта РФ
от 6 октября 1999
г. N 329-ст
ГОСУДАРСТВЕННЫЙ СТАНДАРТ РОССИЙСКОЙ ФЕДЕРАЦИИ
УСТРОЙСТВА
КОМПЛЕКТНЫЕ НИЗКОВОЛЬТНЫЕ РАСПРЕДЕЛЕНИЯ И УПРАВЛЕНИЯ
ЧАСТЬ 5
ДОПОЛНИТЕЛЬНЫЕ ТРЕБОВАНИЯ
К НИЗКОВОЛЬТНЫМ КОМПЛЕКТНЫМ УСТРОЙСТВАМ,
ПРЕДНАЗНАЧЕННЫМ ДЛЯ НАРУЖНОЙ УСТАНОВКИ
В ОБЩЕДОСТУПНЫХ МЕСТАХ (РАСПРЕДЕЛИТЕЛЬНЫМ ШКАФАМ)
Low-voltage
switchgear and controlgear assemblies.
Part
5. Particular requirements for assemblies
intended to be installed
outdoors in public places.
Cable distribution cabinets
(CDCs)
for power distribution
in networks
ГОСТ Р 51321.5-99
(МЭК 60439-5-98)
Группа Е71
ОКС 29.240.30;
ОКСТУ 3430
Дата введения
1 июля 2001 года
Предисловие
1. Разработан и внесен Техническим комитетом по стандартизации
ТК 331 "Низковольтная коммутационная аппаратура распределения и
управления".
2. Принят и введен
в действие Постановлением Госстандарта России от 6 октября 1999 г. N 329-ст.
3. Настоящий
стандарт содержит полный аутентичный текст международного стандарта МЭК 60439-5
(1998-10), издание 1.1 "Низковольтные комплектные устройства распределения
и управления. Часть 5. Дополнительные требования к низковольтным комплектным
устройствам, предназначенным для наружной установки в общедоступных местах
(распределительным шкафам)" с дополнительными требованиями, учитывающими
потребности экономики России.
4. Введен впервые.
Введение
Настоящий стандарт
представляет собой аутентичный текст международного стандарта МЭК 60439-5-96
"Низковольтные комплектные устройства распределения и управления. Часть 5.
Дополнительные требования к низковольтным комплектным устройствам,
предназначенным для наружной установки в общедоступных местах
(распределительным шкафам)".
Стандарт применяют
совместно с международным стандартом МЭК 60439-1 (1992-12), издание 3.0 с
Изменениями N 1 (1995-11) и N 2 (1996-12) "Низковольтные комплектные
устройства распределения и управления. Часть 1. Устройства, прошедшие типовые
испытания и частично испытанные" и дополнительными требованиями,
учитывающими потребности экономики России.
В Европейском
экономическом сообществе на низковольтные комплектные устройства распределения
и управления действует европейский стандарт EN 60439-5 (1996) с Изменением N 1
(1998). Требования европейского стандарта не имеют отклонений от МЭК
60439-5-98.
Буквенные
обозначения распределительных шкафов, встречающиеся в международных стандартах
и технической литературе:
CDs (Cable distribution cabinets) - в Великобритании;
ERD (Ensembles d'appareillage pour re'seaux de distribution) - во Франции;
РШ
(распределительные шкафы) - в России.
1. Общие
положения
В настоящем
стандарте изложены нормы, правила и методы испытаний, которые дополняют,
изменяют или исключают соответствующие разделы и (или) пункты МЭК 60439-1-92
[1].
Требования
настоящего стандарта являются обязательными.
Стандарт должен
применяться совместно с МЭК 60439-1.
Дополнения,
учитывающие потребности экономики России, набраны полужирным шрифтом и
приведены в 8.1 и Приложении А.
1.1.
Область применения
В настоящем
стандарте приводятся дополнительные требования к распределительным шкафам
(далее - РШ), которые являются стационарными комплектными устройствами,
подвергаемыми типовым испытаниям и предназначенными для наружной установки в
общедоступных местах, доступ к которым имеет квалифицированный персонал. Они
предназначены для использования в общественных трехфазных системах.
Примечания. 1. Если
РШ имеют дополнительное оборудование (например, измерительные приборы), в
результате чего значительно изменяется их основная функция, тогда могут также
применяться другие стандарты по согласованию между пользователем и
изготовителем (7.6).
2. Там, где это не
противоречит местным правилам и практике, РШ в соответствии с настоящим
стандартом могут использоваться не только в общественных сетях.
1.2.
Нормативные ссылки
В настоящем
стандарте используют ссылки на следующие стандарты:
ГОСТ 12.4.026-76.
Система стандартов безопасности труда. Цвета сигнальные и знаки безопасности
ГОСТ 15.001-88.
Система разработки и постановки продукции на производство. Продукция
производственно-технического назначения
ГОСТ 2746-90 (МЭК
238-87). Патроны резьбовые для электрических ламп. Общие технические условия
ГОСТ 9012-59 (ИСО
410-82, ИСО 6506-81). Металлы. Метод измерения твердости по Бринеллю
ГОСТ 14254-96 (МЭК
529-89). Степени защиты, обеспечиваемые оболочками. (Код IP)
ГОСТ 15150-69.
Машины, приборы и другие технические изделия. Исполнения для различных
климатических районов. Категории, условия эксплуатации, хранения и
транспортирования в части воздействия климатических факторов внешней среды
ГОСТ 15543.1-89.
Изделия электротехнические. Общие требования в части стойкости к климатическим
внешним воздействующим факторам
ГОСТ 16504-81.
Система государственных испытаний продукции. Испытания и контроль качества
продукции. Основные термины и определения
ГОСТ 17516-72.
Изделия электротехнические. Условия эксплуатации в части воздействия
механических факторов внешней среды
ГОСТ 23216-78.
Изделия электротехнические. Общие требования к хранению, транспортированию,
временной противокоррозионной защите и упаковке
ГОСТ 28207-89 (МЭК
68-2-11-81). Основные методы испытаний на воздействие внешних факторов. Часть
2. Испытания. Испытание Ка. Соляной туман
ГОСТ 28216-89 (МЭК
68-2-30-87). Основные методы испытаний на воздействие внешних факторов. Часть
2. Испытания. Испытание Db и руководство. Влажное
тепло, циклическое (12 + 12-часовой цикл)
ГОСТ 28779-90 (МЭК
707-81). Материалы электроизоляционные твердые. Методы определения
воспламеняемости под воздействием источника зажигания
ГОСТ Р 50339.0-92 (МЭК 269-1-86). Низковольтные плавкие
предохранители. Общие требования
2. Определения
По МЭК 60439-1 со
следующими изменениями и исключениями:
2.1. Общие определения
2.1.1.2. Исключить.
2.1.12.
Распределительный шкаф: комплектное устройство шкафного типа для стационарной
наружной установки, предназначенное для распределения электрической энергии
посредством кабеля для другого оборудования. Это другое оборудование не
предназначено для потребления электрической энергии (см. рисунок 1).

1 -
распределительный шкаф;
2 - подстанция
(высокое напряжение/низкое напряжение);
3 - потребители; 4
- точки соединений
Рисунок 1. Типовая
распределительная сеть
2.1.12.1. РШ, устанавливаемый на земле: РШ, устанавливаемый
на основание на уровне земли. Вводы в РШ для внешних проводников пригодны для
кабелей.
2.1.12.2. РШ, устанавливаемый на столбе: РШ, устанавливаемый на столбе, на
котором располагают обычно трансформатор, в воздушной сети. Вводы в РШ для
внешних проводников пригодны для кабелей или изолированных проводников
воздушной линии.
2.1.12.3. РШ, устанавливаемый на поверхность стены: РШ, предназначенный
для установки на поверхность стены. Вводы в РШ для внешних проводников пригодны
для кабелей.
2.1.12.4. РШ, устанавливаемый в нишу в стене: РШ, предназначенный
для установки в углубление в стене. РШ не предназначен
для поддерживания части стены, расположенной над ним. Вводы в РШ для внешних
проводников пригодны для кабелей.
2.2.1, 2.2.2,
2.2.4, 2.3.1 - 2.3.3, 2.4, 2.5.1, 2.5.4, 2.7 исключить.
3. Классификация
Исключить слова:
"возможность
перемещения (2.5.3 и 2.5.4)".
4. Электрические характеристики
4.9.
Номинальный ток (цепи НКУ)
Номинальный ток
цепи НКУ устанавливает изготовитель в качестве номинального тока входной цепи.
Если входных цепей несколько, номинальный ток цепи НКУ представляет собой или
арифметическую сумму номинальных токов всех входных цепей, предназначенных для
одновременного использования, или номинальный ток сборных шин, в зависимости от
того, какое значение меньше. При проведении испытаний в соответствии с 8.2.1
действие тока не должно приводить к повышению температуры частей НКУ выше
предельных значений, установленных в 7.3.
5.
Сведения, представляемые об НКУ
5.1. Паспортная
табличка
Третий абзац.
Заменить обозначение q) на Т).
Пункт дополнить
словами:
"Т)
номинальный ток цепи НКУ в соответствии с 4.9 настоящего стандарта".
6. Условия
эксплуатации
6.1. Нормальные
условия эксплуатации
Пункт 6.1.2.1
исключить.
6.2. Особые условия
эксплуатации
6.2.8. Воздействие
значительной вибрации или ударов
Пункт дополнить
примечанием:
"Примечание.
Транспортная вибрация является нормальным условием эксплуатации."
6.2.9. Установка
НКУ, которая влияет на допустимую токовую нагрузку или отключающую способность.
Пункт дополнить
примечанием:
"Примечание.
Установку НКУ в нишу в стене не считают особым условием".
Раздел дополнить
подпунктом:
"6.2.11.
Воздействие сильного снегопада и метели
РШ,
применяемые в регионах с сильными снегопадами и метелями, где требуется очистка
от снега с помощью снегоочистителей, по согласованию изготовителя с
потребителем, считают нормально предназначенными для условий арктического
климата. Однако можно использовать нижний
температурный предел, равный минус 25 °C (8.2.9.2.2)".
7. Конструктивное исполнение
7.1. Механическая
часть конструкции
7.1.1. Общие
положения
Первый абзац
дополнить словами:
"Изоляционные
материалы, используемые для изготовления оболочек, перегородок и других
изоляционных частей, должны обладать нагревостойкостью
и огнестойкостью в соответствии с 8.2.10 настоящего стандарта".
Второй абзац
дополнить словами:
"Материалы или
покрытия должны быть согласованы между потребителем и изготовителем и быть
настолько эффективными, чтобы выдержать соответствующие испытания по 8.2.11
настоящего стандарта".
Третий абзац
дополнить словами:
"Механические
свойства РШ должны соответствовать 8.2.9 настоящего стандарта.
Части РШ, предназначенных для установки в землю, должны выдерживать
механические воздействия, возникающие при установке и нормальной эксплуатации
(8.2.9.6)".
Раздел 7 дополнить
подпунктом:
"7.1.1.1.
Средства обозначения РШ в виде препятствия для уборки снега
В случаях, когда
РШ, устанавливаемый на землю, предназначен для использования в условиях
арктического климата в соответствии с 6.1.1.2, или, если этого требует
пользователь, должны быть предусмотрены средства обозначения его в виде
препятствия для уборки снега. Должны быть предусмотрены держатели, закрепленные
на РШ, для стержней, определяющих его местоположение, и должна быть
предусмотрена возможность установки и регулировки положения этих стержней
снаружи РШ. Конструкция держателей должна гарантировать, что держатель или
стержень, определяющий местоположение РШ, воспримет механические усилия прежде,
чем они достигнут значений, неблагоприятно
сказывающихся на степени защиты".
7.1.3. Контактные
зажимы для внешних проводников
7.1.3.2. Первый и
второй абзацы изложить в новой редакции:
"В отсутствие
специального соглашения между пользователем и изготовителем контактные зажимы
должны быть способны принимать медные или алюминиевые проводники от наименьшего до наибольшего сечения, соответствующего
номинальному току (см. таблицу А.1)".
Пункт 7.1.3.5
исключить.
Пункт
7.1.3.6 дополнить абзацем:
"По
соглашению между изготовителем и пользователем РШ могут быть снабжены
отверстиями для временного подсоединения кабелей".
7.2. Оболочка и
степень защиты
Пункт 7.2.1.3
изложить в новой редакции:
"7.2.1.3. Если
РШ полностью установлен в соответствии с инструкциями изготовителя, оболочка
должна иметь степень защиты как минимум IP34D в соответствии с ГОСТ
14254".
Пункт 7.2.1.5
исключить.
Пункт 7.2.1.6
исключить.
7.4. Защита от
поражения электрическим током
Пункт 7.4.2
дополнить примечанием (после заголовка):
"Примечание. Открытые НКУ не включены в настоящий стандарт".
Второй абзац
исключить.
Пункт 7.4.2.2.1
дополнить словами:
"Отверстия в
РШ, предназначенные для временного подсоединения кабелей, должны иметь степень
защиты IP23C в соответствии с ГОСТ 14254 при подсоединении временных кабелей.
См. 7.1.3.6 настоящего стандарта".
Пункт 7.4.2.2.3.
Перечисление а) дополнить абзацем:
"Должно быть
предусмотрено запорное устройство, исключающее доступ лицам, не имеющим на это
разрешение. Двери, кожухи, заглушки должны иметь такую конструкцию, чтобы после
их запирания они не открывались из-за последующей умеренной осадки почвы или вибрации,
вызванной движением транспорта."
7.4.2.3. Защита за
счет создания препятствий
Не применяют.
7.4.5. Служебные
проходы внутри НКУ (оперативные и для технического обслуживания) (см. 2.7.1 и
2.7.2)
Не применяют.
7.6.
Встроенные комплектующие элементы НКУ
7.6.1. Выбор
комплектующих элементов
Первый абзац
дополнить словами:
"Предохранители
должны удовлетворять требованиям ГОСТ Р 50339.0 или
соответствующего национального стандарта в случаях, когда их использование
является установившейся практикой".
Пункт 7.6.1
дополнить подпунктом:
7.6.1.1.
Заземляющее устройство и устройство защиты от коротких замыканий
Выходные блоки РШ
должны быть сконструированы таким образом, чтобы их можно было надежно
заземлить или защитить от короткого замыкания с помощью устройства (устройств),
рекомендованного(ых)
изготовителем, что обеспечивает указанную изготовителем степень защиты (код IP)
для всех частей НКУ. Данное требование не применимо, если оно может создать
опасность, вытекающую из условий системы и (или) практики эксплуатации.
8.
Требования к испытаниям
8.1. Виды
испытаний
Примечание изложить
в новой редакции:
"Примечание.
Проверки и испытания, которым должен быть подвергнут РШ, приведены в таблице 7
МЭК 60439-1 (графа "Полностью испытанные устройства") и дополнительно
в таблице 7А настоящего стандарта <*>".
--------------------------------
<*> &Для
народнохозяйственной продукции в соответствии с ГОСТ 16504 предусматриваются
следующие виды испытаний: квалификационные, периодические, приемосдаточные и
типовые. Программа типовых испытаний по МЭК 60439-1 является основой для
установления программ любых контрольных испытаний по НКУ&.
Таблица 7А
Перечень
дополнительных проверок и испытаний
┌────────────────────────────┬──────────┬────────────────────────┐
│
Проверяемая характеристика │
Номер │ Требование │
│ │ пункта
│
│
├────────────────────────────┼──────────┼────────────────────────┤
│Механическая
прочность │ 8.2.9
│ -
│
├────────────────────────────┼──────────┤ │
│Прочность
конструкции │ 8.2.9.1 │ │
├────────────────────────────┼──────────┼────────────────────────┤
│Прочность
при статической
│8.2.9.1.1 │Устойчивость к │
│нагрузке │ │статической нагрузке - │
│ │ │типовое испытание │
├────────────────────────────┼──────────┼────────────────────────┤
│Устойчивость
к ударам │8.2.9.1.2 │Устойчивость к ударам
- │
│ │ │типовое испытание │
├────────────────────────────┼──────────┼────────────────────────┤
│Устойчивость
к напряжению │8.2.9.1.3
│Устойчивость к кручению │
│при
кручении │ │- типовое испытание │
├────────────────────────────┼──────────┼────────────────────────┤
│Сопротивление
удару │ 8.2.9.2 │- │
├────────────────────────────┼──────────┼────────────────────────┤
│Устойчивость
к ударной силе │8.2.9.2.1 │Ударная прочность при │
│ │ │приложении стального
ша-│
│ │ │рика
- типовое испытание│
├────────────────────────────┼──────────┼────────────────────────┤
│Устойчивость
к ударной силе │8.2.9.2.2 │Ударная прочность при │
│и
силе давления в условиях │ │приложении стального │
│арктического
климата │ │шарика и сила давления │
│ │ │от стального │
│ │ │полусферического тела -
│
│ │ │типовое испытание │
├────────────────────────────┼──────────┼────────────────────────┤
│Прочность
двери │ 8.2.9.3 │Момент сопротивления - │
│ │ │типовое испытание │
├────────────────────────────┼──────────┼────────────────────────┤
│Прочность
металлических
│ 8.2.9.4
│Устойчивость
│
│вкладышей │ │металлических вкладышей
│
│ │ │к осевой нагрузке - │
│ │ │типовое испытание │
├────────────────────────────┼──────────┼────────────────────────┤
│Устойчивость
к механическим │ 8.2.9.5 │Ударная прочность │
│ударам,
наносимым предметами│
│к воздействию предметов │
│с
острыми кромками │ │с острыми кромками - │
│ │ │типовое испытание │
├────────────────────────────┼──────────┼────────────────────────┤
│Механическая
прочность │ 8.2.9.6 │Устойчивость к воздейст-│
│основания │ │вию
силы, передаваемой │
│ │ │стальной трубкой │
├────────────────────────────┼──────────┼────────────────────────┤
│Изоляционные
материалы, │ 8.2.10
│ - │
│оболочки
и перегородки │ │ │
├────────────────────────────┼──────────┼────────────────────────┤
│Теплостойкость │ 8.2.10.1 │Тепловое
напряжение - │
│ │ │типовое испытание │
├────────────────────────────┼──────────┼────────────────────────┤
│Проверка
категории │ 8.2.10.2
│Категория │
│воспламеняемости │ │воспламеняемости
- │
│ │ │типовое испытание │
├────────────────────────────┼──────────┼────────────────────────┤
│Испытание
на сухое тепло │ 8.2.10.3
│Тепловое напряжение - │
│ │ │типовое испытание │
├────────────────────────────┼──────────┼────────────────────────┤
│Проверка
коррозионной
│ 8.2.11 │Проверка коррозионной │
│стойкости
и стойкости к │ │стойкости и стойкости │
│старению │ │к старению │
├────────────────────────────┴──────────┴────────────────────────┤
│ Примечание. Испытаниям на соответствие
пунктов 2, 3, 4, 7,│
│12.2.1
и 13.3 должен подвергаться последовательно один и тот же│
│образец;
все другие испытания могут проводиться
на отдельных│
│образцах по усмотрению изготовителя. │
└────────────────────────────────────────────────────────────────┘
Пункт 8.1.1
дополнить абзацами:
"h) проверка
механической прочности (8.2.9);
i) проверка
теплостойкости и огнестойкости (8.2.10);
k) проверка
коррозионной стойкости и стойкости к старению".
8.2. Типовые
испытания
8.2.1.3.4. Не
применяется.
8.2.2. Проверка
диэлектрических свойств
Пункт 8.2.2.1
дополнить примечанием:
"Примечание.
Параметры потребительской сети могут потребовать использования более высокого
испытательного напряжения по соглашению между изготовителем и
пользователем".
8.2.3. Проверка
прочности изоляции при коротком замыкании
Пункт 8.2.3.2.3
дополнить абзацем:
"Когда РШ
подвергают данным испытаниям, ток короткого замыкания следует подавать на
входную(ые) цепь(и). При
наличии нескольких входных цепей каждая цепь должна иметь отдельный источник
питания, при этом цепи, используемые параллельно (максимум три), должны быть
соединены параллельно для проведения данного испытания. Если входные цепи
защищены плавкими вставками, то эти вставки должны быть рассчитаны на
максимальный номинальный ток, предусмотренный для данного испытания.
Примечание. Если
входные цепи питаются от одного и того же источника, когда, например, РШ
является частью цепи для распределения электрической энергии, должны быть
проведены два испытания при одинаковом токе короткого замыкания: при одном из
них входные цепи соединены параллельно, при втором - питание подается на одну
из входных цепей".
Раздел дополнить
пунктами 8.2.9 - 8.2.11:
8.2.9.
Проверка механической прочности
Испытание должно
проводиться при окружающей температуре от 10 до 40 °C.
За исключением
испытания по 8.2.9.2.1, для каждого из отдельных испытаний может использоваться
новый образец РШ. Если один и тот же образец РШ используют для нескольких
испытаний по 8.2.9, проверку соответствия второй цифры степени защиты (код IP)
следует проводить после завершения испытаний этого образца.
При всех испытаниях
РШ должен быть закреплен как при нормальных условиях эксплуатации и, когда это
необходимо, должна быть дополнительно предусмотрена опора на обычном уровне
земли, как показано на рисунках 4 - 6.
За исключением
испытания по 8.2.9.3 настоящего стандарта, дверь(и) РШ
должна(ы) быть заперта(ы) в начале испытания и оставаться закрытой(ыми) в процессе испытания.
8.2.9.1.
Проверка прочности конструкции
8.2.9.1.1.
Проверка прочности при статической нагрузке
a) Все РШ,
за исключением устанавливаемого в нишу в стене, должны
быть подвергнуты следующим испытаниям.
Испытание 1.
Равномерно распределенная нагрузка
,
равная 8500 Н/м2, должна прикладываться в течение 5
мин к крыше устройства (см. рисунок 2).

-
равномерно распределенная нагрузка 8500 Н/м2;
-
растягивающие усилия 1200 Н
Рисунок 2. Схема
испытания для проверки устойчивости
к статической
нагрузке
Испытание 2. Сила
,
равная 1200 Н, должна прикладываться в течение 5 мин по очереди к передним и
задним краям крыши устройства (см. рисунок 2).
b) Приведенному
ниже испытанию подвергают РШ, устанавливаемый в нишу в
стене.
Нагрузка, равная 60
Н, должна прикладываться в течение 5 мин по очереди к каждой боковой стенке
устройства. Центр приложения нагрузки должен находиться в 20 мм от края
испытуемой боковой стенки, и нагрузка должна распределяться по круговой
поверхности диаметром 10 мм.
Соответствие
требованиям подпунктов а) и b) контролируют проверкой, не изменилась ли степень
защиты IP34D и не нарушилась ли работа двери(ей) и
запорных устройств; кроме того, проверяют, остались ли в процессе испытания без
изменения зазоры, и в том случае, когда РШ имеет металлический корпус,
проверяют, не появился ли контакт между токоведущими частями и корпусом в
результате постоянной или временной деформации.
8.2.9.1.2.
Проверка устойчивости к ударной нагрузке
Испытанию следует
подвергать все РШ, устанавливаемые на поверхность земли.
Мешочек (см.
рисунок 3) с сухим песком общей массой 15 кг подвешивают на кронштейне
вертикально над испытуемой поверхностью на высоте не менее 1 м над самой
высокой точкой РШ.
Материал: любой
подходящий гибкий материал, который не растрескивается от удара

1 - петля;
2 - песок с
размером частиц от 0,5 до 0,8 мм;
3 - ушко,
используемое для подъема мешочка
и последующего его
опускания;
4 - шов
(только со стороны ушка,
ударная сторона без
шва)
Рисунок 3. Мешочек
с песком,
используемый при проверке устойчивости
к ударной нагрузке
Каждое испытание
состоит из удара, направленного в верхнюю часть каждой из вертикальных поверхностей
РШ, которая видна при его установке в нормальное положение эксплуатации. Для
нанесения каждого из испытательных ударов могут использоваться отдельные
оболочки.
Примечание. Если
оболочка имеет цилиндрическую форму, испытание должно состоять из трех ударов,
которые наносят со смещением на 120°.
В процессе
испытания подъемное кольцо приподнимают на высоту 1 м и мешочек с песком
сбрасывают с целью нанесения удара приблизительно по центру верхней части
испытуемой поверхности РШ (см. рисунок 4).

1 - начальное
положение;
2 - положение в
момент удара;
3 - РШ; 4 -
основание; 5 - опора
Рисунок 4.
Схема испытания
по проверке
устойчивости к ударной нагрузке
С целью
установления соответствия данному требованию после испытания проверяют, не
изменилась ли работа двери(ей) и запорных устройств;
кроме того, проверяют, сохранились ли соответствующие изоляционные промежутки и
отсутствует ли во время испытания РШ с металлической оболочкой электрический
контакт между токоведущими частями и оболочкой в результате постоянной или
временной деформации. В случае, если РШ имеет оболочку
из изоляционного материала, удовлетворяющую соответствующим условиям, то такие
повреждения, как небольшие вмятины, небольшие трещины или чешуйчатое
отслаивание, не влияющие на эксплуатационную годность РШ, не принимают во
внимание.
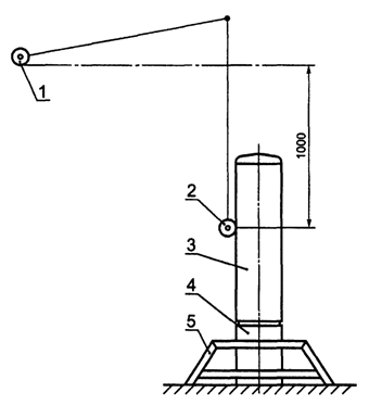
8.2.9.1.3.
Проверка устойчивости к напряжению при кручении
Испытанию
подвергают только РШ, которые устанавливают на землю.
Испытание проводят с использованием рамы, вращающейся в горизонтальной
плоскости, изготовленной из стальных уголков 60 x 60 x 5 мм и имеющей
вертикальные элементы длиной 100 мм, расположенные по углам рамы. РШ жестко
закрепляют в основании и раму устанавливают над ним на небольшом расстоянии
таким образом, чтобы вертикальные элементы, расположенные по углам рамы,
касались крыши и стен РШ.
К РШ с закрытой
дверью(ями) прикладывают в
течение 30 с усилие F, равное 1000 Н, как показано на рисунке 5.

1 - вращающееся
устройство, устанавливаемое на РШ;
2 - уголок 60 x 60
x 5 мм длиной 100 мм;
3 - РШ; 4 - центр
вращения; 5 - основание;
6 - опора; F = 1000
Н
Рисунок 5. Схема
испытания
по проверке
устойчивости к напряжению при кручении
С целью установления
соответствия данному требованию проверяют, остается ли дверь(и)
закрытой(ыми) в процессе испытания и не изменилась ли
степень защиты (IP34D).
8.2.9.2.
Проверка сопротивления удару
8.2.9.2.1.
Испытанию подвергают РШ, предназначенные для эксплуатации при окружающей
температуре от плюс 40 до минус 25 °C.
Испытание проводят
с использованием ударной испытательной установки, включающей маятник, состоящий
из трубки наружным диаметром 9 мм и длиной не менее 1 м и перемещающийся по
вертикальной траектории.
К концу маятника
прикрепляют сплошной стальной шар массой 2 кг, который затем поднимают на
высоту 1 м. После этого шар отпускают, и он должен нанести по испытуемой
поверхности РШ удар с энергией 20 Дж (см. рисунок 6).

1 - начальное
положение; 2 - положение в момент удара;
3 - РШ; 4 -
основание; 5 - опора
Рисунок 6.
Схема испытания
по проверке
сопротивления удару
В процессе
испытания наносят один удар, направленный в центр каждой из вертикальных
поверхностей РШ, которые видны, когда он установлен как при нормальной
эксплуатации. Для нанесения каждого из ударов можно использовать отдельные
оболочки.
Примечание. Если
оболочка имеет цилиндрическую форму, при испытании наносят три удара со смещением
в 120°.
Испытание 1 следует
проводить при окружающей температуре от 10 до 40 °C после того, как РШ был
выдержан при этих температурах не менее 12 ч.
Испытание 2 следует
проводить при окружающей температуре от 10 до 40 °C сразу же после того, как РШ
был выдержан при температуре
°C не менее 12 ч.
С целью
установления соответствия данному требованию после испытания проверяют, не
изменилась ли степень защиты (IP34D) и не нарушилась ли работа двери(ей) и запорных устройств. Кроме того, проверяют, имеют ли
место во время испытания изоляционные промежутки и
отсутствует ли у РШ с металлической оболочкой электрический контакт между
токоведущими частями и оболочкой, возникший в результате постоянной или
временной деформации. В случае, когда РШ имеет оболочку из изоляционного материала и он удовлетворяет соответствующим условиям, то
такие повреждения, как небольшие вмятины, небольшие трещины или чешуйчатое
отслаивание, влияющие на эксплуатационные характеристики РШ, не принимают во
внимание.
8.2.9.2.2. Испытание, которому подвергают РШ, предназначенные для эксплуатации
в условиях арктического климата (6.1.1.2)
Испытания следует
проводить при окружающей температуре от 10 до 40 °C сразу же после того, как РШ
был выдержан при температуре минус
°C не менее 12 ч.
Порядок испытаний
При испытаниях 1 и
2 силу 1500 Н прикладывают в течение 30 с посредством заземленного
металлического испытательного устройства к оболочке в 10 предположительно самых
слабых точках. Испытательное устройство должно иметь сферическую или
полусферическую форму с радиусом (100 +/- 3) мм и твердостью поверхности НВ 160
в соответствии с ГОСТ 9012.
Испытанию 1
подвергают РШ без оборудования.
Испытанию 2
подвергают РШ с установленным оборудованием и обеспечением минимальных зазоров
внутри оболочки. Оболочку заземляют и в течение испытания напряжение
переменного тока в соответствии с 8.2.2.4 подают между всеми токоведущими
частями, соединенными вместе, и оболочкой.
Испытанию 3
подвергают РШ без оборудования, используя ударную установку, описанную в
8.2.9.2.1 настоящего стандарта, но при этом масса стального шара равна
15 кг. Шар поднимают на высоту
1 м и отпускают. Шар при падении на испытуемую
поверхность РШ наносит удар с энергией, равной 150 Дж (рисунок 6).
В процессе
испытания наносят один удар, направленный в центр каждой из вертикальных
поверхностей РШ, которые видны, когда он установлен как при нормальной
эксплуатации. Для нанесения каждого из ударов можно использовать отдельные
оболочки.
Примечание. Если
оболочка имеет цилиндрическую форму, при испытании наносят три удара со
смещением в 120°.
С целью
установления соответствия требованиям испытания 1 проверяют после испытания, не
изменилась ли степень защиты (IP34D) и не нарушилась ли работа двери(ей) и запорных устройств.
С целью
установления соответствия требованиям испытания 2 проверяют после испытания,
нет ли пробоя или поверхностного перекрытия.
С целью
установления соответствия требованиям испытания 3 проверяют после испытания,
обеспечивается ли, по крайней мере, степень защиты IP3X.
8.2.9.3.
Проверка механической прочности дверей
Испытанию
подвергают РШ всех типов, имеющие дверь(и),
закрепленную(ые) на петлях по вертикальному краю
оболочки.
Испытания проводят
при полностью открытой(ых)
двери(ях) и в контакте с предусмотренными
удерживающими устройствами. Нагрузку в 50 Н следует прикладывать к верхнему
краю двери перпендикулярно плоскости двери(ей) и на
расстоянии 300 мм от края с петлями и выдерживать ее в течение 3 с. Если конструкция
двери не предусматривает снятия ее с петель без использования инструмента,
предназначенного для технического обслуживания и ремонта или для эксплуатации,
испытание следует провести повторно с нагрузкой до 450 Н (рисунок 7).

F = 50 (450) H
Рисунок 7. Схема
испытания
по проверке
механической прочности дверей
С целью
установления соответствия требованиям данного испытания проверяют, не снялась(лись) ли дверь(и) с петель и не
нарушилась ли работа двери(ей), петель и запорных устройств в результате
приложения нагрузки 50 Н. Кроме того, проверяют, не изменилась ли степень
защиты (IP34D) после того, как дверь(и) была(и) закрыта(ы) после приложения
нагрузки 450 Н. Если дверь(и) снимают с петель в процессе последнего испытания,
это не считают отрицательным результатом в том случае, если можно снова
установить дверь(и) на прежнее место без инструмента.
8.2.9.4.
Проверка устойчивости к осевой нагрузке металлических вкладышей в синтетическом
материале
Испытанию
подвергают репрезентативный образец металлического вкладыша каждого типа и
размера. Кроме того, если есть разница в толщине профиля металла, окружающего
металлический вкладыш, испытание следует повторить с учетом этого условия.
Во время испытания
РШ должен полностью находиться на платформе.
К каждому
испытуемому вкладышу должна быть прикреплена серьга с резьбой и к нему в
течение 10 с должна быть
приложена осевая нагрузка в соответствии с таблицей 18, чтобы попытаться
извлечь вкладыш из места крепления.
С целью
установления соответствия данным требованиям внешним осмотром проверяют,
остались ли вкладыши неповрежденными и в своем первоначальном положении, а также не появились ли трещины в материале, окружающем их и
осуществляющем их крепление.
Примечание.
Небольшие трещины или воздушные пузырьки, которые были видны до испытания, но
на которые осевая нагрузка не оказала влияния, во внимание не принимают.
Таблица 12А
Осевая нагрузка,
прикладываемая к вкладышам
|
Размер вкладыша
|
Осевая нагрузка, Н
|
|
М4, М5
|
350
|
|
М6, М8
|
500
|
|
М10, М12
|
800
|
8.2.9.5.
Проверка устойчивости к механическим ударам, наносимым предметами с острыми
кромками
Испытанию
подвергают РШ всех типов.
Испытание следует
проводить с использованием ударной установки, описанной в 8.2.9.2.1 настоящего
стандарта, но имеющей ударный элемент, масса которого равна 5 кг, а форма конца
соответствует рисунку 8. Ударный элемент должен быть поднят на высоту 0,4 м, и
при его отпускании должен наносить удар по испытуемой поверхности РШ с
энергией, равной 20 Дж (см. рисунок 6).

Рисунок 8. Ударный
элемент для проведения испытания
по проверке
устойчивости к механическим ударам,
наносимым предметами с острыми кромками
В процессе каждого
испытания наносят один удар, направленный предпочтительно в самую слабую точку
на каждой из вертикальных видимых поверхностей РШ, установленного как при
нормальной эксплуатации. Для испытания нанесением ударов можно использовать
отдельные корпуса.
Примечание. Если
корпус имеет цилиндрическую форму, при испытании наносят три удара со смещением
на 120°.
Испытание 1 следует
проводить при окружающей температуре от 10 до 40 °C после того, как РШ был
выдержан при этих температурах не менее 12 ч.
Испытание 2 следует
проводить при окружающей температуре от 10 до 40 °C сразу же после того, как РШ
был выдержан при температуре
°C не менее 12 ч.
С целью
установления соответствия данному требованию после испытания проверяют внешним
осмотром, имеются ли трещины, вызванные ударами, в пределах окружности
диаметром, не превышающим 15 мм. Если конец ударного элемента проник в корпус
РШ, должно быть невозможным вставление в отверстие цилиндрического стального
калибра диаметром 4 мм, имеющего полусферический конец, с силой 5 Н.
8.2.9.6.
Проверка механической прочности основания
При испытании РШ
должен быть закреплен на основании в соответствии с рисунком 9 и инструкциями
изготовителя по его установке. Усилие прикладывают через тонкостенную стальную
трубку в самой низкой части самой длинной стороны основания РШ, которое после
его установки оказывается ниже уровня земли.

F - сила,
прикладываемая к основанию через трубку
Рисунок 9. Типичная
схема испытания для проверки
механической
прочности основания
Если конструкция
основания включает одну или более постоянных опор, усилие должно быть приложено
с помощью нескольких стальных трубок. Одна трубка должна быть размещена в
центре участка между опорами. Усилие F должно быть приложено к каждой трубке и
вычислено по формуле
F= 3,5 (Н/мм) x L,
где L - участок
между опорами, мм.
Усилие(я) должно(ны) быть приложено(ы)
в течение 1 мин. После этого без снятия усилия следует проверять степень
защиты.
Если имеется другая
сторона основания РШ, которая имеет такую же длину, но другой профиль,
испытание следует повторить, подвергнув ему эту сторону.
С целью
установления соответствия требованиям данного испытания внешним осмотром
следует проверить, не разрушено ли основание. Кроме того, следует проверить, не
изменилась ли степень защиты (IP3XD) у этой части РШ и основания, которые
бывают обычно расположены над землей.
8.2.10.
Проверка теплоустойчивости и огнестойкости
8.2.10.1.
Проверка теплостойкости
Испытанию с
использованием горячего стального шарика в соответствии с ГОСТ 2746 подвергают
по одному репрезентативному образцу каждого изоляционного материала, взятого из
корпусов, перегородок и других изоляционных частей, включая устройства и
компоненты.
Поверхность
испытуемой части должна быть расположена горизонтально и поддерживаться
стальной пластиной толщиной не более 5 мм. К этой поверхности прижимают с силой
20 Н шарик диаметром 5 мм.
Испытание следует
проводить в камере тепла при температуре:
(125 +/- 2) °C -
части, поддерживающие компоненты под напряжением;
(100 +/- 2) °C -
изоляционные части, расположенные на расстоянии менее 6 мм от частей, имеющих
температуру св. 40 °C;
(70 +/- 2) °C -
другие части.
По истечении 1 ч
шарик извлекают из образца, образец охлаждают в течение 10 с
приблизительно до комнатной температуры путем
погружения в холодную воду. Измеряют диаметр отпечатка шарика, который не
должен превышать 2 мм. В случае, когда невозможно испытывать оборудование
целиком, испытание следует проводить на соответствующей его части толщиной не
менее 2 мм.
Примечание.
Необходимую толщину можно получить, используя несколько слоев.
При испытании
материалов образец должен иметь толщину не менее 2 мм.
8.2.10.2.
Проверка категории воспламеняемости
Репрезентативные
образцы каждого из материалов корпусов, перегородок и других изоляционных
частей должны быть подвергнуты испытанию на воспламеняемость в соответствии с
методом FH ГОСТ 28779.
С целью
установления соответствия требованиям данного испытания внешним осмотром
проверяют, может ли каждый комплект из пяти образцов быть классифицирован по
категории FH-40 мм в соответствии с 8.4 ГОСТ 28779.
8.2.10.3.
Испытание на сухое тепло
Укомплектованный РШ
должен быть помещен в камеру тепла, температуру в которой повышают до (100 +/-
2) °C в течение 2 - 3 ч, и выдерживают при этой температуре в течение 5 ч.
Соответствие
проверяют внешним осмотром, чтобы удостовериться в отсутствии видимых признаков
повреждения.
8.2.11.
Проверка коррозионной стойкости и стойкости к старению
Если свойства,
характеризующие коррозионную стойкость, и расчетный срок службы, согласованные
между изготовителем и пользователем, могут быть подтверждены путем ссылки на
ИСО 9223 [5], нет необходимости проводить испытания, описанные ниже.
Во всех других
случаях коррозионная стойкость РШ каждой конструкции должна быть проверена с
помощью следующих испытаний.
8.2.11.1.
Внутренние части, включая устройства и компоненты
Должны быть
испытаны с целью проверки, соответствуют ли они требованиям испытания на
циклическое влажное тепло в соответствии с ГОСТ 28216 (степень жесткости -
температура 55 °C, шесть циклов; вариант 1).
В конце испытания
образцы извлекают из испытательной камеры.
С целью
установления соответствия требованиям данного испытания внешним осмотром
проверяют, нет ли следов ржавчины, трещин или других повреждений. Допускается
коррозия поверхности у защитного покрытия.
8.2.11.2. Внешние
части, изготовленные из синтетических материалов или металлов, полностью
покрытых синтетическим материалом
Эти части должны
быть подвергнуты испытанию UV в соответствии с ИСО 4892-2 [4] (метод А: 17 циклов с использованием ксеноновой лампы; общая
длительность испытания - 500 ч; цикл распыления 5 - 25).
С целью
установления соответствия требованиям данного испытания проверяют, обеспечивает
ли прочность при растяжении и удлинении 70% минимальное удерживающее усилие.
Те же образцы
металлических частей с защитным покрытием из синтетического материала
подвергают нижеследующему испытанию.
8.2.11.3. Внешние
части, изготовленные из сплошного металла с металлическим или синтетическим
защитным покрытием или без этого покрытия
Эти части
подвергают следующему испытанию.
Образцы
подвергают сначала воздействию нейтрального соляного тумана (5%-ная концентрация NaCl), а затем
разбавленного водой диоксида серы (начальная концентрация
: 667
частей на миллион по объему) при установленных температуре и давлении.
8.2.11.3.1.
Испытательное оборудование
Оборудование для
проведения испытания на соляной туман состоит в основном из испытательной
камеры и распылителя в соответствии с методикой, приведенной в ГОСТ 28207.
Оборудование для
проведения испытания в атмосфере диоксида серы, насыщенной водой, состоит из
герметичной камеры, содержащей диоксид серы, в которую на опорах устанавливают
испытуемые образцы. Камера должна быть изготовлена из инертного материала,
иметь объем (300 +/- 30) дм3 и соответствовать требованиям ИСО 3231 [2].
8.2.11.3.2.
Методика испытания
Концентрация
соляного раствора, создающего соответствующую атмосферу, должна быть равна (5
+/- 1)% по массе, а температура испытательной камеры должна поддерживаться
равной (35 +/- 2) °C.
Атмосферу,
содержащую диоксид серы, насыщенную водой, создают путем подачи в закрытую
испытательную камеру 0,2 дм3 диоксида серы с концентрацией 0,067% по объему из
баллона или путем создания специальной реакции в камере (см. примечание).
Испытание состоит
из двух одинаковых периодов длительностью по 12 сут.
Каждый период
включает в себя:
7 сут (168 ч) - воздействие соляного тумана;
5 сут (120 ч) - циклическое испытание, состоящее из 8 ч
воздействия атмосферы, включающей диоксид серы, насыщенной водой, когда температуру
повышают до (40 +/- 3) °C, и 16 ч - перерыв, когда дверь в камеру открыта.
Таким образом, суммарный период воздействия атмосферы составляет 40 ч, а
перерыв - 80 ч.
Через 12 сут испытуемые образцы промывают в деминерализованной воде.
Примечание.
Диоксид серы можно получить в испытательном оборудовании за счет реакции пиросульфита натрия (
) с
относительно концентрированной сульфаминовой кислотой (
),
которая является единственной твердой минеральной кислотой, которую легко
хранить.
Данный метод
состоит из растворения избытка пиросульфита натрия в
воде:
+
.
Затем добавляют
стехиометрическое количество сульфаминовой кислоты:
+
.
Результирующая
общая реакция имеет вид:
+
.
Для получения 1 дм3
диоксида серы в нормальных условиях (температура 0 °C; давление 760 мм рт. ст.)
требуются 4,24 г пиросульфита натрия и 4,33 г
сульфаминовой кислоты.
8.2.11.3.3. В конце
испытания образцы извлекают из камеры.
С целью
установления соответствия требованиям настоящего испытания внешним осмотром
проверяют, не имеют ли образцы следов ржавчины, трещин или других повреждений.
Однако допускается поверхностная коррозия защитного покрытия. В случае сомнения
делают ссылку на ИСО 4628-3 [3] с целью проверки соответствия испытуемых
образцов эталонному образцу
.
Приложение А
(обязательное)
&ДОПОЛНИТЕЛЬНЫЕ
ТРЕБОВАНИЯ К НКУ,
УСТАНАВЛИВАЕМЫЕ В СТАНДАРТАХ И ТЕХНИЧЕСКИХ УСЛОВИЯХ
НА НКУ КОНКРЕТНЫХ СЕРИЙ И ТИПОВ
1. Требования к
стойкости к внешним воздействующим факторам
1.1. Номинальные и
предельные значения климатических факторов, отличающиеся от
приведенных в настоящем стандарте, должны соответствовать ГОСТ 15543.1 и ГОСТ
15150.
1.2. Конкретные
требования по воздействию механических факторов должны соответствовать группам
условий эксплуатации по ГОСТ 17516.
2. Требования к
консервации, упаковке, транспортированию и хранению
2.1. Требования к
консервации и упаковке - по ГОСТ 23216.
2.2. Условия
транспортирования устанавливают в зависимости от назначения НКУ по ГОСТ 23216 и
ГОСТ 15150.
3. Требования к
защитным покрытиям
Металлические
детали корпуса НКУ должны иметь защитные покрытия в соответствии со стандартами
единой системы защиты от коррозии и старения материалов и изделий.
4. На фасадной
части оболочки НКУ должен быть нанесен предупреждающий знак "Осторожно!
Электрическое напряжение" по ГОСТ 12.4.026.
5. Требования к
гарантии
Изготовитель должен
гарантировать надежную работу НКУ в течение определенного гарантийного срока
эксплуатации, который должен быть не менее двух лет с момента ввода в
эксплуатацию.
При применении
аппаратов и устройств, имеющих большой гарантийный срок эксплуатации, этот же
срок должен устанавливаться для НКУ.
6. Виды испытаний и
правила приемки
6.1. НКУ подвергают
квалификационным, периодическим, приемосдаточным и типовым испытаниям; порядок
их проведения должен соответствовать ГОСТ 15.001; периодичность испытаний,
количество образцов НКУ, подвергаемых испытаниям, программа испытаний должны
устанавливаться в стандартах и технических условиях на НКУ конкретных видов и
серий.
6.2. Правила
приемки и условия испытаний должны устанавливаться в стандартах и технических
условиях на НКУ конкретных видов и серий.
6.3. В программе
испытаний должны быть предусмотрены, помимо испытаний, указанных в 8.1.1,
испытания на стойкость к внешним воздействующим факторам по ГОСТ 15543.1,
испытания на пожарную безопасность, испытания на надежность, проверка защитных
покрытий.&
Приложение В
(справочное)
БИБЛИОГРАФИЯ
[1] МЭК
60439-1 (1992). Низковольтные комплектные устройства распределения и
управления. Часть 1. Устройства, прошедшие типовые испытания и частично
испытанные
[2] ИСО
3231 (1993). Краски и лаки. Определение стойкости к влажной атмосфере, содержащей
диоксид серы
[3] ИСО
4628-3 (1982). Краски и лаки. Оценка разрушения красочных покрытий. Обозначение
интенсивности, количества и размера обычных дефектов. Часть 3. Обозначение
степени ржавления
[4] ИСО
4892-2 (1994). Пластмассы. Методы воздействия лабораторными источниками света.
Часть 2. Источники ксеноновой дуги
[5] ИСО
9223 (1992). Коррозия металлов и сплавов. Коррозийность
атмосферы. Классификация.