Введены в действие
Приказом ГУГПС МВД
РФ
от 20 ноября 1997
г. N 70
НОРМЫ ПОЖАРНОЙ БЕЗОПАСНОСТИ
СПЕЦИАЛЬНАЯ ЗАЩИТНАЯ ОДЕЖДА
ПОЖАРНЫХ ИЗОЛИРУЮЩЕГО ТИПА
ОБЩИЕ ТЕХНИЧЕСКИЕ ТРЕБОВАНИЯ. МЕТОДЫ ИСПЫТАНИЙ
SPECIAL PROTECT CLOTHING FOR
FIREFIGHTERS ISOLATION TYPE
General
technical requirements.
Methods of test
НПБ 162-97
Разработаны
Всероссийским научно-исследовательским институтом противопожарной обороны
(ВНИИПО) МВД России (Копылов Н.П., Логинов В.И., Мотин М.А., Семенов С.Ю.,
Истомин В.А.).
Внесены отделом 2.4
ВНИИПО, подготовлены к утверждению отделом ПТиВ
Главного управления Государственной противопожарной службы (ГУГПС) МВД России
(Игнатьев Д.П.).
Дата введения в
действие 1 декабря 1997 г.
Вводятся впервые.
1. ОБЛАСТЬ
ПРИМЕНЕНИЯ
Настоящие
нормы устанавливают общие технические требования и методы испытаний специальной
защитной одежды пожарных изолирующего типа, обеспечивающей изоляцию (в
сочетании со средствами защиты головы, ног, рук, органов дыхания) человека от
опасных и вредных факторов окружающей среды (в том числе от радиоактивных
веществ и материалов, а также от агрессивных сред), возникающих во время
тушения пожаров, проведения связанных с ними первоочередных
аварийно-спасательных работ, а также
от неблагоприятных климатических воздействий.
Нормы
распространяются на выпускаемую, вновь разработанную и приобретаемую за рубежом
специальную защитную одежду пожарных изолирующего типа (автономную, с пассивной
защитой), предназначенную для оснащения подразделений Государственной
противопожарной службы МВД России.
Нормы не
распространяются на боевую одежду для начальствующего и рядового состава
пожарной охраны, специальную одежду пожарных для защиты от повышенных тепловых
воздействий, изготовленную из материалов с металлизированным покрытием (теплоотражательный и теплозащитный костюмы, средства
локальной защиты от повышенных тепловых воздействий и т.п.), а также на
отдельные средства защиты рук, ног, головы, органов дыхания, зрения и слуха и
средства защиты от поражения
электрическим током.
Нормы содержат
технические требования и методы испытаний материалов и тканей, применяемых для
изготовления специальной защитной одежды пожарных изолирующего типа <*>.
--------------------------------
<*> Далее -
СЗО ИТ.
Нормы содержат
правила приемки СЗО ИТ, а также требования к
маркировке, упаковке, транспортированию и хранению.
Нормы
распространяются на все виды испытаний, в том числе сертификационные.
2.
НОРМАТИВНЫЕ ССЫЛКИ
В нормах
использованы ссылки на следующие нормативные документы:
ГОСТ 2.103-68 ЕСКД
Стадии разработки.
ГОСТ 2.304-81 ЕСКД
Общие правила выполнения чертежей. Шрифты чертежные.
ГОСТ 12.1.044-89
ССБТ Пожаровзрывоопасность веществ и материалов.
Номенклатура показателей и методы их определения.
ГОСТ 12.4.176-89
ССБТ Одежда специальная для защиты от теплового излучения. Требования к
защитным свойствам и метод определения теплового состояния человека.
ГОСТ 15.001-88
Система разработки и постановки продукции на производство. Продукция
производственно-технического назначения.
ГОСТ 1571-82Е
Скипидар живичный. Технические условия.
ГОСТ 5631-79 Лак
БТ-577 и краска БТ-177. Технические условия.
ГОСТ 8972-78 Кожа
искусственная. Методы определения намокаемости и
усадки.
ГОСТ 8975-75 Кожа
искусственная. Метод определения истираемости и
слипания покрытия.
ГОСТ 8977-74 Кожа
искусственная и пленочные материалы. Методы определения жесткости и упругости.
ГОСТ 8978-75 Кожа
искусственная и пленочные материалы. Методы определения устойчивости к
многократному изгибу.
ГОСТ 10581-91
Изделия швейные и трикотажные. Маркировка, упаковка, транспортирование и
хранение.
ГОСТ 14192-77
Маркировка грузов.
ГОСТ 15150-69
Машины, приборы и другие технические изделия. Исполнения для различных
климатических районов. Категории, условия эксплуатации, хранения и транспортирования
в части воздействия климатических факторов внешней среды.
ГОСТ 15162-82 Кожа
искусственная и синтетическая и пленочные материалы. Метод определения
морозостойкости в статических условиях.
ГОСТ 17073-71 Кожа
искусственная. Метод определения толщины и массы 1 м2.
ГОСТ 17074-71 Кожа
искусственная. Метод определения сопротивления раздиранию.
ГОСТ 17316-71 Кожа
искусственная. Метод определения разрывной нагрузки и удлинения при разрыве.
ГОСТ 17317-88 Кожа
искусственная. Метод определения прочности связи между слоями.
ГОСТ 29122-91 ССБТ
Средства индивидуальной защиты. Требования к стежкам, строчкам и швам.
НПБ 158-97
Специальная защитная обувь пожарных. Общие технические требования и методы
испытаний.
3.
ОПРЕДЕЛЕНИЯ, ОБОЗНАЧЕНИЯ И СОКРАЩЕНИЯ
В нормах
применяются следующие термины:
Специальная
защитная одежда пожарных изолирующего типа (СЗО ИТ) -
одежда, предназначенная для изоляции кожных покровов человека от
неблагоприятных и вредных факторов окружающей среды (пыль, сильнодействующие
ядовитые вещества <*>, газовоздушные смеси, в
том числе содержащие газообразный хлор, водные растворы щелочей, кислот и
т.п.), возникающих во время тушения пожаров, проведения связанных с ними
первоочередных аварийно-спасательных работ, а также от неблагоприятных климатических
воздействий.
--------------------------------
<*> Далее -
СДЯВ.
Фурнитура - детали
и комплектующие изделия (в том числе из металла и пластмасс), используемые в
качестве застежек, дополнительных креплений и отделки СЗО ИТ
и обеспечивающие необходимую изоляцию.
Материал верха -
наружный слой пакета материалов и тканей, используемый для изготовления
изолирующего скафандра.
Изолирующий
скафандр - составная часть СЗО ИТ, изготавливаемая из
воздухонепроницаемых пленочных материалов с герметизацией швов и применением
специальной фурнитуры, стойкая к воздействию радиоактивных веществ и
агрессивных сред и позволяющая поддерживать избыточное давление в подкостюмном пространстве.
Теплоизоляционная
подкладка - слой материалов с низкой теплопроводностью, входящий в состав
пакета материалов и тканей, используемых для изготовления СЗО ИТ и предназначенный для защиты от конвективного тепла и
неблагоприятных климатических воздействий.
Защитная подкладка
- пакет материалов, являющийся составной частью СЗО ИТ
и обеспечивающий защиту от опасных и вредных факторов.
Гигиенический
комплект - слой материалов, обеспечивающий необходимые физиолого-гигиенические
показатели СЗО ИТ.
Коэффициент
ослабления - отношение значения опасного фактора в окружающей среде к его
значению на внутренней стороне пакета материалов.
Пассивная тепловая
защита - защита, осуществляемая применением пакетов материалов с низкой
теплопроводностью или высокой теплоемкостью без обеспечения теплосъема хладоносителями с принудительной циркуляцией.
Автономный тип
защитной одежды - защитная одежда, используемая с дыхательным аппаратом как
источником снабжения воздухом для дыхания, вентилирования подкостюмного
пространства и создания в нем избыточного давления.
Время защитного
действия - время от начала контакта материала костюма с вредным веществом до
накопления на обратной поверхности материала дозы, вызывающей первичные
признаки поражения.
4. ОБЩИЕ
ПОЛОЖЕНИЯ
4.1. СЗО ИТ, а также материалы и фурнитура, применяемые для ее
изготовления, должны отвечать требованиям настоящих норм.
4.2. Продукция, изготавливаемая отечественными предприятиями,
допускается к проведению сертификационных испытаний в области пожарной
безопасности, если она в установленном порядке прошла все стадии и этапы
разработки, предусмотренные ГОСТ 15.001, ГОСТ 2.103, все виды испытаний
(включая межведомственные приемочные), имеет полный комплект конструкторской
документации на серийное производство с присвоенной в установленном порядке
литерой "А", согласованной с государственным заказчиком
пожарно-технической продукции.
Продукция,
импортируемая российским потребителям, допускается к проведению
сертификационных испытаний в области пожарной безопасности, если она
сопровождается эксплуатационной документацией, которая должна быть оформлена на
русском языке по ГОСТ 2.601 и одобрена государственным заказчиком пожарно-технической
продукции.
Экспертиза
конструкторской документации обязательна при организации и проведении
сертификационных испытаний в области пожарной безопасности.
(п. 4.2 в ред. Изменений и дополнений,
утв. Приказом ГУГПС МВД России от 25.12.1999 N 101)
4.3. Все материалы
(ткани), используемые для изготовления СЗО ИТ, должны
иметь гигиенический паспорт (сертификат) или разрешение Министерства
здравоохранения России на их применение. Ткань верха должна иметь сертификат
соответствия (сертификат пожарной безопасности).
4.4. Для
обеспечения защиты органов дыхания при работе пожарных в СЗО ИТ
и создания избыточного давления в подкостюмном
пространстве необходимо использовать дыхательные аппараты со сжатым воздухом с
открытой схемой дыхания. При этом должна быть обеспечена возможность
самостоятельного контроля давления в баллоне дыхательного аппарата.
4.5. СЗО ИТ должны сохранять свои свойства в течение всего срока
эксплуатации, установленного для данного вида изделия.
4.6. СЗО ИТ разделяется на два вида:
первый - без
обеспечения тепловой защиты; предназначен для работы при температуре окружающей
среды до 40 °С;
второй - с
обеспечением тепловой защиты.
4.7. Способ защиты
СЗО ИТ от неблагоприятных воздействий должен быть
пассивный, т.е. обеспечиваться свойствами пакета используемых материалов.
4.8. СЗО ИТ должна обеспечивать надежную защиту человека при
воздействии газовоздушной среды с высокой
температурой согласно значениям, приведенным в табл. 1.
Таблица 1
|
Вид
СЗО ИТ
|
Показатель
|
Значение
показателя
|
|
|
Время
работы (нагрузка 400 Вт) при тем-
пературе
|
|
|
I
|
От
минус 40 до 40 °С, мин, не менее
|
30
|
|
II
|
40
- 100 °С, мин, не менее
|
20
|
|
III
|
100
- 150 °С, мин, не менее
|
3
|
4.9. СЗО ИТ должна изготавливаться в климатическом исполнении УХЛ для
категории размещения 1 по ГОСТ 15150-69.
5. ТРЕБОВАНИЯ К КОНСТРУКЦИИ
5.1. В СЗО ИТ должны входить следующие составляющие: 1 - изолирующий
скафандр; 2 - защитная (теплоизоляционная) подкладка <*>; 3 -
гигиенический комплект; 4 - средства защиты рук, ног, головы. Допускается совмещение
перечисленных первых трех составляющих.
--------------------------------
<*> Для
первого вида допускается использование без теплоизоляционной подкладки.
5.2.
Конструкция СЗО ИТ, используемые материалы и
фурнитура, соединения деталей и узлов скафандра должны исключать проникновение
в него воды, поверхностно-активных веществ, агрессивных сред, пыли, СДЯВ и
т.д., поддерживать избыточное давление воздуха в подкостюмном
пространстве, создаваемое дыхательным аппаратом.
5.3.
Конструкция СЗО ИТ должна обеспечивать ее быстрое и
удобное надевание с помощью ассистента за время не более 5 мин.
5.4.
Конструкция СЗО ИТ должна обеспечивать пожарному
возможность самостоятельно раскрывать герметичный наружный скафандр в случае
возникновения аварийных ситуаций. При этом время до освобождения дыхательных
путей должно быть не более 30 с.
5.5.
Конструкция СЗО ИТ должна обеспечивать пожарному
возможность работы с дыхательным аппаратом, радиостанцией, пожарно-техническим
вооружением (ручной механизированный и немеханизированный инструмент, ручные
пожарные стволы, пеногенераторы и т.д.),
диэлектрическими ботами и перчатками, допущенными к применению ГУГПС, и
выполнение всех видов работ (от легкой до тяжелой), связанных с тушением
пожаров и проведением первоочередных аварийно-спасательных работ, таких, как
разведка, переноска тяжестей, подъем по вертикальным лестницам (в том числе
имеющим ограждение диаметром 800 мм), эвакуация пострадавших, работа с
дозиметрическими приборами, боевое развертывание от автоцистерны, прокладка
рукавной линии и т.д.
5.6.
Цветовое решение СЗО ИТ должно обеспечивать хорошее
эстетическое восприятие, видимость производственных загрязнений, возможность
быстрого визуального обнаружения пожарного в условиях ограниченной видимости
(на расстоянии до 5 м).
5.7.
Конструкция иллюминатора скафандра должна обеспечивать постоянство углов обзора
в горизонтальном и вертикальном направлениях. Стекло иллюминатора должно иметь
следующие размеры:
- высота -
от (150 +/- 2) до (200 +/- 2) мм;
- ширина - от (250
+/- 2) до (350 +/- 2) мм;
- радиус кривизны -
от (115 +/- 2) до (250 +/- 2) мм.
5.8. В конструкциях
СЗО ИТ допускается наличие деталей, выполненных из
нескольких частей.
5.9.
Конструкция СЗО ИТ должна обеспечивать возможность
смены рукавиц и спецобуви. Спецобувь,
входящая в СЗО ИТ, по антипрокольным
свойствам подошвенной части и противоударным
свойствам подноска должна соответствовать требованиям НПБ 158-97.
5.10. Швы
изолирующего скафандра должны обеспечивать:
- прочность - не
менее 4 кг/см;
- устойчивость к
воздействию открытого пламени - не менее 3 с
(проверяется по методу 10.10.5 с вертикальным
расположением шва по центру образца).
5.11.
Скафандр должен иметь клапан избыточного давления, который при постоянной
подаче воздуха в подкостюмное пространство от 10 до
100 дм3/мин должен поддерживать давление в подкостюмном
пространстве (40 +/- 10) Па и располагаться в зоне визуального наблюдения
работающего.
5.12.
Конструкция СЗО ИТ должна обеспечивать возможность
приема и передачи информации: звуковой, зрительной или с помощью специальных
устройств. При выполнении в изолирующих костюмах работ, не требующих высокого
качества связи, должна обеспечиваться разборчивость передаваемой речи - не
менее 80% (для требующих высокого качества связи - не менее 94%) слов.
5.13.
Качество ниточных соединений должно соответствовать требованиям ГОСТ 29122.
Количество швов должно быть минимальным.
5.14. Ниточные швы должны быть ровными, без пропусков, с равномерным
натяжением верхней и нижней ниток. Частота машинной строчки должна быть
от 2,5 до 3,0 стежков на 1 см.
5.15. СЗО ИТ должна изготавливаться трех условных размеров согласно
табл. 2.
Таблица 2
┌────────────┬───────────────────────┬───────────────────────────┐
│
Типоразмер │ Рост, см │ Окружность груди, см │
├────────────┼───────────────────────┼───────────────────────────┤
│ 1
│ 158 - 170 │ До 100 │
│ 2
│ 170 - 182 │ До 108 │
│ 3
│ 182 и более │ До 116 │
└────────────┴───────────────────────┴───────────────────────────┘
5.16. Фурнитура,
крепящаяся на материале верха, не должна соприкасаться с внутренней
поверхностью теплоизоляционной подкладки (проверяется визуальным осмотром).
Свойства фурнитуры должны быть не хуже, чем у используемых материалов и тканей.
5.17.
Конструкция СЗО ИТ должна обеспечивать возможность
замены наиболее часто выходящих из строя элементов одежды или изолирующего
скафандра в целом.
6. ТРЕБОВАНИЯ К МАТЕРИАЛАМ
6.1. Для
изготовления изолирующего скафандра СЗО ИТ могут
применяться различные материалы, в т.ч. с полимерным
пленочным покрытием, а также металлизированные - для защиты от повышенных
тепловых потоков (для второго вида СЗО ИТ).
6.2. Для
второго вида СЗО ИТ теплопроводность применяемого пакета материалов и тканей
при температурах окружающей среды от 50 до 150 °С
должна быть не более 0,06 Вт/м х град.
6.3. Материалы,
используемые для изготовления иллюминатора, должны иметь защитные свойства не
хуже, чем материалы СЗО ИТ, и ослаблять воздействие
светового и инфракрасного излучения.
6.4.
Номенклатура показателей качества для материалов СЗО ИТ
приведена в табл. 3.
Таблица 3
┌────────────────────────────┬──────────────────┬────────────────┐
│ Показатель качества │Требуемое значение│ Примечание
│
├────────────────────────────┼──────────────────┼────────────────┤
│Водопроницаемость │Водонепроницаемый │
Материал верха │
│Устойчивость
к многократному│ 500 │ Материал верха │
│изгибу,
килоциклы, не менее │
│ │
│Прочность
связи пленочного │ 0,6 │ Материал верха │
│покрытия
с основой, кН/м, не│
│ │
│менее │ │ │
│Устойчивость
к воздействию │ 30 │ Материал верха │
│открытого
пламени, с,
│
│ │
│не
менее <*>
│
│ │
│Устойчивость
к воздействию │ │Пакет
материалов│
│теплового
потока: │ │ │
│-
5,0 кВт/м2, с, │ 240 │ │
│не
менее <*>
│
│ │
│-
14,0 кВт/м2, с, │ 180 │ │
│не
менее <**>
│ │ │
│Устойчивость
к воздействию │ 300 │ Материал верха │
│окружающей
среды с темпера- │ │ │
│турой
150 °С, с,
│
│ │
│не
менее <*> │ │ │
│Кислородный
индекс, % об.,
│ 26 │ Материал верха │
│не
менее <*>
│
│ │
│Морозостойкость,
°С, не выше│ Минус 40 │ Материал верха │
│Разрывная
нагрузка, Н, не │ │ Материал верха
│
│менее: │ │ │
│-
в продольном направлении │ 700 │ Материал верха │
│-
в поперечном направлении │ 600 │ Материал верха │
│Сопротивление
раздиранию, │ │ Материал верха
│
│Н,
не менее: │ │ │
│-
в продольном направлении │ 30 │ │
│-
в поперечном направлении │ 35 │ │
│Усадка
после намокания и │ 3 │ Материал верха │
│высушивания , %, не более
│
│ │
│Истираемость, мкг/Дж, не │ 70 │ Материал верха │
│более │ │ │
│Масса
1 м2, г, не более
│ 400 │ Материал верха │
│Жесткость,
Н, не более │ 0,55 │ Материал верха │
└────────────────────────────┴──────────────────┴────────────────┘
<*> Для
второго вида.
<**> Для
второго вида из материалов с металлизированным покрытием.
7. ЭРГОНОМИЧЕСКИЕ И ФИЗИОЛОГО-ГИГИЕНИЧЕСКИЕ
ТРЕБОВАНИЯ
7.1. Масса
СЗО ИТ, использующейся при выполнении работ, связанных
с тушением пожаров и ликвидацией аварий на АЭС, должна быть не более (22,5 +/-
0,5) кг (для 2-го условного размера), для остальных изолирующих костюмов - не
более 11 кг (без дыхательного аппарата).
7.2. За все
время защитного действия локальная температура подкостюмного
пространства не должна превышать 50 °С.
7.3. Для оценки
эргономических и физиолого-гигиенических свойств СЗО ИТ
необходимо использовать значения показателей состояния человека из ГОСТ
12.4.176 (табл. 4).
Таблица 4
┌────────────────────────┬───────────────────────────────────────┐
│ Показатель │ Энергозатраты
человека, Вт
│
│
├─────────┬─────────┬─────────┬─────────┤
│
│140 -
180│180 - 230│230 - 290│290 - 350│
├────────────────────────┼─────────┼─────────┼─────────┼─────────┤
│Температура
тела, °С │ 38,0
│ 38,0 │
38,0 │ 38,0
│
│Влагопотери, г/ч,
│ 500 │
600 │ 700
│ 800 │
│не
более │ │ │ │ │
│Теплоощущение, баллы
│ 7,0 │
7,0 │ 7,0
│ 7,0 │
│Частота
сердечных │ 110
│ 120 │
150 │ 170
│
│ -1 │ │ │ │ │
│сокращений,
мин , │ │ │ │ │
│не
более │ │ │ │ │
└────────────────────────┴─────────┴─────────┴─────────┴─────────┘
8.
ТРЕБОВАНИЯ К НАДЕЖНОСТИ
8.1. СЗО ИТ должна сохранять свои защитные свойства в течение срока
эксплуатации.
8.2. Срок
эксплуатации СЗО ИТ до списания должен быть не менее 5
лет и определяться пригодностью ее защитных частей. Ресурс безотказной работы
за срок эксплуатации должен быть не менее 50 ч. Ресурс безотказной работы
изолирующего скафандра при температуре 20 °С должен
быть не менее 10 ч. В случае выхода из строя скафандра последний подлежит
замене.
8.3. Отказом
считаются случаи механического, термического или химического разрушений
скафандра и (или) защитной (теплоизолирующей) подкладки в ходе эксплуатации,
которые не поддаются ремонту в условиях пожарных частей, при соблюдении
положений настоящих норм и конструкторской документации на изделия.
8.4.
Гарантийный срок хранения (включая хранение на складе и в режиме ожидания в
условиях пожарных частей) должен быть не менее 7 лет. По истечении 7 лет
производится освидетельствование СЗО ИТ визуальным осмотром на отсутствие
дефектов в фурнитуре, повреждений частей и проверка основных защитных свойств
[устойчивость к воздействию открытого пламени (п. 6.4), теплового потока (п.
6.4), окружающей среды с температурой 150 °С (п. 6.4),
кислот, органических растворителей (п. 9.1.1), возможность обеспечения
избыточного давления воздуха в подкостюмном
пространстве (п. 5.2)].
В случае отсутствия
дефектов в фурнитуре, повреждений частей и снижения защитных свойств СЗО ИТ на 10% изделие закладывается на дальнейшее хранение.
9. СПЕЦИАЛЬНЫЕ ТРЕБОВАНИЯ
9.1.
Специальные требования к агрессивостойкой одежде.
9.1.1. СЗО ИТ пожарных, используемая при тушении пожаров на химически
опасных объектах, должна обеспечивать защиту органов дыхания, глаз, слизистых
оболочек и кожных покровов от попадания в организм газов, паров, аэрозолей и
пыли физиологически активных веществ. При этом защитные свойства материалов СЗО
ИТ должны соответствовать требованиям табл. 5.
Таблица 5
┌──────────────────────┬─────────────────────────────────────────┐
│ Агрессивная среда │
Время защитного действия при контакте
│
│ │ с вредным веществом, не менее, мин, │
│ │ при температуре <*> │
│
├─────────────┬────────────┬──────────────┤
│ │ От минус 40 │40
- 100 °С │ 100 - 150 °С │
│ │ до 40 °С │ <**> │
<**> │
├──────────────────────┼─────────────┼────────────┼──────────────┤
│Едкий
натр NaOH
│ 90 │ 30
│ 5 │
│(60%
водный раствор) │ │ │ │
│Серная
кислота Н SО
│ 90 │ 30
│ 5 │
│ 2 4
│ │ │ │
│(50%
водный раствор) │ │ │ │
│Азотная
кислота НNО
│ 90 │ 30
│ 5 │
│ 3 │ │ │ │
│(конц.)
│ │ │ │
│Хлористый
водород │ 90
│ 30
│ 5 │
│(40%
водный раствор) │ │ │ │
│1,2
дихлорэтан │ 90
│ 30 │ 5
│
│Аммиак NH ОН (насы- │
90 │ 30
│ 5 │
│ 4 │ │ │ │
│щенный
пар) │ │ │ │
│Газообразный
хлор │ 90
│ 30 │ 5
│
│(70
мг/л) │ │ │ │
│Бензол │ 90
│ 30 │ 5
│
│Уксусная
кислота │ 90
│ 30 │ 5
│
│СН СООН (70% водный │ │ │ │
│ 3 │ │ │ │
│раствор) │ │ │ │
│Нефть
и нефтепродукты │ 90 │ 30
│ 5 │
└──────────────────────┴─────────────┴────────────┴──────────────┘
<*> При температуре выше температуры кипения
время защитного
действия
берется от насыщенного пара чистого
вещества при соответствующей
температуре.
<**> Для второго вида.
9.1.2.
Физико-химическая устойчивость материалов, пакетов материалов, составных частей
средств индивидуальной защиты [способность материала (изделия) сохранять свои
исходные защитные и физико-механические свойства после воздействия вредных
веществ в течение определенного времени] при контакте материала с агрессивной
средой и температуре от минус 40 до 40 °С должна быть
не менее 1 ч, при температуре от 40 до 100 °С - не менее 15 мин, при
температуре от 100 до 150 °С - не менее 5 мин.
Суммарный ресурс безотказной работы по критерию физико-химической устойчивости
должен быть не менее указанного в п. 8.2.
9.2. Специальные
требования для СЗО ИТ, используемой при выполнении
работ, связанных с тушением пожаров и ликвидацией аварий на АЭС.
9.2.1. СЗО ИТ пожарных, используемая при тушении пожаров на АЭС, должна
обеспечивать защиту глаз, кожи, слизистой оболочки дыхательных путей и
пищеварительного тракта от:
- попадания в
организм радиоактивных газов и аэрозолей и накопления радиоактивных изотопов во
внутренних органах;
- кратковременного
действия перегретого пара;
- внешнего бета-излучения;
- пыли.
9.2.2. В
комплект СЗО ИТ пожарных, используемой при выполнении
работ, связанных с тушением пожаров и ликвидацией аварий на АЭС, кроме
перечисленных в п. 5.1 составляющих, должны входить:
- шлем защитный;
- вставки защитные
в сапоги.
9.2.3. Материал
изолирующего скафандра должен хорошо дезактивироваться.
9.2.4.
Комплект защитный должен соответствовать требованиям, изложенным в табл. 6.
Таблица 6
┌────────────────────────────────────────────┬───────────────────┐
│Показатели
защиты от ионизирующих излуче- │Время
защиты от │
│ний в области защищенных
критических │воздействия повы- │
│органов
1 группы
│шенной температуры,│
├──────────────────────┬──────────┬──────────┤мин,
не более │
│Коэффициент
ослабления│Время пре-│Предельная├─────────┬─────────┤
│внешнего
облучения │бывания
в │доза на │ 100 °С │ 200
°С │
├──────────┬───────────┤зоне
ра- │защищен- │ │ │
│бета-излу-│гамма- │диации │ный кост- │
│ │
│чения с
│излучения
│<*>, │ный мозг
│ │ │
│граничной │с энергией │мин,
не │при усло-
│ │ │
│энергией │200 кэВ, │более │вии,
<*> │ │ │
│до
2 МэВ, │не менее │ │Грей, │ │ │
│не
менее │ │ │не более │ │ │
├──────────┼───────────┼──────────┼──────────┼─────────┼─────────┤
│ 80
│ 2 │
20 │ 0,25
│ 20 │
7 │
└──────────┴───────────┴──────────┴──────────┴─────────┴─────────┘
<*>
При мощностях доз
защиты: по рентгеновскому
и гамма-
-4 -4
излучению
до 2,8 х 10 Гр/с и бета-излучению до
11,2 х 10 Гр/с.
Таблицы длительности
пребывания в зоне выброса для различных
значений мощности доз, измеренных гамма-дозиметром, должны
быть
приведены в инструкции по эксплуатации СЗО ИТ.
10. МЕТОДЫ
ИСПЫТАНИЙ
10.1. Подготовка
образцов и обработка результатов испытаний.
10.1.1. Проведение
всех видов испытаний, используемых при изготовлении СЗО ИТ
материалов, необходимость осуществлять после приведения их к воздушно-сухому
состоянию согласно обязательному Приложению 1.
10.1.2. Число и
размеры образцов для различных типов испытаний определяются соответствующими
нормативными документами.
10.1.3. При
отсутствии в нормативных документах на методы испытаний требуемого количества
образцов необходимо проверять не менее 5 образцов. За результат испытаний
принимается среднее арифметическое значение полученных результатов.
Образцы считаются
выдержавшими испытания, если при их проведении были получены результаты в
пределах контролируемых значений.
Допускается в 20%
полученных результатов испытаний отклонение от контролируемого значения до 5%.
В случае отклонения от контролируемого значения более чем на 5% испытания
повторяются на удвоенном количестве образцов. При этом все образцы должны
выдержать испытания.
10.2.
Определение обеспечения избыточного давления воздуха в подкостюмном
пространстве (п. 5.2).
Осуществляется в
следующем порядке:
- герметично
соединить (при помощи штуцера) наружный скафандр с испытательным прибором,
обеспечивающим создание и фиксацию давления воздуха (300 +/- 10) Па и контроль
его падения;
- заглушить
предохранительный клапан;
- создать давление
(300 +/- 10) Па, обмылить места герметичного соединения и устранить возможные
утечки;
- в случае
отсутствия утечек при заданном давлении замерить падение давления в течение 1
мин.
Скафандр считается
выдержавшим испытания, если падение давления в течение одной минуты не
превышает 30%.
10.3.
Определение времени надевания СЗО ИТ (п. 5.3).
Осуществляют пять
прошедших предварительную тренировку человек на трех костюмах каждый.
Допускается в 20% полученных результатов испытаний превышение времени одевания
на 10 с. Если в 20% и более полученных результатов время надевания СЗО ИТ превышало нормативное, то испытание повторяют другие пять
человек. При этом все испытатели должны уложиться в нормативное время.
10.4.
Определение времени самостоятельного раскрытия изолирующего скафандра в случае
возникновения аварийных ситуаций (п. 5.4).
Осуществляют пять
прошедших предварительную тренировку человек на трех костюмах. При получении
результата, превышающего нормативное время, испытание повторяют другие пять
человек. При этом все испытатели должны уложиться в нормативное время. Время
самостоятельного раскрытия замеряется по секундомеру с точностью до целых
значений секунды.
10.5.
Определение обеспечения конструкцией иллюминатора скафандра постоянства углов
обзора (п. 5.7).
Осуществляется при
проведении огневых полигонных испытаний пятью испытателями на трех костюмах.
Линейные размеры
определяются с погрешностью не более 2 мм.
10.6. Определение
величины срабатывания предохранительного клапана (п. 5.11).
К скафандру
герметично подсоединяется штуцер с прибором для измерения избыточного давления
в подкостюмном пространстве (герметичность
проверяется по п. 10.2.). Испытатель, включенный в дыхательный аппарат,
надевает СЗО ИТ. За счет выдыхаемого воздуха в подкостюмном
пространстве создается избыточное давление. Срабатывание предохранительного
клапана (определяется органолептическим способом) должно быть в пределах от 30
до 50 Па в течение не менее 3 мин. Погрешность измерения должна быть не более 4
Па. Проверка проводится с участием не менее пяти испытателей, каждый из которых
проводит испытания одного костюма.
10.7.
Определение разборчивости передаваемой речи (п. 5.12).
Осуществляется при
проведении полигонных испытаний на открытом воздухе без посторонних звуковых
помех. Испытателю, экипированному в СЗО ИТ, с
расстояния 2 м передаются не менее 10 различных команд, записанных на
магнитофон с громкостью 60 дБ, которые он обязан выполнить. Проверка проводится
с участием не менее пяти испытателей.
10.8.
Определение типоразмеров (п. 5.15).
Рост человека
измеряется как длина тела от верхней точки головы до плоскости стопы жесткой
вертикальной линейкой с погрешностью до +/- 5 мм.
Окружность груди
измеряется охватом туловища человека в спокойном состоянии (на уровне сосковой
линии) рулеткой с погрешностью до +/- 2 мм.
10.9.
Определение массы (п. 7.1).
Осуществляется
взвешиванием с погрешностью до 100 г.
10.10. Методы
испытаний для материалов верха.
10.10.1. Метод
отбора образцов для испытаний материала верха.
От рулона материала
отрезают точечную пробу требуемого размера, отступив не менее:
- от конца рулона
1500 мм;
- от края рулона 50
мм.
Образцы должны
иметь однородную поверхность без видимых дефектов лицевой и изнаночной сторон.
10.10.2.
Метод определения устойчивости к воздействию теплового потока (п. 6.4.).
10.10.2.1. Отбор
образцов.
Образцы должны
состоять из пакета материалов: материала верха, защитной (теплоизоляционной)
подкладки и подкладочной ткани, входящих в состав СЗО ИТ.
Испытаниям
подвергается не менее 5 образцов размером 210 х 70 мм.
10.10.2.2.
Испытательное оборудование и средства измерения.
Испытания
проводятся на установке, схема которой изображена на рис.1.

Рис. 1.
Принципиальная схема установки для определения
устойчивости к
воздействию теплового потока:
1 - платформа; 2 -
груз; 3 - нити; 4 - датчик теплового
потока; 5 - зажим;
6 - термоэлектрический преобразователь;
7 - держатель
образца; 8 -экран; 9 - заслонка;
10 - система
охлаждения; 11 - источник излучения; 12 - образец
Основные элементы
установки:
1) радиационная
панель - для создания теплового потока (представляет собой нагревательный
элемент, изготовленный из нихромовой проволоки в виде
спирали);
2) система
охлаждения;
3) груз - для
обеспечения постоянного натяжения образца с помощью нитей; масса груза (200 +/-
10 г);
4) датчик теплового
потока типа Гордона, с диапазоном измерения от 5 до 100 кВт/м2
и погрешностью измерений не более 8% - для измерения тепловых потоков.
Устанавливается в держатель образца. На наружной поверхности держателя
устанавливается металлизированная ткань толщиной до 1 мм (металлизацией к
держателю), которая имеет центральное сквозное отверстие диаметром 15 мм.
Датчик выводится на вторичный прибор с классом точности не более 0,15;
5) вторичный прибор
типа А-565 - предел измерений от 0 до 1300 °С, класс
точности 0,15, с тремя термоэлектрическими преобразователями типа ХК - хромель-копель диаметром не более 1,5 мм, которые крепятся на металлизированной
ткани под углом 120 град друг к другу и на диаметре (20 +/- 2) мм от центра
датчика - для измерения температуры на внутренней поверхности пакетов
материалов. Способ крепления термоэлектрических преобразователей - пришиваются
нитками в месте спая на длину не менее 5 мм.
10.10.2.3. Методика
испытаний.
1) Включить:
- радиационную
панель;
- регистрирующие
приборы;
- систему
охлаждения.
2) Погреть
радиационную панель в течение (25 +/- 5) мин.
3) Установить
держатель образца на расстоянии от радиационной панели, при котором тепловой
поток Q составит 5(14) кВт/м2, для
0
чего поднять защитную заслонку, которая
открывает доступ теплового потока к датчику, и
варьируя расстояние между источником теплового излучения и датчиком, уменьшить
(если величина теплового потока меньше требуемой) или увеличить (если величина
теплового потока больше требуемой) расстояние.
4) Установить
температурное равновесие датчика и возвратить заслонку в исходное положение.
5) Зафиксировать
расстояние от экрана до держателя на платформе.
6) Закрепить
образец испытуемого материала на рабочем участке датчика с помощью зажимов и
обеспечить его натяжение с помощью груза и нитей.
7) Поднять защитную
заслонку и выдержать образец под воздействием теплового потока в течение 240
(180) с. Провести измерение прошедшего через образец теплового потока Q и
п
температур на внутренней поверхности
образца.
8) После испытания
образца выключить установку и снять образец с держателя.
10.10.2.4. Оценка
результатов испытаний.
Для каждого
значения плотности падающего теплового потока рассчитать:
-
среднеарифметическое значение температуры по показаниям трех термоэлектрических
преобразователей;
- коэффициент
ослабления по формуле
, (1)
где
- плотность теплового потока, падающего на
образец, кВт/м2;
-
плотность теплового потока, прошедшего через образец, кВт/м2.
10.10.2.5.
Результаты испытаний.
Пакет материалов
СЗО ИТ считается выдержавшим испытания, если значение
коэффициента ослабления составило более 70% и на всех образцах не произошло:
- разрушения наружней поверхности (оплавления, обугливания, трещин,
прогара и т.д.);
- отслоения
наружного слоя (пленки покрытия) от тканевой основы (для материалов с пленочным
покрытием);
- усадки более 5%;
- воспламенения;
- увеличения
среднеарифметического значения температуры на внутренней поверхности композиции
слоев СЗО ИТ до значений, превышающих 50;
- увеличения
теплового потока на внутренней поверхности пакета материалов СЗО ИТ до значений, превышающих 1,5 кВт/м2 в нормированное
время;
- снижения
физико-механических показателей (разрывная нагрузка, раздирающая нагрузка по п.
6.4) материала верха более чем на 20%.
10.10.3.
Метод определения теплопроводности (п. 6.2).
10.10.3.1. Отбор
образцов.
На испытания
отбирается не менее 3 образцов длиной l и шириной, равной длине окружности
трубы с диаметром d (рис. 2), состоящих из пакета материалов, включающего ткань
верха, водонепроницаемый слой, теплоизоляционную подстежку и подкладочную
ткань.
10.10.3.2.
Испытания проводятся на лабораторной установке, принципиальная схема которой
приведена на рис. 2.

Рис. 2.
Принципиальная схема установки для определения
теплопроводности:
1 - испытуемый
материал; 2 - термоэлектрические преобразователи;
3 -
электронагреватель; 4 - токопроводящая втулка; 5 - прибор
контроля мощности
(А, V); 6 - автотрансформатор;
7 - потенциометр
В качестве рабочего
участка используется цилиндрическая труба длиной l, превышающей наружный
диаметр d не менее чем в 9 раз, на котором закрепляется испытуемый образец
толщиной дельта.
В трубе находится
электронагреватель, который центрируется фторопластовыми шайбами. Нагреватель
представляет собой тонкостенную нержавеющую трубку, в которую с обоих концов
запрессованы медные вставки. Мощность, подаваемая на нагреватель, регулируется
лабораторным автотрансформатором. Измерение напряжения и силы тока, подаваемого
на нагреватель, производится приборами с классом точности не ниже 0,2.
Для измерения температуры
на внутренней поверхности образца используют три термоэлектрических
преобразователя типа ХК (хромель-копель) с диаметром
кабельной части не более 1,5 мм и погрешностью измерения не более +/- 1 °С.
Размещение термоэлектрических преобразователей показано на рис. 2, а крепление
осуществляется следующим образом:
- на материале -
пришиваются в месте спая на длину не менее 5 мм и закрываются куском бязи
(поверхностной плотностью не более 250 г/м2) на всю
длину цилиндрической трубы;
- на металлической
трубе - зачеканиваются в трубу на глубину не более 3
мм и длину не менее 5 мм.
Для измерения
температуры наружной поверхности образца используют три термоэлектрических
преобразователя аналогичного типа, которые пришиваются на материале верха в
месте спая на длину не менее 5 мм и закрываются куском бязи на всю длину
цилиндрической трубы (рис. 2).
Термоэлектрические
преобразователи выводятся на вторичный прибор для измерения рабочей температуры
с классом точности не ниже 0,5 и пределами измерения от 0 до 200 °С.
10.10.3.3. Методика
испытаний.
Включить установку
и создать стационарный тепловой поток. Тепловой поток считается стационарным,
если температуры во всех точках измерения остаются неизменными (в пределах 2
°С) на протяжении не менее 10 мин. При достижении стационарного режима
фиксируются показания температур.
Далее аналогично
повторяют испытания при значениях мощности электронагревателя, отличающихся от
первоначального режима на (10 +/- 2) Вт и (20 +/- 2) Вт соответственно.
10.10.3.4.
Обработка результатов испытаний.
Коэффициент
теплопроводности определяют по формуле
, (2)
где Q -
стационарный тепловой поток, принимаемый равным мощности, подаваемой на
нагреватель, Вт;
- среднеарифметическое значение температуры на
внутренней поверхности слоя (принимается температура поверхности трубы), °С;
- среднеарифметическое значение температуры на
внешней поверхности слоя, °С;
- толщина слоя испытуемого образца, м,
измеряемая с погрешностью не более +/- 0,0001 м; d - наружный диаметр
цилиндрического нагревателя, м; l - длина цилиндрического слоя (трубы), м.
Подставляя
полученные значения в формулу (2), определяют численные значения коэффициента
теплопроводности для каждого испытания. За коэффициент теплопроводности данной
композиции слоев СЗО ИТ принимается
среднеарифметическое значение.
10.10.4.
Метод определения устойчивости к воздействию температуры окружающей среды.
10.10.4.1. Отбор
образцов.
На испытания
отбирается не менее 10 образцов ткани верха размером 220 х 70 мм. Образцы сшиваются по короткой стороне и им придается форма цилиндра.
10.10.4.2.
Испытательное оборудование:
1) установка
представляет собой электропечь с принудительной вентиляцией воздуха:
объем
рабочей камеры, м3, не менее ..................... 0,010
рабочая
температура, °С, не менее ........................ 300
погрешность определения температуры, °С, не
более ..... +/- 5
2) секундомер с
погрешностью измерения не более 5 с (за время не более
1 ч);
3)
термоэлектрический преобразователь типа ХК (хромель-копелевый) или ХА
(хромель-алюмелевый) с диаметром кабельной части не более 1,5 мм и погрешностью
измерения не более +/- 1 °С.
Термоэлектрический
преобразователь устанавливается на расстоянии не менее 50 мм от стенок. При
этом обеспечивается экранирование термоэлектрического преобразователя от
окружающей среды при помощи колпачка из металлизированной кремнеземной ткани
толщиной (2 +/- 1) мм.
4)
термоэлектрический преобразователь выводится на вторичный прибор с классом
точности не более 0,5 и пределом измерения от 0 до 200 °С.
10.10.4.3. Методика
испытаний.
Довести температуру
в камере до 150 °С. Открыть дверь камеры и установить в ней образец,
закрепленный на держателе таким образом, чтобы он висел в центре объема печи.
Время установки образца не более 5 с. Закрыть дверцу и с этого момента
отсчитывать время выдержки. Через 300 с открыть дверцу
и вынуть образец.
10.10.4.4. Оценка
результатов испытаний.
Ткань верха СЗО ИТ считается выдержавшей испытания, если на всех образцах не
произошло:
- разрушения
наружной поверхности (оплавления, обугливания, прогара и т.д.),
- отслоения
покрытия от тканевой основы (для материалов с полимерным пленочным покрытием),
- усадки более 5%,
- воспламенения,
- снижения
физико-механических показателей (разрывная нагрузка, раздирающая нагрузка по п.
6.4) ткани верха более чем на 20%.
10.10.5.
Устойчивость к воздействию открытого пламени (п. 6.4).
10.10.5.1. Отбор
образцов.
На испытания
отбирается не менее 6 образцов материала верха размером 210 х 80 мм.
10.10.5.2.
Испытательное оборудование.
Схема установки
приведена на рис. 3. Установка имеет специальный фиксатор, обеспечивающий при
подводе горелки в крайнее положение ее центральное расположение относительно
образца. Конструктивное исполнение установки позволяет осуществлять подвод и
удаление от образца горелки, исключая ее опрокидывание и другие нежелательные
перемещения. Расстояние от оси горелки до пластин составляет с левой стороны
(33 +/- 1) мм, с правой стороны - (52 +/- 1) мм. Высота расположения горелки
(34 +/- 1) мм. Для испытаний используется горелка с диаметром (1,0 +/- 0,1) мм
и бытовой газ пропан.

Рис. 3.
Принципиальная схема установки для определения
устойчивости к
воздействию открытого пламени:
а - вид с боку (при
испытаниях); б - вид сверху
(без образца);
1 - станина; 2 -
пластины; 3 - горелка; 4 - открытое
пламя; 5 - образец;
6 - гайки; 7 - направляющая пластина;
8 - гибкие трубки
для подачи газа; 9 - регулирующее
подачу газа
устройство; 10 - редуктор; 11 - баллон с
газом; 12 -
фиксатор положения горелки при испытаниях;
13 - вертикальные
стойки
10.10.5.3.
Подготовка к проведению испытаний.
Образец
закрепляется на левой стойке на высоте (50 +/- 2) мм
от основания установки, а на правой - на высоте (186 +/- 2) мм. Испытаниям
подвергается наружная сторона материалов.
Открывают баллон с
газом и после зажигания горелки с помощью
регулирующего подачу газа устройства устанавливают высоту пламени (110 +/- 10)
мм.
10.10.5.4. Методика
испытаний.
Горелку перемещают
к середине образца и включают секундомер. После воздействия открытого пламени
горелка отводится от образца.
Испытаниям
подвергается шесть образцов.
10.10.5.5. Оценка
результатов испытаний.
После проведения
испытаний материалов в течение 30 с не должно быть:
- воспламенения;
- остаточного
горения и тления более 2 с;
- разрушения
образца;
- уменьшения
линейных размеров образца в любом месте более чем на 10%;
- площади
поврежденной (оплавленной и обуглившейся) поверхности более 40 см2;
- потери массы
образца более 20%;
- сквозного
прогара;
- снижения
физико-механических показателей (разрывная нагрузка, раздирающая нагрузка по п.
6.4) ткани верха более чем на 60%.
10.10.6.
Определение кислородного индекса для материала верха СЗО ИТ
(п. 6.4).
Осуществляется по
ГОСТ 12.1.044.
10.10.7.
Определение водонепроницаемости материала верха СЗО ИТ
(пп. 5.2 и 6.4).
Осуществляется на
приборе, схема которого приведена на рис. 4.

Рис. 4.
Принципиальная схема установки для определения
водопроницаемости
материалов:
1 - сливной кран; 2
- кран для удаления воздуха из
испытательной
камеры; 3 - трубка для удаления воздуха
из испытательной
камеры, определения уровня воды в
испытательной
камере и слива; 4 - резиновые прокладки;
5 - образец или
пакет материалов; 6 - кольцо для зажима образца
или пакета
материалов; 7 - барашки; 8 - основание камеры;
9 - испытательная
камера; 10 - емкость с водой, создающая
давление на
образец; 11 - трубка для измерения давления на
образец; 12 - крепление
трубки со шкалой делений к емкости
с водой; 13 - краны
подачи воды в испытательную камеру;
14 - шкала делений
Испытаниям
подвергается не менее 5 образцов в форме круга диаметром (180 +/- 0,2) мм.
Прибор для
измерений должен быть герметичным и обеспечивать:
- создаваемое
давление до (1000 +/- 5) мм вод. ст.;
- плотный зажим
образцов.
Внутренний диаметр
зажимного приспособления - (113,0 +/- 0,5) мм.
После выдержки
наружной стороны образца с элементами швов, фурнитуры под давлением (1000 +/-
5) мм вод. ст. в течение (30
+/- 1) мин произвести осмотр поверхности образца. Считают, что образец выдержал
испытания, если на его внутренней поверхности полностью отсутствуют капли или
следы воды.
10.10.8.
Определение массы 1 м2 материала верха СЗО ИТ (п.
6.4).
Осуществляется по
ГОСТ 17073.
10.10.9.
Определение устойчивости к многократному изгибу материала СЗО ИТ (п. 6.4).
Осуществляется по
ГОСТ 8978.
10.10.10.
Определение прочности связи пленочного покрытия с основой материала верха СЗО ИТ (п. 6.4).
Осуществляется по
ГОСТ 17317.
10.10.11.
Определение морозостойкости материала верха СЗО ИТ (п.
6.4).
Осуществляется по
ГОСТ 15162.
10.10.12.
Определение истираемости материала верха СЗО ИТ (п. 6.4).
Осуществляется по
ГОСТ 8975.
10.10.13.
Определение жесткости материала верха СЗО ИТ (п. 6.4).
Осуществляется по
ГОСТ 8977.
10.10.14.
Определение разрывной нагрузки и удлинения при разрыве материала верха СЗО ИТ (п. 6.4).
Осуществляется по
ГОСТ 17316.
10.10.15.
Определение сопротивления раздиранию материала верха СЗО ИТ
(п. 6.4).
Осуществляется по
ГОСТ 17074.
10.10.16.
Определение усадки после намокания и высушивания материала верха СЗО ИТ (п. 6.4).
Осуществляется по
ГОСТ 8972.
10.10.17.
Определение прочности швов.
Для проверки
прочности швов (п. 5.10) используют образцы с расположением шва в центре по
всей ширине образца параллельно меньшим сторонам.
Образцы без
натяжения закрепляются в зажимы (на высоту зажимов) разрывной машины (с
расположением шва параллельно зажимам) таким образом, чтобы обеспечить
незакрепленную часть размером 70 х 50 мм. Далее при скорости движения зажимов
90 - 100 мм/мин прикладывается нагрузка до разрушения шва (его разрыва) для
фиксации максимального значения разрывного усилия.
11. МЕТОДЫ
ИСПЫТАНИЙ ПО СПЕЦИАЛЬНЫМ ТРЕБОВАНИЯМ
11.1. Агрессивостойкая одежда.
По показателю
определения устойчивости к воздействию кислот и щелочей (п. 9.1) заказчик
обязан представить заключение от специализированной организации, имеющей право
на выполнение работ в указанной области.
11.2. СЗО, используемая при выполнении работ, связанных с тушением и
ликвидацией аварий на АЭС.
По показателю
определения защиты от воздействия ионизирующего излучения (п. 9.2.4) заказчик
обязан представить заключение от специализированной организации, имеющей право
на выполнение работ в указанной области.
На испытания
представляется серийная партия СЗО ИТ, изготовленной в
соответствии с техническими условиями.
Время защиты при
воздействии окружающей среды с повышенной температурой (100
°С в течение не менее 20 мин, 200 °С в течение не менее 7 мин)
определяется временем достижения 50 °С на внутренней стороне пакета
(проверяется при проведении огневых полигонных испытаний).
12. ПОРЯДОК ПРОВЕДЕНИЯ ОГНЕВЫХ ПОЛИГОННЫХ ИСПЫТАНИЙ
Огневые полигонные
испытания должны проводиться на готовых изделиях в соответствии с методикой,
изложенной в Приложении 4, с целью:
1) определения и
сравнения основных защитных и эргономических показателей с серийно выпускаемой
СЗО ИТ (пп. 4.8; 9.2.4);
2) отработки
тактических приемов использования СЗО ИТ в натурных
условиях;
3) проверки
возможности самостоятельного контроля работающим
давления в баллоне дыхательного аппарата (п. 4.4);
4) проверки
обеспечения конструкцией СЗО ИТ возможности работы с
радиостанцией, дыхательными аппаратами со сжатым воздухом, ПТВ и т.д. (пп. 4.4 и 5.5);
5) проверки
видимости производственных загрязнений для используемого цветового решения СЗО ИТ (п. 5.6);
6) проверки
возможности быстрого визуального обнаружения пожарного в условиях ограниченной
видимости в задымленной зоне (на расстоянии до 5 м) или слабого освещения (п.
5.6);
7) проверки
обеспечения возможности конструкцией СЗО ИТ смены
рукавиц и спецобуви (п. 5.9);
8) проверки
обеспечения возможности визуального наблюдения работающим за клапаном сброса
избыточного давления (п. 5.11);
9) проверки
возможности обеспечения приема и передачи информации: звуковой, зрительной или
с помощью специальных устройств (п. 5.12);
10) проверки
возможности обеспечения конструкцией СЗО ИТ замены
наиболее часто выходящих из строя элементов одежды или изолирующего скафандра в
целом (п. 5.17);
11) проверки
эргономических и физиолого-гигиенических свойств СЗО ИТ
(раздел 7);
12) определения
обеспечения конструкцией иллюминатора скафандра постоянства углов обзора и
линейных размеров смотрового отверстия (п. 5.7).
13. ПОРЯДОК
ПРОВЕДЕНИЯ ЭКСПЛУАТАЦИОННЫХ ИСПЫТАНИЙ (п. 4.2)
Осуществляется в
соответствии с порядком, представленным в Приложениях 2 и 3.
Эксплуатационные
испытания осуществляются в порядке авторского надзора в подразделениях пожарной
охраны с целью определения срока службы СЗО ИТ и
проводятся на стадии разработки и постановки продукции на производство, а также
при типовых испытаниях.
14.
ТРЕБОВАНИЯ К МАРКИРОВКЕ, УПАКОВКЕ,
ТРАНСПОРТИРОВАНИЮ И
ХРАНЕНИЮ
14.1.
Транспортирование и хранение СЗО ИТ должно
производиться в соответствии с ГОСТ 10581.
14.2. Транспортная
маркировка - по ГОСТ 14192.
14.3.
Маркировка наносится на все составляющие в виде клейма несмываемой черной
краской со следующей информацией:
- наименование или
товарный знак предприятия-изготовителя;
- наименование и
условный размер изделия;
- вид СЗО ИТ согласно табл. 1;
- порядковый номер
изделия и дата его изготовления.
Сведения о
продукции, отражаемые на изделии и поясняющие порядок его применения, правила
безопасности и назначение функциональных деталей, должны быть исполнены на
русском языке.
(абзац введен Изменениями и дополнениями,
утв. Приказом ГУГПС МВД России от 25.12.1999 N 101)
14.4. На каждом
готовом изделии комплекта должно быть нанесено клеймо отдела технического
контроля предприятия-изготовителя, удостоверяющее его качество при серийном
производстве.
14.5. В
комплект поставки должна входить следующая документация:
- паспорт;
- техническое
описание;
- инструкция по
эксплуатации.
15. ВИДЫ
ИСПЫТАНИЙ СЗО ИТ
Содержание
различных видов испытаний СЗО ИТ, проводимых при
разработке и производстве изделий, приведено в табл. 7.
Таблица 7
┌────────────────┬──────────────────────┬────────────────────────┐
│
Вид испытаний │Проверяемые
параметры,│ Метод испытаний, номера│
│ │ номера пунктов │ пунктов
настоящих норм │
│ │ настоящих норм │ │
├────────────────┼──────────────────────┼────────────────────────┤
│Межведомственные│Разделы 5; 6; 7; 9; │10.2; 10.3; 10.4; 10.5; │
│ │4.4 - 4.9; │10.6; 10.7; 10.8; 10.9;
│
│ │8.2; 8.4 │10.10.2; 10.10.3; │
│ │ │10.10.4;
10.10.5; │
│ │ │10.10.6;
10.10.7; │
│ │ │10.10.8;
10.10.9; │
│ │ │10.10.10;
10.10.11; │
│ │ │10.10.12;
10.10.13; │
│ │ │10.10.14;
10.10.15; │
│
│ │10.10.16;
10.10.17; │
│ │ │11.1.1; 11.2;
раздел 12 │
├────────────────┼──────────────────────┼────────────────────────┤
│Периодические │4.8; 5,4; 5.7; │10.4; 10.5; 10.9; │
│ │5.10; 5.15; 6.2; │10.10.2; 10.10.3; │
│ │6.4; 7.1; 7.2; │10.10.4; 10.10.5; │
│ │9.1.1; 9.2.2; 9.2.4 │10.10.6; 10.10.7; │
│ │ │10.10.8;
10.10.9; │
│ │ │10.10.10;
10.10.11; │
│ │ │10.10.12;
10.10.13; │
│ │ │10.10.14;
10.10.15; │
│ │ │10.10.16; 10.17; 11.1.1;│
│ │ │11.2; раздел
12 │
├────────────────┼──────────────────────┼────────────────────────┤
│Типовые │Разделы 5; 6; 7; 9; │10.2; 10.3; 10.4; 10.5; │
│ │4.4 - 4.9; │10.6; 10.7; 10.8; 10.9;
│
│ │8.2; 8.4 │10.10.2; 10.10.3; │
│ │ │10.10.4;
10.10.5; │
│ │ │10.10.6;
10.10.7; │
│ │ │10.10.8;
10.10.9; │
│ │ │10.10.10;
10.10.11; │
│ │ │10.10.12;
10.10.13; │
│ │ │10.10.14;
10.10.15; │
│ │ │10.10.16;
10.10.17; │
│ │ │11.1.1; 11.2;
раздел 12 │
├────────────────┼──────────────────────┼────────────────────────┤
│Сертификационные│4.4;
4.8; 5.1; 5.3; │12 в, г, ж, и, к
│
│ │5.4; 5.5; 5.7; 5.9; │10,3; 10.4; 10.5; 10.7; │
│ │5.10; 5.12; 6.2; 6.4;
│10.9; 10.10.2; 10.10.3; │
│ │7.1; 7.2; 9.1; 9.2.4;
│10.10.4; 10.10.5; │
│ │14.3 - 14.5 │10.10.6; 10.10.7; │
│ │ │10.10.8;
10.10.9 │
├────────────────┼──────────────────────┼────────────────────────┤
│Выходной
кон- │5.1; 5.7; 5.10; 5.13;
│10.5; 10.8; 10.9; │
│троль на пред-
│5.14; 5.15; 6.5; 7.1; │10.10.2; 10.10.3; │
│приятии
│9.1.1; 9.2.2; 9.2.4;
│10.10.4; 10.10.5;
│
│ │9.2.5 │10.10.6; 10.10.7; │
│ │ │10.10.8;
10.10.9; │
│ │ │10.10.10;
10.10.11; │
│ │ │10.10.12;
10.10.13; │
│ │ │10.10.14;
10.10.15; │
│ │ │10.10.16;
10.10.17; │
│ │ │11.1; раздел
12 │
└────────────────┴──────────────────────┴────────────────────────┘
Приложение
1
(обязательное)
ПОРЯДОК
ПОДГОТОВКИ МАТЕРИАЛОВ К ИСПЫТАНИЯМ
Все виды
испытаний необходимо осуществлять после приведения материалов к воздушно-сухому
состоянию, т.е. после выдерживания до постоянного веса в помещении, в котором
поддерживается температура воздуха (20 +/- 5) °С и относительная влажность (65
+/- 15)%.
Для приведения к
воздушно-сухому состоянию материалы размещают в помещении таким образом, чтобы
к ним был обеспечен свободный доступ воздуха. Если естественный обмен воздуха
слабый, то целесообразно усилить циркуляцию воздуха искусственным путем.
Для установления
момента доведения материала до воздушно-сухого состояния пользуются
техническими весами, взвешивая на них материал через определенные промежутки
времени. Материал считается приведенным к воздушно-сухому, если два
последовательных взвешивания, произведенных с промежутком 2 ч, не будут
различаться более чем на 0,2%.
Если материал
поступил с заметно большим содержанием влаги, то для
ускорения процесса приведения к воздушно-сухому состоянию целесообразно
предварительно подсушить его при температуре от 30 до 40 °С.
Приложение
2
(обязательное)
ПОРЯДОК
ПРОВЕДЕНИЯ ЭКСПЛУАТАЦИОННЫХ
ИСПЫТАНИЙ СЗО ИТ
Эксплуатационные
испытания СЗО ИТ должны проводиться в подразделениях
пожарной охраны с целью получения замечаний практических работников по основным
защитным характеристикам и определения возможных путей доработки СЗО ИТ по
конструкции и используемым материалам. Для проведения эксплуатационных
испытаний разрабатывается программа и методика испытаний (для каждого
конкретного вида СЗО ИТ отдельно), которая
согласовывается с заказчиком и потребителем продукции.
Программа и
методика испытаний должны содержать следующие основные разделы:
- введение;
- цель испытаний;
- объект испытаний;
- условия и
организация испытаний.
Во введении излагается
основание для проведения испытаний.
В разделе
"Цель испытаний" отмечается, что они проводятся для проверки
соответствия требованиям НПБ, технических условий и другой нормативной
документации.
В разделе
"Объект испытаний" дается описание СЗО ИТ
(количество, конструктивное исполнение, используемые при изготовлении материалы
и защитные элементы). В разделе также указывается предприятие-изготовитель и
дается ссылка на нормативную и техническую документацию на производство, в
соответствии с которой СЗО ИТ изготовлена.
В разделе
"Условия и организация испытаний" определяются сроки их проведения,
лица, ответственные за проведение испытаний, подразделения, в которых будут
проводиться испытания. Каждому комплекту СЗО ИТ
присваивается свой номер и заводится карточка эксплуатационных испытаний
(Приложение 3), которая заполняется после проведения различных видов работ на
пожаре.
По результатам
эксплуатационных испытаний составляется протокол, в котором отражаются описание
объекта испытаний, продолжительность и условия проведения испытаний, результаты
осмотра СЗО ИТ и опроса личного состава, а также
делаются выводы о том, выдержала или нет СЗО ИТ испытания, определяются пути ее
доработки.
Для каждого
комплекта в результате осмотра СЗО ИТ указываются:
- имеющиеся нарушения
целостности наружного слоя СЗО ИТ и причины их
возникновения (воздействие низких температур и воды, агрессивных сред,
нефтепродуктов, повышенных температур, тепловых потоков, кратковременного
контакта с открытым пламенем и нагретыми твердыми поверхностями и т.д.);
- пригодность к
дальнейшей носке.
В выводах
практических работников отмечается следующее:
- проведены ли
испытания в полном объеме программы и методики;
- количество
выездов на пожары и общее время использования СЗО ИТ
при работе;
- возможность
дальнейшей эксплуатации;
- обобщенные отзывы
практических работников и рекомендации по доработке конструктивного исполнения
СЗО ИТ и применяемых материалов;
- рекомендации по
использованию в данной климатической зоне;
- соответствует ли
объект испытаний требованиям НПБ или другой нормативной документации
и выдержали изделия испытания или нет.
Приложение
3
(обязательное)
КАРТОЧКА
ЭКСПЛУАТАЦИОННЫХ ИСПЫТАНИЙ
СПЕЦИАЛЬНОЙ
ЗАЩИТНОЙ ОДЕЖДЫ
ПОЖАРНЫХ
ИЗОЛИРУЮЩЕГО ТИПА (СЗО ИТ)
СЗО
ИТ N
Дата начала эксплуатации: Ф.И.О. испытателя:
┌────┬──────┬────────────────────┬──────────────┬─────────────────────┬─────────────┐
│Дата│Виды
│Описание воздействия│
Время │Описание
результатов │Мнение испы- │
│ │прово-│на СЗО ИТ неблаго- │
воздействия │осмотра
(характер │тателя
о дос-│
│ │димых
│приятных и опасных │ │нарушения целостности│таточности и │
│ │работ │факторов в условиях
│ │СЗО ИТ и т.д.) и ощу-│(необходимо-
│
│ │
│тушения пожара -
│ │щений испытателя
│сти увеличе-
│
│ │
│агрессивных сред,
│
│(обеспечение комфорт-│ния) защиты │
│ │
│высоких и низких
│ │ных условий; если они│от неблаго- │
│ │
│температур и т.д.
├──────┬───────┤не
были обеспечены, │приятных │
│ │
│ │начало│оконча-│то в чем заключался
│факторов │
│
│ │ │ │ние │дискомфорт) │ │
├────┼──────┼────────────────────┼──────┼───────┼─────────────────────┼─────────────┤
│
1 │ 2
│ 3 │ 4
│ 5 │ 6 │ 7
│
├────┼──────┼────────────────────┼──────┼───────┼─────────────────────┼─────────────┤
│ │
│
│ │ │ │ │
Приложение
4
(обязательное)
ЕДИНАЯ МЕТОДИКА
ОГНЕВЫХ ПОЛИГОННЫХ
ИСПЫТАНИЙ
СПЕЦИАЛЬНОЙ
ЗАЩИТНОЙ ОДЕЖДЫ ПОЖАРНЫХ ПО ПРОВЕРКЕ
ЭКСПЛУАТАЦИОННЫХ
ПОКАЗАТЕЛЕЙ
4.1. Введение.
4.1.1. Настоящая
методика устанавливает объем и порядок проведения испытаний специальной
защитной одежды (СЗО) пожарных по эксплуатационным показателям.
Понятие
эксплуатационные показатели является интегральным и включает в себя:
- показатели
защиты;
- показатели
надежности;
- показатели
эргономики;
- показатели физиолого-гигиены.
4.1.2. Огневые
полигонные испытания являются составной частью межведомственных приемочных и
сертификационных испытаний.
4.1.3. Настоящая
методика определяет:
- единый порядок
проведения испытаний как серийно выпускаемых изделий, так и вновь
разрабатываемых;
- общие показатели,
проверяемые при проведении испытаний СЗО;
- различные виды
испытаний (камерные и полигонные);
- единый порядок
оформления результатов испытаний;
- общие требования
техники безопасности при проведении испытаний.
4.1.4. Настоящая
методика может быть использована при разработке ГОСТ и НПБ (Норм пожарной
безопасности) на методы испытаний спецодежды пожарных, программ испытаний
применительно к конкретным видам СЗО и месту испытаний (полигон, термокамера и т.п.).
4.1.5. К испытаниям
допускается СЗО, изготовленная в соответствии с
имеющейся нормативно-технической документацией (НТД), представляемой вместе с
изделием.
4.2. Объект
испытаний.
4.2.1. Объектом
испытаний являются различные типы СЗО, предназначенной для защиты от опасных и
вредных факторов пожара, а также от опасных производственных факторов и
неблагоприятных климатических воздействий.
4.2.2. Объектом
испытаний может быть СЗО, используемая в пожарной
охране, предлагаемая к использованию изготовителем (в том числе зарубежными
фирмами), а также разрабатываемая по заданию ГУГПС МВД России или в
инициативном порядке.
4.3. Цель
испытаний.
Испытания, согласно
настоящей методике, проводятся с целью:
- определения
соответствия основных защитных, эргономических и физиолого-гигиенических
показателей изделия требованиям нормативно-технической документации, ГОСТ и
т.п., а также определения возможных путей его доработки (при необходимости);
- отработки тактических
приемов использования СЗО в натурных условиях;
- сравнения
эксплуатационных показателей разрабатываемых изделий с серийно выпускаемой
отечественной СЗО пожарных и зарубежными аналогами;
- сбора
статистических данных для определения надежности СЗО пожарных;
- сбора и обработки
полученной информации для включения в ремонтную и эксплуатационную документацию
на изделие.
4.4. Отбор
образцов.
4.4.1. Для
проведения испытаний СЗО отбор образцов осуществляется в соответствии с
требованиями НТД на испытываемое изделие.
4.4.2. В случае
отсутствия в НТД сведений по объему выборки из технической партии изделий
отбирается произвольное количество образцов (по согласованию между заказчиком,
изготовителем и потребителем), зависящее от объема испытаний, вида изделия,
требований боевого устава пожарной охраны, требований техники безопасности и
т.д., но не менее трех.
4.4.3. При
формировании выборки используется принцип случайного отбора образцов.
4.4.4. Перед
проведением испытаний образцы должны быть кондиционированы (выдержаны) в
течение 24 ч при температуре 20 °С и относительной
влажности не более 60%.
4.4.5. В процессе
всего периода испытаний образцы СЗО должны храниться в соответствии с
требованиями, указанными в НТД на испытываемое изделие.
4.5. Методы и
процедура испытаний.
4.5.1. Общие
положения.
4.5.1.1. Испытания
организует и проводит ВНИИПО МВД России совместно с разработчиком, заказчиком и
потребителем продукции.
В испытаниях,
независимо от места их проведения, вправе принять участие изготовитель и
органы, осуществляющие надзор за безопасностью, охраной здоровья и природы. По
требованию заказчика или по решению разработчика проведение испытаний может
быть поручено специализированной испытательной организации (испытательному
центру) или изготовителю.
4.5.1.2.
Перед началом испытаний производится отбор испытателей-добровольцев и
страховщиков. Исследуется состояние их здоровья, измеряются физиологические и антропометрические
показатели, определяется их тепловая устойчивость.
Показатели не
должны превышать следующих величин:
температура тела (аксиллярная), °С
...................... 36,8
частота
пульса, уд/мин .................................... 80
артериальное давление, мм рт. ст ........... 120 - 130/60 - 80
4.5.1.3. Допуск
испытателя к работе в СЗО может разрешить только врач-физиолог, о чем делается
соответствующая запись в формуляре испытаний (Приложение 4.1).
4.5.1.4. После
медицинского обследования с испытателями, страховщиками и бригадой,
обслуживающей испытания, проводится инструктаж, в ходе которого каждой группе
лиц ставятся задачи, указывается подробно порядок их выполнения, изучаются
вопросы техники безопасности (ТБ).
Инструктаж проводит
руководитель испытаний под роспись в специальном журнале (Приложение 4.2).
4.5.1.5. Перед
испытаниями с испытателями проводят занятия по изучению конструкции, а также
технического описания и инструкции по эксплуатации изделия.
4.5.1.6. Контроль за физическим состоянием испытателей осуществляется
с помощью радиотелеметрических систем, которые регистрируют частоту сердечных
сокращений, температуру тела и другие показатели состояния организма человека.
В случае их отсутствия контроль sa физическим
состоянием осуществляется субъективно (визуально или по самочувствию
испытателей), а также замером частоты пульса и артериального давления после
выполнения комплекса упражнений, замером физиологических показателей во время
специальных перерывов (отдыха).
4.5.1.7. В процессе
испытаний с испытателями постоянно поддерживается связь с помощью носимых
радиостанций.
4.5.1.8. Испытания
по проверке эксплуатационных показателей СЗО включают в себя:
- рассмотрение
документации;
- проверку внешнего
вида;
- тренировочные
занятия - проверку эргономических показателей;
- испытания на
манекене (при необходимости);
- испытания с
участием испытателей-добровольцев.
4.5.1.9.
Рассмотрение документации включает в себя определение соответствия ее
требованиям ГОСТов и других руководящих документов в части правильности
оформления, полноты содержания.
Техническая
документация должна включать в себя технические условия, паспорт, инструкцию по
эксплуатации, техническое описание или их проекты.
Кроме перечисленных
могут быть представлены другие документы по усмотрению сторон.
4.5.2. Внешний
осмотр СЗО и определение готовности его к испытаниям.
4.5.2.1. При
внешнем осмотре определяется качество изготовления изделия, комплектность,
масса комплекта, целостность швов, общий внешний вид. По результатам внешнего
осмотра делается вывод о готовности изделия к испытаниям.
4.5.2.2. О
готовности изделий и дыхательных аппаратов (при необходимости их применения с
СЗО) делается запись в формуляре испытаний (Приложение 4.1).
4.5.3. Проверка
эргономических показателей.
Проверка
эргономических показателей осуществляется на основе требований
"Наставления по пожарно-строевой подготовке", "Боевого устава
пожарной охраны", "Наставления по ГДЗС".
4.5.3.1. Проверка
эргономических показателей включает в себя проведение тренировочных занятий:
одевание испытателей в СЗО и выполнение физических упражнений с целью адаптации
испытателей (приседания, наклоны туловища вперед и вбок, попеременные маховые движения
руками и ногами, ходьба). При этом обращается внимание на удобство одевания и
снятия СЗО в комплекте с дыхательным аппаратом, удобство пользования и
надежность фурнитуры.
При помощи
секундомера замеряется время экипировки испытателя в СЗО с ассистентами или без
них в зависимости от вида изделия.
4.5.3.2. При проверке эргономических показателей определяется возможность
выполнения в СЗО различных видов работ от легкой до тяжелой, включая следующие
ее разновидности: открывание и закрывание вентилей (задвижек) на трубопроводах,
стропальные работы, вскрытие и разборка строительных
конструкций, эвакуация (спасание) испытателя из условной опасной зоны, работа с
различными видами пожарно-технического вооружения (ПТВ), а также проведение
боевых развертываний от АЦ (АНР) с прокладкой рукавных линий и подачей
стволов и т.д.
СЗО должна
позволять выполнять указанные виды работ на поверхностях с углом наклона к
горизонту до 20°, загроможденных различными предметами и элементами
строительных конструкций, а также другими препятствиями в виде наземных
трубопроводов, ограждений, бортиков и т.д.
При отработке
варианта спасания один из испытателей имитирует падение, а двое других
осуществляют его эвакуацию из опасной зоны.
Обязательно
выполнение работ, связанных с преодолением маршевых лестниц, подъемом и спуском
по приставным лестницам, трапам, мостикам и т.д.
4.5.3.3. Все
упражнения выполняются в составе звена не менее трех человек, а при боевом
развертывании АЦ (АНР) экипируется все отделение.
4.5.3.4. При
проверке эргономических показателей обращается внимание на удобство выполнения
тех или иных движений: поднятие тяжестей, подъем ног, рук, поворот головы
(обзорность), быстроту ходьбы, бега, а также различных движений, связанных с
работой дыхательного аппарата и радиостанции.
4.5.3.5. После
завершения указанных упражнений испытатели снимают СЗО, выключаются из
дыхательного аппарата (при работе в нем) и проходят медицинское
освидетельствование. У них замеряется частота пульса, артериальное давление,
температура тела (аксиллярная) и масса тела.
Допустимые значения
показателей:
температура тела, °С не более
........................... 37,8
частота
пульса, уд/мин, не более ......................... 170
артериальное давление, мм рт. ст. ..........
160 - 180/50 - 80
4.5.3.6. Далее
проводится опрос испытателей об их субъективных ощущениях, оценках показателей
СЗО и визуальный осмотр изделий. В процессе опроса должно быть констатировано,
что испытатели адаптировались к работе в СЗО и готовы к продолжению испытаний.
4.5.3.7. Перечень
выполненных работ, данные медицинского обследования и субъективная оценка
испытателя испытываемого изделия заносится в формуляр (Приложение 4.1),
заполняемый на каждого испытателя.
4.5.3.8. На каждый
образец СЗО заводится формуляр, в котором указывается: дата, условия испытаний,
виды выполненных работ и время, а также результаты визуального осмотра после
испытаний (Приложение 4.3).
4.5.4. Испытания
СЗО пожарных на манекене.
4.5.4.1. Испытания
на манекене могут проводиться как в камере, так и в полигонных условиях.
Испытания на
манекене проводятся в случае, когда это необходимо по соображениям техники
безопасности, перед проведением испытаний с участием испытателей-добровольцев.
Цель испытаний на
манекене - проверка защитных показателей СЗО по температуре подкостюмного
пространства.
4.5.4.2. Манекен
экипируется в СЗО, а также необходимое снаряжение и дыхательную аппаратуру в
зависимости от вида изделия.
Экипированный в СЗО
манекен устанавливается на специальном стенде для термических испытаний и крепится
специальными скобами (рис. 4.1 и 4.2).

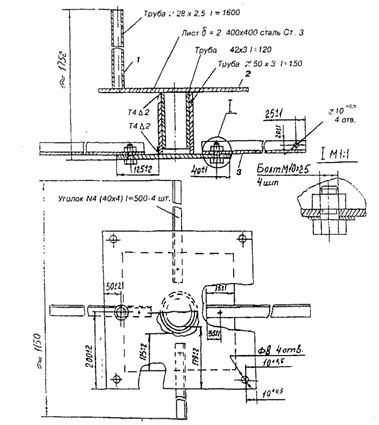
Рис. 4.1. Стенд для
термических испытаний:
1 - стойка; 2 -
поворотная площадка с отверстиями для
тросов; 3 -
крестовина

Рис. 4.2. Стенд для
термических испытаний:
1 - труба диаметр
28 х 2,5; l = 1600 (1 шт.);
2 - лист сигма = 2;
400 х 400; ст. 3 (1 шт.); 3 - труба
диаметр 42 х 3; l =
130 (1 шт.); 4 - труба диаметр 50 х 3;
l = 150 (1 шт.); 5
- лист сигма = 2; 300 х 300;
ст. 3 (1 шт.); 6 -
уголок N 4 (4 шт.); 7 - болт М10 х 25
с гайкой М10 (4
шт.)
4.5.4.3. Для контроля за температурой в подкостюмном
пространстве на манекене устанавливаются термоэлектрические преобразователи
типа ХА или ХК (с диаметром не более 0,5 мм и диапазоном измерений от 0 до 200
°С) в точках, соответствующих точкам для измерения средневзвешенной температуры
кожи человека (см. таблицу).
Примечание. Метод
установки термоэлектрических преобразователей должен обеспечивать их плотное
прилегание к поверхности манекена.
Таблица
|
Номер термопары
|
Место установки на манекене
|
|
1
|
Лоб
|
|
2
|
Грудь
|
|
3
|
Живот
|
|
4
|
Поясница
|
|
5
|
Спина
|
|
6
|
Предплечье
|
|
7
|
Плечо
|
|
8
|
Кисть
|
|
9
|
Бедро
|
|
10
|
Стопа
|
|
11
|
Голень
|
Значения температур
регистрируются при помощи потенциометра (класс точности не более 0,5 и диапазон
измерений от 0 до 200 °С), прибора типа А-565 (класс точности 0,1 и диапазон
измерений от 0 до 1200 °С) или других приборов аналогичного назначения и класса
точности. Место вывода термопар из подкостюмного
пространства дополнительно теплоизолируется.
4.5.4.4. При
достижении необходимых показаний температур и теплового потока (согласно НТД) в
рабочей зоне устанавливается поворотный кронштейн с манекеном, экипированным в
СЗО.
Значения температур
окружающей среды фиксируются термоэлектрическими преобразователями (ХК или ХА
диаметром не более 0,5 мм) с выводом значений на потенциометр типа КСП-4 (класс
точности не более 0,5) или на прибор типа А565 (класс точности 0,1).
Уровень теплового
потока измеряется при помощи неселективных датчиков теплового потока (ДТП),
результаты выводятся на милливольтметр (А565) с классом точности 0,1.
Схема установки
манекена и регистрирующей аппаратуры показана на рис 4.3.

Рис. 4.3. Схема
испытаний костюма на манекене:
1 - манекен; 2 -
датчики тепловых потоков;
3 -
термоэлектрические преобразователи на вешках;
4 - измерительная
аппаратура
4.5.4.5. Во время
опыта осуществляется контроль за ростом температуры в подкостюмном пространстве, регистрируется время.
4.5.4.6. Для контроля за состоянием изделия и манекена в процессе каждого
опыта проводится не менее трех контрольных заходов в рабочую зону лиц,
обслуживающих испытания, экипированных в теплоотражательные
(теплозащитные) комплекты с использованием дыхательных аппаратов.
4.5.4.7. При достижении
в любой точке подкостюмного пространства температуры
50 °С опыт прекращается и кронштейн с манекеном
выносится из рабочей зоны. Контроль за изменением
температуры в подкостюмном пространстве продолжается
до тех пор, пока температура не начнет снижаться.
4.5.4.8. После
окончания опыта изделие снимается с манекена и проводится его визуальный осмотр
с целью выявления термических разрушений и определения возможности проведения
дальнейших его испытаний.
4.5.4.9. При
положительных результатах испытаний на манекене и готовности СЗО к дальнейшим
опытам проводятся испытания изделия с участием испытателей-добровольцев.
Решение о проведении испытаний с участием испытателей-добровольцев принимает
руководитель испытаний.
4.5.5. Испытания
СЗО пожарных с участием испытателей-добровольцев.
4.5.5.1. При
создании в рабочей зоне (камера, полигон и т.д.) контрольных условий
испытатели, экипированные в СЗО (при выполнении п. 4.5.1.2 настоящей методики),
заходят в рабочую зону и находятся там до окончания опыта, время которого
определяется:
- показаниями
телеметрической системы (при ее использовании);
- субъективными
ощущениями испытателя;
- израсходованием
запаса кислорода (воздуха) в дыхательном аппарате;
- достижением
времени защитного действия СЗО, определенного НТД на изделие;
- сроком выполнения
поставленной задачи.
4.5.5.2. Во время
нахождения в рабочей зоне испытатели выполняют комплекс физических упражнений:
приседания, наклоны туловища вперед и вбок, попеременные маховые движения
руками и ногами, ходьбу, подъем и перенос тяжестей, включая работу с ПТВ и
боевое развертывание.
4.5.5.3. При работе
испытателей физическая нагрузка должна чередоваться с отдыхом, за время
которого проводится медицинское обследование испытателей.
Примерный режим
работы испытателей в изолирующих средствах индивидуальной защиты тяжелого типа
(ТК-800, костюм для пожарных, охраняющих АЭС, термоагрессивостойкий
костюм и т.п.):
- спокойная ходьба
- 3 мин;
- работа с ПТВ - 4
мин;
- отдых стоя (медицинский контроль) - 2 мин;
- вращение маховика
(штурвала) задвижки - 2 мин;
- стропальные работы (крепление троса к задвижке) - 2 мин;
- ходьба с
переноской груза - 4 мин;
- отдых стоя (медицинский контроль) - 2 мин;
- вынос
пострадавшего из опасной зоны - 2 мин;
- тушение пожара
(работа с ручными пожарными стволами, пеногенераторами
и т.п.) - 5 мин;
- отдых стоя (медицинский контроль) - 2 мин.
Нарастание частоты
пульса после проведения испытаний не должно превышать 170 уд/мин.
Если за это время у
испытателя физиологические показатели не достигли
предельно допустимых величин, то работа продолжается снова в том же порядке.
При нормальном
течении опыта команду на выход испытателей из рабочей зоны дает руководитель
испытаний.
4.5.5.4. Испытания
немедленно прекращают в случае возникновения непредвиденных обстоятельств,
которые могут представлять опасность для испытателей и присутствующих на
испытаниях людей.
4.5.5.5. После
выхода из рабочей зоны испытатели снимают спецодежду и у них измеряют
физиологические показатели: частоту пульса, температуру тела (аксиллярную), артериальное давление и влагопотери.
Записывают остаточное давление кислорода (воздуха) в баллоне дыхательного
аппарата.
4.5.5.6. Проводится
опрос испытателей об их самочувствии, условиях работы в СЗО, субъективных
оценках и ощущениях, а также визуальный осмотр изделий.
4.5.5.7. Результаты
испытаний, медицинских показаний, опроса испытателей и осмотра изделий
заносятся в формуляры (Приложения 4.1 и 4.5).
4.6. Средства
испытаний.
4.6.1. Камерные
испытания проводятся в лабораторной камере "Неман" или другой
аналогичной камере, не уступающей по своим характеристикам данной:
длина, м ............................................... 2,3
ширина, м .............................................. 2,3
высота, м .............................................. 1,9
температурный режим камеры, °С ................ -70 ... +300
погрешность измерений, % ................................. 1
4.6.2. Для замера
температуры газовоздушной среды и температуры в подкостюмном пространстве используют термоэлектрические
преобразователи типа ХК (ХА), диаметр которых не более 0,5 мм. Температура
регистрируется на потенциометре КСП-4 с классом точности 0,5, на приборе типа
А-565 с классом точности 0,1 либо другой аналогичной регистрирующей
аппаратурой. Термоэлектрические преобразователи для защиты от теплового потока
экранируются металлизированной тканью.
4.6.3.
Поверхностная плотность теплового потока измеряется при помощи неселективных
датчиков теплового потока (ДТП), выведенных на милливольтметр (А-565) с классом
точности 0,1.
4.6.4. Замеры
физиологических и антропометрических показателей осуществляются при помощи
стандартного медицинского оборудования.
4.6.5. Время
испытаний регистрируется при помощи секундомера с точностью измерений +/- 0,1
с.
4.6.6. В процессе
испытаний для связи с испытателями используются штатные радиостанции.
4.6.7. В качестве
дыхательных аппаратов используются кислородно-изолирующие противогазы (КИП-8) и
аппараты, работающие на сжатом воздухе типа АСВ-2 (АИР-317).
4.6.8. При
проведении испытаний используется фото- и видеосъемка.
4.6.9. В процессе
испытаний допускается использовать другие средства испытаний аналогичного
назначения, обеспечивающие данную точность измерения проверяемых параметров.
4.6.10. Испытания
СЗО пожарных по проверке эксплуатационных показателей осуществляются на любом
полигоне или любом приспособленном для этих целей месте, имеющем необходимое
оборудование и тренажеры, с использованием вышеописанных средств измерения в
соответствии с назначением спецодежды, указанным в НТД.
4.6.11. Все
средства испытаний должны пройти метрологический контроль и быть аттестованы.
4.7. Условия
испытаний.
4.7.1. Испытания
проводятся при температуре газовоздушной среды и
тепловых потоках, указанных в НТД на испытываемое изделие.
4.7.2. В случае
отсутствия в НТД климатических условий эксплуатации испытания проводятся по
значениям показателей на аналогичные серийно выпускаемые изделия.
4.8. Представление
данных испытаний.
4.8.1. На каждого
испытателя заводится формуляр (Приложение 4.1), который содержит:
- данные об
испытателе (Ф.И.О., возраст, степень тренированности);
- данные о СЗО;
-
антропометрические и физиологические данные до и после испытания;
- данные о
дыхательном аппарате;
- условия и место
проведения испытаний;
- перечень
выполненных работ;
- результаты опроса
испытателей.
4.8.2. Результаты
измерений антропометрических и физиологических показателей до и после испытаний
сводятся в таблицы (Приложение 4.4).
4.8.3. Результаты
замеров температуры и теплового потока сводятся в таблицы и составляются
графики изменения данных величин во времени (Приложение 4.5).
4.8.4.
Представляются результаты фото- и видеосъемки.
4.9. Оформление
результатов испытаний.
4.9.1. Полученные
результаты испытаний представляются в протоколе испытаний в виде описания
условий эксперимента, таблиц, графиков, формуляров, фотографий и выводов
(Приложение 4.6).
4.9.2. Протокол
испытаний подписывается лицом, ответственным за проведение испытаний,
утверждается руководством института и направляется для принятия решения в ГУГПС
МВД России.
4.10. Требования
безопасности и охраны окружающей среды.
4.10.1. Все
участники испытаний проходят общий инструктаж по правилам техники безопасности
и расписываются в специальном журнале инструктажа по ТБ (Приложение 4.2).
4.10.2.
Ответственность за организацию работ по обеспечению ТБ при проведении испытаний
несет руководитель испытаний или лицо, назначенное приказом на проведение
испытаний.
Перед началом
испытаний он обязан:
-
проинструктировать личный состав о порядке проведения испытаний и уточнить
функции всех участников испытаний;
- установить единый
сигнал оповещения людей об опасности;
- получить
заключение врача и опросить участников испытания о состоянии здоровья;
- проверить
исправность технологического и измерительного оборудования, а также средств
пожаротушения и дыхательных аппаратов;
- определить
совместно с испытателями и страховщиками пути выхода из опасной зоны.
4.10.3. Испытания
СЗО пожарных по проверке эксплуатационных показателей должны проводиться на
специально оборудованных и предназначенных для данных целей полигонах или
приспособленных для этого местах при выполнении требований ТБ.
4.10.4. В качестве
испытателей допускаются лица, имеющие практический опыт работы в условиях
повышенных температур, со стажем работы в пожарной охране не менее трех лет и
допущенные по состоянию здоровья к работе в средствах индивидуальной защиты
органов дыхания в соответствии с приказом МВД России от 2 октября 1995 года N
370.
4.10.5. Для
имитации пожара разрешается применять нетоксичные огнеопасные жидкости.
4.10.6. Не
допускается растекание жидкости на путях движения личного состава.
4.10.7. Наполнение
оборудования и лотков нефтепродуктами разрешается проводить только после их
охлаждения.
4.10.8. Зажигание
осуществляется с помощью факела длиной не менее 1 м.
4.10.9. Все
измерительные приборы, датчики, соприкасающиеся с кожей человека, подвергаются
мойке и дезинфекции спиртом после каждого применения.
4.10.9.1.
Обслуживающий персонал, а также регистрирующая аппаратура должны находиться в
безопасной зоне и защищаться специальным экраном.
4.10.10.
Дыхательные аппараты дезинфицируются и проверяются согласно требованиям
Наставления по газодымозащитной службе в пожарной
охране.
Контроль за расходом кислорода (воздуха) в дыхательном аппарате осуществляется в
процессе испытания каждым испытателем индивидуально или ответственным за
технику безопасности.
4.10.11. На каждого
испытателя выделяется по два страховщика, экипированных в СЗО (боевая одежда
или ТОК в зависимости от условий испытаний). Страховщики занимают
возможно близкую к испытателю позицию (вне опасной зоны) и наблюдают за его
работой. При необходимости безотлагательно приступают к эвакуации испытателя.
4.10.12. Для общей
страховки, контроля за обстановкой и оказания
экстренной помощи пострадавшим выставляется пост безопасности - пожарный
автомобиль с боевым расчетом, экипированным в СЗО, с проложенной рукавной
линией на два ствола ГПС-600 в непосредственной близости от опасной зоны. Перед
испытаниями пожарный автомобиль должен быть проверен на подачу пены.
ПРИЛОЖЕНИЯ
к Единой методике
огневых полигонных испытаний
специальной
защитной одежды пожарных по проверке
эксплуатационных
показателей
Приложение
4.1
ФОРМУЛЯР
испытания
спецодежды пожарных
"__" ___________199 г.
1. Данные
о СЗО: _____________________________________________
__________________________________________________________________
__________________________________________________________________
2. Данные
о дыхательном аппарате: ____________________________
__________________________________________________________________
3. Данные
об испытателе:
Ф.И.О.
_______________________________________________________
Возраст
____________________ Рост _______________________
Стаж
работы в пожарной охране, лет ___________________________
Степень
тренированности при высоких температурах _____________
┌─────────────────────────────────┬──────────────┬───────────────┐
│Медицинские показатели │ До испытания
│После испытания│
├─────────────────────────────────┼──────────────┼───────────────┤
│Температура тела, °С │ │ │
├─────────────────────────────────┼──────────────┼───────────────┤
│Частота пульса, уд/мин │ │ │
├─────────────────────────────────┼──────────────┼───────────────┤
│Артериальное давление, мм
рт. ст.│ │ │
├─────────────────────────────────┼──────────────┼───────────────┤
│Масса тела, кг │ │ │
├─────────────────────────────────┼──────────────┼───────────────┤
│Потоотделение, кг │ │ │
└─────────────────────────────────┴──────────────┴───────────────┘
4. Место и
условия испытаний
Место
испытаний: _____________________________________________
__________________________________________________________________
Температура воздуха, °С
______________________________________
Давление в
дыхательном аппарате, атм:
- до
испытания _______________________________________________
- после
испытания ____________________________________________
5. Запись
наблюдений
┌─────┬────────────────────────┬─────────────────┬───────────────┐
│Номер│ Вид работы │Продолжительность│Частота
пульса,│
│ п/п │ │
работы, мин │ уд/мин
│
├─────┼────────────────────────┼─────────────────┼───────────────┤
│
1 │ 2 │ 3
│ 4 │
├─────┼────────────────────────┼─────────────────┼───────────────┤
│
│ │ │ │
│
│
│
│ │
│
│
│
│ │
6.
Страховщики
┌─────┬────────────────────────────────────┬─────────────────────┐
│Номер│ Ф.И.О. │ Подпись │
│ п/п │
│
│
├─────┼────────────────────────────────────┼─────────────────────┤
│
1 │ 2 │ 3 │
├─────┼────────────────────────────────────┼─────────────────────┤
│
│
│
│
│
│
│
│
│
│ │ │
7.
Дополнительные данные:
костюм ______________________________________ к
работе подготовлен
дыхательный аппарат _________________________ к
работе подготовлен
8.
Результаты внешнего осмотра СЗО после испытаний:
__________________________________________________________________
__________________________________________________________________
__________________________________________________________________
__________________________________________________________________
__________________________________________________________________
__________________________________________________________________
__________________________________________________________________
9.
Замечания испытателя по результатам работы в СЗО:
__________________________________________________________________
__________________________________________________________________
__________________________________________________________________
__________________________________________________________________
__________________________________________________________________
__________________________________________________________________
__________________________________________________________________
__________________________________________________________________
Испытатель _________________________________ (_______________)
С инструкцией
по эксплуатации СЗО
и правилами техники
безопасности ознакомлен
________________________ (_______________)
Заключение
врача:
По
состоянию здоровья испытатель ___________________ годен для
проведения испытаний.
__________________________________ (_______________)
Ответственный за ТБ: _______________________ (_______________)
Руководитель испытаний: ____________________
(_______________)
Приложение
4.2
ЖУРНАЛ
ИНСТРУКТАЖА
по технике
безопасности при проведении
испытаний СЗО по
эксплуатационным показателям
┌───┬─────────┬────────────────┬───────┬─────────────────┬───────┐
│Но-│Дата про-│
Ф.И.О. лица,
│Подпись│ Ф.И.О.
лица, │Подпись│
│мер│ведения
│ прошедшего │
│ проводившего │
│
│п/п│испытаний│
инструктаж │ │
инструктаж
│ │
├───┼─────────┼────────────────┼───────┼─────────────────┼───────┤
│
1 │ 2 │ 3
│ 4 │ 5
│ 6 │
├───┼─────────┼────────────────┼───────┼─────────────────┼───────┤
├───┼─────────┼────────────────┼───────┼─────────────────┼───────┤
├───┼─────────┼────────────────┼───────┼─────────────────┼───────┤
├───┼─────────┼────────────────┼───────┼─────────────────┼───────┤
├───┼─────────┼────────────────┼───────┼─────────────────┼───────┤
Приложение
4.3
ФОРМУЛЯР
Вид
спецодежды ___________________________________________________
ТУ
_____________________ Заводской номер _________________________
Условный
размер ________________
┌───┬─────────┬───────┬────────────────┬──────┬───────────┬──────┐
│Но-│Дата про-│Условия│Виды
выполняемых│Время │Результаты
│Приме-│
│мер│ведения
│испыта-│
работ │работы│визуального│чания │
│п/п│испытаний│ний │ │в СЗО,│ осмотра
│ │
│ │ │ │ │ мин │ │ │
├───┼─────────┼───────┼────────────────┼──────┼───────────┼──────┤
│
1 │ 2 │
3 │ 4
│ 5 │
6 │ 7
│
├───┼─────────┼───────┼────────────────┼──────┼───────────┼──────┤
├───┼─────────┼───────┼────────────────┼──────┼───────────┼──────┤
├───┼─────────┼───────┼────────────────┼──────┼───────────┼──────┤
├───┼─────────┼───────┼────────────────┼──────┼───────────┼──────┤
├───┼─────────┼───────┼────────────────┼──────┼───────────┼──────┤
├───┼─────────┼───────┼────────────────┼──────┼───────────┼──────┤