Утверждены
Указанием
Москомархитектуры
от 18 ноября 1997
г. N 46
РЕКОМЕНДАЦИИ
ПО РАСЧЕТУ, ПРОЕКТИРОВАНИЮ И УСТРОЙСТВУ
СВАЙНЫХ ФУНДАМЕНТОВ НОВОГО ТИПА В Г. МОСКВЕ
ПРЕДИСЛОВИЕ
1. Разработаны НИИОСПом им. Н.М. Герсеванова (д.т.н. Ильичев В.А. -
руководитель темы, к.т.н. Мариупольский Л.Г. - ответственный исполнитель,
к.т.н. Вахолдин В.В., к.т.н. Джантимиров Х.А., к.т.н. Игнатова О.И., к.т.н.
Михеев В.В., к.т.н. Трофименков Ю.Г., к.т.н. Шишкин В.Я.), МНИИТЭПом (к.т.н.
Дузинкевич М.С., к.т.н. Максименко В.А.), АО "Моспроект" (инж.
Александровский В.С., Вершадский И.Ф.), Ассоциацией "Стройнормирование"
(инж. Дубиняк В.А.), ГПИ "Фундаментпроект" (инж. Ханин Р.Е.), ПОФ
"Гидростройинжиниринг" (инж. Лешин Г.М.), АО МП
"Гидроспецфундаментстрой" (инж. Басиев А.Н.).
2. Подготовлены к изданию Управлением перспективного проектирования и
нормативов (инж. Шевяков И.Ю., Щипанов Ю.Б.).
3. Согласованы
Управлением развития Генплана, одобрены НТС Москомархитектуры (Протокол от 22
сентября 1997 г.).
4. Утверждены
Указанием Москомархитектуры от 18.11.1997 N 46.
ВВЕДЕНИЕ
С каждым годом
усложняются условия строительства в г. Москве - новое строительство ведется на
территориях со все более сложными
инженерно-геологическими и гидрогеологическими условиями (слабые грунты,
неблагоприятные инженерно-геологические процессы), рядом с существующей
застройкой, увеличивается доля высоких зданий и, соответственно, возрастают
нагрузки на их основания. Реконструкция и строительство новых зданий в
центральной части города, а также многих зданий в районах нового строительства
осуществляется с устройством подземных этажей, когда целесообразно применение
комбинированных фундаментных конструкций, выполняющих одновременно функции
несущих и ограждающих конструкций.
В таких условиях
целесообразно более широкое применение при строительстве фундаментных
конструкций из свай. В то же время до настоящего времени в г.
Москве при возведении фундаментов используются почти исключительно забивные
сваи сечением 30 x 30 см и длиной до 12 м. Хорошо известные среди строителей
"Временные технические указания по расчету, проектированию и производству
работ по свайным фундаментам зданий и сооружений в г. Москве" (Москва,
1987 г.) посвящены, по существу, также забивным сваям. Вместе с тем в
последние годы разработаны новые эффективные фундаментные конструкции из свай
новых видов, а также из ранее известных, но почти не применявшихся в г. Москве
свай. Использование таких конструкций при строительстве отдельных московских
зданий показало их достаточно высокую экономическую эффективность, однако
широкому их внедрению препятствует отсутствие нормативной базы.
Целью настоящих
Рекомендаций является восполнение этого пробела и предоставление московским
проектировщикам и строителям возможности качественного проектирования и
устройства упомянутых фундаментных конструкций. При разработке Рекомендаций
использовались материалы НИИОСП им. Н.М. Герсеванова, ГПИ
"Фундаментпроект", Мосгоргеотреста, МНИИТЭПа, АО
"Моспроект", Московского предприятия "Гидроспецфундаментстрой"
и других организаций.
1. ОБЩИЕ
ПОЛОЖЕНИЯ
1.1. Настоящие Рекомендации, разработанные в дополнение и развитие МГСН
2.07-97 "Основания, фундаменты и подземные сооружения",
распространяются на проектирование и устройство фундаментных конструкций нового
типа из свай, включающих несущие и комбинированные (несущие и ограждающие)
конструкции из буро-завинчивающихся и буросекущихся свай, комбинированные
свайно-плитные фундаменты, а также несущие конструкции из щебеночных,
буронабивных, буроинъекционных и забивных свай различных типоразмеров.
1.2. Применительно
к фундаментным конструкциям из забивных свай настоящие Рекомендации дополняют
"Временные технические указания по расчету, проектированию и производству
работ по свайным фундаментам зданий и сооружений в г. Москве" (Москва,
1987 г.).
1.3. При выполнении
инженерно-геологических изысканий для проектирования фундаментных конструкций
из свай, а также при выборе видов и типоразмеров конструкций следует
руководствоваться содержащимися в Рекомендациях данными и методиками,
учитывающими условия строительства в г. Москве как в части
инженерно-геологических условий, так и специфики жилищно-гражданского
строительства.
2. НОВЫЕ
ТИПЫ ФУНДАМЕНТНЫХ КОНСТРУКЦИЙ ИЗ СВАЙ
2.1. Конструкции из
бурозавинчивающихся свай
2.1.1.
Бурозавинчивающиеся сваи применяются в нескальных грунтах для устройства
несущих или комбинированных (несущих и ограждающих) фундаментных конструкций и
изготавливаются по патенту РФ "Способ возведения сваи в грунте"
(патент N 2073084).
2.1.2.
Бурозавинчивающаяся свая (рис. 2.1) состоит из металлической трубы (1),
крестообразного наконечника (2) и спиральной навивки (3), обеспечивающих
погружение сваи путем ее вращения в сочетании с вдавливанием.

Рис. 2.1.
Схема бурозавинчивающейся сваи
2.1.3.
Металлические трубы, применяемые для изготовления бурозавинчивающихся свай,
могут иметь наружный диаметр от 100 до 800 мм и длину до 12 м. Толщина стенки
трубы должна быть не менее 6 мм и удовлетворять требованиям прочности и
долговечности.
2.1.4.
Крестообразный наконечник изготавливается из двух металлических заостренных
пластин толщиной 8 мм, сваренных в виде креста между собой. В
зависимости от технологии устройства бурозавинчивающихся свай, наконечник может
быть съемным и оставляемым в грунте после погружения сваи до проектной отметки
или же глухим, приваренным к круглой пластине толщиной не менее 6 мм,
закрывающей нижний конец сваи. Угол заострения наконечника - 60°.
2.1.5. Спиральная
навивка представляет собой непрерывный металлический стержень треугольного,
квадратного или круглого сечения (например, арматуру) шириной b = (0,04 -
0,06)d, приваренный к металлической трубе с шагом a = (0,5 - 1,0)d, где d -
наружный диаметр трубы.
2.1.6. При
использовании съемного наконечника стенки бурозавинчивающейся сваи выполняют роль инвентарных обсадных труб и технология
устройства свай аналогична технологии, применяемой при изготовлении
буронабивных свай типа БСИ.
2.1.7. Основная
область применения фундаментных конструкций из бурозавинчивающихся свай -
строительство и реконструкция зданий и сооружений
вблизи существующих зданий и сооружений, когда погружение забивных и
вибропогружаемых свай может вызвать недопустимые динамические воздействия на
близлежащие здания и сооружения и их основания, а устройство буронабивных свай
- недопустимую разгрузку и разрыхление грунтов при проходке скважин.
2.2. Конструкции из
щебеночных свай
2.2.1. Щебеночные
сваи применяются для усиления оснований существующих и вновь возводимых
фундаментов и изготавливаются в грунтах, устойчиво держащих стенки скважин, по
патенту РФ "Способ усиления оснований симметрично нагруженных
фундаментов" (патент N 2026926).
2.2.2. Фундаментная
конструкция с использованием щебеночных свай создается путем армирования
грунтов основания наклонными грунтощебеночными столбами (рис. 2.2).

Рис. 2.2. Схема
изготовления щебеночной сваи
1 - скважина; 2 -
пневмопробойник;
3 - щебень
(гравий); 4 - участок щебеночной сваи;
5 - готовая
щебеночная свая; 6 - внутренняя полость сваи
2.2.3. Такие столбы
изготавливаются поэтапно. На каждом этапе сначала проходится участок скважины
(1) с помощью пневмопробойника (2). Затем этот участок заполняется щебнем или
гравием (3) и засыпанная порция материала втрамбовывается в стенки скважины
пневмопробойником с формированием участка щебеночной сваи (4) диаметром D.
После окончания
формирования сваи (5) внутренняя ее полость (6) диаметром d, соответствующим
диаметру пневмопробойника, заполняется щебнем.
2.2.4. Длина
щебеночных свай достигает 10 м, а наружный диаметр - 300 мм.
2.2.5. Основная
область применения фундаментных конструкций из щебеночных свай - реконструкция
и усиление зданий и сооружений различного назначения.
2.3. Комбинированные
свайно-плитные фундаменты (КСП)
2.3.1.
Комбинированные свайно-плитные фундаменты (КСП) применяются для многоэтажных
тяжелых зданий, строительство которых намечается на площадках, где с
поверхности залегают грунты средней прочности и плитный фундамент, даже при
достаточной несущей способности грунта, не проходит по деформациям.
2.3.2. Для КСП фундаментов используется буронабивные сваи диаметром 800 -
1200 мм и длиной до размера ширины здания, сооружаемые по технологии,
предусмотренной п. 2.5 а) СНиП 2.02.03-85, либо забивные железобетонные сваи,
сплошные, квадратного сечения с поперечным армированием ствола размерами 35 x
35 или 40 x 40 см по ГОСТ 19804.1-79*.
2.3.3. По грунтовым
условиям и конструкции фундамента сваи в этом типе фундаментов должны работать
как висячие, и поэтому они располагаются под фундаментной плитой по сетке с
расстояниями между осями свай 5 - 7 диаметров (поперечных размеров).
2.4. Конструкции из
буронабивных свай
2.4.1. Для
строительства в г. Москве новым эффективным типом фундаментных конструкций
следует считать фундаменты буронабивных свай, устраиваемые в соответствии с
требованиями СНиП 2.02.03-85 буровыми станками с инвентарными обсадными трубами
(типа БСИ) и применяемые при возведении гражданских зданий повышенной этажности
и крупных промышленных объектов. Вместе с тем при эффективности устройства
уширения в нижней части свай могут быть использованы буронабивные сваи,
изготавливаемые с закреплением стенок скважин неизвлекаемыми обсадными трубами
(типа БСВо), а при устройстве свай в устойчивых глинистых грунтах - без
закрепления стенок скважин (типа БСС).
2.4.2. Диаметр
буронабивных свай составляет от 600 до 1500 мм, а длина - до 40 м.
2.4.3. Новой
модификацией фундаментов из буронабивных свай являются конструкции
буросекущихся свай (рис. 2.3), используемые в качестве ленточных фундаментов
либо комбинированных (несущих и ограждающих) фундаментных конструкций, в
частности, при устройстве фундаментных конструкций заглубленных сооружений при
освоении подземного пространства в г. Москве.

Рис. 2.3. Схема
фундамента из буросекущихся свай
1 - первоочередные
бетонные сваи;
2 - железобетонные
сваи, выполняемые между бетонных свай;
3 - объединяющий
ростверк
2.4.4. Диаметр
буросекущихся свай d составляет от 600 до 800 мм, а длина - до 40 м. Расстояние
между центрами свай a составляет (0,8 - 0,9)d.
2.5. Конструкции из
буроинъекционных свай
2.5.1. При реконструкции
и усилении зданий различного назначения, а также при новом строительстве в г.
Москве эффективными фундаментными конструкциями являются конструкции с
использованием буроинъекционных свай, устраиваемых с учетом требований СНиП
2.02.03-85 и "Рекомендаций по применению буроинъекционных свай",
НИИОСП, М., 1997.
2.5.2. При
использовании буроинъекционных свай для усиления фундаментов они, как правило,
устраиваются наклонными в виде козловой конструкции. При применении
буроинъекционных свай в новом строительстве они устраиваются вертикально.
2.5.3. Диаметр
буроинъекционных свай составляет от 150 до 250 мм, длина - до 40 м.
2.6. Конструкции из
забивных свай
2.6.1. Для
обеспечения возможности передачи на сваи больших нагрузок и наиболее полного
использования прочности материала свай и грунтов основания, снижения
материалоемкости и трудоемкости конструкций фундаментов и, в частности,
применения безростверковых конструкций фундаментов и конструкций с ростверками
при уменьшенном количестве свай в кустах, эффективно расширение номенклатуры
свай в соответствии с таблицей 2.1.
Таблица 2.1
──────────────────────────────────┬────────────┬───────┬───────────────────
Сваи │Ширина грани│ Длина
│ Исходная рабочая
│или
диаметр │сваи, м│ документация
│ сваи, см │
│
──────────────────────────────────┼────────────┼───────┼───────────────────
Цельные квадратного сплошного │
35 x 35 │8 - 12
│Серия 1.011.10 вып.
сечения
с ненапрягаемой арматурой │
│ │
──────────────────────────────────┼────────────┼───────┼───────────────────
То
же, с поперечным армированием
│ 35 x 35 │8 - 12 │Серия 1.011.10 вып.
ствола
с напрягаемой арматурой │ │ │
──────────────────────────────────┼────────────┼───────┼───────────────────
Составные квадратного сплошного │
30 x 30 │14 -
20│Серия 1.011.1-7
сечения
с поперечным армированием │ 35 x
35 │14 - 24│
ствола │ │ │
──────────────────────────────────┼────────────┼───────┼───────────────────
Цельные
полые круглые сваи │ 40, 50,
60 │4 - 12 │ГОСТ 19804.5-83
──────────────────────────────────┼────────────┼───────┼───────────────────
Составные
полые круглые сваи │ 40
│14 - 26│ГОСТ 19804.6-83
│ 50
│14 - 30│
│ 60
│14 - 40│
──────────────────────────────────┼────────────┼───────┼───────────────────
Сваи-колонны: │ │ │
квадратного сечения │ 20
│5 - 8 │Серия 3.015-5
│
30 │5 - 12 │
│ 35
│5 - 12 │
│ 40
│5 - 12 │
│ │ │
двухконсольные │ 20
│5 - 6,5│Серия 1.821.1-2
│ 30
│5 - 7,5│
│ │ │
полые круглые │ 40
│5 - 12 │Серия 3.015-5
│ 50
│ │
│ 60
│ │
│ 80
│ │
──────────────────────────────────┴────────────┴───────┴───────────────────
2.6.2. Применение
вместо традиционных железобетонных свай сечением 30 x 30 см свай большого
сечения, полых круглых свай, свай-колонн, а также составных свай различного
типа дает существенный экономический эффект. При этом следует принимать во
внимание, что длина цельных свай ограничена 12 м по условиям их транспортировки
в г. Москве.
3. Условия
строительства в г. Москве
3.1. В
соответствии с концепциями развития районов и ПДП площадки строительства
объектов жилищно-гражданского назначения размещаются в пределах г. Москвы
преимущественно на следующих территориях:
- на территориях,
ранее не предлагавшихся для освоения под жилищно-гражданское строительство;
- на территориях со
сложной инженерной подготовкой;
- на территориях,
ранее занимавшихся промышленными предприятиями, выведенными за городскую черту;
- на территориях
относительно новой застройки за счет ее уплотнения и завершения;
- на территориях
размещения реконструируемых пятиэтажных домов первого периода панельного
домостроения;
- в центральной
части города рядом с существующими зданиями и на территориях размещения
реконструируемых зданий.
3.2. С
точки зрения влияния на выбор видов фундаментных конструкций из свай упомянутые
в п. 3.1 площадки строительства могут быть сгруппированы следующим образом:
- строительство на
вновь выделяемых территориях;
- строительство на
территориях после их предварительной инженерной подготовки;
- строительство на
свободных (или освобождаемых) территориях в зоне существующей застройки;
- реконструкция
зданий с изменением (частичным или полным) его конструкций;
- реконструкция
зданий - памятников архитектуры (как правило, без изменения архитектурных и
конструктивных элементов).
3.3. Для
геологического строения Москвы характерно залегание с поверхности толщ
четвертичных отложений различной мощности и генезиса, представленных песчаными
и глинистыми грунтами современного и древнего аллювия, моренного и
водно-ледникового комплекса. Подстилающие их коренные породы представлены
плотными песками мелового возраста, юрскими глинами, карбоновыми известняками и
мергелями (рис. 3.1).
───────────────────────────────────────────────────────────────────────────
Q ЧЕТВЕРТИЧНАЯ
СИСТЕМА
───────────────────────────────────────────────────────────────────────────
Современные отложения

Техногенный (насыпной) слой
Почвенно-растительный слой
Современные аллювиальные отложения
Современные озерно-болотные
отложения
───────────────────────────────────────────────────────────────────────────
Верхнечетвертичные
отложения

Древние аллювиальные отложения
Древние озерно-болотные отложения
───────────────────────────────────────────────────────────────────────────
Среднечетвертичные
отложения

Покровные отложения
Делювиальные и
аллювиально-делювиальные отложения
Флювиогляциальные отложения
московского оледенения
Морена московского оледенения
Морена днепровского оледенения
Флювиогляциальные отложения между днепровским и
московским
оледенениями
Озерно-ледниковые отложения между днепровским и
московским
оледенениями
Озерно-ледниковые отложения между окским и днепровским
оледенениями
Флювиогляциальные отложения между окским и днепровским
оледенениями
Морена окского оледенения
───────────────────────────────────────────────────────────────────────────
МЕЛОВАЯ СИСТЕМА
───────────────────────────────────────────────────────────────────────────
ЮРСКАЯ СИСТЕМА
───────────────────────────────────────────────────────────────────────────
КАМЕННОУГОЛЬНАЯ
СИСТЕМА
───────────────────────────────────────────────────────────────────────────
Рис. 3.1.
Стратиграфическая колонка г. Москвы
Грунтовые воды
залегают на глубинах от 1 до 15 м и подвержены сезонным колебаниям. К
известнякам карбона приурочен артезианский водоносный горизонт, обладающий
напорным характером, режим которого нарушен.
3.4. Во
"Временных технических указаниях по расчету, проектированию и производству
работ по свайным фундаментам зданий и сооружений в г. Москве" (Москва,
1987 г.) представлены обобщенные геологические профили, характерные для
различных районов Москвы.
Для новых площадок
строительства, схематическая карта размещения которых показана на рис. 3.2, в
МГСН 2.07-97 "Основания, фундаменты и подземные сооружения" приведены
наиболее типичные инженерно-геологические колонки и дана характеристика свойств грунтов (нормативные значения).

Рис. 3.2.
Схема размещения в г. Москве
нового жилищного
строительства в ближайшие годы
3.5. Основными
типами зданий, планируемых к массовой застройке на период до 2000 года,
являются 12 - 17-этажные панельные дома с уровнем нагрузки на основание (общая
нагрузка от здания, деленная на его площадь) 0,25 - 0,35 МПа (таблица 3.1).
Таблица 3.1
┌───┬───────────────────────────┬────────────────────┬────────────────────┐
│
N │ Структура этажности │ Процентное
соотн. │ Примерный уровень │
│п/п│ в строительстве на период │ строящихся
зданий │ нагрузок │
│ │
до 2000 г., эт. │ по этажности │в строительстве, МПа│
├───┼───────────────────────────┼────────────────────┼────────────────────┤
│
1 │ до 5 │ 17 │ 0,1 - 0,2 │
│
2 │ 7 - 9 │ 14 │ 0,2 - 0,3 │
│
3 │ 10 - 17 │ 49 │ 0,25 - 0,35 │
│
4 │ 18 - 22 │ 10 │ 0,3 - 0,45 │
└───┴───────────────────────────┴────────────────────┴────────────────────┘
Как следует из
таблицы, в структуре жилищного строительства здания высотой более 9 этажей и с
уровнем нагрузки на основание, достигающем 0,45 МПа, занимает около 60%.
Учитывая это, масштабы применения фундаментных конструкций из свай должны
возрасти.
Что касается
реконструируемых зданий, то они имеют различную конструкцию и этажность. При
выборе типа фундаментов в большей степени, чем для массового строительства,
применяется индивидуальный подход и, как правило, используются фундаментные
конструкции из свай.
3.6. В настоящее
время при строительстве в г. Москве зданий жилищно-гражданского назначения за
редким исключением применяются забивные призматические сваи сечением 30 x 30 см
и длиной 4 - 12 м, изготавливаемые на заводах Моспромстройматериалов по каталогу
железобетонных изделий, а также на заводах других ведомств по соответствующим
ведомственным каталогам. Погружение таких свай осуществляется многочисленными
строительными организациями различных ведомств. Во многих случаях имеющиеся у
них копровые установки позволяют погружать сваи других типоразмеров, указанные
в таблице 2.1.
3.7. В последнее
время на строительстве ряда объектов в г. Москве стали применяться буронабивные
и буросекущиеся сваи диаметром 50 - 150 см и длиной до 30 м типа БСИ,
изготавливаемые специализированными строительными организациями (АО
"Гидроспецфундаментстрой", АО "Гидроспецстрой",
"Высотспецстрой", СУ-29, Мостотрест), оснащенными необходимыми для
этого отечественными и импортными станками (см. раздел 10). Эти же организации
имеют станки, позволяющие осуществлять устройство буроинъекционных свай.
3.8. АО Московское
предприятие "Гидроспецфундаментстрой", оснащенное буровыми станками
типа СО-2 и СО-1200, применяет бурозавинчивающиеся сваи при реконструкции ряда
московских объектов.
3.9. АООТ
"Фундаментстройпроект", оснащенное необходимым оборудованием для
устройства щебеночных свай, осуществило с их помощью усиление фундаментов на
нескольких московских объектах.
4.
ТРЕБОВАНИЯ К ИНЖЕНЕРНО-ГЕОЛОГИЧЕСКИМ ИЗЫСКАНИЯМ
4.1. Инженерно-геологические
изыскания для проектирования и устройства свайных фундаментов на территории г.
Москвы (изыскания для свайных фундаментов) должны проводиться с учетом
требований глав СНиП 11-02-96 и 1.02.07-87, МГСН 2.07-97 "Основания,
фундаменты и подземные сооружения" и настоящих Рекомендаций.
4.2.
Изыскания для свайных фундаментов проводятся в соответствии с программой,
составленной организацией, имеющей лицензию на выполнение инженерных изысканий,
на основании технического задания проектной организации, разрабатывающей проект
фундаментов, рекомендуемая форма которого приведена в Приложении 1.
В техническом
задании предполагаемая длина свай, необходимая для назначения глубины
инженерно-геологических выработок, определяется по данным о грунтах, полученных
из материалов геологических фондов и (или) приведенных в приложении 4 к МГСН
2.07-97 "Основания, фундаменты и подземные сооружения".
4.3. Изыскания для
свайных фундаментов в общем случае включают следующий комплекс работ:
- бурение скважин с
отбором образцов и описанием проходимых грунтов;
- статическое,
комбинированное и динамическое зондирование грунтов;
- лабораторные
исследования физико-механических свойств грунтов и
подземных вод;
-
прессиометрические испытания грунтов;
- испытания грунтов
штампами (статическими нагрузками);
- испытания грунтов
эталонными сваями;
- опытные работы,
включающие исследования взаимодействия с окружающими грунтами фундаментных
конструкций, влияния устройства свайных фундаментов на окружающую среду, в том
числе на расположенные вблизи сооружения, и (или) испытания грунтов натурными
сваями.
4.4. Обязательными
видами работ независимо от геотехнических категорий объектов строительства и
типов фундаментных конструкций из свай являются бурение скважин, статическое,
комбинированное или динамическое зондирование и лабораторные исследования. При
этом наиболее предпочтительными методами зондирования являются статическое или
комбинированное зондирование, в процессе которого помимо показателей
статического зондирования грунтов производятся определения их плотности и
влажности с помощью радиоактивного каротажа, что позволяет сократить объем
бурения скважин и лабораторных исследований грунтов.
4.5. При
геотехнической категории II указанные работы следует дополнять во всех случаях
прессиометрическими испытаниями, а при применении фундаментных конструкций из
забивных свай длиной до 12 м - испытаниями грунтов эталонными сваями.
При применении
конструкций из бурозавинчивающихся свай в состав работ следует включать опытные
работы, состоящие из опытных погружений свай с целью
уточнения назначенных при проектировании размеров спиральной навивки и режима
погружения свай, а также испытаний грунтов натурными сваями при приложении
статистических нагрузок.
При применении
комбинированных свайно-плитных фундаментов (КСП) в состав работ следует
включать испытания грунтов штампами и сваями.
При использовании
конструкций из щебеночных, буронабивных и буроинъекционных свай опытные работы
целесообразно выполнять при больших масштабах строительства, в частности, в
перспективных районах массовой застройки.
4.6. При
геотехнической категории III в состав изысканий независимо от типов
фундаментных конструкций из свай следует включать опытные работы и испытания
грунтов штампами.
4.7. При передаче
на сваи выдергивающих или знакопеременных нагрузок необходимость проведения
опытных работ должна определяться в каждом конкретном случае индивидуально.
Если по проекту передаваемые на сваи горизонтальные нагрузки превышают 5%
вертикальных, то должны проводиться испытания грунтов сваями при приложении к
ним горизонтальных нагрузок.
4.8. Опытные работы
и испытания грунтов штампами проводят, как правило, на опытных участках,
выбираемых по результатам бурения скважин и зондирования и располагаемых в
местах наиболее характерных по грунтовым условиям, в зонах наиболее загруженных
фундаментов, а также в местах, где возможность погружения свай по грунтовым
условиям вызывает сомнение. Испытания грунтов статическими нагрузками
целесообразно проводить в основном винтовыми штампами площадью 600 см2 в скважинах с целью уточнения для рассматриваемой
строительной площадки переходных коэффициентов в рекомендуемых действующими
нормативными документами, в частности, МГСН 2.07-97 "Основания, фундаменты
и подземные сооружения", формулах для расчета по данным зондирования и
прессиометрических испытаний модуля деформации грунтов.
4.9. Объем
изысканий для свайных фундаментов зависит от геотехнической категории объекта
строительства, изученности инженерно-геологических условий площадки
строительства и от сложности грунтовых условий в зависимости от однородности
грунтов по условиям залегания и свойствам.
Изыскания должны
быть выполнены таким образом, чтобы были изучены все разновидности грунтов,
встречающиеся на площадке строительства в пределах исследуемой толщи, и общее
количество данных для каждого инженерно-геологического элемента было достаточно
для их статистической обработки в соответствии с ГОСТ 20522-96.
4.10. Выделенные в
зависимости от однородности грунтов по условиям залегания и свойствам категории
сложности грунтовых условий и рекомендуемые в зависимости от этих категорий и
от геотехнических категорий объектов объемы изысканий для свайных фундаментов
приведены в Приложении 2.
4.11. Размещение
инженерно-геологических выработок (скважин, точек зондирования, мест испытаний
грунтов) должно производиться с таким расчетом, чтобы они располагались в
пределах контура проектируемого здания либо не далее 5 м от него, а в случаях
проектирования комбинированных фундаментных конструкций из бурозавинчивающихся
или буросекущихся свай - на удалении не более 2 м от их оси.
4.12. Глубина инженерно-геологических выработок должна быть не менее чем
на 5 м ниже проектируемой глубины заложения нижних концов свай при рядовом
расположении свай и нагрузках на куст свай до 3 МН и на 10 м ниже - при
нагрузках на куст более 3 МН при свайных полях размером до 10 x 10 м. При
свайных полях размером более 10 x 10 м и применении
комбинированных свайно-плитных фундаментов глубина выработок должна превышать
предполагаемое заглубление свай не менее чем на ширину свайного поля.
При использовании
бурозавинчивающихся и буросекущихся свай в составе комбинированных фундаментных
конструкций глубина выработок должна быть не менее чем на 1 м ниже требуемой
глубины заложения нижних концов свай по условию сопротивления их силам
активного давления ограждаемых грунтовых напластований.
При применении
щебеночных и буроинъекционных свай для усиления оснований зданий и сооружений
глубина выработок назначается на 1 м ниже проектируемой отметки низа усиленного
основания.
При наличии на
строительной площадке слоев грунтов со специфическими неблагоприятными
свойствами (рыхлых песков, слабых глинистых грунтов и техногенных грунтов)
глубина выработок определяется с учетом необходимости их проходки на всю толщу
слоя для установления глубины залегания подстилающих грунтов и определения их
характеристик.
4.13. Изыскания для
свайных фундаментов должны обеспечивать получение данных, необходимых для
расчетов фундаментных конструкций по I и II группам предельного состояния, и,
как минимум, следующих характеристик: плотность и крупность песчаных грунтов,
число пластичности, влажность, показатель текучести и плотность глинистых
грунтов в пределах всей изучаемой толщи грунтов; прочностные характеристики
(удельное оцепление и угол внутреннего трения) грунта, залегающего
непосредственно под нижними концами сваи, и угол внутреннего трения грунтов,
примыкающих к боковой поверхности свай; модуль деформации грунтов, залегающих
под нижними концами свай в пределах сжимаемой толщи.
При применении
комбинированных фундаментных конструкций из бурозавинчивающихся или
буросекущихся свай данные о прочностных и деформационных характеристиках
грунтов необходимо иметь для всей изучаемой толщи грунтов.
4.14. Учитывая
затруднения с отбором образцов с ненарушенной структурой в песчаных грунтах, в
качестве основного метода определения их плотности и прочностных характеристик
для объектов всех геотехнических категорий следует рассматривать зондирование -
комбинированное, статическое и динамическое (в порядке информативности и
предпочтительности).
Зондирование
является основным методом определения модуля деформации как песчаных, так и
глинистых грунтов для объектов геотехнической категории I и одним из методов
определения модуля деформации (в сочетании о прессиометрическими и штамповыми
испытаниями) для объектов геотехнических категорий II и III.
4.15. Определение
характеристик грунтов по данным зондирования следует проводить в соответствии с
приложением 7 к МГСН 2.07-97 "Основания, фундаменты и подземные
сооружения".
4.16. Изучение
свойств техногенных грунтов (насыпных и намывных) следует выполнять путем
зондирования и лабораторными методами на образцах, отбираемых, как правило, из
шурфов.
4.17. Технический
отчет по результатам инженерно-геологических изысканий для проектирования
свайных фундаментов должен содержать:
- схематический
план здания с указанием поперечных и продольных граничных осей, расположения
скважин, точек зондирования, мест испытания грунтов, опытных работ, линий
профилей;
-
геолого-литологическое описание строительной площадки и инженерно-геологические
разрезы, привязанные к осям здания;
- сведения о
нормативных и расчетных характеристиках грунтов каждого
инженерно-геологического элемента активной зоны;
- сведения о
максимальной глубине промерзания грунтов площадки;
-
характеристику гидрогеологических условий площадки, включая данные о количестве
и положении горизонтов подземных вод, источниках их питания, связи с ближайшими
водоемами, направлении потоков, мест разгрузки, степени агрессивности подземных
вод, характере их агрессивности - природной или в результате инфильтрации в
грунт производственных или сточных вод, прогноз изменения уровней подземных вод
в процессе эксплуатации здания;
- материалы
лабораторных, полевых исследований грунтов и опытных работ;
- рекомендации по
антикоррозийной защите свай.
Все характеристики
грунтов должны приводиться в отчете с учетом прогноза возможных изменений (в
процессе строительства и эксплуатации здания) инженерно-геологических и
гидрогеологических условий площадки.
В случаях выявления
в процессе изысканий прослоев рыхлых песков, слабых глинистых грунтов и опасных
геологических процессов (карстово-суффозионных и оползневых) необходимо
привести данные об изменении их мощности в пределах активной зоны под
проектируемым зданием или сооружением.
5. ИСХОДНЫЕ
ДАННЫЕ ДЛЯ ПРОЕКТИРОВАНИЯ
ФУНДАМЕНТНЫХ
КОНСТРУКЦИЙ ИЗ СВАЙ
5.1.
Исходные данные для проектирования фундаментных конструкций из свай должны
содержать следующие проектно-изыскательские материалы:
5.1.1. Генеральный
план площадки с нанесенными контурами проектируемого сооружения (с осями),
инженерно-геологическими выработками, планировочными отметками, сведениями о
ближайших построенных и предполагаемых к строительству подземных сооружениях.
5.1.2. Технический
отчет по результатам инженерно-геологических изысканий на участке
проектируемого объекта, включающий материалы, указанные в п. 4.17 Рекомендаций.
Исчерпывающие
материалы изысканий могут быть получены только на основании задания проектной
организации - автора проекта фундамента, содержание которого указано в п. 4.2
Рекомендаций.
5.1.3. Общее
конструктивное решение надземной части сооружения с необходимыми чертежами
(планы, разрезы), абсолютной отметкой 1-го этажа или верха фундамента.
5.1.4. Чертежи
подземной части объекта с указанием несущих конструкций, их размеров и отметок
низа, размеров и глубины заложения подземных помещений, каналов и фундаментов
оборудования, расположения проемов в стенах.
5.1.5. Данные о
расчетных нагрузках на фундаменты в требуемых сочетаниях с указанием временных
нагрузок и цикличности их действия, а также о расчетных нагрузках на полы и места
их приложения. Сведения о возможном изменении в период эксплуатации нагрузок на
фундаменты и характера их воздействия.
5.1.6. Данные о
предельных величинах общих и неравномерных осадок.
5.2. Исходные
данные для проектирования фундаментных конструкций из свай при реконструкции
кроме материалов, перечисленных в п. 5.1, должны содержать:
5.2.1. Архивные
материалы инженерных изысканий по реконструируемому объекту, если таковые
имеются.
5.2.2. Целевое
назначение реконструкции (расширение, собственно реконструкция, техническое
перевооружение).
5.2.3. Характер
реконструкции сооружения (пристройка, надстройка, перестройка, сооружение
подземных помещений и т.д.).
5.2.4. Проект
реконструкции здания.
5.2.5.
Конструктивные и технологические особенности новых элементов сооружения и их
параметры.
5.2.6. Действующие
и ожидаемые после реконструкции величины расчетных нагрузок на фундаменты, в
том числе динамические, теплотехнические и др.
5.2.7. Наличие и
интенсивность утечек из водонесущих коммуникаций, их состояние, сведения о
дренажных системах, химическом составе и агрессивности технологических вод.
5.2.8. Особенности
строительства и эксплуатации объекта, которые могут вызвать изменения
окружающей среды.
5.2.9. Сроки и
характер эксплуатации реконструируемого объекта.
5.2.10. Проект
производства работ по реконструкции здания в целом.
5.2.11. Отчет по
результатам обследования реконструируемого и соседних зданий с данными об
истории их строительства, эксплуатации, современного состояния конструкций,
сбора нагрузок на фундаменты.
5.2.12. Данные по
наблюдению за осадками оснований фундаментов, если таковые имеются.
6. ВЫБОР
ВИДОВ И ТИПОРАЗМЕРОВ
ФУНДАМЕНТНЫХ
КОНСТРУКЦИЙ ИЗ СВАЙ
6.1. Выбор видов
фундаментных конструкций из свай целесообразно начинать с рассмотрения
особенностей застройки площадок, выделяемых для строительства, и специфики
объекта строительства. В таблице 6.1 приведены рекомендуемые для рассмотрения
виды конструкций для различных групп площадок, упомянутых в п. 3.2 настоящих
Рекомендаций.
Таблица 6.1
|
N
п/п
|
Особенности
площадок,
выделяемых для
строительства,
специфика
объекта
строительства
|
Вид фундаментной конструкции из
свай
|
|
Сваи
со
съемным
наконеч-
ником
буроза-
винчива-
ющиеся
|
Сваи
с
глухим
наконеч-
ником
буроза-
винчива-
ющиеся
|
Сваи
щебе-
ночные
|
Комби-
ниро-
ванные
свайно-
плитные
|
Сваи
буро-
набив-
ные
|
Сваи
буро-
секу-
щиеся
|
Сваи
буро-
инъек-
цион-
ные
|
Сваи
забив-
ные
|
|
1
|
Строительство
на вновь
выделяемых
территориях
|
+
|
-
|
+
|
+
|
+
|
-
|
+
|
+
|
|
2
|
Строительство
на территориях
после их
предварительной
инженерной
подготовки
|
+
|
-
|
-
|
+
|
+
|
-
|
-
|
+
|
|
3
|
Строительство
на свободных
(или
освобождаемых)
территориях в
зоне
существующей
застройки
|
+
|
+
|
+
|
+
|
+
|
+
|
+
|
(+)
|
|
4
|
Реконструкция
зданий с
изменением
(частичным или
полным) его
конструкций
|
+
|
+
|
+
|
-
|
-
|
+
|
+
|
-
|
|
5
|
Реконструкция
памятников
архитектуры
|
+
|
+
|
+
|
-
|
-
|
-
|
+
|
-
|
Примечания.
- рекомендуется для рассмотрения;
- не рекомендуется для рассмотрения;
- рекомендуется для рассмотрения с
ограничением по удалению от существующей застройки.
6.2. На следующем
этапе выбранные варианты конструкций из свай уточняются исходя из оценки
инженерно-геологических условий площадки строительства, базирующейся на
материалах, указанных в п. 3.4 Рекомендаций. При этом также учитывается тип,
этажность проектируемого здания и уровень нагрузок на основание. Так, например,
комбинированные свайно-плитные фундаменты целесообразно рассматривать лишь
применительно к строительству зданий 12 этажей и более.
6.3. Далее
производится оценка выбранных вариантов конструкций из свай по показателям
технического уровня, учитывающим степень использования прочности материалов
свай и грунтов основания и расход материалов на устройство конструкций.
К таким показателям
относятся:
- коэффициент
использования прочности материала свай и грунтов основания
,
определяемый по формуле:
, (6.1)
где
,
- расчетная нагрузка на сваю, соответственно
по грунту и материалу;
- коэффициент
использования несущей способности свай
,
определяемый по формуле:
, (6.2)
где
- фактическая нагрузка на сваю от здания;
- коэффициент
унификации
,
учитывающий степень использования несущей способности свай в разнонагруженных
фундаментах зданий и сооружений, определяемый по формуле:
, (6.3)
где
- коэффициент использования несущей
способности в i-м фундаменте;
- число i-х фундаментов в здании и сооружении;
- удельный расход
материалов q в расчете на единицу действующей нагрузки (осевой вдавливающей,
горизонтальной).
6.4.
Предварительная оценка расчетных нагрузок, допускаемых на забивные и
буронабивные сваи в различных грунтовых условиях, может быть принята по таблице
6.2.
Таблица 6.2
┌────────────┬───────────────────────┬────────────────────────────────────┐
│ Свая
│ Параметры свай │ Ориентировочные расчетные нагрузки
│
│ │ │ на сваю, кН │
│
├────────┬───────┬──────┼────────────────────────────────────┤
│ │Диаметр │ Длина
│Проч- │ Песчаные грунты средней
плотности │
│ │ствола/ │свай, м│ность
├───────────┬────────────┬───────────┤
│ │уширения│ │ствола│Гравелистые│ Средней
│ Мелкие │
│
│сваи, см│
│по │ и крупные
│ крупности │и
пылеватые│
│ │ │ │мате-
├───────────┴────────────┴───────────┤
│ │ │ │риалу,│ Глинистые грунты консистенции I │
│ │ │ │кН │
L │
│ │ │ │ ├───────────┬────────────┬───────────┤
│ │ │ │ │
0 - 0,1 │ 0,2 - 0,3 │ 0,4 - 0,5 │
├────────────┼────────┼───────┼──────┼───────────┼────────────┼───────────┤
│Забивная │25 x 25 │4,5 - 6│
850 │!00 - 800 │300 - 400/ │150 - 300/ │
│квадратного
│ │ │ │ │5 - 10 │3 - 5 │
│сечения
├────────┼───────┼──────┼───────────┼────────────┼───────────┤
│по
ГОСТ │30 x 30 │3 - 12
│ 1000 │700 - 1000 │300 - 600/ │200 - 400/ │
│19804.1-79 │
│ │ │
│10 - 15 │5 -
10 │
│
├────────┼───────┼──────┼───────────┼────────────┼───────────┤
│ │35 x 35 │10 -
16│ 1850 │1300 - 1850│600 - 1200/ │350 - 500/ │
│ │ │ │ │
│30 - 50 │15 -
20 │
│
├────────┼───────┼──────┼───────────┼────────────┼───────────┤
│ │40 x 40 │13 -
20│ 2000 │1400 - 2000│900 - 1300/ │600 - 800/ │
│ │ │ │ │
│35 - 60 │20 -
25 │
├────────────┼────────┼───────┼──────┼───────────┼────────────┼───────────┤
│Полая │
40 │4 - 12 │ 1050
│800 - 1050 │300 - 1050/ │200 - 800/ │
│круглая │ │ │ │
│30 - 50 │20 -
30 │
│по
ГОСТ
├────────┤
├──────┼───────────┼────────────┼───────────┤
│19804.5-83 │
50 │ │ 1350 │700 - 1350
│400 - 1350/ │300 - 1350/│
│ГОСТ │ │ │ │
│60 - 80 │30 -
50 │
│19804.6-83
├────────┤
├──────┼───────────┼────────────┼───────────┤
│ │ 60
│ │ 2000
│1000 - 2000│600 - 2000/ │400 - 2000/│
│ │ │ │ │ │100 - 150 │80 - 100 │
│
├────────┤
├──────┼───────────┼────────────┼───────────┤
│ │ 80
│ │ 3700
│1800 - 3700│1100 - 3700/│600 - 3700/│
│ │ │ │ │
│200 - 250 │120 -
150 │
├────────────┼────────┼───────┼──────┼───────────┼────────────┼───────────┤
│Буронабивная│ 50
│10 - 30│ 1400 │200 - 1200 │200 - 1100/
│150 - 1000/│
│по
проекту │ │ │ │
│60 - 80 │40 -
60 │
│ГПИИ
├────────┤
├──────┼───────────┼────────────┼───────────┤
│Фундамент │
60 │ │ 2000 │300 - 1900
│250 - 1800/ │200 - 2500/│
│проект │ │ │ │
│100 - 150 │80 -
100 │
│Арх.
N
11740├────────┤ ├──────┼───────────┼────────────┼───────────┤
│1975
г. │ 80
│ │ 3500
│500 - 2800 │400 - 2700/ │350 - 2500/│
│ │ │ │ │
│200 - 250 │100 -
150 │
│
├────────┤
├──────┼───────────┼────────────┼───────────┤
│ │ 100
│ │ 3500
│800 - 3800 │600 - 3500/ │550 - 3300/│
│ │ │ │ │
│300 - 400 │250 -
300 │
│
├────────┤
├──────┼───────────┼────────────┼───────────┤
│ │
120 │ │ 8000 │1100 -
4950│900 - 4500/ │800 - 4200/│
│ │ │ │ │
│400 │300 │
│
├────────┤
├──────┼───────────┼────────────┼───────────┤
│ │ 60/160 │ │ 2000 │1700 -
2000│1150 - 2000/│950 - 2000/│
│ │ │ │ │
│100 - 150 │80 -
120 │
└────────────┴────────┴───────┴──────┴───────────┴────────────┴───────────┘
В числителе
приведены значения вдавливающей нагрузки, в знаменателе - горизонтальной.
6.5.
Целесообразность применения фундаментных конструкций из забивных и буронабивных
свай различных типоразмеров для случаев, когда определяющими будут осевые
сжимающие нагрузки, можно определить по таблицам 6.3 и 6.4.
Таблица 6.3

Таблица 6.4

6.6. Оценка
различных видов и типоразмеров фундаментных конструкций их свай по показателям
технического уровня позволяет исключать из дальнейшего рассмотрения
нерациональные варианты (для которых все показатели хуже, чем для других
вариантов).
6.7. Окончательный
выбор вида и типоразмеров фундаментных конструкций из свай осуществляется на
основании технико-экономического расчета по расходам основных материалов и
приведенным затратам.
7. РАСЧЕТЫ
ФУНДАМЕНТНЫХ КОНСТРУКЦИЙ ИЗ СВАЙ
7.1. Фундаментные
конструкции из свай рассчитываются по двум видам предельных состояний - по
прочности и деформациям. Расчеты выполняются с учетом требований СНиП
2.02.03-85 "Свайные фундаменты", СНиП 2.02.01-83 "Основания
зданий и сооружений", СНиП 2.03.01-84 "Бетонные и железобетонные
конструкции".
7.2.
Несущие фундаментные конструкции из бурозавинчивающихся свай со съемным
наконечником рассчитываются аналогично фундаментным конструкциям из
буронабивных свай типа БСИ, изготавливаемых с использованием инвентарных
извлекаемых обсадных труб.
7.3. Несущие
фундаментные конструкции из бурозавинчивающихся свай с глухим наконечником
рассчитываются по деформациям в соответствии с требованиями раздела 6 СНиП
2.02.03-85.
7.4. Расчет
несущей способности бурозавинчивающихся свай по результатам испытаний свай
статическими нагрузками выполняется согласно указаниям раздела 5 СНиП
2.02.03-85, а по физико-механическим характеристикам - с использованием
формулы:
, (7.1)
где
- коэффициент условий работы свай в грунте,
принимаемый
;
R - расчетное
сопротивление грунта под нижним концом сваи, кПа, определенное по формуле 7.2;
A - площадь
поперечного сечения ствола сваи, брутто, м2;
U - периметр
поперечного сечения ствола, сваи, м;
- расчетное сопротивление i-го слоя грунта
основания на боковой поверхности сваи, кПа, принимаемое по таблице 2 СНиП
2.02.03-85;
- толщина i-го слоя грунта, соприкасающегося с
боковой поверхностью сваи, м;
- коэффициент условий работы грунта под нижним
концом сваи, принимаемый
;
- коэффициент условий работы
грунта на боковой поверхности сваи, принимаемый равным 1 при погружении сваи с
поверхности грунта в ненарушенный грунтовый массив, равным 0,8 - при погружении
сваи: в разрыхленный предварительным бурением грунтовый массив и равным 0,6 при
погружении сваи в лидерную скважину.
Расчетное
сопротивление грунта под нижним концом сваи следует определять по формуле:
, (7.2)
где
,
- безразмерные коэффициенты, принимаемые по
таблице 7.1 в зависимости от расчетного угла внутреннего трения грунта
основания, определенного в соответствии с
указанием СНиП 2.02.03-85;
- расчетное значение удельного сцепления
грунта основания, кПа;
- осредненное расчетное значение удельного
веса грунтов, кН/м3, залегающих выше нижнего конца сваи (при водонасыщенных
грунтах с учетом взвешивающего действия воды);
h - глубина
погружения сваи, м.
Таблица 7.1
───────────────────────────────────────────────────────────┬───────────────
Расчетное
значение угла внутреннего трения грунта основания│ Коэффициенты
фи
, град
│
1 │
───────────────────────────────────────────────────────────┼───────┬───────
│альфа │альфа
│ 1 │ 2
───────────────────────────────────────────────────────────┼───────┼───────
13 │ 7,8
│ 2,8
15 │ 8,4
│ 3,3
16 │ 9,4
│ 3,8
18 │ 10,1 │
4,5
20 │ 12,1 │
5,5
22 │ 15,0 │
7,0
24 │ 18,0 │
9,2
26 │ 23,1 │ 12,3
28 │ 29,5 │ 16,5
30 │ 38,0 │ 22,5
32 │ 48,4 │ 31,0
34 │ 64,9 │ 44,4
───────────────────────────────────────────────────────────┴───────┴───────
7.5.
Расчеты комбинированных фундаментных конструкций из бурозавинчивающихся свай
как несущих конструкций выполняются в соответствии с пп. 7.2 - 7.4
рекомендаций, а как ограждающих конструкций - по методике расчетов подпорных
конструкций, учитывающей их совместную работу с грунтом. Рекомендуется
использование для расчетов пакета программ "Wall-5", разработанного в
НИИОСП им. Н.М. Герсеванова.
7.6. Толщина стенки
бурозавинчивающихся свай должна проверяться расчетом на прочность при передаче
на трубу максимального крутящего момента, развиваемого механизмом, используемым
для погружения свай.
7.7. Фундаментные
конструкции с использованием щебеночных свай во всех случаях рассчитывают по
деформациям и в случаях, предусмотренных п. 2.3 СНиП 2.02.01-83, - по несущей
способности. При этом необходимые для расчетов значения характеристик грунтов
армированного щебеночными сваями основания принимаются равными характеристикам,
соответствующим требуемой по расчету плотности сухого грунта армированного
основания.
7.8. Расчет расхода
щебеночного материала на устройство армированного основания и размеров
щебеночных свай выполняются исходя из удельного расхода материала на 1 м3
армированного основания, определяемого по таблице 7.2 в зависимости от среднего
коэффициента пористости неармированного основания, а также размеров фундамента
в плане, диаметра пневмопробойника и толщины армированного основания.
Таблица 7.2
─────────────────────┬─────────────────────────────────────────────────────
Плотность сухого │
Удельный расход щебеночного материала на 1 м3
грунта
армированного │ армированного
основания при среднем коэффициенте
основания, т/м3 │
пористости грунта неармированного основания
├──────────┬──────────┬──────────┬──────────┬─────────
│ 0,8
│ 0,9 │
1,0 │ 1,1
│ 1,2
─────────────────────┼──────────┼──────────┼──────────┼──────────┼─────────
1,5 │ 0,02
│ 0,05 │
0,08 │ 0,1
│ 0,12
1,6 │ 0,06
│ 0,09 │
0,12 │ 0,14
│ 0,16
1,7 │ 0,1
│ 0,13 │
0,15 │ 0,18
│ 0,2
1,8 │ 0,14
│ 0,17 │
0,19 │ 0,22
│ 0,24
─────────────────────┴──────────┴──────────┴──────────┴──────────┴─────────
7.9.
Комбинированные свайно-плитные (КСП) фундаменты рассчитываются по деформациям.
Расчет осадки КСП фундамента базируется на совместном рассмотрении жесткости
P/S свай и плиты (где P - нагрузка, а S - осадка).
Расчет производится
на основе определения частных значений жесткости группы свай
и ростверка и коэффициента их взаимодействия, используемого для определения
коэффициента жесткости всего фундамента. При этом жесткость группы свай
определяется по формуле:
, (7.3)
где
- жесткость одиночной сваи P/S;
- коэффициент эффективности работы сваи в
свайном поле;
n - число свай,
принятое для расчета КСП фундамента.
В формуле (7.3)
,
где
- модуль деформации грунта, который следует
определять на уровне подошвы сваи;
d - диаметр сваи;
- коэффициент влияния, зависящий от отношения
l/d длины сваи к ее диаметру (или стороне квадратной сваи) и от коэффициента
жесткости сваи
, где
- модуль деформации материала сваи.
Коэффициент влияния
определяется по таблице 7.3.
Таблица 7.3
┌─────────────┬──────────────────────────────────────────────────┐
│ l/d
│ Значения I при лямбда, равном │
│ │ s │
│
├────────────────┬────────────────┬────────────────┤
│ │ 100
│ 1000 │ 10000
│
├─────────────┼────────────────┼────────────────┼────────────────┤
│ 10
│ 0,200 │ 0,145
│ 0,139 │
│ 25
│ 0,145 │ 0,088
│ 0,080 │
│ 50
│ 0,130 │ 0,062
│ 0,046 │
└─────────────┴────────────────┴────────────────┴────────────────┘
7.10. Определение
числа свай n производится на основе анализа двух факторов:
а) на основе
непосредственного учета несущей способности выбранной для фундамента сваи по
формуле:
, (7.4)
где
- сумма нагрузок, действующих на фундамент;
- допускаемая нагрузка на сваю, которую при
проектировании КСП фундаментов рекомендуется принимать равной
(
- несущая
способность сваи, выбранной для проектирования);
б) на основе выбора
технически и экономически оправданного расстояния между сваями в группе,
которое на основе имеющегося опыта рекомендуется принимать равным
a = (5 - 7)d; в этом случае число свай определяется по формуле:
, (7.5)
где B и L -
соответственно ширина и длина фундамента.
7.11. При значениях
n до 100 и расстоянии между сваями a = (5 - 7)d, коэффициент
определяют по формуле:
. (7.6)
Этой же формулой
можно воспользоваться при указанных выше значениях
и L/d для определения
при a/d = 3 и a/d = 10, вводя в формулу (7.6)
дополнительный коэффициент, равный: при a/d = 3 - коэффициент 1,3 в
знаменателе, а при a/d = 10 - 1,3 в числителе.
Для значений n =
200 - 1000 коэффициент
следует определять по таблице 7.4.
Таблица 7.4
┌────┬──────────────────┬────────────────────────┬────────────────────────┐
│
n │ лямбда = 1000 │
лямбда = 1000 │ лямбда = 10000 │
│ │
L/d = 10 │ L/d = 25 │ L/d = 25 │
│
├──────────────────┼────────────────────────┼────────────────────────┤
│ │ a/d │ a/d │ a/d │
│
├─────┬─────┬──────┼─────┬─────┬─────┬──────┼─────┬─────┬─────┬──────┤
│ │
5 │ 7
│ 10 │
3 │ 5
│ 7 │
10 │ 3
│ 5 │
7 │ 10
│
├────┼─────┼─────┼──────┼─────┼─────┼─────┼──────┼─────┼─────┼─────┼──────┤
│
200│0,08 │0,10 │ 0,15 │0,05 │0,08 │0,10
│ 0,13 │0,04 │0,06 │0,08 │ 0,09 │
│
400│0,06 │0,07 │ 0,11 │0,04 │0,06 │0,08
│ 0,09 │0,03 │0,05 │0,06 │ 0,08 │
│
800│0,04 │0,05 │ 0,08 │0,03 │0,04 │0,06
│ 0,07 │0,02 │0,03 │0,04 │ 0,05 │
│1000│0,04
│0,05 │ 0,08 │0,02 │0,04 │0,05 │ 0,06
│0,02 │0,03 │0,04 │ 0,05 │
└────┴─────┴─────┴──────┴─────┴─────┴─────┴──────┴─────┴─────┴─────┴──────┘
7.12. Жесткость
плиты
определяется по формуле:
, (7.7)
где F - площадь
плиты;
- коэффициент, зависящий от отношения L/B и
определяемый по таблице 7.5.
Таблица 7.5
┌──────┬────────┬─────────┬─────────┬────────┬─────────┬─────────┬────────┐
│
L/B │ 1
│ 1,5 │
2 │ 3
│ 5 │
7 │ 10
│
├──────┼────────┼─────────┼─────────┼────────┼─────────┼─────────┼────────┤
│ m
│ 0,88 │
0,87 │ 0,86
│ 0,83 │
0,77 │ 0,73 │
0,67 │
│ o
│ │ │ │ │ │ │ │
└──────┴────────┴─────────┴─────────┴────────┴─────────┴─────────┴────────┘
7.13. Осадка
комбинированного свайно-плитного фундамента определяется по формуле:
, (7.8)
где
- общая нагрузка на фундамент;
- общая жесткость фундамента, равная
.
При этом часть
нагрузки, воспринимаемой сваями, составляет:
. (7.9)
Часть нагрузки,
воспринимаемой плитой, составляет:
.
(7.10)
7.14.
Расчет по несущей способности буронабивных, буросекущихся и буроинъекционных
одиночных свай в составе фундаментов при действии на них сжимающих нагрузок по
характеристикам грунтов оснований производится по формулам:
а) в случае заделки
нижних концов свай в невыветрелый (без слабых прослоек) скальный грунт
,
(7.11)
где N - расчетная
сжимающая нагрузка, передаваемая на сваю (продольное сжимающее усилие,
возникающее в ней от расчетных нагрузок, действующих на фундамент при наиболее
невыгодном их сочетании);
- коэффициент условий работы сваи в грунте,
принимаемый равным 1;
- коэффициент надежности основания,
принимаемый равным 1,4;
- коэффициент надежности скального грунта под
пятой сваи, принимаемый равным 1,4;
- нормативное значение предела прочности на
одноосное сжатие скального грунта в водонасыщенном состоянии;
A - площадь
опирания сваи на грунт;
- глубина заделки нижнего конца в скальный
грунт (при заделке сваи
величина
принимается равной
);
- диаметр заделанной в скальный грунт части
сваи;
a - коэффициент,
принимаемый при
a = 1,5, а в остальных случаях a = 0;
б) в случае
опирания нижних концов сваи на сжимаемые нескальные грунты
,
(7.12)
где N,
и A - обозначения те же, что и в формуле
(7.11);
- коэффициент условий работы сваи, принимаемый
равным
;
- коэффициент условий работы грунта под нижним
концом сваи, принимаемый для песчаных грунтов и глинистых грунтов
;
R - расчетное
сопротивление грунта под нижним концом сваи, принимаемый
по табл. 7.6 и 7.7;
U - периметр
поперечного сечения ствола сваи, соприкасающегося с грунтом;
- коэффициент условий работы грунта на боковой
поверхности сваи, определяемый по табл. 7.8 в зависимости от способа бурения скважин
и способа бетонирования;
- расчетное сопротивление i-го слоя грунта на
боковой поверхности ствола сваи, принимаемое в соответствии с указаниями п.
7.15;
- толщина i-го слоя грунта, соприкасающегося с
боковой поверхностью сваи.
Таблица 7.6
─────────────┬─────────────────────────────────────────────────────────────
Глубина
│ Расчетное сопротивление
R, кПа, под нижним концом свай
заложения
│ при глинистых грунтах с
показателем текучести I , равным
нижнего
конца│
L
сваи h, м
├────────┬────────┬────────┬────────┬────────┬────────┬───────
│ 0,0
│ 0,1 │
0,2 │ 0,3
│ 0,4 │
0,5 │ 0,6
─────────────┼────────┼────────┼────────┼────────┼────────┼────────┼───────
3
│ 850 │
750 │ 650
│ 500 │
400 │ 300
│ 250
5
│ 1000 │
850 │ 750
│ 650 │
500 │ 400
│ 350
7
│ 1150 │
1000 │ 850
│ 750 │
600 │ 500
│ 450
10
│ 1350 │
1200 │ 1050
│ 950 │
800 │ 700
│ 600
12
│ 1550 │
1400 │ 1250
│ 1100 │
950 │ 800
│ 700
15
│ 1800 │
1650 │ 1500
│ 1300 │
1100 │ 1000
│ 800
18
│ 2100 │
1900 │ 1700
│ 1500 │
1300 │ 1150
│ 950
20
│ 2300 │
2100 │ 1900
│ 1650 │
1450 │ 1250
│ 1050
30
│ 3300 │
3000 │ 2600
│ 2300 │
2000 │ -
│ -
40
│ 4500 │
4000 │ 3500
│ 3000 │
2500 │ -
│ -
─────────────┴────────┴────────┴────────┴────────┴────────┴────────┴───────
Таблица 7.7
─────────────┬─────────────────────────────────────────────────────────────
Глубина
│ Расчетное сопротивление
R, кПа, под нижним концом свай
заложения
│
при песках
нижнего
конца├─────────────┬─────────────────┬─────────────┬───────────────
сваи h, м
│ крупных │средней крупности│ мелких
│ пылеватых
─────────────┼─────────────┼─────────────────┼─────────────┼───────────────
3
│ 1000 │ 900
│ 700 │ 500
4
│ 1200 │ 1000
│ 850 │ 600
5
│ 1300 │ 1200
│ 900 │
700
7
│ 1600 │ 1400
│ 1000 │ 800
10
│ 2000 │ 1700
│ 1300 │
1000
15
│ 2800 │ 2500
│ 1500 │
1100
20
│ 3500 │
3000 │ 1800
│ 1200
25
│ 4200 │ 3500
│ 2100 │
1300
30
│ 5000 │ 3900
│ 2500 │
1400
40
│ 5500 │ 4200
│ 2800 │
1400
─────────────┴─────────────┴─────────────────┴─────────────┴───────────────
Таблица 7.8
───────────────────────────────────┬───────────────────────────────────────
Способы устройства свай │Коэффициент условий работы сваи
гамма
│ cf
├────────┬─────────┬───────────┬────────
│в
песках│в супесях│в суглинках│в глинах
───────────────────────────────────┼────────┼─────────┼───────────┼────────
Бетонирование: │ │ │ │
а)
при отсутствии воды в скважине
│ 0,7 │
0,7 │ 0,7
│ 0,6
(сухим
способом), а также │ │ │ │
при
использовании обсадных труб
│ │ │ │
б)
под водой
│ 0,6 │
0,6 │ 0,6
│ 0,6
───────────────────────────────────┴────────┴─────────┴───────────┴────────
7.15.
Расчетные сопротивления грунтов на боковой поверхности сваи
принимаются по табл. 7.9 со знаком плюс по
всей длине сваи за исключением следующих случаев:
а) планировки
территории подсыпкой толщиной более 1 м;
б) загрузки пола
около фундаментов полезной нагрузкой более 200 кН/м2;
в) увеличения
эффективных напряжений в грунте за счет снятия взвешивающего действия воды при
понижении уровня грунтовых вод;
г) незавершенной
консолидации грунтов современных и техногенных отложений;
д) просадки грунтов
при замачивании.
Таблица 7.9
───────────────┬───────────────────────────────────────────────────────────
Средняя
глубина│Расчетные сопротивления на боковой поверхности свай f , кПа
расположения
│ i
слоя
грунта, м
├───────────────────────────────────────────────────────────
│ песчаных грунтов средней плотности
├─────────────────┬───────┬─────────┬───┬───┬───┬───┬───┬───
│крупных и
средней│мелких │пылеватых│ - │ -
│ - │ - │ - │ -
│ крупности
│ │ │ │
│ │ │
│
├─────────────────┴───────┴─────────┴───┴───┴───┴───┴───┴───
│ глинистых грунтов при показателе текучести I
, равном
│
L
├─────────────────┬───────┬─────────┬───┬───┬───┬───┬───┬───
│ 0,2
│ 0,3 │
0,4
│0,5│0,6│0,7│0,8│0,9│1,0
───────────────┼─────────────────┼───────┼─────────┼───┼───┼───┼───┼───┼───
1
│ 35 │
23 │ 15
│12 │ 8 │ 4 │ 4 │ 3 │ 2
2
│ 42 │
30 │ 21
│17 │12 │ 7 │ 5 │ 4 │ 4
3
│ 48 │
35 │ 25
│20 │14 │ 8 │ 7 │ 6 │ 5
4
│ 53 │
38 │ 27
│22 │16 │ 9 │ 8 │ 7 │ 5
5
│ 56 │
40 │ 29
│24 │17 │10 │ 8 │ 7 │ 6
6
│ 58 │
42 │ 31
│25 │18 │10 │ 8 │ 7 │ 6
8
│ 62 │
44 │ 33
│26 │19 │10 │ 8 │ 7 │ 6
10
│ 65 │
46 │ 34
│27 │19 │10 │ 8 │ 7 │ 6
15
│ 72 │
51 │ 38
│28 │20 │11 │ 8 │ 7 │ 6
20
│ 79
│ 58 │
41 │30 │20
│12 │ 8 │ 7 │ 6
25
│ 86 │
61 │ 44
│32 │20 │12 │ 8 │ 7 │ 6
30
│ 93 │
66 │ 47
│34 │21 │12 │ 9 │ 8 │ 7
35
│ 100 │
70 │ 50
│36 │22 │13 │ 9 │ 8 │ 7
───────────────┴─────────────────┴───────┴─────────┴───┴───┴───┴───┴───┴───
В указанных случаях
величина
на боковой поверхности сваи принимается со
знаком минус до глубины, на которой расчетное значение осадки околосвайного
грунта превышает половину предельного значения осадки для здания или
сооружения, а ниже этой глубины - со знаком плюс.
7.16. Несущую
способность буронабивных и буросекущихся висячих свай диаметром 600 - 1200 мм,
погруженных в грунт на глубину не менее 5 м работающих на сжимающую нагрузку,
по результатам статического зондирования следует определять по методике,
регламентируемой в разделе "Свайные фундаменты" МГСН 2.07-97
"Основания, фундаменты и подземные сооружения".
Параллельно с таким
расчетом следует провести расчет несущей способности в соответствии с пп. 7.14
и 7.15 настоящих рекомендаций. При расхождениях в полученных величинах несущей
способности свай более 25% следует провести их испытания статистическими нагрузками
(не менее 2 испытаний).
7.17. Одиночную
сваю в составе фундамента по несущей способности грунта основания на осевую
выдергивающую нагрузку следует рассчитывать по условию:
,
(7.13)
где N - расчетное
выдергивающее усилие при наиболее невыгодном сочетании нагрузок, передаваемых
на фундамент здания или сооружения;
- коэффициент условий работы, принимаемый равным
;
- расчетное сопротивление i-го слоя грунта на
боковой поверхности сваи, определяемое по табл. 7.9;
,
и
- то же, что и в формуле 7.12.
7.18.
Расчет свай на горизонтальную нагрузку со свободным верхним концом выполняется
согласно приложению 1 СНиП 2.02.03-85 в следующей последовательности:
- определяются
исходные расчетные характеристики - коэффициенты постели грунта, прорезаемого
сваей и под ее нижним концом, коэффициент деформации, приведенная глубина
погружения сваи и условная рабочая ширина;
- устанавливаются
расчетные нагрузки применительно ко второму предельному состоянию;
- вычисляются
горизонтальные перемещения и углы поворота сваи от единичных сил, действующих
на уровне поверхности грунта;
- вычисляются
горизонтальное перемещение и угол поворота сваи на уровне поверхности грунта
или подошвы низкого ростверка от действующих расчетных нагрузок;
- определяются
горизонтальные перемещение и угол поворота сваи на уровне ее верха от
действующих расчетных нагрузок;
- вычисленные
перемещения сопоставляются с допустимыми предельными,
чем завершается расчет по второму предельному состоянию;
- устанавливаются
расчетные нагрузки применительно к первому предельному состоянию;
- определяются
расчетные усилия, действующие в сечении свай на различной глубине и давление на
грунт по контакту с боковой поверхностью сваи;
- производится
расчет устойчивости основания, окружающего сваю;
- по наибольшим
расчетным усилиям в сечении проверяется прочность материала сваи в соответствии
со СНиП 2.03.01-84, чем завершается расчет по первому предельному состоянию.
7.19. В
случае жесткой заделки сваи в ростверке (при отсутствии поворота ее головы)
расчет на горизонтальную нагрузку производится в той же последовательности с
учетом дополнительного момента, возникающего в голове сваи и направленного в
сторону, противоположную направлению горизонтальной силы.
7.20. При наличии
проведенных статистических испытаний свай их расчет по несущей способности
грунта основания выполняется по формуле:
,
(7.14)
где N - расчетное
осевое усилие в свае, возникающее в результате передачи на нее нагрузок от
здания или сооружения при самом неблагоприятном их сочетании;
- коэффициент условий работы, принимаемый в
случае вдавливающих и горизонтальных нагрузок
, а в
случае выдергивающих -
;
- коэффициент надежности свайного основания,
принимаемый равным
при фундаментах в виде одиночных свай с
нагрузками более 2500 кН и 1,2 во всех остальных случаях;
- значение предельного сопротивления сваи,
определяемое в соответствии с указаниями п. 7.21.
7.21. В качестве предельного сопротивления
буронабивной или буроинъекционной сваи по
результатам их статистических испытаний следует принимать нагрузку на одну
ступень меньшую, чем нагрузка, при которой перемещения сваи непрерывно
возрастают, не достигая в течение 24 часов условной стабилизации, равной 0,1 мм
за 1 ч, но не более нагрузки, при которой осадка сваи достигает величины 30 мм.
Примечания. 1.
Ступени загружения при испытаниях свай следует назначать равными 1/10 величины
предполагаемого предельного сопротивления сваи.
2. Для расчетов по
формуле (7.14) берется наименьшее значение предельного сопротивления,
полученное по результатам испытаний двух или более свай.
7.22. Расчеты
буронабивных свай по прочности их материала выполняются в соответствии со СНиП
2.02.03-85, а буроинъекционных свай, кроме того, в соответствии с
"Рекомендациями по применению буроинъекционных свай", НИИОСП, М.,
1997.
Сопротивление
бетона при расчете свай по прочности их материала следует принимать с учетом
понижающих коэффициентов условий работы, равных:
а) в
глинистых грунтах в случае, если возможно бурение скважин и их бетонирование
насухо без крепления стенок в связи с расположением уровня грунтовых вод ниже
пяты сваи
;
б) в глинистых и
песчаных грунтах, бурение которых производится под защитой обсадных труб, а
бетонирование в них осуществляется насухо при отсутствии появления воды на
забое
;
в) в грунтах,
бурение скважин и бетонирование в которых проводится с применением извлекаемых
обсадных труб при наличии в них воды
.
7.23. Расчет
фундаментных конструкций из буронабивных, буросекущихся и буроинъекционных свай
по деформациям рекомендуется выполнять с использованием методик,
регламентированных в разделе "Свайные фундаменты" МГСН 2.07-97
"Основания, фундаменты и подземные сооружения".
7.24. Расчет
комбинированных фундаментных конструкций из буросекущихся свай как ограждающих
конструкций следует выполнять по той же методике, что и для бурозавинчивающихся
свай, в соответствии с п. 7.5 настоящих рекомендаций.
7.25. Несущая
способность забивных свай в составе фундаментных конструкций на осевую
вдавливающую нагрузку определяется следующими способами, регламентированными
СНиП 2.02.03-85:
- по
характеристикам грунтов основания по табл. 1, 2, 6, 7 и формулам (5), (8),
(11);
- по динамическим
формулам (17), (19);
- по данным
статистического зондирования по формуле (25);
- по результатам
статических испытаний эталонных свай по формулам (22), (23);
- по результатам
статистических испытаний натурных свай по формуле (16).
Способы определения
несущей способности свай перечислены в порядке возрастания точности получаемых
результатов, увеличения их стоимости и продолжительности выполнения.
7.26. Определение
несущей способности свай по характеристикам грунтов основания выполняется, как
правило, для ее предварительной оценки, с последующим уточнением другими
методами.
7.27. Определение
несущей способности свай динамическим способом по указанным выше формулам
используется для забивных свай для предварительной оценки их несущей
способности, а также для определения степени неоднородности грунтов основания в
пределах строящегося объекта. Кроме того, в сочетании с методом статических
испытаний грунтов сваей, этот метод используется для установления пригодности
свайного поля по поправочным коэффициентам, устанавливаемым в сопоставлении с
результатами статических испытаний.
7.28. Определение
несущей способности свай по данным статического зондирования и испытаний
грунтов эталонными сваями являются основными методами расчета для массового
строительства на забивных сваях, взаимно дополняющими друг друга. При этом
независимо от типа зонда по ГОСТ 20069-81 допускается согласно МГСН 2.07-97
определять несущую способность свай по данным статического зондирования на
основании измерения сопротивления грунта лишь под наконечником зонда.
7.29. Расчеты
забивных свай по прочности их материала выполняются с использованием графиков
внецентренного сжатия, представленных для свай квадратного сечения в серии
1.011.1 вып. 10, а для полых круглых свай - в ГОСТ 19804.5-83.
7.30. Расчет
забивных свай на горизонтальную нагрузку выполняется в соответствии с
методикой, указанной в пп. 7.18 и 7.19 настоящих рекомендаций.
7.31. Расчет
фундаментных конструкций из забивных свай по деформациям рекомендуется
выполнять с использованием методик, рекомендованных в разделе "Свайные
фундаменты" МГСН "Нормы проектирования оснований, фундаментов и
подземных сооружений".
8.
ПРОЕКТИРОВАНИЕ ФУНДАМЕНТНЫХ КОНСТРУКЦИЙ ИЗ СВАЙ
8.1. При
проектировании фундаментных конструкций любого типа из бурозавинчивающихся свай
расстояние от осей свай до наружных граней строительных конструкций близлежащих
зданий и сооружений назначают не менее 0,5d + 20 см, где d - диаметр свай.
8.2. При
проектировании фундаментных конструкций с использованием щебеночных свай
расстояние между осями параллельных свай должно составлять не менее 0,5 м.
8.3. При
проектировании комбинированных свайно-плитных фундаментов необходимую несущую
способность сваи рекомендуется обеспечивать за счет увеличения длины свай, а не
их поперечного сечения, т.е. за счет увеличения гибкости свай.
8.4. При конструктивном расчете плиты ростверка КСП фундамента следует
учитывать, что при очень жестком ростверке, обеспечивающем одинаковую осадку
всех свай, происходит существенное перераспределение нагрузки на сваи, в
результате которого нагрузка на крайние ряды свай, особенно угловые сваи, будет
выше средних, что может вызвать значительные изгибающие моменты на краях и в
углах ростверка.
8.5. Глубина
заложения подошвы ростверка КСП фундамента должна назначаться в зависимости от
конструктивных решений подземной части здания или сооружения (наличия подвала,
технического подполья или подземных гаражей), грунтовых условий и проекта,
планировки территории, а также высоты ростверка, определяемой расчетом.
8.6. Следует
принимать во внимание, что осадка КСП фундамента при вертикальных сваях не
зависит от системы связи сваи с ростверками - жесткой или шарнирной, которая
принимается в проекте по конструктивным соображениям. Возможно комбинированное
сопряжение свай с плитным ростверком: в центральной части - без выпусков
арматуры, по периметру - с выпусками.
8.7. Буронабивные, буросекущиеся и буроинъекционные сваи в составе
несущих и комбинированных фундаментных конструкций являются фактически опорами,
воспринимающими вертикальные и горизонтальные нагрузки, а также моментные
воздействия, и поэтому они должны быть законструированы на восприятие
действующих в них усилий с учетом всех требований, предъявляемым к
железобетонным конструкциям типа колонн, в соответствии с требованиями СНиП
2.03.01-84 "Бетонные и железобетонные конструкции".
8.8. Армирование
буронабивных, буросекущихся и буроинъекционных свай следует выполнять объемными
каркасами (рис. 8.1), для создания жесткости которых
их продольные арматурные стержни 1 должны быть соединены не только хомутами 2,
но и трубчатыми кольцами 3, установленными на сварке по длине каркаса на
расстоянии не реже чем через пять его диаметров. В целях обеспечения защитного
слоя бетона между грунтом и арматурными стержнями каркаса последний должен быть
оснащен фиксаторами 4, и также крестообразными анкерами, установленными в
нижнем конце каркаса для исключения возможности его подъема при извлечении
обсадных труб.

Рис. 8.1.
Объемный арматурный каркас буронабивных,
буросекущих и
буроинъекционных свай
1 - арматурный
стержень; 2 - хомуты;
3 - трубчатые
кольца; 4 - фиксаторы
8.9. Армирование
буросекущихся свай рекомендуется, как правило, выполнять через одну сваю,
оставляя рассекаемые сваи бетонными, не имеющими арматуры.
Комбинированные
фундаментные конструкции из буросекущихся свай включают верхние направляющие
стенки, которые должны армироваться, иметь толщину 300 мм и в зависимости от
диаметра сваи иметь высоту от 500 до 750 мм и быть погруженными в достаточно
устойчивый грунт.
8.10. Буроинъекционные сваи диаметром 150 мм в случае их использования
для усиления оснований существующих зданий при нагрузках до 200 кН допускается
армировать одиночными стержнями (рис. 8.2) при условии передачи на последние
всей величины продольного усилия, возникающего от действующей на сваю нагрузки,
то есть без учета сопротивления бетона, используемого в данном случае лишь для
целей антикоррозийной защиты арматуры и повышения сопротивления сваи
продольному изгибу.
Примечание.
Одностержневое армирование буроинъекционных свай, прорезающих грунты с модулем
деформации менее 5 МПа, а также при наличии в стволе сваи изгибающего момента,
не допускается.

Рис. 8.2.
Возможный вариант армирования
буроинъекционных
свай, воспринимающих нагрузку до 200 кН
8.11. При
определении размеров буронабивных и буроинъекционных свай (поперечного сечения,
длины) следует стремиться к наиболее полному использованию прочности материала
свай и грунтов основания.
8.12.
Размещение буронабивных и буроинъекционных свай в плане не может назначаться
как в виде их ленточного расположения, так и в виде кустов (рис. 8.3). При этом
необходимо стремиться к минимальному числу свай в группах (кустах) или к
максимально возможному шагу свай в лентах, добиваясь наибольшего использования
принятой в проекте несущей способности свай. Не следует допускать
недоиспользование несущей способности свай более 15%, перегрузку свай от
постоянных и длительных нагрузок более чем на 5%, от кратковременных нагрузок -
на 20%.

Рис. 8.3. Кустовое
размещение буронабивных свай
B >= 3Д при Д <= 0,5 м; B >= 1 м + Д при Д > 0,5 м
8.13. Расстояние
между буронабивными сваями должно быть не менее 1 м в свету, а расстояние между
буроинъекционными сваями в осях - не менее трех диаметров их поперечного
сечения.
8.14. Угол наклона
оси буроинъекционных свай к вертикали при козловом их расположении (рис. 8.4)
рекомендуется назначать не более 10 градусов.

Рис. 8.4.
Козловые фундаменты из буроинъекционных свай
8.15. Нижние концы
свай-стоек должны заделываться в скальный невыветрелый грунт (без слабых
прослоек) не менее чем на 0,5 м и одновременно не менее чем на 30 диаметров их
арматуры.
8.16. При
проектировании фундаментных конструкций из забивных свай определение размеров
свай и их размещение в плане должны осуществляться в соответствии с
рекомендациями пп. 8.11 и 8.12 настоящего раздела. При этом независимо от
конструкции фундамента и расположения свай в плане расстояния между их осями не
должны быть менее 3d, где d - сторона сечения сваи или ее диаметр.
8.17. При зданиях с
несущими стенами применяются, как правило, ленточные ростверки. Ширина
ростверков зависит от количества свай в поперечном сечении и от ширины несущей
стены. Величина свеса ростверка от грани свай должна приниматься с учетом
допускаемых отклонений свай в плане (в соответствии с разделом 11 настоящих
рекомендаций). Высота ростверка определяется расчетом в соответствии с
требованиями СНиП 2.02.05-87. Ростверк рассчитывается как железобетонная
многопролетная балка. Армирование ростверка производится пространственными
арматурными каркасами, как правило, из арматуры класса АIII.
Для ростверка применяют, как правило, бетон класса по прочности В15, В20.
Ростверк укладывается по бетонной подготовке класса В7.5.
8.18. При
зданиях со сборным железобетонным каркасом применяются ростверки стаканного
типа, состоящие из плитной части и подколонника - стаканной части. Величина
свеса ростверка от грани свай должна приниматься с учетом допускаемых
отклонений свай в плане (в соответствии с разделом 11 настоящих рекомендаций).
Размеры ростверков в плане должны приниматься в плане кратными 30 см, а по
высоте - 15 см. Конструктивная высота ростверка назначается на 40 см больше
глубины стакана. Ростверк рассчитывается в соответствии с требованиями СНиП
2.02.05-87. Ростверк рассчитывается на изгиб (плитная часть, стаканная часть) и
на продавливание (продавливание колонны и угловой сваи). Армирование ростверка
производится плоскими сетками (плитная часть) и пространственными каркасами
(стенки стакана), как правило, из арматуры класса АIII.
Для ростверка применяют, как правило, бетон класса по прочности В15, В20.
Ростверк укладывается на бетонную подготовку класса В7.5.
8.19. При зданиях с
каркасом из монолитного железобетона или с металлическим каркасом применяются
плитные ростверки. При этом высота ростверка определяется с учетом необходимой
заделки арматурных выпусков или анкерных болтов. В остальном ростверк
проектируется аналогично указанному в п. 8.18.
8.20. Для тяжелых
каркасных зданий и сооружений применяются, как правило, большеразмерные плитные
ростверки (при размерах в плане 10 x 10 мм и более). Они проектируются как
стержневые системы на упругом основании в виде сплошного свайного поля с
использованием расчетных пакетов программ для ПЭВМ. Высота плитного ростверка
определяется, как правило, из расчета возможности воспринятия поперечных сил
без установки поперечной (вертикальной) арматуры. Плитные ростверки армируются
верхними и нижними сетками из арматуры класса АIII,
которые укладываются на поддерживающие каркасы. Большеразмерные плитные
ростверки изготавливаются из бетона класса по прочности В25, укладываемого на
бетонную подготовку класса В7.5.
9. СОСТАВ
ПРОЕКТА ФУНДАМЕНТНЫХ КОНСТРУКЦИЙ ИЗ СВАЙ
9.1. Проект
фундаментных конструкций из свай должен соответствовать указаниям СНиП 11-01-95
"Инструкция о порядке разработки, согласования, утверждения и составе
проектной документации на строительство предприятий, зданий и сооружений".
Оформление чертежей должно отвечать требованиям государственных стандартов
системы проектной документации для строительства ЕСПДС.
9.2. При двух
стадийном проектировании в состав проекта на стадии "ПРОЕКТ" входят:
-
пояснительная записка, содержащая описание инженерно-геологических и
гидрогеологических условий площадки строительства, конструктивных характеристик
здания или сооружения, обоснования принятого решения по свайным фундаментам
(внешние нагрузки, передаваемые на фундаменты, вид свай, их габариты, расчетные
нагрузки на сваю - вертикальные вдавливающие и выдергивающие, горизонтальные,
изгибающие моменты; деформации оснований фундаментов - вертикальные,
горизонтальные, крены), технико-экономические характеристики сравниваемых
вариантов, выполненных с соблюдением необходимых условий сопоставимости;
- чертежи
фундаментов, позволяющих обосновать объемы работ, в том числе: маркировочные
схемы расположения свай в плане (ленты, группы, свайное поле), маркировочные
схемы расположения ростверков в плане, характерные геологические разрезы с
нанесенными сваями и ростверками, обосновывающими принятые параметры свай и
свайных фундаментов, чертежи принятых конструкций свай.
К проекту должен
быть приложен перечень нормативных документов, на основании которых разработан
проект.
9.3. На второй
стадии при двухстадийном проектировании (стадии "РАБОЧАЯ
ДОКУМЕНТАЦИЯ") или при одностадийном проектировании ("РАБОЧИЙ
ПРОЕКТ") чертежи свайных фундаментов входят в комплект железобетонных конструкций
(КЖ) и включают:
- лист "Общие
данные", состоящий из сведений о составе комплектов чертежей марки КЖ,
разработанного комплекса чертежей свайных фундаментов, перечня спецификаций,
ведомости ссылочных и прилагаемых документов проекта, ведомости объемов работ;
на листе должна быть приведена выкопировка из генплана с нанесенными
архитектурно-строительными осями здания или сооружения, положением
инженерно-геологических выработок (скважин, шурфов, точек зондирования и др.),
линий инженерно-геологических разрезов, красных и черных отметок дневной
поверхности земли, абсолютной отметки 0.000.
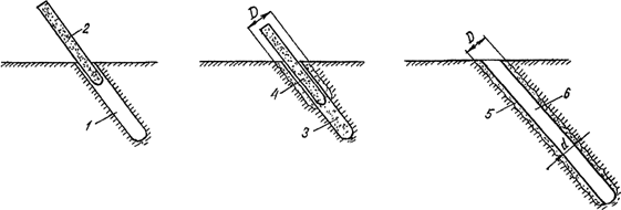
На листе должна
быть сделана специальная надпись за подписью главного инженера проекта о том,
что проект разработан в соответствии с действующими нормативными документами.
Эта надпись помещается в левом нижнем углу чертежа и взята в рамку.
На листе должны
быть даны общие указания, включающие наименование организации, выдавшей задание
на проектирование, номер и дату договора, на основании которого разработан
проект, перечень инженерно-геологических материалов, абсолютная отметка,
условно принятая за 0.000. Должны быть указаны нагрузки, принятые на сваи
(вертикальные, горизонтальные, изгибающие моменты) и обоснования их принятия в
проекте. На листе указываются сведения об агрессивности воды-среды и принятой в
проекте защите свай от коррозии. Указываются также сведения об источнике
получения нагрузок на фундаменты; должны быть указаны требования к общим и
неравномерным осадкам, которые обеспечиваются принятой конструкцией фундаментов.
При большом объеме
информации, лист "Общие данные" может быть выполнен на двух листах,
первый из которых будет называться "Общие данные (начало)", второй -
"Общие данные (окончание)".
- лист "Разрез(ы)", на котором изображаются характерные инженерно-геологические
разрезы, на которые наносятся оси здания, линии с уровнями дна котлована, с
абсолютными отметками подошвы ростверков, отметками нижних концов свай, данными
физико-механических свойств грунтов, необходимых для обоснования параметров свай;
- лист со схемами
расположения свай со спецификациями;
- лист со схемами
расположения ростверков со спецификациями;
- лист(ы) с конструкциями свай (если в этом имеется
необходимость) со спецификациями;
- лист(ы) с конструкциями ростверка(ов) с опалубочными размерами,
схемами армирования, спецификациями, со схемой нагрузок на фундамент(ы) и их
величинами со спецификациями;
- лист(ы) с узлами и сечениями;
- чертежи
железобетонных и арматурных чертежей (КЖИ).
Примечания. 1.
Представленный состав характерных листов проекта свайных фундаментов удобен при
использовании графических пакетов для разработки проектов свайных фундаментов
на ПЭВМ. В этом случае проект может быть представлен в виде специальных
альбомов чертежей, предназначенных для использования отдельными строительными
подразделениями: альбом "Общие данные", альбом "Маркировочные
схемы", альбом "Свайные группы (поля, кусты)", альбом
"Ростверки", альбом "КЖИ", альбом "Сметы", при
этом альбомы "Общие данные", "Свайные группы",
"КЖИ", "Сметы" выполняются на формате А4,
альбом "Ростверки" - на формате А3, альбом "Маркировочные
схемы" - на форматах А3, А2, А1.
2. Рекомендуемая
структура проекта позволяет в сравнительно короткое время накопить необходимую
базу данных применительно к рассматриваемому региону (префектуре, городу).
3. Приведенная
структура чертежей облегчает внесение необходимых коррективов в чертежи в
процессе строительства и облегчает подготовку и обработку исполнительной
документации.
10. УСТРОЙСТВО ФУНДАМЕНТНЫХ КОНСТРУКЦИЙ ИЗ СВАЙ
10.1. Устройство
фундаментных конструкций из свай любого типа выполняется в следующей
последовательности:
- планировка
площадки или подготовка котлована;
- приемка-сдача
котлована;
- разбивка и
закрепление осей погружаемых или изготавливаемых свай;
- погружение или
изготовление свай;
- сдача-приемка
свайного поля;
- срубка головок
свай;
- зачистка
котлована в местах устройства ростверков;
- устройство
бетонной подготовки;
- монтаж арматуры
ростверков или плит;
- сдача-приемка
арматуры ростверков или плит;
- укладка бетонной
смеси в ростверки или плиты;
- сдача-приемка
ростверков или плит с получением разрешения на дальнейшее выполнение работ.
10.2. Для
выполнения работ по устройству фундаментных конструкций из свай применяются
технические средства, подразделяемые на основные, вспомогательные и для
контроля качества работ.
10.3. К основным
техническим средствам относятся копры, станки и молоты для погружения свай;
буровые станки, пневмопробойники для изготовления свай; крановое оборудование,
используемое для навесных копровых стрел или буровых рабочих органов;
автобетоносмесители большой емкости, приготовляющие и доставляющие литую
бетонную смесь для изготавливаемых на строительных площадках свай.
10.4. К
вспомогательным техническим средствам относятся машины и механизмы
общестроительного назначения, в том числе автотранспортные средства; машины для
земляных работ; погрузочно-разгрузочные средства; компрессоры; оборудование для
сварочных работ; свайные наголовники; инвентарные хомуты для срубки голов свай;
отбойные молотки; бетонолитные трубы; бункеры и бадьи для укладки бетонной
смеси.
10.5. К техническим
средствам для контроля качества выполнения работ относятся геодезические
инструменты; отказомеры; гаммаплотномеры; приборы для неразрушающих способов определения
марок бетона свай и ростверков, фактических величин защитного слоя бетона.
10.6. При разбивке
осей свай отклонение от проектного положения в плане не должно превышать +/- 5
мм. Проектное положение свай рекомендуется закреплять на месте окопанными
металлическими штырями, забитыми на глубину 0,2 - 0,3 м.
10.7. Погружение
бурозавинчивающихся свай рекомендуется производить с помощью буровых установок
типа СО-2 или СО-1200, развивающих крутящий момент до 3210 кгм.
10.8. В процессе
погружения бурозавинчивающихся свай через каждые 0,5 м должны фиксироваться и
заноситься в журнал продолжительность погружения сваи и значения крутящего
момента.
10.9. В целях
минимального нарушения структуры грунта при погружении бурозавинчивающихся свай
и сокращения времени погружения величина осевой пригрузки должна
согласовываться с плотностью проходимого грунта.
В процессе
погружения сваи осевая пригрузка корректируется таким образом, чтобы
коэффициент погружения сваи
,
вычисляемый как отношение теоретического числа оборотов сваи на 0,5 м ее
погружения
к фактическому числу оборотов n, определяемому
путем умножения скорости вращения выходного вала установки для погружения на
продолжительность погружения сваи на 0,5 м, был
возможно ближе к 1.
Примечание.
Теоретическое число оборотов сваи на 0,5 м ее погружения
определяется путем деления
на шаг спиральной навивки.
10.10. В некоторых
случаях при соответствующем обосновании расчетом и согласовании с проектной
организацией допускается изменение расположения бурозавинчивающихся свай с
глухим наконечником в процессе производства работ (извлечение свай при встрече
с местными скоплениями галечника, крупными валунами и т.п. и повторное
погружение свай).
10.11. Если по данным инженерно-геологических изысканий на всю проектную
глубину погружения бурозавинчивающихся свай или на ее часть залегают плотные
грунты либо грунты, содержащие крупнообломочные или другие включения,
затрудняющие погружение свай непосредственно в грунтовый массив, допускается
применение лидерных скважин диаметром, не менее чем на 0,1d меньшим диаметра
ствола сваи (d), и расположением их забоя не менее чем на 1 м выше
проектной отметки расположения нижних концов свай.
10.12. В неустойчивых грунтах вместо устройства лидерных скважин следует
выполнять рыхление грунтов шнековым буром (без подъема его при бурении) в
пределах грунтового массива (цилиндра), диаметр которого не менее чем на 0,1d
меньше диаметра ствола сваи, и отметка низа массива не менее чем на 0,5 м выше
проектной отметки расположения нижних концов свай.
10.13. При
устройстве фундаментных конструкций из бурозавинчивающихся свай со съемным
наконечником, когда стенки свай выполняют роль
инвентарных обсадных труб, следует учитывать требования, относящиеся к
устройству буронабивных свай типа БСИ.
10.14. При
устройстве фундаментных конструкций из бурозавинчивающихся свай с глухим
наконечником, заполненных бетоном без армирования, бетонирование полостей свай
следует производить свободным сбрасыванием бетонной смеси с осадкой конуса 5 -
7 см. Уплотнение бетона глубинным электровибратором производится только в
головной части ствола.
10.15. При
устройстве фундаментных конструкций из бурозавинчивающихся свай с глухим
наконечником, заполненных бетонам с армированием, в пределах высоты установки
арматуры бетонирование полостей свай следует производить методом ВПТ.
10.16. Устройство
щебеночных свай рекомендуется производить с помощью пневмопробойников типа
ИП-4603Б диаметром 130 мм или СО-134А диаметром 155 мм.
10.17. При
использовании указанных пневмопробойников работы
выполняются в следующей последовательности:
- установка
направляющей для пневмопробойника на расстоянии (0,15 - 0,25)B от грани
фундамента (B - ширина фундамента) с необходимым наклоном к горизонту,
назначаемым в проекте;
- пробивка
пневмопробойником лидерного участка скважины на глубину, соответствующую 1/3 -
1/2 длины пневмопробойника, и его извлечение;
- заполнение
пройденного участка скважины щебнем или гравием;
- втрамбовывание
засыпанного материала пневмопробойником в стенки скважины и доуглубление
скважины на 1/3 - 1/2 длины пневмопробойника с последующим его извлечением;
- повторение
операций по заполнению нового участка щебнем или гравием, втрамбовыванию
засыпанного материала и проходке следующего участка скважины;
- заполнение щебнем
образовавшейся скважины после окончания втрамбовывания щебня до предусмотренной
проектом глубины;
- бетонирование
головы сваи на глубину 1 м от поверхности грунта.
10.18.
Бетонирование головы сваи осуществляют литым бетоном класса В15. Перерыв между
окончанием заполнения свежим щебнем и бетонированием не должен превышать одного
часа.
10.19. Количество
операций по втрамбовыванию щебня на каждом участке скважины зависит от диаметра
формируемой сваи и устанавливается в проекте.
10.20. Сложность и
новизна конструкции комбинированного свайно-плитного фундамента требует тщательного
анализа всех элементов технологии производства работ, особенно при
использовании буронабивных свай. Эти элементы должны быть предусмотрены в
подробно разработанном проекте производства работ, учитывающем особенности
принятых конструкций свай и условий площадки строительства, а также технические
возможности строительных организаций, осуществляющих строительство фундаментов.
Особое внимание должно быть уделено элементам работ, от которых в первую
очередь зависит несущая способность фундамента.
10.21. При бурении скважин в водонасыщенных грунтах в скважинах должен
быть обеспечен уровень бурового (бентонитового или специального) глинистого
раствора на 1 - 2 м выше уровня подземных вод, до бетонирования скважины
следует тщательно проверить состояние забоя скважины, должен быть установлен
надежный контроль за непрерывностью подачи бетона, его качеством и фактическим
объемом бетонной смеси, уложенной в скважину.
10.22. Укладка
бетона фундаментной плиты должна производиться на ненарушенный уплотненный
грунт на предусмотренную проектом подготовку. Бетонирование плиты может
производиться только после приемки свай.
10.23. Работы по
устройству буронабивных и буросекущихся свай типа БСИ осуществляют станками
вращательного и ударно-канатного бурения в соответствии с технологическими
схемами, представленными на рис. 10.1 и 10.2. При этом рекомендуется
использовать отечественную установку СП-45 либо зарубежные установки
"Венсто", "Касагранде" и "Бауер".

Рис. 10.1.
Технологическая схема устройства
буронабивных свай
станками вращательного бурения:
1. Погружение
обсадной трубы. 2. Бурение в обсадной трубе.
3. Зачистка забоя
ковшовым буром. 4. Установка арматурного
каркаса. 5.
Бетонирование сваи. 6. Извлечение
обсадной трубы. 7.
Готовая буронабивная свая

Рис. 10.2.
Технологическая схема устройства
буронабивных свай
станками грейферного бурения:
1. Погружение
обсадной трубы. 2. Извлечение грунта
из обсадной трубы.
3. Установка арматурного каркаса.
4. Бетонирование
сваи с извлечением обсадной
трубы. 5. Готовая
буронабивная свая
10.24. Применяемые
при устройстве свай типа БСИ инвентарные обсадные трубы должны состоять из
отдельных секций, причем стыки ниже уровня подземных вод должны быть
герметичными.
10.25. При
применении буронабивных свай типа БСВо, устраиваемых с уширением и закреплением
стенок неизвлекаемыми обсадными трубами, рекомендуется использовать
отечественные установки вращательного и ударно-канатного бурения ВС 1-М, УКС
или УРВ-ЗАМ.
10.26. При применении
буронабивных и буросекущихся свай типа БСС, устраиваемых без закрепления стенок
скважин, рекомендуется использовать отечественные установки вращательного
бурения СО-2 и СО-1200.
10.27. Бурение
скважин для устройства свай типа БСИ и БСВо должно производиться без опережения
забоя относительно нижнего конца обсадной трубы.
При бурении в
обводненных песчаных грунтах с прослойками плывуна, заполняющего полость
обсадной трубы, следует осуществлять подачу в нее воды для поддержания
расчетного уровня грунтовых вод избыточным напором не менее 4 м.
В процессе бурения
скважин под сваи следует отмечать провалы инструмента. При фиксировании провала
необходимо остановить работы и сообщить авторскому надзору.
10.28. Выбуренный
грунт должен грузиться непосредственно в автотранспорт или перегружаться
автопогрузчиком в автотранспорт и вывозиться за пределы строительной площадки.
10.29. После
завершения проходки скважины производится зачистка забоя от шлама механическим
способом, а при опирании свай на скальные грунты зачистка забоя может
выполняться дополнительно гидравлическим способом. Затем должна быть
осуществлена проверка соответствия фактической глубины скважины проектной с
допуском +/- 100 мм.
10.30. Бурение
скважин рядом с ранее изготовленными сваями допускается лишь по прошествии не менее 48 часов после окончания бетонирования
последних.
10.31. Армокаркас
перед установкой должен быть проверен на соответствие проекту. Каркас должен
иметь не менее 3-х фиксаторов через каждые 5 метров его длины для обеспечения
защитного слоя бетона. Длина армокаркаса должна равняться разности отметок
между забоем скважины и верхом выпусков.
10.32. Каркас перед
установкой должен быть очищен от случайно налипшего на него грунта. Строповка
каркаса при погружении в скважину должна обеспечивать его проектное положение.
Запрещается опускать каркас в наклонном положении.
Если при
осмотре скважины с установленным армокаркасом отмечено наличие следов шлама в
забое скважины, армокаркас должен быть извлечен и проведена зачистка скважины.
10.32. Буронабивные
и буросекущиеся сваи должны выполняться из бетона класса не ниже В15 по
прочности на сжатие (на плотных заполнителях) и марки по водонепроницаемости
W6. Бетонная смесь должна удовлетворять требованиям ГОСТ 7473-85 "Смеси
бетонные. Технические условия" и приготовляться на щебне фракции 5 - 30
мм.
10.34.
Марка удобоукладываемости бетонной смеси - П4,
определяемая по показаниям осадки стандартного конуса по ГОСТ 10181.1-81,
должна составлять к моменту ее укладки не менее 18 см. Смесь должна быть
однородной и не расслаиваться при перевозке и укладке.
Удобоукладываемость
бетонной смеси определяется на месте и записывается в особую ведомость рабочего
журнала. Остальные показатели отражаются в паспорте на бетонную смесь по ГОСТ
7473-85.
10.35.
Прочность бетона буронабивных и буросекущихся свай определяется по ГОСТ
18105-86 с обязательным изготовлением контрольных образцов и обеспечением их
твердения в условиях аналогичных твердению свай. Объем контролируемой партии
назначается равным объему бетона, уложенному за 1
сутки.
10.36.
Бетонирование свай разрешается только после освидетельствования и оформления
актов на скрытые работы по бурению и армированию свайных скважин. При
бетонировании свай следует соблюдать требования СНиП 3.03.01-87 "Несущие и
ограждающие конструкции".
10.37.
Бетонная смесь в скважину должна укладываться способом вертикального
перемещения трубы (ВПТ). Для бетонирования должен применяться приемный бункер с
бетонолитной трубой диаметром 250 - 325 мм (объем бункера должен быть не менее
внутреннего объема бетонолитной трубы). Стыки секций бетонолитной трубы должны
быть герметичными. При наличии (перед началом бетонирования) воды в скважине
слоем более 20 см бетонолитная труба должна быть оборудована обратными
клапанами.
10.38.
Расстояние между забоем скважины и нижним торцом бетонолитной трубы при начале
бетонирования не должно превышать 30 см. В процессе бетонирования следует
осуществлять подъем бетонолитной трубы. При этом нижний торец должен быть
постоянно заглублен под уровень бетонной смеси не менее чем на 1 м. Процесс
бетонирования сваи должен быть непрерывным до полного заполнения бетоном
скважины.
10.39. В процессе
бетонирования следует определить показатель подвижности бетонной смеси по п.
10.34 настоящих рекомендаций. При несоответствии подвижности бетонная смесь к
укладке не допускается. Также производится постоянный отбор бетонных образцов
по п. 10.35.
10.40. Подача
бетонной смеси в свайную скважину осуществляется до момента выхода чистой (без
шлама) бетонной смеси на поверхность и заканчивается удалением загрязненного
слоя бетонной смеси. После чего извлекается последняя секция обсадной трубы и
формируется оголовок сваи.
10.41. Проходка
скважин для буроинъекционных свай выполняется вращательным бурением - в стенах
фундамента трехшарошечными долотами, а в грунтах - шнековым буром или
шарошечными долотами в соответствии с технологическими схемами, представленными
на рис. 10.3 и 10.4.

Рис. 10.3. Технологическая
схема устройства
буроинъекционных
свай с использованием шнекового бурения:
1. Бурение скважины
без выемки грунта. 2. Бетонирование
сваи через буровой
став. 3. Установка армокаркаса.
4. Готовая
буроинъекционная свая

Рис. 10.4.
Технологическая схема устройства
буроинъекционных
свай под глинистым раствором
с использованием
шарошечных долот:
1. Бурение скважины
под глинистым раствором.
2. Установка
армокаркаса. 3. Инъекция
мелкозернистого
бетона. 4. Готовая свая
10.42. Для
укрепления устья скважины буроинъекционной сваи в кладке усиливаемых
фундаментов устанавливаются трубы-кондукторы. Установку трубы-кондуктора с
внутренним диаметром, равным диаметру сваи или большим, производят в заранее
пробуренную и заполненную цементным раствором скважину.
10.43. Разбуривание
цементного камня в трубе-кондукторе следует начинать не ранее, чем после
двухсуточной выстойки трубы кондуктора в скважине с обязательной фиксацией
этого факта в журнале работ. Бурение в трубе-кондукторе следует вести с
продувкой сжатым воздухом. По окончании разбуривания цементного камня в
трубе-кондукторе последующее бурение скважин в песчаных и других неустойчивых
грунтах ведется до проектной отметки под защитой бентонитового раствора или
полым шнеком без выемки грунта.
По окончании
шарошечного бурения следует произвести промывку скважины через буровой став
свежим буровым глинистым раствором от шлама в течение 3 - 5 минут.
10.44. Установка
арматурного каркаса, как правило, должна предшествовать инъекционным работам,
но при соответствующем обосновании арматурный каркас разрешается также
устанавливать в скважину, уже заполненную цементным инъекционным раствором. В
последнем случае время сборки и монтажа арматурного каркаса должно обеспечивать
его установку в проектное положение до начала схватывания инъекционного
раствора и быть не более 1 часа.
10.45. Установку
армокаркаса буроинъекционной сваи в скважину следует производить отдельными
секциями. Стыковка арматурных стержней секций должна осуществляться ручной
дуговой сваркой.
Арматурный каркас
должен иметь фиксирующие элементы, для центрирования его в скважине и
обеспечения требуемой толщины защитного слоя. Секции армокаркаса перед
установкой следует очистить от случайно налипшего на него грунта.
10.46. Скважины
буроинъекционных свай должны заполняться инъекционным раствором -
мелкозернистой бетонной смесью. Инъекционный раствор должен быть однородным и
не расслаиваться при транспортировке и инъекции, для чего его марка по
удобоукладываемости, определяемая по ГОСТ 7473-85, должна быть П4.
10.47. Приготовлять
инъекционный раствор следует на строительной площадке непосредственно перед его
нагнетанием в скважину. Для приготовления раствора следует использовать
скоростные смесители с частотой вращения не менее 200 об/мин. Продолжительность
перемешивания составляющих раствора должна быть не менее 60 с.
10.48.
Инъекционный раствор следует расходовать не позднее 2-х часов после его
изготовления. Один раз в сутки должны отбираться образцы инъекционного раствора
для контроля его прочности после 28-дневного твердения в условиях, аналогичных
условиям изготовления буроинъекционных свай.
10.49. Заполнение
скважины инъекционным раствором необходимо производить либо непосредственно
через буровой став, либо через трубу-инъектор. В любом случае заполнение должно
производиться от забоя скважины снизу вверх до полного вытеснения бурового
раствора и появления в устье скважины чистого инъекционного раствора.
После заполнения
скважины твердеющим раствором и установки арматурного каркаса в проектное
положение следует произвести опрессовку сваи. Для опрессовки в верхней части
трубы-кондуктора необходимо установить тампон (обтюратор) с манометром и через
инъектор произвести нагнетание раствора под давлением 0,2 - 0,3 МПа в течение 1
- 3 минут.
10.50. При
устройстве буроинъекционных свай весь процесс инъектирования раствора до
полного заполнения скважины должен осуществляться при расположении нижнего
конца инъекционной трубы на расстоянии не более 0,5 м от забоя скважины (в
начальный момент инъектирования нижний конец инъекционной трубы должен
располагаться непосредственно на забое скважины). Диаметр инъекционных труб
должен быть не менее 40 мм. Удобоукладываемость инъекционного раствора перед
укладкой должна быть П4 (18 - 20 см по стандартному
конусу).
10.51. Расход
инъекционного раствора на одну сваю должен быть не менее 1,25 и не более 2,5
объема скважины. При утечках инъекционного раствора из скважины
буроинъекционной сваи (не позволяющих поднять давление опрессовки до проектной
величины) следует прекратить его инъекцию при подаче раствора в объеме, равном
2,5 объема скважины, а затем выполнить повторную опрессовку через 12 ч +/- 1 ч.
10.52. Для забивки
свай заводского изготовления применяется копровое оборудование (простые,
механизированные и универсальные копры), а также навесное или сменное
оборудование на базе тракторов и экскаваторов. Забивка осуществляется
сваепогружателями - молотами (механическими, паровоздушными, дизельными
штанговыми, трубчатыми или гидравлическими), или вибропогружателями,
навешиваемыми на копровую стрелу.
10.53. После
получения проекта производится подбор копрового оборудования и сваепогружателя.
Копер подбирается исходя из требуемого удельного давления копра на грунт под
ходовой частью, полезной высоты стрелы, грузоподъемности лебедки.
Сваепогружатель подбирается исходя из инженерно-геологических особенностей
площадки строительства, соотношения веса ударной части молота и веса сваи,
возможности применения способа забивки на рассматриваемой площадке.
10.54. Забивка свай
осуществляется до проектной отметки при получении проектного отказа (величины
погружения сваи от одного удара), рассчитываемого по динамическим формулам,
приведенным в СНиП 2.02.03-85.
10.56. При
необходимости пробивки в процессе погружения свай слоев или прослоек плотных
грунтов в целях сокращения продолжительности забивки свай, обеспечения их
сохранности и погружения до заданных отметок применяются лидерные скважины. В
этих случаях лидерные скважины делаются обычно на 5 см менее диагонали
поперечного сечения погружаемой сваи на глубину до подошвы плотной прослойки.
10.56. Лидерные скважины рекомендуется применять также при забивке свай в
водонасыщенные глинистые грунты, которые не успевают уплотняться в процессе
забивки свай, что приводит к вертикальным деформациям грунтов, вызывающим выпор
погруженных ранее свай, разрушение стыков составных свай, разрушение
фундаментных конструкций существующих зданий и сооружений, если забивка производится
на расстояниях менее 20 м от них.
10.57. Глубина
указанных в п. 10.56 лидерных скважин назначается исходя из условия обеспечения
их устойчивости без крепления. Глубина устойчивой скважины независимо от ее
диаметра, может быть определена по формуле:
,
(10.1)
где
- предельная глубина устойчивой скважины в м;
- недренированное сопротивление глинистого
грунта сдвигу в кПа.
Учитывая
существующую зависимость между недренированным сопротивлением глинистого грунта
сдвигу
и сопротивлением грунта под конусом зонда q
при статическом зондировании в виде
,
глубину устойчивой скважины можно рассчитать по формуле:
.
(10.2)
10.58. Перед
началом массовой забивки свай рекомендуется, как правило, выполнять
динамические испытания свай и, при необходимости, статические испытания свай,
руководствуясь требованиями ГОСТ 5686-94 "Грунты. Методы полевых испытаний
сваями".
11. ПРИЕМКА И КОНТРОЛЬ КАЧЕСТВА РАБОТ
ПО УСТРОЙСТВУ
ФУНДАМЕНТНЫХ КОНСТРУКЦИЙ ИЗ СВАЙ
11.1. Приемка
фундаментных конструкций из свай производится по результатам приемочного
контроля на основе проектной и исполнительно-производственной документации,
ставит своей целью установление соответствия возведенных конструкций проекту и
требованиям нормативных документов и является документированным свидетельством
пригодности принимаемых фундаментов для выполнения последующих этапов
строительно-монтажных работ по возведению здания или сооружения.
11.2. Контроль и
приемка свай и свайных ростверков осуществляется службой технического надзора
заказчика с участием авторов проекта свайных фундаментов и исполнителей,
выполнивших работы по сооружению фундаментов.
11.3. Приемка
свайных фундаментов осуществляется в два этапа: после погружения или
изготовления свай и после выполнения работ по устройству ростверков.
11.4. Запрещается
устройство ростверков и вывод с площадки оборудования для погружения и
изготовления свай до устранения дефектов, выявленных в процессе осуществления
авторского надзора и приемки свайного поля.
Запрещается также
монтаж конструкций зданий и сооружений до приемки ростверков.
11.5. Приемка работ
по устройству фундаментных конструкций из свай должна производиться на
основании:
- проектов
фундаментов из свай и проектов производства работ;
- паспортов
заводов-изготовителей на погружаемые сваи и сборные ростверки, а также щебень
(гравий), армокаркасы и товарный бетон для изготавливаемых на площадке свай и
монолитных ростверков;
- журнала учета
входного контроля качества материалов и конструкций (Приложение 3);
- общего журнала
работ;
- актов на
сдачу-приемку котлована под погружение или изготовление свай;
- акта на геодезическую
разбивку осей здания и фундаментов и закрепление строительных осей;
- актов
лабораторных испытаний контрольных бетонных образцов;
- исполнительных
схем расположения свай с указанием их отклонений в плане, по глубине и по
вертикали;
- журналов
погружения бурозавинчивающихся и забивных свай (Приложения 4 и 5) и
изготовления щебеночных, буронабивных, буросекущихся и буроинъекционных свай
(Приложения 6, 7 и 8);
- сводных
ведомостей на погруженные бурозавинчивающиеся и забивные сваи (Приложения 9 и
10);
- документации по
результатам опытных работ, включающей результаты испытаний свай по ГОСТ
5686-94;
- актов
освидетельствования арматурных каркасов и скважин перед бетонированием
изготавливаемых на площадке свай (Приложение 11).
11.6. Приемка работ
по устройству фундаментных конструкций из свай должна сопровождаться:
- изучением
предъявленной документации;
-
освидетельствованием свай с проверкой соответствия выполненных работ проекту;
- инструментальной
проверкой правильности положения свай;
- контрольными
испытаниями свай, если их несущая способность вызывает сомнения.
11.7. В состав
показателей, контролируемых при устройстве фундаментных конструкций из
бурозавинчивающихся свай со съемным наконечником, входят те же показатели, что
и при устройстве буронабивных свай типа БСИ. Показатели и допустимые отклонения
для них должны приниматься согласно п. 11.14 настоящих рекомендаций.
11.8. В состав
показателей, контролируемых при устройстве фундаментных конструкций из
бурозавинчивающихся свай с глухим наконечником, входят те же показатели, что и
при устройстве фундаментных конструкций из забивных свай. Показатели и
допустимые отклонения для них должны приниматься согласно п. 11.20 настоящих
рекомендаций.
11.9. Основным
показателем, контролируемым при устройстве фундаментных конструкций из
щебеночных свай, является плотность грунта в пределах армированного сваями
основания.
Отклонения
фактической плотности сухого грунта от проектной не
должна превышать 0,02 т/м3.
11.10. В процессе
устройства щебеночных свай плотность грунта контролируется по расходу (объему)
используемого для изготовления свай щебня или гравия.
После окончания
устройства свай плотность грунтов армированного основания контролируется по
всей его глубине путем лабораторных испытаний отобранных
из основания образцов с ненарушенной структурой, либо путем полевых испытаний
грунтов статическим зондированием или радиоизотопными методами.
11.11. Упомянутые в
п. 11.10 испытания выполняются в пунктах, равномерно расположенных в пределах
площади армированного основания и размещаемых посредине между соседними сваями.
Количество пунктов назначается равным 3% от количества
изготовленных свай. Измерения плотности должны выполняться с интервалом не
более 50 см по глубине.
11.12. Помимо
плотности грунта при устройстве щебеночных свай контролируется их положение в
плане, длина и наклон к горизонту. Отклонения верха свай, в
плане от проектного положения, а также фактической длины свай от проектной, не
должны превышать 10 см. Отклонения фактического наклона оси свай к горизонту от
заданного в проекте не должны превышать 5% их длины.
11.13. В состав показателей, контролируемых при устройстве комбинированных
свайно-плитных фундаментов, в зависимости от вида использованных в фундаменте
свай - буронабивных либо забивных, входят показатели, контролируемые при
устройстве фундаментов из набивных свай при их кустовом расположении (п. 11.14
настоящих рекомендаций) либо при устройстве сплошного свайного поля из набивных
свай (п. 11.20 настоящих рекомендаций).
11.14. В
состав основных показателей, контролируемых при устройстве фундаментов из
буронабивных, буросекущихся и буроинъекционных свай, входят их положение в
плане и отметки голов.
Предельные
отклонения фактического положения свай в плане от проектного поперек ряда
составляют +/- 10 см, а вдоль ряда при кустовом расположении свай - +/- 15 см.
Предельные
отклонения фактических отметок от проектных голов свай с монолитным ростверком
или плитой составляют +/- 3 см, со сборным ростверком - +/- 1, а в безростверковом
фундаменте со сборным оголовком - +/- 5 см.
11.15.
После окончания бурения скважин для устройства буронабивных, буросекущихся и
буроинъекционных свай контролируется глубина скважин и качество зачистки забоя
путем медленного опускания в забой рабочего органа бурового станка и забора
проб со дна скважины. Допустимое отклонение глубины скважины от проектного
значения +/- 100 мм.
11.16. Качество
изготовления арматурного каркаса должно удовлетворять требованиям проекта и
ГОСТ 14098-91 "Соединения сварные арматурные и закладных изделий ж.б. конструкций". После установки каркаса в скважину
контролируется его положение по глубине скважины. Допустимые отклонения от
проектного положения должны быть не более +/- 50 мм.
11.17. Контроль
прочности бетона в сваях осуществляется согласно пп. 10.35 и 10.48 настоящих
рекомендаций с оформлением результатов испытаний актами, согласно ГОСТ 18105-86
"Бетон. Правила контроля прочности".
11.18. При
бетонировании буронабивных и буросекущихся свай способом ВПТ контролируются
параметры, указанные в пп. 10.37 и 10.38 настоящих рекомендаций, а при
инъектировании твердеющего раствора при устройстве буроиньекционных свай -
параметры, указанные в п. 10.50. В случае обнаружения отклонений от указанных в
этих пунктах технологических параметров и отсутствии выхода чистого бетона в
конце бетонирования, свая подлежит контрольному
разбуриванию для оценки качества ее бетона.
11.19. Помимо контроля по пп. 11.14 и 11.15 настоящих рекомендаций,
производится контроль качества отводов буронабивных и буросекущихся свай,
осуществляемый испытанием прочности образцов керна, выбуренных по вертикали в
различных зонах по высоте через 0,5 м. Для этого по указанию авторского надзора
сваи выбираются произвольно из расчета 1 свая на сто, но не менее 2 свай.
Отбор проб производится в присутствии авторского надзора. Контроль качества
стволов буроинъекционных свай осуществляется путем откопки голов у 2%
выполненных свай и определения их прочности неразрушающим способом. Если будут
обнаружены дефекты в испытываемой свае, количество испытаний может быть
увеличено.
11.20. В
состав основных показателей, контролируемых при устройстве фундаментов из
забивных свай, входят их положение в плане, отметки голов и вертикальность оси
свай. Предельные отклонения фактического положения свай в
плане от проектного при однорядном расположении свай поперек оси свайного ряда
составляют +/- 0,2d (d - диаметр или сторона сечения свай), а вдоль оси ряда -
+/- 0,3d, для кустов и лент с расположением в два и три ряда - +/- 0,2d для
крайних свай поперек оси свайного ряда и +/- 0,3d для остальных свай и крайних
свай вдоль оси свайного ряда, для сплошного свайного поля - +/- 0,2d для
крайних свай и +/- 0,4d - для средних свай.
Предельные
отклонения фактических отметок голов свай от проектных соответствуют
отклонениям, указанным в п. 11.14 настоящих рекомендаций.
Предельные
отклонения осей погруженных свай от вертикали составляют 2% от их длин.
11.21. При монтаже
сборных ростверков контролируется смещение относительно разбивочных осей и
отклонение в отметках поверхностей.
Смещения
относительно разбивочных осей для фундаментов жилых и общественных зданий не
должны превышать 10 мм, а для фундаментов промышленных зданий - 20 мм.
Отклонения в
отметках поверхностей для фундаментов жилых и общественных зданий не должны
превышать 5 мм, а для фундаментов промышленных зданий - 10 мм.
11.22. Допустимость
использования свай и ростверков, имеющих отклонения сверх указанных выше,
устанавливаются автором проекта свайных фундаментов.
11.23. При наличии
технической документации, подтверждающей качество и несущую способность свай,
составляется акт приемки свайных работ, в котором отмечаются допущенные в
выполненной работе отклонения, принятые по ним решения и сроки выполнения
решений.
11.24.
Бетонирование монолитных ростверков и монтаж сборных ростверков разрешается
производить только после приемки работ по устройству свай. При приемке свайных
ростверков, на которую составляется отдельный акт, необходимо обратить особое
внимание на качество и точность установки анкерных болтов (при стальных
конструкциях) или стаканообразующих вкладышей (при сборных железобетонных
колоннах), которые должны соответствовать проекту.
Приложение
1
ТЕХНИЧЕСКОЕ ЗАДАНИЕ
на производство инженерно-геологических изысканий
для
проектирования и строительства свайных фундаментов
1. Объект и адрес _________________________________________________________
___________________________________________________________________________
2. Стадия проектирования
__________________________________________________
___________________________________________________________________________
3. Серия здания (по типовому или индивидуальному
проекту) и его назначение
___________________________________________________________________________
4. Уровень ответственности
________________________________________________
5. Геотехническая категория объекта
_______________________________________
6. Габариты здания в плане и полезная площадь
_____________________________
___________________________________________________________________________
7. Количество и высота этажей
_____________________________________________
8. Наличие подвала, его назначение и заглубление от
поверхности земли _____
___________________________________________________________________________
9. Конструкция здания
а)
основные несущие конструкции (каркас, панели, кирпичные стены) _____
___________________________________________________________________________
б)
ограждающие конструкции (панели, кирпичные стены) __________________
___________________________________________________________________________
10. Предполагаемый тип фундаментной конструкции из
свай ___________________
___________________________________________________________________________
11. Предполагаемая длина свай
_____________________________________________
12. Нагрузки (на погонный метр
ленточного фундамента, на отдельную опору,
на 1 м2 плиты)
____________________________________________________________
13. Планировочные отметки (ориентировочно)
________________________________
14. Предельные величины средних осадок фундаментов
________________________
15. Дополнительные и особые требования к изысканиям
_______________________
___________________________________________________________________________
___________________________________________________________________________
Главный инженер проекта
_____________________________
"___" _________ 199_ г.
Приложение
2
ОПРЕДЕЛЕНИЕ
ОБЪЕМОВ ИНЖЕНЕРНО-ГЕОЛОГИЧЕСКИХ ИЗЫСКАНИЙ
ДЛЯ ПРОЕКТИРОВАНИЯ
И УСТРОЙСТВА СВАЙНЫХ ФУНДАМЕНТОВ
Применительно к
определению объемов изысканий для свайных фундаментов на территории г. Москвы
целесообразно выделить три категории сложности грунтовых условий в зависимости
от однородности грунтов по условиям залегания и свойствам.
К первой категории
следует относить однослойную или многослойную по составу толщу грунтов с
практически горизонтальными или слабо наклоненными слоями (уклон не более
0,05), причем в пределах каждого слоя грунты однородны по свойствам.
Ко второй категории
следует относить однослойную или многослойную по составу толщу грунтов с
недостаточно выдержанными границами между слоями (уклон не более 0,1), причем в
пределах слоев грунты неоднородны по свойствам.
К третьей категории
следует относить многослойную по составу и неоднородную по свойствам толщу
грунтов с невыдержанными границами между слоями (уклон более 0,1), причем
отдельные слои могут выклиниваться.
Оценка категории
сложности грунтовых условий на площадке строительства выполняется на основе материалов
геологических фондов и инженерно-геологических материалов, приведенных в
приложении 4 МГСН 2.07-97 "Основания, фундаменты и подземные
сооружения".
Определение объемов
изысканий для свайных фундаментов в зависимости от геотехнических категорий объектов
и категорий сложности грунтовых условий рекомендуется проводить с
использованием приведенной ниже таблицы 1.
Таблица 1
──────────────┬───────────────────┬────────────────────────────────────────
Геотехническая│
Виды изысканий │ Категории
сложности грунтовых условий
категория
│
├─────────────┬────────────┬─────────────
объекта
│
│ первая │
вторая │ третья
──────────────┼───────────────────┼─────────────┼────────────┼─────────────
Первая │Бурение скважин │По сетке │По сетке │По сетке
│ │70 x 70 м, │50 x 50 м, │30 x 30 м,
│ │но не менее │но не
менее │но не менее
│ │одной │двух скважин│трех скважин
│ │скважины на │на
каждое │на каждое
│ │каждое здание│здание
│здание
│ │(сооружение)
│ │
├───────────────────┼─────────────┴────────────┴─────────────
│Лабораторные │Не менее
шести определений каждого
│исследования │показателя в пределах одного
инженерно-
│грунтов │геологического элемента
├───────────────────┼─────────────┬────────────┬─────────────
│Зондирование │По
сетке │По сетке │По сетке
│грунтов │35 x 35 м, │25 x 25 м, │15 x 15 м,
│ │но не менее │но не
менее │но не менее
│ │двух точек │трех точек │шести точек
│ │на каждое │на каждое │на каждое
│ │здание │здание │здание
──────────────┼───────────────────┼─────────────┼────────────┼─────────────
Вторая │Бурение скважин │По
сетке │По сетке │По сетке
│ │50 x 50 м,
но│40 x 40 м, │30 x 30 м,
│ │не менее двух│но не менее │но не менее
│ │скважин на │трех скважин│четырех
│ │каждое
здание│на каждое │скважин на
│ │(сооружение)
│здание │каждое здание
├───────────────────┼─────────────┴────────────┴─────────────
│Лабораторные │Не менее
шести определений каждого
│исследования │показателя в пределах одного
инженерно-
│грунтов │геологического элемента
├───────────────────┼─────────────┬────────────┬─────────────
│Зондирование │По
сетке │По сетке │По сетке
│грунтов │25 x 25 м, │20 x 20 м, │15 x 15 м,
│ │но не менее │но не
менее │но не менее
│ │шести точек │семи точек │десяти точек
│ │на каждое │на каждое │на каждое
│ │здание │здание │здание
├───────────────────┼─────────────┴────────────┴─────────────
│Прессиометрические │Не менее шести испытаний в пределах
│испытания │одного
инженерно-геологического элемента
├───────────────────┼────────────────────────────────────────
│Испытание грунтов │Не менее
шести испытаний эталонной сваей
│эталонной сваей │и двух испытаний натурной сваей на
│Испытание грунтов │каждой конкретной глубине в пределах
│натурной сваей │одного инженерно-геологического
элемента
──────────────┼───────────────────┼─────────────┬────────────┬─────────────
Третья │Бурение скважин │По
сетке │По сетке │По сетке
│ │40 x 40 м, │30 x 30 м, │20 x 20 м,
│ │но не менее │но не
менее │но не менее
│ │трех скважин
│четырех │пяти скважин
│ │на каждое │скважин │на каждое
│ │здание │на каждое │здание
│ │ │здание │
├───────────────────┼─────────────┴────────────┴─────────────
│Лабораторные │Не менее
шести определений каждого
│исследования │показателя в пределах одного
инженерно-
│грунтов │геологического элемента
├───────────────────┼─────────────┬────────────┬─────────────
│Зондирование │По
сетке │По сетке │По сетке
│грунтов │20 x 20 м, │15 x 15 м, │10 x 10 м,
│ │но не менее │но не
менее │но не менее
│ │шести точек │восьми точек│десяти точек
│ │на каждое │на каждое │на каждое
│ │здание │здание │здание
├───────────────────┼─────────────┴────────────┴─────────────
│Прессиометрические │Не менее шести испытаний в пределах
│испытания │одного
инженерно-геологического элемента
├───────────────────┼────────────────────────────────────────
│Испытания штампами │Не менее двух испытаний на каждой
│ │конкретной глубине в
пределах одного
│
│инженерно-геологического элемента
│ │при отклонении от
среднего не более 30%
├───────────────────┼────────────────────────────────────────
│Испытания грунтов │Не менее
шести испытаний эталонной сваей
│эталонной сваей │и двух испытаний натурной сваей на
│Испытание грунтов │каждой конкретной глубине в пределах
│натурной сваей │одного инженерно-геологического
элемента
│ │при отклонении от
среднего не более 30%
──────────────┴───────────────────┴────────────────────────────────────────
Приложение
3
ЖУРНАЛ
учета входного контроля материалов
и конструкций
_____________________________________________
Начат________________
Окончен_________________
───┬───────┬──────┬─────┬─────┬────────┬─────────┬───────┬────────┬──────┬────────┬──────
N │Наиме-
│Един. │Коли-│Дата │N и
дата│Наименов.│Ф.И.О.,│Из про-
│Крат- │Дата │Приме-
п/п│нование│измер.│чест-│по- │докумен-│"Постав-
│долж-
│веренных│кое
│состав- │чание
│мате- │
│во
│ступ-│тов
│щика" или│ность
│матери- │содер-│ления и │
│риалов │ │ │ления│товарно-│"Заказчи-│прием- │алов не
│жание │N акта, │
│и
│ │ │
│транс-
│ка"
│щика
│соответ-│заме- │дата │
│конст-
│ │ │
│порт. │завода- │
│ствуют │чаний
│отправл.│
│рукций │ │ │
│наклад- │изгото- │
│ГОСТ │ │акта │
│
│ │ │
│ной │вит. │ │и
ТУ │ │ │
───┼───────┼──────┼─────┼─────┼────────┼─────────┼───────┼────────┼──────┼────────┼──────
1 │
2 │ 3
│ 4 │
5 │ 6
│ 7 │
8 │ 9
│ 10 │
11 │ 12
───┴───────┴──────┴─────┴─────┴────────┴─────────┴───────┴────────┴──────┴────────┴──────
Приложение
4
Наименование строительной организации
_____________________________________
___________________________________________________________________________
Объект
____________________________________________________________________
ЖУРНАЛ
погружения бурозавинчивающихся свай
(с N ___________ по N ____________)
Начало ___________________________ Окончание
______________________________
1. Тип установки для погружения свай
______________________________________
2. Максимальный крутящий момент ___________________________________________
3. Максимальная осевая пригрузка
__________________________________________
4. Скорость вращения выходного вала установки
_____________________________
СВАЯ N __________ (по
плану)
1. Дата погружения
________________________________________________________
2. Наружный диаметр отвода сваи
___________________________________________
3. Толщина стенки ствола сваи
_____________________________________________
4. Ширина и профиль спиральной навивки ____________________________________
5. Шаг спиральной навивки
_________________________________________________
6. Длина сваи
_____________________________________________________________
7. Абсолютная отметка поверхности грунта у сваи
___________________________
8. Абсолютная отметка нижнего конца сваи
__________________________________
9. Продолжительность погружения
сваи_______________________________________
10. Наличие лидерной скважины или разрыхленного
грунтового массива ________
11. Отметка забоя лидерной скважины или низа
разрыхленного грунтового
массива
___________________________________________________________________
12. Диаметр лидерной скважины или разрыхленного
грунтового массива ________
Журнал погружения бурозавинчивающейся сваи
(продолжение)
───┬───────┬───────┬───────┬───────────┬────────┬────────┬────────┬────────
N │Погру-
│Продол-│Продол-│Теоретичес-│Факти- │Коэффи- │Крутящий│Приме-
п/п│жение
│житель-│житель-│кое число │ческое
│циент │момент,
│чание
│сваи от│ность │ность
│оборотов n │число
│погруже-│ Нм
│
│поверх-│погру-
│погру- │
т│оборотов│ния
│ │
│ности
│жения │жения │при погру- │n при │сваи K │
│
│грунта │сваи на│сваи
на│жении на │погруже-│ п
│ │
│l, м
│глубину│0,5 м, │0,5 м │нии на │
│ │
│
│l, мин │мин │ │0,5 м │ │ │
───┼───────┼───────┼───────┼───────────┼────────┼────────┼────────┼────────
1 │
2 │ 3
│ 4 │
5 │ 6
│ 7 │
8 │ 9
───┼───────┼───────┼───────┼───────────┼────────┼────────┼────────┼────────
│
│ │ │ │ │ │ │
───┼───────┼───────┼───────┼───────────┼────────┼────────┼────────┼────────
│
│ │ │ │ │ │ │
───┼───────┼───────┼───────┼───────────┼────────┼────────┼────────┼────────
│
│ │
│ │ │ │ │
───┼───────┼───────┼───────┼───────────┼────────┼────────┼────────┼────────
│
│ │ │ │ │ │ │
───┼───────┼───────┼───────┼───────────┼────────┼────────┼────────┼────────
│
│ │ │ │ │ │ │
───┼───────┼───────┼───────┼───────────┼────────┼────────┼────────┼────────
│
│ │ │ │ │ │ │
───┴───────┴───────┴───────┴───────────┴────────┴────────┴────────┴────────
Исполнитель _____________________________________
Подпись _________________
(фамилия, имя, отчество)
Приложение
5
Наименование строительной организации
_____________________________________
___________________________________________________________________________
Объект
____________________________________________________________________
ЖУРНАЛ
погружения забивных
свай
(с N ________ по N
________)
Начало ___________________________ Окончание
______________________________
1. Система копра
__________________________________________________________
2. Тип
молота______________________________________________________________
3. Вес ударной части
молота________________________________________________
4. Тип и вес
наголовника___________________________________________________
СВАЯ N ________ (по
плану)
1. Дата
забивки____________________________________________________________
2. Марка
сваи______________________________________________________________
3. Абсолютная отметка поверхности грунта у
сваи____________________________
4. Абсолютная отметка нижнего конца
сваи___________________________________
6. Проектный отказ, см
____________________________________________________
──────┬────────────────┬──────────┬─────────────────┬───────────┬──────────
N
│ Высота подъема │
Число │ Глубина
│ Отказ │Примечание
залога│
ударной части │ ударов │
погружения │ от одного
│
│
молота, см
│ в залоге │ от
залога, см │ удара, см │
──────┼────────────────┼──────────┼─────────────────┼───────────┼──────────
1
│ 2 │ 3
│ 4 │ 5
│ 6
──────┼────────────────┼──────────┼─────────────────┼───────────┼──────────
│ │ │ │ │
──────┼────────────────┼──────────┼─────────────────┼───────────┼──────────
│ │ │ │ │
──────┼────────────────┼──────────┼─────────────────┼───────────┼──────────
│ │ │ │ │
──────┴────────────────┴──────────┴─────────────────┴───────────┴──────────
Исполнитель___________________________________ Подпись_________________
(фамилия, имя, отчество)
Приложение
6
Наименование
строительной организации _____________________________________
___________________________________________________________________________
Объект
____________________________________________________________________
ЖУРНАЛ
изготовления щебеночных
свай
(с N ________по N
________)
Начало
___________________________ Окончание ______________________________
1. Тип
пневмопробойника ___________________________________________________
2. Размер фракций
щебня (гравия)___________________________________________
─────┬─────┬───────┬───────┬─────┬──────┬───────┬──────┬──────┬──────┬──────┬──────┬──────
N
п/п│Дата,│Диаметр│Отметка│Длина│Наклон│Продол-│Объем
│Число │Общий │Объем │Объем
│Приме-
свай
│смена│сква- │поверх-│сква-│сква-
│житель-│порции│порций│объем │засы-
│бетона│чание
по
│ │жины, │ности
│жины,│жины к│ность
│втрам-│втрам-│втрам-│панно-│ в
│
плану│ │мм │грунта,│м │гори-
│пробив-│бован-│бован-│бован-│го в │голове│
│
│ │м │ │зонта-│ки │ного │ного
│ного │сква-
│сваи, │
│
│ │ │ │ли, │скважи-│щебня,│щебня
│щебня,│жину │
м3 │
│
│ │ │ │град │ны, мин│м3 │
│м3 │щебня,│ │
│
│ │ │ │ │ │ │ │ │м3 │
│
─────┼─────┼───────┼───────┼─────┼──────┼───────┼──────┼──────┼──────┼──────┼──────┼──────
1
│ 2 │
3 │ 4
│ 5 │
6 │ 7
│ 8 │
9 │ 10
│ 11 │
12 │ 13
─────┼─────┼───────┼───────┼─────┼──────┼───────┼──────┼──────┼──────┼──────┼──────┼──────
│
│ │ │ │ │ │ │ │ │ │ │
─────┼─────┼───────┼───────┼─────┼──────┼───────┼──────┼──────┼──────┼──────┼──────┼──────
│
│ │ │ │ │ │ │ │ │ │ │
─────┴─────┴───────┴───────┴─────┴──────┴───────┴──────┴──────┴──────┴──────┴──────┴──────
Исполнитель
_______________________________ Подпись ____________________
(фамилия, имя, отчество)