РЕКОМЕНДАЦИИ
ПО ПРОЕКТИРОВАНИЮ ОКРУЖАЮЩЕЙ СРЕДЫ, ЗДАНИЙ И
СООРУЖЕНИЙ
С УЧЕТОМ ПОТРЕБНОСТЕЙ ИНВАЛИДОВ
И ДРУГИХ МАЛОМОБИЛЬНЫХ ГРУПП НАСЕЛЕНИЯ
ВЫПУСК 12
ОБЩЕСТВЕННЫЕ ЗДАНИЯ И СООРУЖЕНИЯ.
СПОРТИВНЫЕ СООРУЖЕНИЯ
Содержат
рекомендации по проектированию массовых типов открытых плоскостных сооружений,
спортивных залов, плавательных бассейнов и вспомогательных помещений для
спортсменов с учетом потребностей инвалидов, а также планировочные решения
отдельных основных помещений с расстановкой спортивно-технологического
оборудования, детали и элементы архитектурно-конструктивных решений.
Предназначены
для инженерно-технических работников проектных и строительных организаций,
органов социальной защиты, обществ инвалидов.
Разработаны АО
ЦНИИЭП им. Б.С. Мезенцева (кандидаты арх. Н.Б. Мезенцева, Е.М. Лось, арх. Н.А. Клементьев) при участии канд. арх. Г.И. Быковой.
Подготовлены к изданию редакционной коллегией: В.А. Цветков, Н.М. Якимова
(Минстрой России), А.И. Кузнецова (Минсоцзащиты России), Ю.В. Колосов
(Координационный комитет по делам инвалидов при Президенте России).
ВВЕДЕНИЕ
Настоящие
Рекомендации распространяются на проектирование спортивных сооружений с учетом
потребностей инвалидов. Рекомендации являются развитием и дополнением положений
ВСН 62-91* (изд. 1994 г.).
Положения
настоящего документа имеют рекомендательный характер, но становятся
обязательными при включении требований к физкультурно-оздоровительным
сооружениям для инвалидов в архитектурно-планировочное задание и задание на
проектирование.
Рекомендации также
применимы при проектировании спортивных объектов массового строительства и
могут использоваться в качестве основы для составления заданий на
проектирование крупных уникальных объектов.
В Рекомендациях
рассматриваются только специальные строительные требования к спортивным
сооружениям с учетом потребностей инвалидов. Все общестроительные требования,
которыми следует руководствоваться при проектировании спортивных сооружений,
приведены в общих положениях первого выпуска Рекомендаций по проектированию
окружающей среды, зданий и сооружений с учетом потребностей инвалидов и других
маломобильных групп населения.
Данный выпуск
является первым в серии выпусков, посвященных физкультурно-спортивным
сооружениям с учетом потребностей инвалидов. Его требования распространяются на
чисто спортивные сооружения, которые являются составной частью единой сети
физкультурно-спортивных сооружений. Как правило, эти сооружения должны быть
рассчитаны на совместное использование инвалидами и остальным населением.
В порядке
исключения могут быть построены специализированные спортивные сооружения только
для спортсменов-инвалидов - центры "инваспорта",
где могут проводиться как учебно-тренировочные сборы для подготовки спортсменов
высокой квалификации, так и соревнования. В спортивных центрах общегородского
уровня при числе инвалидов среди обслуживаемого населения не менее 2,5 тыс.
чел. возможно строительство специальных спортивных залов для инвалидов.
Физкультурно-оздоровительным
сооружениям и детским оздоровительным сооружениям посвящены отдельные выпуски
Рекомендаций. Эти сооружения могут быть общего пользования и при
специализированных учреждениях для инвалидов. Лечебно-оздоровительные
сооружения для реабилитации инвалидов будут рассмотрены в выпусках
Рекомендаций, посвященных отдельным видам специализированных учреждений в
соответствии с общим перечнем, приведенным в "Рекомендациях по
проектированию окружающей среды, зданий и сооружений с учетом потребностей
инвалидов и других маломобильных групп населения".
В Рекомендациях
изложены требования к архитектурно-планировочной и спортивно-технической частям
проекта открытых плоскостных сооружений, залов и бассейнов.
В Рекомендациях
последовательно представлены:
общие требования к
участкам открытых плоскостных сооружений;
основные принципы
архитектурно-планировочных решений спортивных
корпусов;
назначение по видам
спорта, размеры и пропускные способности залов для учебно-тренировочных
занятий;
размеры, пропускная
способность и основные требования к проектированию ванн спортивных бассейнов;
основные требования
к проектированию открытых плоскостных сооружений;
особенности
проектирования раздевален для занимающихся.
В Рекомендациях
приведены планировочные решения отдельных помещений: залов, бассейнов,
вспомогательных помещений с расстановкой необходимого оборудования, рассмотрены
детали и элементы архитектурно-конструктивных решений
спортивных залов, бассейнов, открытых плоскостных сооружений.
Рекомендации
основаны на изучении нормативно-методических материалов и медико-технологических
требований ВНИИФК, ВОС, ВС ДФСО профсоюзов, Международной организации спорта
для инвалидов, на изучении Правил соревнований и спортивных классификаций для
инвалидов различных групп, а также на анализе опыта проектирования,
строительства и эксплуатации зарубежных и отечественных объектов. Предложения
по планировочным решениям отдельных элементов спортивных сооружений являются
результатом оригинальных исследований, проведенных в АО ЦНИИЭП им. Б.С.
Мезенцева.
Рекомендации
рассчитаны на проектирование спортивных сооружений с учетом потребностей
инвалидов различных категорий:
с поражением
опорно-двигательного аппарата (ПОДА), использующих
различные приспособления для ходьбы или кресла-коляски;
с дефектами зрения
(ДЗ);
с дефектами слуха
(ДС).
Наибольшее количество
специальных рекомендаций относится к спортивным сооружениям, предназначенным
для инвалидов первой категории. Инвалиды с дефектами зрения затруднены в
передвижении и ориентации, инвалиды с дефектами слуха - в ориентации, получении
информации. Для этих двух категорий необходимо также предусматривать ряд
специальных планировочных и технологических приспособлений в спортивных
сооружениях.
Инвалиды с
нарушениями функций внутренних органов, а также инвалиды с легкими формами
дефектов психики могут свободно пользоваться сооружениями, на которых учтены
все требования для выделенных выше категорий.
В Рекомендациях
рассматриваются открытые и крытые сооружения общего пользования, которые
необходимо приспособить для инвалидов на основании целого ряда планировочных
требований (спортивные залы, плавательные бассейны, спортивные площадки), а
также открытые и крытые сооружения, специально предназначенные для занятий
инвалидов (особенно для спортивных игр слепых и слабовидящих).
Открытые и крытые
сооружения, которые могут использоваться инвалидами без учета специальных
планировочных требований (сооружения для фехтования, стрельбы из лука, стрельбы
из пневматического, мелкокалиберного оружия), в Рекомендациях не
рассматриваются.
Рекомендации
получили одобрение Всероссийского общества инвалидов.
ОБЩИЕ
ПОЛОЖЕНИЯ
ТРЕБОВАНИЯ
К УЧАСТКУ
На участке
рекомендуется целенаправленное размещение зеленых насаждений, способствующее
дополнительной ориентации людей с недостатками зрения: компоновка различных
групп деревьев одной породы с характерными для нее запахами, фактурой и формой
листьев (хвойные, фруктовые и т.п.) в определенных местах участка, а также
посадка ярко цветущих цветов и кустарников. Категорически запрещается посадка
колючих кустарников.

Набор зеленых
насаждений защитной полосы
вокруг спортивных
площадок
1 - лиственные
деревья высокорослые;
2 - хвойные деревья
средней высоты и высокорослые;
3 - хвойные деревья
низкорослые; 4 - кустарники высокие;
5 - кустарники
низкие;
6 - лиственные
деревья средней высоты
Благоустройство
территории, автостоянки и все пути передвижения спортсменов и зрителей должны
отвечать требованиям, изложенным в общих положениях первого выпуска
Рекомендаций по проектированию окружающей среды, зданий и сооружений с учетом
потребностей инвалидов и других маломобильных групп населения.
Желательно избегать
перепадов уровней земли на путях передвижения спортсменов между блоками
вспомогательных помещений и площадками.
При размещении
площадок на участках необходимо предусмотреть удаление их границ от всякого
рода препятствий (заборов, стен, др.) не менее чем на 3 м.
По периметру
земельного участка комплекса открытых спортивных сооружений следует
предусматривать ветро- и пылезащитные полосы
древесных и кустарниковых насаждений. Отдельные площадки и открытые
плавательные бассейны должны окружаться полосами кустарниковых насаждений.
Открытые площадки
должны быть максимально защищены от уличного шума. Это может достигаться за
счет озеленения, обваловки площадок или строительства
акустических экранов.
Минимальная ширина шумозащитной полосы с двумя-тремя рядами деревьев и плотным
кустарником должна составлять не менее 10 м. Каждый ряд снимает транспортный
шум на 1,2 - 1,8 дБ. При этом высота деревьев должна составлять не менее 5 - 7
м.
ПЛАНИРОВОЧНЫЕ
РЕШЕНИЯ ЗДАНИЙ
При проектировании
зданий с учетом использования их инвалидами следует соблюдать основные принципы
архитектурно-планировочных решений зданий:
максимально
возможное расположение основных и вспомогательных помещений на одной отметке в
уровне первого этажа;
при расположении
помещений на разных уровнях обеспечение удобных вертикальных связей посредством
лифтов, пандусов, специально оборудованных лестничных маршей;
максимально простая
и компактная структура плана для обеспечения свободной ориентации инвалидов.

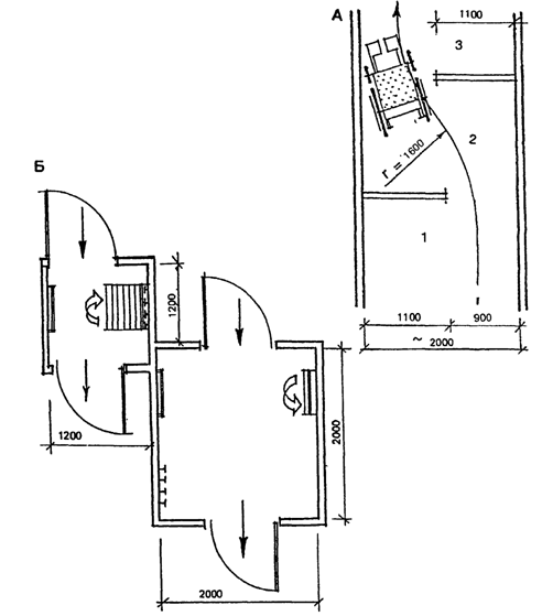
Варианты уровней
выхода
А -
предпочтительный вариант - все помещения
в одном уровне; Б -
устройство пандусных входов на 2 уровня
(максимальный уклон
1:12); В - допустимый вариант только
при условии
устройства лифта; Г - допустимый вариант
(в уровне
бассейна - дополнительные места для зрителей
в
креслах-колясках); 1 - входной вестибюль;
2 - раздевальные; 3
- душевые; 4 - кафе-бар;
5 - зал бассейна; 6
- места для зрителей
Каждая из
приведенных групп инвалидов (см. Введение) предъявляет свои специфические требования
к архитектуре спортивных сооружений. Во-первых, это
требования доступности, общие для зданий всех типов (см. Рекомендации по
проектированию окружающей среды, зданий и сооружений с учетом потребностей
инвалидов и других маломобильных групп населения. Вып.
1. Общие положения). Во-вторых, это специальные
требования, определяемые функцией здания и конкретным видом инвалидности
спортсмена.
Основная
направленность специальных требований - создание условий для нормальных
учебно-тренировочных занятий и соревнований спортсменов, а также исключение или
сведение к минимуму риска получения травм. С этой целью вокруг игровых площадок
в залах и на открытых плоскостных сооружениях предусматриваются зоны
безопасности, в бассейнах делаются расширенные обходные дорожки, сооружения
оснащаются системой информации и ориентации, устанавливается вспомогательное
оборудование для передвижения спортсменов. Специальные правила соблюдаются при
размещении спортивного оборудования. Кроме того, особые требования
предъявляются к отделке стен и пола залов и помещений для спортивных занятий, к
акустике, освещению и цветовому решению интерьера.
Многие из
специальных требований, предъявляемых к спортивным сооружениям различными
группами инвалидов, сходны или совпадают. Однако имеются и противоречия. Так,
например, для спортивных игр с использованием колясок или костылей инвалидов с
ПОДА требуется шероховатый пол из пружинящих синтетических материалов темной
окраски, при этом не допускаются никакие выступы или впадины на его поверхности.
В то же время для игр инвалидов с ДЗ покрытие пола должно быть твердым и
идеально гладким, а разметка площадок выполняется рельефными полосами.
В плавательных
бассейнах для инвалидов с ПОДА оборудуются специальные лесенки для спуска в
воду, выступающие за основные габариты ванны, на обходных дорожках
устанавливаются подъемники, предусматриваются скамьи для сидения и др. Для
слепых спортсменов эти устройства могут явиться причиной травмы.
Следует
оптимизировать требования различных групп инвалидов, предъявляемые к
сооружениям одного типа. Для этого в небольших спортивных сооружениях, где
отсутствует возможность создания специализированных залов или ванн бассейна для
отдельных групп инвалидов, предусматриваются специальные мероприятия,
позволяющие использовать зал или бассейн инвалидам различных категорий. К ним
относятся:
определение
размеров основных помещений, предназначенных для занятий определенной группы
инвалидов, с учетом зон безопасности и систем информации и ориентации;
нахождение
компромиссных вариантов размещения вспомогательного и спортивного оборудования
с учетом требований различных групп инвалидов (например, заглубление поручня,
которым должен оборудоваться по периметру зал для слепых, в стену или
устройство подъемника в бассейне с потолочным креплением, использование съемных
разметок в залах для спортивных игр слепых, другие варианты);
при выборе
отделочных материалов для пола или стен необходимо учитывать требования всех
групп инвалидов.
Лишь в
исключительных случаях, когда невозможно использовать одно и то же помещение
для инвалидов различных категорий, при строительстве крупных или
специализированных спортивных центров допускается устройство специальных
помещений для определенной группы инвалидов.
Особенности
инвалидов различных категорий влияют на функциональный состав и связи внутри
здания. Так, необходимо предусматривать кратчайшие пути передвижения от вспомогательных к основным помещениям. Недопустимо их
размещение на разных отметках. В составе раздевальных должны предусматриваться
специальные помещения для переодевания инвалидов с помощниками. Во
вспомогательных и основных помещениях выделяются специальные зоны или отдельные
помещения для хранения вспомогательных средств передвижения.
Максимально
приближенным к местам занятий и соответственно спроектированным должно быть
помещение первой медицинской помощи. При этом не рекомендуется расширенный
состав медико-восстановительных помещений в сооружениях для спортивных занятий
инвалидов, непременным элементом является только сауна в блоке с массажной.
Связи блоков
вспомогательных помещений, размещаемых отдельно от открытых плоскостных
сооружений, также должны быть кратчайшими. Места занятий на открытых
сооружениях должны размещаться компактно, иметь прямые связи между собой, при
этом должна быть обеспечена их изоляция в соответствии с функциональными
требованиями.
КООПЕРИРОВАНИЕ
Спортивные
сооружения, построенные или реконструированные с учетом потребностей инвалидов,
могут входить в состав спортивных комплексов любого уровня, кооперироваться с
учебными заведениями, специализированными типами жилья, учреждениями досугового
назначения, включаться в культурно-спортивные комплексы.
Принципы кооперации
могут быть различны в зависимости от условий. Возможны варианты автономного
существования спортивных сооружений, объединяемых с другими объектами лишь
территориально, а также совмещение состава различных сооружений, входящих в
комплекс, и кооперированное использование целых групп или отдельных помещений.
Состав основных
помещений и сооружений спортивного назначения при кооперировании с объектами
другого типа определяется исходя из функциональной направленности комплекса.
Они могут служить для первичной подготовки спортсменов (в том числе и детей),
для занятий более высокого уровня и соревнований, для подготовки спортсменов
международного класса и международных соревнований. В соответствии с
возрастанием уровня сооружения снижается возможность и целесообразность
кооперирования с объектами и учреждениями другого типа.
ОСНОВНЫЕ
ФУНКЦИОНАЛЬНЫЕ БЛОКИ
ОТКРЫТЫЕ
ПЛОСКОСТНЫЕ СООРУЖЕНИЯ
Размеры и
пропускную способность открытых площадок, специализированных для отдельных
видов спорта, следует принимать согласно табл. 1.
Таблица 1
┌─────────────────────┬─────────┬────────┬──────────┬────────────┐
│ Вид спорта │ Размер │Зоны
│ Размер │ Пропускная
│
│ │ поля, м │безопас-│
площадки,│способность,│
│ │ │ности,
м│ м
<**> │ чел./смену │
│ │ │<*> │ │ │
├─────────────────────┼─────────┼────────┼──────────┼────────────┤
│1.
Бадминтон │13,4 x 6
│1 - 1 │14,4 x 7 │8 │
│2.
Баскетбол │26 x 14 │2 - 2
│28 x 16 │24 │
│3.
Баскетбол │26 x 16 │2 - 3
│29 x 18 │10 │
│на
колясках │ │ │ │ │
│4.
Боулинг │30 x 15 │
│30 x 15 │8 │
│5.
Волейбол │18 x 9 │2 - 3 │21 x 11 │24 │
│6.
Гандбол │40 x 20 │1 - 2
│42 x 21 │24 │
│7.
Квад-регби
│26 x 14 │2 - 3 │29 x 16 │8
│
│8.
Слалом на колясках│25 x 13
│2 - 2 │27 x 15 │10 │
│9.
Теннис │24 x 11 │4 - 6
│30 x 17 │8 │
│10.
Футбол │61 x 30 │3 - 2
│64 x 32 │22 │
├─────────────────────┴─────────┴────────┴──────────┴────────────┤
│
<*> Первая цифра -
размер зоны безопасности вдоль длинной│
│стороны
площадки; вторая цифра - размер зоны безопасности вдоль│
│короткой
стороны площадки. │
│
<**> Размеры площадок
даны без учета
проходов, зон│
│размещения
судей и
запасных игроков, а также полос
ориентации│
│для
слепых спортсменов.
│
└────────────────────────────────────────────────────────────────┘
Спортивные площадки
должны иметь ровную, хорошо утрамбованную грунтовую, травяную или из
синтетических материалов поверхность, ограниченную полосами ориентации шириной
1 - 1,5 м с покрытием иной фактуры. Спортивные площадки могут опоясываться
ориентационной полосой, имеющей, начиная от края площадки, постепенно
повышающийся уклон под углом 10 - 12°. Ширина полосы должна быть не менее 1,5
м. В этом случае фактуры покрытия полосы и площадки могут быть одинаковыми.
Оборудование
спортивных площадок должно быть окрашено в яркие цвета и размещаться так, чтобы
оно контрастировало с окружающим фоном.
В случае
использования площадок незрячими спортсменами вокруг поля для игры
устанавливается полоса ориентации, аналогичная той, что используется для
легкоатлетических сооружений.
Перечень
легкоатлетических дисциплин, в которых соревнуются инвалиды, приведен в табл.
2.
Таблица 2
┌──────────────────────────────────────────┬─────────────────────┐
│ Вид упражнений │ Категории инвалидов
│
│ ├─────────────┬───────┤
│
│ ПОДА <*> │
ДЗ │
│
├──────┬──────┤ │
│
│ I │
II │ │
├──────────────────────────────────────────┼──────┼──────┼───────┤
│1.
Бег на различные дистанции по кругу
│+ │- │+ │
│и
по прямой
│ │ │ │
│2.
Метания и толкания (ядро, диск, копье) │+ │+ │+ │
│3.
Гонки на колясках
│- │+ │- │
│4.
Прыжки в длину и в высоту
│+ │- │+ │
├──────────────────────────────────────────┴──────┴──────┴───────┤
│
<*> ПОДА I -
инвалиды, использующие при
передвижении│
│различные опорные
приспособления, кроме кресел-колясок;│
│ПОДА II
- инвалиды, использующие
при передвижении кресла-│
│коляски.
│
└────────────────────────────────────────────────────────────────┘
Для открытых
физкультурно-спортивных сооружений в первую очередь надо соблюдать требования
по устранению внешних строительных барьеров, поверхности покрытий дорожек для
сообщения между открытыми сооружениями должны быть нескользкими и с фактурой не
слишком грубой для инвалидных колясок.
Освещение должно
располагаться на высоте уровня глаз инвалида в коляске и быть ровным и
достаточно ярким (в расчете на людей с частичной потерей зрения). Указатели
должны быть четкими и хорошо освещенными по той же причине. Необходимо
спроектировать бортовые камни, перекрестки и пандусы, обеспечить удобный доступ
из вспомогательных помещений и с автостоянок.

Площадки для
слалома на креслах-колясках
1 - старт, 2 -
тумба, 3 - поперечный барьер,
4 - продольный
барьер, 5 - рампа, 6 - финиш, 7 - мат
СПОРТИВНЫЕ
ЗАЛЫ
Строительные
размеры и пропускную способность спортивных залов, специализированных для
отдельных видов спорта, следует принимать согласно табл. 3.
Таблица 3
┌──────────────────┬─────────┬─────────┬──────────────┬──────────┐
│ Вид спорта │Размер │Зоны │
Габариты │Пропускная│
│ │поля для │безопас-
│ залов, м │способ- │
│ │игры, м │ности, │ │ность, │
│ │ │м
<*> │ │чел./смену│
├──────────────────┼─────────┼─────────┼──────────────┼──────────┤
│1. Бадминтон
│13,4 x 6 │1 - 1
│15 x 9 x 7 │8 │
│2. Баскетбол
│26 x 14 │2 - 2 │30 x 18 x 7 │24
│
│3. Баскетбол
│26 x 16 │2 - 3 │36 x 18 x 7 │10 │
│ на колясках │ │ │ │ │
│4. Борьба:
│ │ │ │ │
│
вольная (а) │ковер │ │24 x 15 x 4 │20 │
│ │d = 9 │ │ │ │
│ │(2 по 7) │ │ │ │
│
классическая │7 x 7 │2 - 2 │15 x 12 x 4 │10 │
│ (б) │ │ │ │ │
│5. Волейбол
│18 x 9 │2 - 3 │24 x 15 x 8 │24 │
│6. Волейбол сидя
│10 x 6 │1,5 - 2,5│15
x 9 x 6 │12 │
│7. Гандбол
│40 x 20 │1 - 2 │42 x 24 x 6 │24 │
│8. Гимнастика
│ │ │ │ │
│ спортивная │ │ │ │ │
│
(а) │- │- │30 x 18 x 6 │50
│
│
(б) │- │- │36 x 24 x 6 │20 │
│9. Голбол │18 x 9 │2,4 - 2,4│24 x 15 x 6 │6 │
│10.
Дзюдо │ │2 - 2 │24 x 18 x 4 │15 │
│11.
Ролингбол
│24 x 12 │2,0 - 2,4│30
x 18 x 6 │10 │
│12.
Теннис │24 x 11 │4 - 6 │30 x 18 x 8 │8 │
│13.
Теннис │ │1,5 - 3,1│15 x 9 x 4 │12 (6) │
│ настольный │ │ │ │<**> │
│ (3 стола) │ │ │ │ │
│14.
Торбол
│16 x 7 │2,4 -
2,4│21 x 12 x 5,5 │6
│
│15.
Фехтование │- │- │24 x 15 x 4 │18 │
│ (4 дорожки) │ │ │ │ │
│16.
Футбол │61 x 30 │3 - 2 │65 x 36 x 10 │
│
│ "соккер" │ │ │ │ │
│17.
Шоу-даун
│- │- │12 x 9 x 4 │2
│
│18.
Элементы │- │- │45 x 27 x 7 │15 │
│
легкой │ │ │ │ │
│ атлетики │ │ │ │ │
│19.
Квад-регби
│26 x 14 │2 - 3 │36 x 18 x 7 │8 │
├──────────────────┴─────────┴─────────┴──────────────┴──────────┤
│
<*> Первая цифра - ширина зоны безопасности вдоль длинной│
│стороны
площадки.
│
│
<**> Вторая цифра - то же, с торца площадки. │
└────────────────────────────────────────────────────────────────┘
Строительные
размеры и пропускная способность залов для баскетбола на колясках, волейбола
сидя указаны для инвалидов с ПОДА.
Строительные
размеры и пропускная способность залов для бадминтона, баскетбола, борьбы (4а),
волейбола, гандбола и спортивной гимнастики (8а) указаны для инвалидов с ДС.
Строительные
размеры и пропускная способность залов для борьбы (4б), гимнастики (8б) - для
инвалидов с ДЗ.
Строительные
размеры и пропускная способность залов для голбола,
дзюдо, ролингбола, торбола,
шоу-дауна указаны для инвалидов с ДЗ.
Строительные
размеры и пропускная способность залов для тенниса, настольного тенниса,
фехтования, футбола "соккер", элементов
легкой атлетики, квад-регби указаны для инвалидов с
ПОДА.
Строительные
размеры и пропускная способность залов для тенниса и настольного тенниса
указаны также и для инвалидов с ДС.
Строительные
размеры универсальных спортивных залов (предназначенных для попеременных
занятий и соревнований по различным видам спорта) следует принимать по
наибольшему показателю для этих видов согласно табл. 4.
Таблица 4
┌──────────────────────────────────┬────────────┬───────┬────────┐
│ Назначение зала │Габариты, м │Про- │Катего- │
│ │ │пускная│рии │
│ │ │способ-│инва- │
│ │ │ность,
│лидов
│
│ │ │чел./ │
│
│ │ │смену │
│
├──────────────────────────────────┼────────────┼───────┼────────┤
│1.
Зал для спортивных игр (баскет-│36
x 18 x 7 │24(10) │ПОДА, ДС│
│ бол, баскетбол на колясках, │ │ │ │
│ теннис, волейбол, квад-регби) │ │ │ │
│2.
Зал для спортивных игр и │45
x 27 x 7 │24(15) │ПОДА, ДС│
│ элементов легкой атлетики │ │ │ │
│ (баскетбол сидя,
теннис, │ │ │ │
│ волейбол, гандбол, фигурная │ │ │ │
│ езда на колясках) │ │ │ │
│3.
Зал для спортивных игр │30
x 18 x 6 │12 │ДЗ,
ПОДА│
│ (ролингбол, голбол, торбол,
│ │ │
│
│ волейбол сидя) │ │ │ │
│4.
Зал для занятий борьбой │15
x 12 x 4 │10 │ДС │
│5.
Зал для настольного тенниса │15
x 9 x 4 │12(6) │ПОДА, ДС│
│ (3 стола) │ │ │ │
│6.
Зал для спортивной гимнастики │36
x 24 x 6 │20 │ДЗ │
│7.
Зал для игры в шоу-даун (стол) │12 x 9 x 3 │2
│ДЗ │
├──────────────────────────────────┴────────────┴───────┴────────┤
│ Примечания.
1. В таблицу
не включены залы стандартных│
│размеров для
занятий инвалидов с ДС и ПОДА,
не требующие│
│специальных
планировочных приспособлений. │
│ 2. В скобках дана пропускная способность
зала для инвалидов│
│на
колясках. │
└────────────────────────────────────────────────────────────────┘
Залы для спортивных
занятий инвалидов должны проектироваться с соблюдением специальных требований к
конструктивным и планировочным решениям, а также к размещению оборудования,
цветовому решению, акустике и освещению.
Стены спортивных
залов должны удовлетворять общим требованиям пп. 3.27
и 3.28 Пособия по проектированию спортивных залов помещений для
физкультурно-оздоровительных занятий и крытых катков с искусственным льдом.
Все крепежные
детали оборудования, регуляторов, электрических выключателей должны закладываться
заподлицо с поверхностью стен или заглубляться.
Электрические
выключатели, регуляторы осветительной арматуры должны располагаться на высоте,
достижимой для инвалидов: 0,8 - 1,3 м.
Двери спортивных
залов должны соответствовать требованиям, указанным в п. 3.27 Пособия по
проектированию спортивных залов. В дверях следует предусматривать смотровые
панели из противоударного стекла, внизу дверей - противоударные панели высотой 300 мм.
Материалы,
применяемые для покрытия полов спортивных залов, должны соответствовать
требованиям пп. 3.21 и 3.22 Пособия по проектированию
спортивных залов.
Поверхность пола
должна быть шероховатая из полупружинящих или
пружинящих синтетических материалов. Окраска пола - темных тонов. В спортивных
залах, предназначенных для занятий слепых, поверхность пола должна быть
идеально гладкой.
Зал для спортивных
игр инвалидов с ДЗ имеет размер 30 x 18 м с учетом зон безопасности и
информационной тактильной дорожки вокруг площадки для игры наибольшего размера.
В зале могут проводиться тренировки и соревнования по ролингболу,
голболу, торболу.
Оборудование включает стойки и сетки ворот с закрепленной верхней перекладиной,
ориентировочные маты, озвученные мячи, стойки для натяжки шнуров с
колокольчиками. Кроме того, в зале возможны занятия инвалидов-ампутантов (волейбол сидя). Поверхность пола зала должна
быть ровной и гладкой.

Зал для спортивных
игр инвалидов с ДЗ
А - план; Б -
разрез I - I по залу;
1 - информационная
дорожка; 2 - гимнастическая стенка;
3 - мягкая обивка
площадки высотой 2 м; 4 - ролингбол;
5 - голбол; 6 - торбол; 7 - мягкое
покрытие
Оптимальные размеры
зала для спортивных игр инвалидов с ПОДА равны 36 x 18 м. В зале можно
проводить учебно-тренировочные занятия и соревнования по баскетболу на
колясках, гандболу через сетку, квад-регби, фигурной
езде на колясках, волейболу сидя, футболу и теннису. Зал для этого оснащен
специальным стационарным и трансформируемым оборудованием. В зале возможно
также проведение развлекательных игр. Для этого предусматривается
дополнительное переносное оборудование: наклонный батут, мишени для бросания
колец, баскетбольное кольцо на подставке.

Спецификация
оборудования к залу для игр
размером 36 x 18 м
А - план: 1 -
стенка гимнастическая,
2 - передвижной
баскетбольный щит,
3 - тренировочный
баскетбольный щит
переменной высоты,
4 - стенка ребристая,
5 - снаряды
подвесные, 6 - разметка для баскетбола,
7 - разметка для
волейбола,
8 - разметка для
волейбола сидя,
9 - разметка для
футбола - тенниса,
10 - разметка для
гандбола через сетку,
11 - стойки
волейбольные, 12 - сетки заградительные,
Б - схема передвижного баскетбольного щита
В залах для игры в
настольный теннис следует предусматривать свободные зоны размером не менее 9 x
4,5 м на каждый стол и использовать столы стандартных размеров. При размещении
в зале более одного стола между ними должны устанавливаться легкие переносные
барьеры, не позволяющие шарику выкатиться за пределы игровой зоны.

Зал для игры в
настольный теннис
А - схема зоны (на
1 стол) для инвалидов с ПОДА;
Б - план зала на 3 стола для настольного тенниса;
В - передвижные
барьеры
Для игры в шоу-даун (одна из немногих спортивных игр, в которую слепые могут
играть без посторонней помощи) используется специальный стол размером 4,16 x
1,27 м. Вокруг стола предусматриваются зоны игры (1 м шириной) и безопасности
(2 м шириной). В зале, предназначенном для игры в шоу-даун,
может устанавливаться только один стол. Важнейшее значение имеют акустические
характеристики помещения: с одной стороны, должна быть обеспечена максимальная
звукоизоляция от внешнего шума, с другой стороны, следует предусмотреть
специальную звукопоглощающую обшивку стен и потолка помещения. Все это связано
с тем, что во время игры игроки ориентируются по звуку движущегося шарика.

Схема зала для игры
в шоу-даун
А - план: 1 -
акустическая обшивка стен и потолка;
2 - стол для игры;
3 - зоны безопасности и игры;
Б - общий вид стола для игры в шоу-даун
Зал для спортивной
гимнастики для инвалидов с ДЗ имеет нестандартный размер 36 x 24 м. Пролет зала
увеличен в связи с необходимостью устройства информационных тактильных дорожек.
Набор спортивных снарядов минимальный (по одному для каждого вида) в
соответствии с составом группы и видами многоборья.

Спецификация
оборудования к залу
для спортивной
гимнастики размером 36 x 24 м
1 - ковер для
вольных упражнений; 2 - кольца;
3 - перекладина; 4
- брусья мужские; 5 - брусья женские;
6 - бревно высокое
и низкое; 7 - конь для прыжков;
8 - конь с ручками;
9 - стенка гимнастическая;
10 - информационная
дорожка
ПЛАВАТЕЛЬНЫЕ
БАССЕЙНЫ
Размеры и
пропускную способность ванн для учебно-тренировочных и спортивных занятий
инвалидов следует принимать согласно табл. 5.
Таблица 5
|
Ванны
|
Габариты в
плане, м
|
Глубина,
м
|
Пропускная
способ-
ность
чел./смену
|
Примечания
|
|
Для
обучения
плаванию
|
А
- 8 x 16,6
Б - 6 x 10
|
0,8
- 1,35
0,6 - 1,35
|
24
10
|
Для
детей
всех кате-
горий инва-
лидности
|
|
Для
спортив-
ного плавания
|
А
- 11 x 25
Б - 16,6 x 25
В - 21 x 50
|
1,8
- 2,05
|
40
48
52
|
Все
кате-
гории
|
Размеры ванн для
прыжков в воду и расстановку устройств следует
принимать в соответствии с заданным составом устройств. Пропускная способность
каждого устройства равна 6 чел. в смену.
Функционально-планировочная
схема плавательного бассейна

Бассейны для
спортивных занятий инвалидов должны проектироваться с соблюдением специальных
требований к конструктивным и планировочным решениям, а также к размещению
оборудования, цветовому решению, акустике и освещению.
По периметру ванн
следует предусматривать обходную дорожку шириной не менее 2 м в крытых и 2,5 м
у открытых ванн, а по внешней границе обходной дорожки крытых ванн
предусматривать устройство стационарных скамей на высоте 0,50 м от пола.
Вдоль стен бассейна
по периметру обходной дорожки рекомендуется устраивать сплошной поручень на
высоте 0,90 м от пола.
Для покрытия
обходной дорожки следует применять шероховатую плитку, но без чрезмерной
фактуры, уклон в сторону трапов 0,01 - 0,02.
На площади обходной
дорожки следует предусматривать места для хранения кресел-колясок.
Край ванны бассейна
по всему периметру должен выделяться полосой, имеющей контрастную окраску по
отношению к обходной дорожке. В ваннах бассейнов, где возможны занятия слепых
спортсменов, на обходных дорожках необходимо предусматривать специальные
тактильные полосы для ориентации.
Ванны бассейнов,
оборудованные в соответствии с требованиями для инвалидов, как правило, должны
размещаться в залах больших размеров, чем обычно. Это происходит за счет
увеличения ширины обходных дорожек на проходы и размещения вспомогательного
оборудования.

Вариант решения
зала ванны бассейна
А - план: 1 -
информационная дорожка; 2 - зона для хранения
колясок; 3 - зона
сидения с подогревом; 4 - поручень;
5 - подъемник; Б -
фрагмент устройства обходной дорожки:
1 - желоб для
сброса воды; 2 - рельефная дорожка "внимание";
3 - полоса
"направление"; 4 - съемные перила; 5 - зона подъезда
кресла-коляски; 6 -
подъемник для инвалидов
ВСПОМОГАТЕЛЬНЫЕ
ПОМЕЩЕНИЯ
РАЗДЕВАЛЬНЫЕ
ДЛЯ ЗАНИМАЮЩИХСЯ
В спортивных
сооружениях для инвалидов следует предусматривать различные типы раздевальных:
общие раздевальные, обслуживающие как инвалидов, так и всех занимающихся на
сооружении;
индивидуальные
кабины для переодевания при общих раздевальных;
отдельные
помещения "семейных раздевальных" (раздевальных для инвалидов с
сопровождающими).
Площадь раздевальных определяется по расчету в соответствии с табл.
6.
Таблица 6
┌─────────────────┬─────────────┬───────────┬────────────────────┐
│ Помещения
│Площадь, м2, │Площадь, │
Примечания │
│ │для занима- │м2, для │ │
│ │ющихся,
не │использу- │ │
│ │использующих │ющих
│ │
│ │кресла- │кресла- │ │
│ │коляски │коляски │ │
├─────────────────┼─────────────┼───────────┼────────────────────┤
│Раздевальные
для │
│ │Удельные
показатели │
│занимающихся:
│ │ │площади на одного │
│а)
при бассейнах │2,5 (2,1)
│4,5 (3,8) │занимающегося
│
│с
числом мест │ │ │включают места для │
│до
40 │ │ │переодевания, шкафы │
│то
же, более 40 │2,1 (1,7) │3,8 (3,3) │для хранения │
│ │ │ │домашней одежды, │
│ │ │ │мойку для ног. │
│для
детей │2,9 │3,8 │В скобках указана │
│до
10 лет │ │ │площадь бассейнов, │
│ │ │ │не имеющих залов для│
│ │ │ │подготовительных │
│ │ │ │занятий │
│зона
(помещение) │-
│0,8
│На одного │
│для
хранения │ │ │занимающегося, │
│кресел-колясок │ │ │пользующегося │
│ │ │ │креслом-коляской │
│б)
при прочих │ │ │ │
│спортивных │ │ │ │
│сооружениях:
│ │ │ │
│с
числом мест │2,1 (1,7) │3,8 (2,1) │В скобках указан │
│до
40 │ │ │показатель площади │
│то
же, более 40 │1,7 (1,1) │3,3 (1,6) │для раздевальных
с │
│для
детей │2,9 │3,8 │хранением одежды на │
│до
10 лет │ │ │открытых крючках
или│
│ │ │ │в отдельном помеще- │
│ │ │ │нии
гардеробной │
│в)
"семейные
│- │14 │Площадь каждого │
│раздевальные"
│ │ │блока. Количество │
│(или
для инва- │ │ │блоков: │
│лидов с сопро- │ │ │2 (при пропускной │
│вождающими) в │ │ │способности соору- │
│блоке с душевой
│ │ │жения
от 15 │
│и
санузлом │ │ │до 35 чел.); │
│ │ │ │4 (при пропускной │
│ │ │ │способности соору- │
│ │ │ │жения
св. 35 чел.) │
│г)
индивидуальные│2
│4
│Каждая кабинка.
│
│кабины
для
│ │ │Количество
кабинок │
│переодевания │ │ │до 30% численности │
│ │ │ │занимающихся │
│помещения
охраня-│0,5 │ │На одного │
│емых гардеробов
│ │ │занимающегося │
│для
хранения │ │ │ │
│домашней
одежды │ │ │ │
│занимающихся │ │ │ │
└─────────────────┴─────────────┴───────────┴────────────────────┘
Скамьи в общих
раздевальных должны располагаться на расстоянии не менее 1,8 м друг от друга. В
раздевальных необходимо устройство подиума или островной скамьи длиной 3,
шириной 0,7 - 0,9 и высотой 0,5 м для обеспечения возможности раздеваться лежа.
В отдельных случаях допускается устройство расширенной скамьи шириной не менее
0,6 м вдоль одной из стен раздевальной.
Хранение домашней
одежды в помещении раздевальной следует предусматривать в закрытых одноярусных
шкафах высотой до 1,3 м, размером в плане 0,3 x 0,6 м. В помещениях
раздевальных, используемых одной командой, и для детей допускается хранение
домашней одежды открытым способом, на крючках.
Индивидуальные
кабины для переодевания следует предусматривать как стандартных размеров - 1,2
x 1,2 м, оборудуя их горизонтальными поручнями и скамьей для переодевания, так
и увеличенных размеров - 2 x 2 м для инвалидов, использующих кресла-коляски.
РАЗДЕВАЛЬНЫЕ
В помещениях общих
раздевальных могут выделяться зоны для переодевания инвалидов, визуально
отделяемые от всего помещения мебелью и оборудованием.

Блок раздевальных и
душевых при ванне размером 16,6 x 8 м
А - план: 1 -
помещение раздевальной;
2 - зона для
переодевания инвалидов; 3 - санузел
стандартных
размеров; 4 - санузел для "колясочников";
5 - душевая
стандартных размеров; 6 - душевая для "колясочников";
7 - индивидуальная
кабина для переодевания; 8 - шкафы
для хранения
домашней одежды; 9 - скамьи для переодевания;
10 - зона для
хранения колясок и вспомогательных средств;
Б - минимальные
габариты проходов и шкафов в раздевальных
Индивидуальные кабины
для переодевания оборудуются при помещениях общих раздевален. Блок раздевальных может полностью состоять из индивидуальных кабин.

Элементы спортивных
индивидуальных кабин
для переодевания
А - схема тамбура
перед душевой: 1 - раздевальная;
2 - тамбур; 3 -
душевая; Б - схемы проходных кабин
различной величины
Оборудуемые при
помещениях "семейных раздевален" душевые и санузлы могут размещаться
как в отдельном помещении, так и в одном с местом для переодевания.

Примеры
индивидуальных кабин для переодевания
ДУШЕВЫЕ
В блоке с общими раздевальными должны предусматриваться душевые и
санузлы, оборудованные соответствующим образом. При помещениях "семейных
раздевальных" предусматриваются самостоятельные
душевая и санузел.
Душевые в
общих раздевальных должны быть рассчитаны на возможность использования
инвалидами на колясках. Расстояние от
стены до ряда кабин должно быть не менее 1,5 м. Для инвалидов следует
устраивать отдельные душевые кабины в пределах общего помещения. Размер кабины
- 0,9 x 1,2 м.
Количество душевых
кабин, оборудованных для инвалидов, пользующихся креслами-колясками, следует
принимать из расчета не менее одной сетки на 3 инвалида.
Кабина оборудуется
горизонтальными (на высоте 0,6 и 0,9 м) и вертикальными опорными поручнями (низ
на высоте 0,75 м), а также скамьей глубиной 0,5 м и шириной не менее 0,5 м,
размещенной на высоте 0,5 м. Желательно устройство откидной скамьи. Краны в
душевых должны располагаться на высоте не более 1,3 м. Желательно, чтобы все
души регулировались термостатическими смесителями.

Схемы
индивидуальных душевых кабин
А - план, Б -
фрагмент плана с расстановкой оборудования;
В - разрезы по
кабинам со схемами оборудования
Специально
оборудованные для инвалидов душевые кабинки размещаются в блоке с душевыми
стандартных размеров для обычных спортсменов и должны выделяться специальной
маркировкой.
ДЕТАЛИ И
ЭЛЕМЕНТЫ
ПЛОЩАДКИ
Для ориентации по
периметру беговых дорожек устраивается полоса в форме двускатной крыши шириной
2 м и высотой в коньке 0,12 - 0,15 м. Полоса ориентации должна отличаться по
материалу от покрытия дорожки для бега или площадки для игр (газон - грунт,
газон - искусственный материал).

Площадка для
занятий легкой атлетикой
1 - дорожка для
бега по кругу; 2 - дорожка для бега по прямой;
3 - место для
прыжков в длину; 4 - поле для спортивных игр
СООРУЖЕНИЯ
ДЛЯ ЛЕГКОЙ АТЛЕТИКИ
Повороты беговой
дорожки следует обозначать сменой материала (цвета) покрытия на расстоянии не
менее 2,4 м до начала поворота.
Дорожка для бега по
прямой (длина 100 м, зона старта 5 м, зона финиша 25 м) изолируется от дорожки
для бега по кругу. Покрытие зон старта и финиша должно отличаться от покрытия
дорожки. Стартовая линия должна быть осязаемой.
Обратный путь к
старту должен быть отделен от дорожки для бега минимально на 2,5 м, ширина пути
- 0,8 - 1,2 м. Основной ориентир - звуковой маяк.

Фрагменты
легкоатлетических дорожек
А - фрагмент
дорожки для бега по кругу;
Б - дорожка для
бега по прямой;
В - фрагмент дорожки для бега по прямой;
1 - дорожки для
бега; 2 - зоны ориентации;
3 - дорожка для
возврата к старту; 4 - зона старта;
5 - зона финиша; 6
- зоны безопасности; 7 - обваловка площадки
Размеры
места для прыжков в длину равны 5 - 8 x 9 - 10 м. Дорожка для разбега должна
иметь длину до 25 м, ширину 1,5 - 3 м, полосы ориентации с каждой стороны
шириной 1,2 - 2 м. Для ориентации за 4 м от края ямы устраивается фактурная
полоса: 2,7 м - зона оповещения, 8,8 м - толчковая зона, 0,5 м - мягкое
покрытие. Акустический ориентир - звуковой маяк за
ямой.
Для выполнения
прыжков в высоту зону разбега следует выделить фактурной поверхностью. Планка
(или матерчатые щиты) должны быть цветными, контрастными. Толщина подушки
приземления - 0,5 - 0,6 м.

Схема организации
места для прыжков для инвалидов с ДЗ
А - в длину; Б - в
высоту: 1 - дорожка для разбега;
2 - яма для
приземления; 3 - обрамление ямы
(в одном уровне с
заполнением); 4 - зона отталкивания;
5 - варианты
приспособления для выделения зоны 4;
6 - выделение
толчкового бруса; 7 - дорожка для возврата к старту
ЗАЛЫ
Требования к
оборудованию залов и их элементов диктуются необходимостью обеспечения
безопасности и долговечности оборудования (помимо вопросов обеспечения
нормальных спортивных занятий).

Элементы спортивных
залов
А - решение входа в
зал: 1 - дверная коробка
(устанавливается в
одной плоскости со стеной зала);
2 - смотровая
панель; 3 - противоударная панель;
Б - фрагмент решения полос ориентации на полу
спортивного зала
для занятий инвалидов с ДЗ
Конструктивные
решения стен, пола и оборудования зала зависят от его назначения и контингента
пользователей.

Варианты решения
стен спортивных залов
А - мягкая
обивка стен (на высоту 3 м при батуте,
2 м для
гимнастики, борьбы); Б - поручень
(встроенный
или пристенный); В - откидная скамья
для занятий и
отдыха; Г - ниша для убирающегося
гимнастического
ковра
БАССЕЙНЫ
В мелком конце
ванны следует устраивать пологую лестницу с минимальным размером подступенков 0,14 и проступей 0,3
м. Рекомендуется устраивать лестницу вне габаритов ванны.
В случае
необходимости спуска в бассейн инвалидов, чья подвижность полностью зависит от
ортопедических устройств, следует предусматривать установку желоба или
специальных подъемников. Желоб может устанавливаться на высоте 0,5 м (в случае
пересаживания с кресла-коляски) или на уровне обходной дорожки (при
пересаживании с роликовой платформы). Подъемники могут устанавливаться на
обходной дорожке, крепиться к потолку или стене.

Элементы спортивных
залов
А - лестница в
мелком конце ванны для плавания;
Б - съемная
лестница; В - лестница в
мелком конце
учебной или
оздоровительной ванны; Г - желоб
В ваннах для
спортивного плавания переливной желоб следует устраивать на уровне обходной
дорожки.
В торцах ванны
следует предусматривать бортики высотой 0,5 м.
В ваннах для
оздоровительных занятий и досуговых ваннах с устройством искусственной волны
уровень воды следует предусматривать на 0,3 м ниже уровня обходной дорожки, а
сток воды осуществляется в желоб, устроенный в толще борта.
В ваннах для
оздоровительных и терапевтических занятий следует предусматривать решение борта
с пониженным уровнем обходной дорожки (на 0,5 м) и с уровнем воды в уровне (или
на 0,15 м ниже уровня) борта. В месте для самостоятельного входа инвалидов борт
понижается до уровня воды.

Детали решения
бортов ванн бассейнов
А - борт ванны для
спортивного плавания;
Б - борт ванны досугового назначения;
В - борта ванны для
терапевтических занятий:
1 - обходная
дорожка; 2 - нескользкое мягкое покрытие;
3 - решетка; 4 -
сливной желоб; 5 - пенное корытце
СПИСОК
ЛИТЕРАТУРЫ
1. Горошников Е.И., Иванов М.М. Спортивные игры для незрячих. - М.: ВОС, 1988
2. Положение о
спортивных соревнованиях Всероссийского общества слепых на 1989-1992 гг. - М.:
ВОС, 1989
3. Правила по
легкой атлетике и плаванию. - М.: ВОС, 1987
4. Правила
соревнований для больных параплегией/Чехословацкий союз физкультуры и спорта. -
Прага, 1985
5. Требования к
спортивным сооружениям, предназначенным для занятий инвалидов. Организация и
проведение соревнований среди инвалидов с поражениями опорно-двигательного
аппарата. - М.: ВНИФК, 1988
6. Физическая
культура и спорт инвалидов с дефектами опорно-двигательного аппарата.
Методические рекомендации. - Л.: ВСДФСО профсоюзов, 1988
7. Behindertengerechte. Sport und Freizeitanlagen/Hrgs. F. Roskam, P. van der Schoot.
IAKS. K
ln, 1982
8. Einrichtungen f
r Spiel und Sport mit Behinderten. Planungshinweise.
V. 1 - 4. - Berlin, 1983
9. Schoot, P. van der Behindertengerechte.
Sport und Freizeitanlagen. K
ln: Verl.-Ges., 1982
10. Sports and Recreation Provision for Disabled People/Ed. by N.
Thomson. - London, 1984.