Утверждаю
Генеральный
директор,
докт. техн. наук
В.В.ГРАНЕВ
Зам. генерального
директора
Заслуженный
строитель России
канд. техн. наук
С.М.ГЛИКИН
Зав. отделом
кровель,
канд. техн. наук
А.М.ВОРОНИН
КРОВЛИ
ТЕХНИЧЕСКИЕ ТРЕБОВАНИЯ, ПРАВИЛА ПРИЕМКИ,
ПРОЕКТИРОВАНИЕ И СТРОИТЕЛЬСТВО, МЕТОДЫ ИСПЫТАНИЙ
(ПОСОБИЕ)
ВВЕДЕНИЕ
Настоящее Пособие
разработано в развитие действующих норм проектирования кровель. Оно включает
три основных раздела:
Раздел I
"Технические требования и правила приемки";
Раздел II
"Проектирование и строительство кровель";
Раздел III
"Кровли. Методы испытаний".
В данном Пособии
рассмотрены кровли из рулонных и мастичных материалов, черепицы, плоских
асбестоцементных волнистых листов, плоских асбестоцементных и
битумно-полимерных плиток, листовой стали, меди, металлочерепицы, металлического профнастила и железобетонных лотковых
панелей. При разработке документа учтены результаты
исследований АООТ "Полимерстройматериалы" (Я.И. Зельманович, канд.
хим. наук), НИИМОССТРОЙ (А.Б. Вальницев), АО "ЦНИИОМТП" (В.Б.
Белевич, канд. техн. наук, В.Н. Никитин, канд. техн. наук), а также передовой
отечественный опыт устройства кровель ЗАО "Диат" (Е.Ю. Цыкановский),
ООО "Кров-Пром" (Ю.М. Мантров), ПСК "6 Сигма" (М.Н.
Крылов), ООО "ТехноНИКОЛЬКровля" (В.П. Протасов) и др., ряда
ведущих зарубежных фирм: "Свепко" (США),
"Ондулин" (Франция), "Ветроасфальто", "Индекс",
"Италиано Мембрана" (Италия), "Ланкодор" и
"Импербел" (Бельгия), "Лемминкяйнен" и "Икопал"
(Финляндия), "Матаки" (Швеция), а также совместных предприятий:
Российско-Ирландского СП "Изофлекс", Литовско-Российского СП "МИДА"
и др.
Пособие
предназначено для проектных и строительных организаций, а также служб
эксплуатации.
Раздел I
ТЕХНИЧЕСКИЕ
ТРЕБОВАНИЯ И ПРАВИЛА ПРИЕМКИ
1. ОБЛАСТЬ
ПРИМЕНЕНИЯ
Настоящие
требования должны соблюдаться при проектировании, устройстве и приемке в
эксплуатацию различных видов кровель вновь строящихся и реконструируемых
зданий, а также при их ремонте.
2.
НОРМАТИВНЫЕ ДОКУМЕНТЫ
В настоящем разделе
использованы ссылки на следующие документы:
СНиП 2.03.II-85
"Защита строительных конструкций от коррозии"
СНиП II-3-79*
"Строительная теплотехника" изд. 1995 г.
СНиП 2.01.01-82
"Строительная климатология и геофизика"
ГОСТ 30340-95
"Листы асбестоцементные волнистые".
3. ТЕРМИНЫ
И ОПРЕДЕЛЕНИЯ
В настоящем разделе
применены следующие термины:
Кровля - верхний
элемент покрытия, предохраняющий здание от проникновения атмосферных осадков.
Основание под
кровлю - в кровлях из рулонных и мастичных материалов поверхность
теплоизоляции, несущих плит, стяжек, а также существующей (при ремонте)
рулонной или мастичной кровли, по которой укладывают слои водоизоляционного
ковра.
В кровлях из
асбестоцементных волнистых листов - опоры для закрепления листов (прогоны или
обрешетка). В кровлях из металлического профнастила -
прогоны. В кровлях из листовой стали, меди, черепицы, металлочерепицы, плоских
асбестоцементных плиток и битумно-полимерных плиток - обрешетка.
Основной
водоизоляционный ковер (в составе рулонных и мастичных кровель) - слои рулонных
материалов или слои мастик, армированных стекло- или
синтетическими материалами, последовательно выполняемые по основанию под
кровлю.
Дополнительный
водоизоляционный ковер (рулонный или мастичный) - слои из рулонных материалов
или мастики, армированные стекло- или синтетическими
материалами, выполняемые для усиления основного водоизоляционного ковра в
ендовах, на карнизных участках, в местах примыкания к стенам, шахтам и другим
конструктивным элементам. В кровлях из асбестоцементных волнистых листов и
мелкоштучных материалов - слои из рулонных битумных материалов на стекло- и
картонной основе в качестве нижнего водоизоляционного слоя.
Защитный слой -
элемент кровли, предохраняющий основной водоизоляционный ковер от механических
повреждений, непосредственного воздействия атмосферных факторов, солнечной
радиации и распространения огня по поверхности кровли.
Покрытие - верхнее
ограждение здания для защиты помещений от внешних климатических факторов и
воздействий. При наличии пространства (проходного или полупроходного) над
перекрытиями верхнего этажа покрытие именуется чердачным.
4. ОБЩИЕ
ПОЛОЖЕНИЯ
4.1. В зависимости от вида водоизоляционного слоя кровли подразделяют
на: рулонные, мастичные, из асбестоцементных волнистых листов, из листовой
стали, меди, металлического профнастила, металлочерепицы и из мелкоштучных
материалов - черепицы, асбестоцементных плоских плиток и битумно-полимерных
плиток (шинглс).
4.2. Настоящий
раздел содержит обязательные требования, которые необходимо соблюдать при
проектировании и устройстве всех видов кровель, указанных в п. 4.1, и
осуществлять их контроль при приемке в эксплуатацию.
4.3. Выбор вида
кровель должен производиться с учетом конструктивной схемы зданий и агрессивных
воздействий окружающей среды.
Несущая и
деформативная способность обрешетки и прогонов должны быть проверены расчетом
по действующим нормативным документам.
4.4. Материалы
отечественного производства, применяемые для кровель и элемента покрытий,
должны отвечать требованиям действующих на них ГОСТ, а материалы и изделия
зарубежного производства должны иметь отечественный сертификат соответствия или
Техническое свидетельство.
4.5. Кровли из асбестоцементных волнистых листов, асбестоцементных
плоских плиток, цементно-песчаной черепицы, из листовой стали, металлочерепицы
и металлического профнастила, а также эксплуатируемые рулонные кровли с
защитным слоем из бетонных плит или цементно-песчаного раствора в зависимости
от степени агрессивности окружающей среды должны выполняться с учетом
требований СНиП 2.03.II-85 "Защита строительных конструкций от коррозии".
4.6. Требуемые
уклоны для различных видов кровель в % необходимо
принимать по табл. 1.
Таблица 1
┌────────────────────────────────────────────────────────────────────────────────────────┐
│ Виды
кровли │
├────────┬─────────┬───────────┬─────────────────────────────┬────────┬─────────┬────────┤
│рулонные│мастичные│из
асбес- │ материалов │ из
│из метал-│из │
│ │
│тоцементных├────────┬─────────┬──────────┤листовой│лического│железо- │
│ │ │волнистых │черепица│асбесто- │битумно-
│ стали │профнас-
│бетонных│
│ │ │листов из │
│цементные│полимерные│или
меди│тила и │панелей
│
│ │ │штучных │ │плитки │плитки │ │металло- │ │
│ │ │ │ │ │ │ │черепицы │ │
├────────┼─────────┼───────────┼────────┼─────────┼──────────┼────────┼─────────┼────────┤
│
0 - 25 │ 0 - 25 │не менее
10│не менее│не менее │ не менее │не менее│не
менее │не менее│
│ │ │ │ 20 <*> │ 50
│ 50 │
30 │ 10
│ 5 │
│
│
│ --------------------------------
│
│ <*> Для глиняной желобчатой черепицы
- не более 30%.
│
└────────────────────────────────────────────────────────────────────────────────────────┘
4.7. Уклон кровли в
ендове должен быть не менее 1%.
4.8. На рулонных и
мастичных кровлях должен предусматриваться внутренний организованный водоотвод.
На кровлях из
мелкоштучных материалов, асбестоцементных волнистых листов, листовой стали,
меди, металлочерепицы и металлического профнастила
должен предусматриваться наружный организованный водоотвод.
На кровлях из
железобетонных лотковых панелей должен предусматриваться внутренний
организованный водоотвод.
Наружный
неорганизованный водоотвод допускается применять на кровлях из железобетонных
лотковых панелей в зданиях высотой до 10 м.
4.9. Водоприемные
воронки внутреннего организованного водоотвода должны располагаться равномерно
по площади кровли на пониженных участках вдоль каждого ряда разбивочных осей
здания.
4.10. Площадь
кровли, приходящаяся на одну воронку, должна устанавливаться из расчета 0,75 м2 кровли на 1 см2 поперечного сечения трубы. На каждом
участке кровли, ограниченном стенами и деформационными швами, должно быть не
менее двух водоприемных воронок; при площади кровли до 700 м2
допускается установка одной воронки диаметром 100 мм.
4.11. Чаши воронок
внутреннего водоотвода должны находиться в самых низких местах покрытия на
расстоянии не менее 500 мм от парапетов и других выступающих частей здания.
Местное понижение кровли в местах установки воронок внутреннего водоотвода
должно составлять 15 - 20 мм в радиусе 0,5 м.
4.12. При наружном
организованном водоотводе расстояние между водосточными трубами должно быть не
более 24 м; площадь поперечного сечения водосточной трубы должна приниматься из
расчета 1,5 см2 на 1 м2 площади кровли. Настенные и
подвесные желоба должны иметь продольный уклон не менее 2%.
5. КРОВЛИ
РУЛОННЫЕ И МАСТИЧНЫЕ
5.1. Рулонные
кровли выполняют из битумных и битумно-полимерных материалов с армирующей стекло-, синтетической или картонной основой, а также из
эластомерных вулканизованных пленочных материалов, физико-технические
показатели которых должны удовлетворять требованиям, приведенным в Приложении.
Потенциальный срок службы кровельных рулонных и мастичных материалов, за
исключением материалов на картонной основе с битумным вяжущим, должен быть не менее 10 лет. При этом материалы на картонной основе с битумным вяжущим допускается
применять только для временных зданий и сооружений (со сроком службы до 5 лет).
5.2. Мастичные
кровли выполняют из горячих или холодных битумно-полимерных или полимерных
мастик с армирующими прокладками из стекло- или
синтетических рулонных материалов.
5.3. Количество
слоев в основном и дополнительном водоизоляционном ковре рулонных кровель в
зависимости от уклона должно быть не менее указанного
в табл. 2.
Таблица 2
┌─────────────────────────────┬───────────────────────────────────────────┐
│ Вид рулонного материала │ Уклон кровли, % │
│
├──────────┬──────────┬──────────┬──────────┤
│ │менее 1,5
│1,5 менее │2,5 менее │ 10 - 25 │
│ │ │
2,5 │ 10
│ │
├─────────────────────────────┼──────────┼──────────┼──────────┼──────────┤
│1.
Битумно-полимерные и │ 2* -
4* │ 1*...3* │ 1*...3* │ 1*...3* │
│битумные с армирующей
стекло-│----------│----------│----------│----------│
│или
синтетической основой │1** -
2***│1** - 2***│1** - 2***│1** - 2***│
│ │ │ │ │ │
│2.
То же, с картонной │ 4
│ 4 │
3 │ 3
│
│основой │----------│----------│----------│----------│
│ │1** -
3***│1** - 3***│1** - 3***│1** - 3***│
│ │ │ │ │ │
│3.
Эластомерные пленочные │ 2
│ 1 │
1 │ 1
│
│материалы
│ - │
- │ -
│ - │
│ │ 1
│ 1 │
1 │ 1
│
│
│
│ Примечание. В числителе -
для основного водоизоляционного ковра:│
│*
- в зависимости от показателя гибкости материала; в
знаменателе - для│
│дополнительного ** - в ендовах, на коньковых и карнизных
участках, *** -│
│на
примыканиях к вертикальным поверхностям - стенам, парапетам и др. │
└─────────────────────────────────────────────────────────────────────────┘
5.4. Мастики для устройства рулонных и мастичных кровель в зависимости
от их уклона должны иметь теплостойкость не ниже указанной в табл. 3 при
условной прочности не менее 1,0 МПа, относительном удлинении не менее 100%,
водопоглощении по массе не более 2% и гибкости на брусе с закруглением радиусом
25 мм не выше +/- 0 °C.
Таблица 3
┌───────────────────┬────────┬────────────────────────────────────────────┐
│Район
строительства│ Тип │ Теплостойкость мастик, °C │
│ │мастики
├─────────────────────────────────┬──────────┤
│ │ │для участков кровель с уклоном,
%│ мест │
│ │
├─────────┬────────────┬──────────┤примыкания│
│ │ │менее 2,5│2,5 менее
10│ 10 - 25 │ │
├───────────────────┼────────┼─────────┼────────────┼──────────┼──────────┤
│Севернее │горячая │ 55
│ 65 │
75 │ 85
│
│географической
│холодная│ 65 │
65 │ не допускается │
│широты
50° для
│ │ │ │ │ │
│европейской
и 53° │ │ │ │ │ │
│для
азиатской части│
│ │ │ │ │
├───────────────────┼────────┼─────────┼────────────┼──────────┼──────────┤
│Южнее
этих районов │горячая │ 65
│ 75 │
85 │ 100 │
│ │холодная│ 75
│ 75 │
не допускается │
└───────────────────┴────────┴─────────┴────────────┴──────────┴──────────┘
5.5. Количество
армированных мастичных слоев в зависимости от уклона должно быть не менее указанного в табл. 4.
Таблица 4
┌───────────────────────────────────┬─────────────────────────────────────┐
│ Вид армирующей прокладки │ Уклон кровли, % │
│
├────────┬─────────┬─────────┬────────┤
│ │
менее │1,5 менее│2,5
менее│10 - 25 │
│ │ 1,5
│ 2,5 │
10 │ │
├───────────────────────────────────┼────────┼─────────┼─────────┼────────┤
│1.
Стеклохолст │
4 │ 3
│ 3 │
2 │
│
│--------│-------- │-------- │--------│
│ │1* -
3**│1* - 2** │1* - 2** │1* - 2**│
│ │ │ │ │ │
│2.
Стеклосетка
│ 3 │
2 │ 2
│ 2 │
│
│--------│-------- │-------- │--------│
│ │1* -
2**│1* - 2** │1* - 2** │1* - 2**│
│ │ │ │ │ │
│3.
Полотно из синтетических │ 3
│ 2 │
2 │ 1
│
│волокон
│--------│-------- │-------- │--------│
│ │1* -
2**│1* - 2** │1* - 2** │1* - 2**│
│
│
│ Примечание. В числителе -
для основного водоизоляционного ковра,│
│в знаменателе
- для дополнительного (* - в
ендовах, на коньковых│
│и карнизных
участках, ** - на примыканиях к вертикальным
поверхностям -│
│стенам,
парапетам и др.)
│
└─────────────────────────────────────────────────────────────────────────┘
5.6. Конструкция водоизоляционного
ковра в зависимости от уклона кровли, вида рулонного материала и армирующей
прокладки должна приниматься по табл. 5.
Таблица 5
┌─────────┬──────┬─────────────────────────────────┬──────────────────────┐
│ Уклон
│ Тип │ Основной
водоизоляционный ковер │
Защитный слой │
│кровли,
%│кровли│ │ │
├─────────┼──────┼─────────────────────────────────┼──────────────────────┤
│ 1
│ 2 │ 3 │ 4 │
├─────────┼──────┼─────────────────────────────────┼──────────────────────┤
│менее
1,5│ К-1
│Три слоя наплавляемых рулонных │Из гравия, втопленного│
│ │ │битумных
или битумно-полимерных │в
покровный слой │
│ │ │материалов на стекло- или │верхнего наплавляемого│
│ │ │синтетической основе, обладающих │рулонного материала │
│ │ │гибкостью при отрицательных │или наклеенного на │
│ │ │температурах от
минус 10 до минус│мастике, либо из
│
│ │ │20 °C
│крупнозернистой │
│ │ │Два слоя таких же материалов, │посыпки на верхнем │
│ │ │обладающих
гибкостью при │слое
рулонного │
│ │ │отрицательных температурах
от │материала или │
│ │ │минус 20 до
минус 30 °C │наклеенной на
мастике │
│ │ │Четыре слоя наплавляемых
рулонных│
│
│ │ │битумных материалов на
стекло- │ │
│ │ │или синтетической основе, │ │
│ │ │обладающих
гибкостью при │ │
│ │ │температурах от 0 до минус 10 °C │ │
│ │ │Два слоя эластомерных
пленочных │ │
│ │ │материалов │ │
│ │ │Четыре слоя рулонных
материалов │ │
│ │ │на картонной основе, наклеенных
│
│
│ │ │на мастиках │ │
│ │ │Четыре слоя мастики,
армированные│
│
│ │ │четырьмя слоями стеклохолста │ │
│ │ │Три слоя мастики,
армированные │ │
│ │ │тремя слоями стеклосетки или │ │
│ │ │тремя полотнами из синтетических │
│
│ │ │волокон │ │
│1,5
менее│ К-2
│Три слоя наплавляемых рулонных │То же │
│ 2,5
│ │битумных
материалов на стекло- │ │
│ │ │или синтетической основе, │ │
│ │ │обладающих
гибкостью при │ │
│ │ │температурах от 0 до минус 10 °C │ │
│ │ │Два слоя наплавляемых
рулонных │ │
│ │ │битумно-полимерных материалов на │ │
│ │ │стекло-
или синтетической основе,│ │
│ │ │обладающих
гибкостью при │ │
│ │ │отрицательных температурах от │ │
│ │ │минус 10 до
минус 20 °C │ │
│ │ │Один слой наплавляемого
рулонного│
│
│ │ │битумно-полимерного материала с │ │
│ │ │двойной армирующей основой │ │
│ │ │толщиной не менее 4 мм и │ │
│ │ │обладающего
гибкостью при │ │
│ │ │отрицательных температурах от │ │
│ │ │минус 10 до
минус 20 °C или с │ │
│ │ │одной армирующей
синтетической │ │
│ │ │основой и гибкостью при
│
│
│ │ │отрицательных температурах от │ │
│ │ │минус 20 до
минус 30 °C │ │
│ │ │Четыре слоя рулонных
материалов │ │
│ │ │на картонной основе, наклеенных
│
│
│ │ │на мастиках │ │
│ │ │Один слой эластомерных пленочных │ │
│ │ │материалов │ │
│ │ │Три слоя мастики,
армированные │ │
│ │ │тремя слоями стеклохолста │ │
│ │
│Два слоя мастики, армированные
│
│
│ │ │двумя слоями стеклосетки или │ │
│ │ │двумя слоями полотна из
│
│
│ │ │синтетических волокон │ │
│2,5
менее│ К-3
│Три слоя наплавляемых рулонных │То же │
│ 10
│ │битумных
материалов на стекло- │ │
│ │ │или синтетической основе, │ │
│ │ │обладающих
гибкостью при │ │
│ │ │температурах от 0 до минус 10 °C │ │
│ │ │Два слоя наплавляемых
рулонных │ │
│ │ │битумно-полимерных материалов на │ │
│ │ │стекло-
или синтетической основе,│ │
│ │ │обладающих
гибкостью при │ │
│ │ │отрицательных температурах от │ │
│ │ │минус 10 до
минус 20 °C │ │
│ │ │Один слой наплавляемого
рулонного│
│
│ │ │битумно-полимерного материала с │ │
│ │ │двойной армирующей основой │ │
│ │ │толщиной не менее 4 мм и │ │
│ │ │обладающего
гибкостью при │ │
│ │ │отрицательных температурах от │ │
│ │ │минус 10 до
минус 20 °C или с │ │
│ │ │одной армирующей
синтетической │ │
│ │ │основой и гибкостью при │ │
│ │ │отрицательных температурах от │ │
│ │ │минус 20 до
минус 30 °C │ │
│ │ │Три слоя рулонных материалов на │ │
│ │ │картонной основе, наклеенных на
│
│
│ │ │мастиках │ │
│ │ │Три слоя мастики,
армированные │ │
│ │ │тремя слоями стеклохолста │ │
│ │ │Два слоя мастики,
армированные │ │
│ │ │двумя слоями стеклосетки или │ │
│ │ │двумя полотнами из синтетических │
│
│ │ │волокон │ │
│ │ │Один слой эластомерного │Окрасочный слой │
│ │ │пленочного материала │ │
│
10 - 25 │ К-4
│Три слоя наплавляемых рулонных │Крупнозернистая │
│ │ │битумных материалов на стекло- │посыпка на
верхнем │
│ │ │или синтетической основе, │слое рулонного │
│ │ │обладающих
гибкостью при
│материала
│
│ │ │температурах от 0 до минус 10 °C │ │
│ │ │Два слоя наплавляемых
рулонных │ │
│ │ │битумно-полимерных материалов на │
│
│ │ │стекло-
или синтетической основе,│ │
│ │ │обладающих
гибкостью при │ │
│ │ │отрицательных температурах от │ │
│ │ │минус 10 до
минус 20 °C │ │
│ │ │Один слой наплавляемого
рулонного│
│
│ │ │битумно-полимерного материала с │ │
│ │ │двойной армирующей основой │ │
│ │ │толщиной не менее 4 мм и │ │
│ │ │обладающий
гибкостью при │ │
│ │ │отрицательных температурах от │ │
│ │ │минус 10 до
минус 20 °C или с │ │
│ │ │одной армирующей
синтетической │ │
│ │ │основой и гибкостью при
│
│
│ │ │отрицательных температурах от │ │
│ │ │минус 20 до
минус 30 °C │ │
│ │ │Три слоя рулонных материалов на │ │
│ │ │картонной основе, наклеенных на
│ │
│ │ │мастиках │ │
│ │ │Два слоя мастики,
армированные │Окрасочный
слой │
│ │ │двумя слоями стеклохолста или │ │
│ │
│стеклосетки
│
│
│ │ │Один слой мастики,
армированный │ │
│ │ │одним полотном из синтетических
│
│
│ │ │волокон │ │
│ │ │Один слой эластомерного │ │
│ │ │пленочного материала │ │
└─────────┴──────┴─────────────────────────────────┴──────────────────────┘
5.7. Ширина
склеивания рулонных материалов в местах продольной и поперечной нахлестки
полотнищ должна быть не менее 100 мм.
5.8. Высота
наклейки рулонных материалов в местах примыканий к вертикальным поверхностям
должна быть не менее 100 мм (на высоту наклонного бортика) - для слоев
основного водоизоляционного ковра и не менее 250 мм - для
дополнительных.
5.9. В местах
установки водосточных воронок основной водоизоляционный ковер, наклеиваемый на
фланец воронки, должен быть усилен двумя слоями дополнительного
водоизоляционного ковра.
5.10. В
водоизоляционном ковре не должно быть внешних дефектов, трещин, вздутий,
разрывов, пробоин, расслоений, а также отслоений в местах нахлесток.
5.11. В кровлях с
уклоном до 10%, выполненных из рулонных битумно-полимерных, битумных материалов
с мелкозернистой посыпкой или из мастичных материалов для защиты верхнего слоя
основного водоизоляционного ковра, должен предусматриваться защитный слой - из
гравия или из крупнозернистой посыпки (каменной крошки) с маркой по
морозостойкости не ниже 100.
Толщина защитного
слоя из гравия должна быть 10 - 15 мм.
Толщина защитного
слоя из крупнозернистой посыпки, выполняемого в построечных условиях, должна
быть 3 - 5 мм.
В кровлях с
уклонами до 2,5% из эластомерных пленочных рулонных материалов, выполненных
методом свободной укладки, должен предусматриваться гравийный пригрузочный слой
из расчета 50 кгс/м2.
5.12. В кровлях с
уклоном более 10% из рулонных битумно-полимерных или битумных материалов
верхний слой основного водоизоляционного ковра должен выполняться из материала
с крупнозернистой посыпкой.
5.13. В мастичных кровлях с уклоном более 10%, а также в кровлях из
эластомерных пленочных рулонных материалов, выполненных методами наклейки или
свободной укладки с механическим креплением при уклонах 2,5% и более, должен
быть предусмотрен защитный слой из окрасочных составов, а при меньших уклонах
для кровель из пленочных рулонных материалов - защитный слой из гравия или
крупнозернистой посыпки.
5.14. Защитный
слой эксплуатируемых кровель должен быть толщиной не менее 30 мм и выполняться
из плит или из монолитных материалов с маркой по морозостойкости не менее В 7,5.
5.15. В
монолитном защитном слое эксплуатируемых кровель должны быть предусмотрены
температурно-усадочные швы шириной 10 мм с шагом не более чем 1,5 м во взаимно
перпендикулярных направлениях, заполняемые герметизирующими составами.
5.16. В
местах перепадов высот, на пониженных участках (при наружном неорганизованном
водоотводе) защитный слой должен быть выполнен в соответствии с пп. 5.14 и 5.15
на ширину не менее 0,75 м.
5.17. На
кровлях, на которых требуется обслуживание размещенного на них оборудования
(крышные вентиляторы и т.п.), должны быть предусмотрены ходовые дорожки и
площадки вокруг оборудования из материалов по п. п. 5.14 и 5.15.
5.18. Поверхность
кровли должна быть равномерно покрыта защитным слоем гравия или крупнозернистой
посыпкой на верхнем слое рулонного ковра.
В защитном слое из
окрасочных составов не должно быть пор, кратеров, трещин и других дефектов.
5.19. Основание под
рулонные и мастичные кровли должно отвечать требованиям, приведенным в табл. 6.
Таблица 6
┌─────────────┬────────────────────────────────────────────────────────────────────────┐
│Наименование
│ Вид
основания
│
│
показателей
├────────────────────┬───────────────────────────┬──────────┬────────────┤
│ │из теплоизоляционных│ стяжка из │стяжка из │из тепло- │
│ │ слоев монолитной │цементно-песчаного
раствора│песчаного │изоляционных│
│ │ укладки на │ │асфальто- │плит
│
│ ├──────────┬─────────┼──────────────┬────────────┤бетона │ │
│ │цементном
│битумном │ по засыпной
│по тепло- │ │ │
│ │ вяжущем │ вяжущем
│теплоизоляции │изоляционным│ │ │
│ │ │ │ │плитам │ │ │
├─────────────┼──────────┴─────────┴──────────────┴────────────┴──────────┼────────────┤
│Ровность │Плавно нарастающие неровности вдоль
уклона не более +/- 5 │Перепад │
│ │мм, а поперек уклона - не
более +/- 10 мм, в ендове │между │
│ │не более +/- 5 мм;
количество неровностей должно быть
│смежными │
│ │не более одной на 1 м
длины │плитами не │
│ │
│более 3 мм │
│Прочность │
0,6 │ 0,15
│ 10 │ 5
│ 0,8 │
0,06 │
│на
сжатие, │ │ │ │ │ │ │
│МПа,
не менее│ │ │ │ │ │ │
│Влажность,
%,│ 15 │
2,5 │ 5
│ 5 │
2,5 │По
ГОСТ или │
│не
более │ │ │ │ │ │ТУ на плиты │
│Толщина,
мм, │
<*> │ <*>
│ 40 +/- 10% │ 30 +/- 10% │15 +/-
10%│ <*> │
│не
менее │ │ │с армированием│ │ │ │
│ │
│ --------------------------------
│
│ <*> Толщина теплоизоляции по
расчету.
│
└──────────────────────────────────────────────────────────────────────────────────────┘
5.20. В
выравнивающей стяжке из цементно-песчаного раствора должны быть предусмотрены
температурно-усадочные швы шириной до 5 мм, разделяющие поверхность стяжки на
участки не более 6 x 6 м.
5.21.
Выравнивающие стяжки из песчаного асфальтобетона должны быть разрезаны
температурно-усадочными швами на участки не более 4 x 4 м.
5.22.
Температурно-усадочные швы в стяжках, теплоизоляционных слоях монолитной
укладки и торцовые стыки несущих плит покрытия должны быть перекрыты полосами
шириной не менее 150 мм рулонного водоизоляционного материала с точечной
приклейкой их с одной стороны шва.
5.23.
Пароизоляция для предохранения теплоизоляционного слоя и основания под кровлю
от увлажнения должна предусматриваться в соответствии с требованиями главы СНиП
II-3-79* "Строительная теплотехника" изд. 1995 г.
5.24. В
местах примыкания покрытий к стенам, стенкам фонарей, шахтам и оборудованию,
проходящему через покрытие или чердачное перекрытие, пароизоляция должна быть
поднята на высоту, равную толщине теплоизоляционного слоя, а в местах
деформационных швов должна перекрывать края металлического компенсатора.
5.25. Отклонение от
заданного уклона рулонных и мастичных кровель должно быть не более 2%.
6. КРОВЛИ
ИЗ АСБЕСТОЦЕМЕНТНЫХ ВОЛНИСТЫХ ЛИСТОВ
6.1. Шаг
брусков обрешетки в чердачных кровлях для листов длиной 1750 мм должен быть не
более 750 мм.
Шаг
прогонов в кровлях производственных зданий должен приниматься равным длине
листа за вычетом нахлестки.
6.2. При
устройстве основания должны быть соблюдены следующие допуски:
отклонение от
заданного уклона не более 5%;
неровности на длине
1 м поверхности основания вдоль ската не более 5 мм, поперек ската 10 мм.
6.3. Поперек ската
волна перекрывающей кромки асбестоцементного листа должна перекрывать волну
перекрываемой кромки смежного листа. Вдоль ската кровли нахлестка
асбестоцементных волнистых листов должна быть не менее 150 и не более 300 мм.
6.4. При
уклоне кровли до 20% должна быть предусмотрена герметизация стыков между
асбестоцементными волнистыми листами.
6.5. При
длине здания 25 м и более для компенсации деформаций в кровле должны быть
предусмотрены деформационные швы, располагаемые с шагом 12 - 18 м для листов,
не защищенных водостойким покрытием, и 24 м - для гидрофобизированных и
окрашенных листов.
6.6.
Физико-механические показатели листов и деталей должны отвечать требованиям
ГОСТ 30340-95 "Листы асбестоцементные волнистые. Технические
условия".
6.7.
Шиферные гвозди, шурупы, противоветровые скобы и стальные элементы типа
"Крюк" для крепления асбестоцементных волнистых листов к обрешетке и
прогонам должны быть оцинкованными.
7. КРОВЛИ
ИЗ МЕЛКОШТУЧНЫХ МАТЕРИАЛОВ
7.1. Основание под
кровли из мелкоштучных материалов должно удовлетворять требованиям п. 6.2
настоящих Норм.
7.2. Нижний
слой в кровлях из асбестоцементных и битумно-полимерных плиток должен быть
выполнен из водоизоляционного рулонного материала.
7.3.
Отклонение от заданного уклона кровель из мелкоштучных материалов должно быть
не более 5%.
7.4. Для кровель из
мелкоштучных материалов должны применяться:
-
битумно-полимерные плитки (ШИНГЛС), физико-технические показатели которых в
зависимости от основы должны удовлетворять требованиям Приложения 2 для
рулонных битумных и битумно-полимерных материалов;
- глиняная или
цементно-песчаная черепица с прочностью на изгиб в ненасыщенном состоянии не
менее 7 МПа и морозостойкостью не менее 25 циклов;
- асбестоцементные
плоские прессованные плитки с прочностью на изгиб не менее 24 МПа и
морозостойкостью не менее 50 циклов.
7.5.
Кляммеры и гвозди для крепления черепицы и асбестоцементных кровельных плиток
должны быть оцинкованными.
8. КРОВЛИ
ИЗ ЛИСТОВОЙ СТАЛИ, МЕДИ, МЕТАЛЛИЧЕСКОГО
ПРОФНАСТИЛА И
МЕТАЛЛОЧЕРЕПИЦЫ
8.1. Для кровель из
листовой стали должна применяться оцинкованная сталь толщиной не менее 0,4 мм,
а для кровель из меди - листы толщиной не менее 0,3 мм.
8.2. При уклонах менее 60% лежачие фальцы в кровлях из листовой стали и
меди должны быть выполнены двойными и загерметизированы.
8.3. Металлический
профнастил для кровель должен иметь высоту гофра не менее 44 мм.
8.4. В кровлях из металлического профнастила и металлочерепицы при уклонах до
20% должна быть предусмотрена обязательная герметизация стыков между настилами.
8.5. Во избежание
сквозного продувания покрытия по верху утеплителя должен быть предусмотрен
противоветровой барьер из рулонного паропроницаемого материала.
8.6. Во избежание
разрушения от температурных деформаций длина корытообразных желобов из
оцинкованной стали, устанавливаемых в местах ендов, не должна превышать 6 м.
8.7. Величина
нахлестки металлического профнастила и металлочерепицы вдоль ската должна быть
не менее 250 мм, а поперек ската на один гофр.
8.8. Отклонение от
заданного уклона кровель из листовой стали, меди, металлического профнастила и
металлочерепицы должно удовлетворять требованиям п. 7.3.
8.9.
Кляммеры для крепления кровельной стали к обрешетке, стальные шурупы, саморезы
и шайбы для крепления профнастила должны быть оцинкованными.
9. КРОВЛИ
ИЗ ЖЕЛЕЗОБЕТОННЫХ ПАНЕЛЕЙ
ЛОТКОВОГО СЕЧЕНИЯ
(БЕЗРУЛОННЫЕ)
9.1. Для кровель
должны использоваться панели из бетонов марок: по водонепроницаемости W-6 - W-8
и морозостойкости не менее 200.
9.2. Панели должны
иметь водозащитную окрасочную гидроизоляцию их лицевой поверхности.
9.3. В местах
пропуска вентиляционных блоков, труб и другого инженерного оборудования в
железобетонных панелях должны быть предусмотрены отверстия с обрамлением,
выступающим на высоту не менее 100 мм.
9.4. Для
вентилирования безрулонных крыш в опорных фризовых панелях должны быть
предусмотрены отверстия, суммарная площадь которых в каждой из продольных стен
принимается не менее 1/300 от площади горизонтальной проекции крыши.
Вентилирующие
отверстия должны проектироваться наклонными или ломаными с установкой
жалюзийных решеток с шириной щели 20 - 40 мм.
10. ПРАВИЛА
ПРИЕМКИ КРОВЕЛЬ
10.1. При приемке
кровли должен осуществляться поэтапный приемочный контроль качества устройства
пароизоляции, теплоизоляции, основания, водоизоляционного и защитного слоев с
записью в журнал работ и составлением актов на скрытые работы.
10.2. На каждом
этапе приемки исполнитель (подрядная организация) должен представить Заказчику
паспорт завода-изготовителя, сертификат соответствия или Техническое
свидетельство на используемые материалы. Исполнитель обязан провести испытания
используемых материалов на соответствие их физико-технических показателей
данным, представленным в выше указанных документах (входной контроль).
Результаты входного
контроля используемых материалов должны быть зафиксированы в протоколах
испытательных лабораторий, а данные приемочного контроля отдельных слоев
многослойной конструкции покрытия в журналах организации, выполняющей кровли, а
также в актах на скрытые работы.
10.3. При приемке
слоя пароизоляции исполнитель должен представить заказчику акт на скрытые
работы по результатам визуального контроля (с участием представителя заказчика)
слоя пароизоляции (наличие трещин, вздутий, разрывов, пробоин, расслоений) и
соблюдению требований пп. 5.23 и 5.24.
10.4. При приемке
основания исполнитель должен представить заказчику акты на скрытые работы по
результатам инструментального контроля ровности поверхности основания, его
влажности, уклона и уровня понижения поверхности в местах расположения воронок
внутреннего водостока, а также оценки визуального контроля (с участием представителя
заказчика) по соблюдению требований пп. 5.20, 5.21, 5.22.
10.5. При приемке водоизоляционного слоя исполнитель должен представлять
заказчику акты на скрытые работы по результатам инструментального контроля (с
участием представителя заказчика) уклона кровли, уровня понижения поверхности в
местах расположения воронок внутреннего водоотвода, ширины нахлестки
асбестоцементных волнистых листов, металлического профнастила или
металлочерепицы вдоль и поперек ската и оценку визуального контроля соблюдения
требований пп. 5.10, 6.4, 6.5, 6.7, 7.2, 7.5, 8.2 и 8.9.
10.6. При приемке
защитного слоя исполнитель представляет заказчику акты по результатам
инструментального контроля (с участием представителя заказчика) общей толщины
защитного слоя фракционного состава гравия и оценки визуального контроля
соблюдения требований пп. 5.15, 5.16, 5.17.
10.7. Приемка
готовой кровли должна оформляться актом с обязательной оценкой качества
выполненных работ и выдачей Заказчику гарантийного паспорта. В паспорте
указывается наименование объекта, объем кровельных работ, их качество и
гарантийный срок.
Приложение
Раздел II
ПРОЕКТИРОВАНИЕ И
СТРОИТЕЛЬСТВО КРОВЕЛЬ
1. ОБЩИЕ
ПОЛОЖЕНИЯ
1.1. Настоящий раздел разработан в развитие раздела I "Технические
требования и правила приемки" и распространяется на проектирование и
устройство кровель из битумных, битумно-полимерных и эластомерных рулонных
материалов, из мастик с армирующими прокладками, асбестоцементных волнистых
листов, черепицы, плоских асбестоцементных и битумно-полимерных плиток,
листовой стали, меди, металлического профнастила и металлочерепицы, применяемых
в зданиях различного назначения.
1.2. В данном разделе изложены рекомендательные указания по
конструктивным решениям основных узлов и способам устройства кровель из рулонных
и мастичных материалов, из асбестоцементных волнистых листов, различных видов
черепицы, плоских асбестоцементных и битумно-полимерных плиток, листовой стали,
меди, металлочерепицы и металлического профнастила, при которых обеспечивается
соблюдение основных положений раздела "Технические требования и правила
приемки".
1.3. При
проектировании и устройстве кровель, кроме указаний настоящего раздела, должны
выполняться требования действующих норм проектирования, техники безопасности,
правил по охране труда и противопожарной безопасности.
1.4. Работы по
устройству кровель рекомендуется производить при температуре наружного воздуха до минус 20 °C и при отсутствии
снегопада, гололеда и дождя.
2.
МАТЕРИАЛЫ, ПРИМЕНЯЕМЫЕ ДЛЯ УСТРОЙСТВА КРОВЕЛЬ
2.1. Для устройства
рулонного водоизоляционного ковра рекомендуется применять битумные и
битумно-полимерные материалы на негниющей стеклянной, синтетической или
картонной основе или эластомерные вулканизованные пленочные материалы, а также
мастичные материалы. Аналогичные материалы рекомендуется применять для
устройства пароизоляции.
Рулонные
материалы на картонной основе с битумным вяжущим допускается применять для
устройства водоизоляционного ковра в кровлях временных зданий и сооружений со
сроком службы до 5 лет.
2.2. Для устройства
мастичного водоизоляционного ковра, а также для наклейки рулонных материалов
рекомендуется преимущественно использовать битумно-полимерные и полимерные
мастики, отвечающие требованиям по теплостойкости табл. 3 раздела I
"Технические требования и правила приемки".
В качестве
армирующей основы в кровлях с мастичным водоизоляционным ковром следует
применять стеклохолст, стеклосетку или полотно из синтетических волокон.
Рекомендуемые виды некоторых отечественных и зарубежных рулонных и мастичных
материалов приведены в табл. 1, 2, 3 Приложения 1.
2.3. Для защиты
мест примыканий водоизоляционного ковра к выступающим конструкциям здания, мест
сопряжения кровли с воронками внутреннего водостока, анкерам и т.д., а также
для герметизации швов при нахлестке смежных полотнищ эластомерного пленочного
материала, асбестоцементных волнистых листов, металлического профнастила и
металлочерепицы следует применять герметизирующие составы. Рекомендуемые виды
некоторых герметизирующих составов приведены в табл. 5 Приложения 1.
2.4. Для кровель,
на которые возможно воздействие агрессивной щелочной среды, рекомендуется
применять материалы с повышенной стойкостью к химагрессии (типа
"атаклона", "элона", "кровлена" и др., см. табл.
2 и 3 Приложения 1).
3. КРОВЛИ
РУЛОННЫЕ И МАСТИЧНЫЕ
3.1. Общая
часть
3.1.1. Кровли из рулонных и мастичных материалов могут быть выполнены в
традиционном (при расположении водоизоляционного ковра над теплоизоляцией) и
инверсионном (при размещении водоизоляционного ковра под теплоизоляцией)
вариантах.
3.1.2.
Конструктивное решение покрытия с кровлей в инверсионном варианте включает
(рис. 1):
железобетонные
сборные или монолитные плиты;
затирку (при
сборных железобетонных плитах);
водоизоляционный
ковер;
теплоизоляцию;
разделительный
(фильтрующий) слой-холст противокорневой из синтетических волокон, пригруз из
гравия или бетонных плиток из расчета 50 кгс/м2.

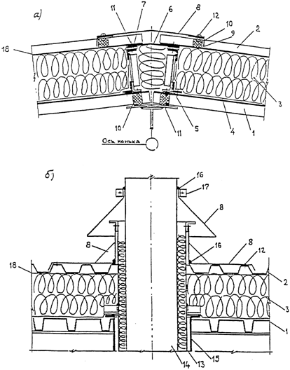
Рис. 1.
Инверсионная кровля с теплоизоляцией
из экструзионного
пенопласта
1 - сборная
железобетонная плита покрытия; 2 - основной
водоизоляционный
ковер; 3 - теплоизоляция из экструзионного
пенополистирола; 4
- предохранительный (фильтрующий) слой;
5 - пригруз из
гравия; 6 - дополнительный водоизоляционный
ковер; 7 - точечная
приклейка теплоизоляции; 8 - легкий
бетон; 9 - костыли
40 x 4 мм через 600 мм; 10 - дюбели;
11 - оцинкованная
кровельная сталь; 12 - стена;
13 - грунтовка
3.1.3. При
выполнении кровли в инверсионном варианте в качестве теплоизоляции должен
применяться только плитный экструзионный пенополистирол, характеризующийся низким водопоглощением, что исключает возможность его
увлажнения и размораживания в процессе эксплуатации кровли.
3.1.4. К
преимуществам кровель, выполненных в инверсионном варианте, относится более
высокая долговечность водоизоляционного ковра в связи с тем, что он в процессе
эксплуатации не подвергается прямому воздействию атмосферных факторов и
работает в узком диапазоне температур.
3.1.5. Инверсионный
вариант кровли предъявляет наиболее высокие требования к качеству устройства
водоизоляционного ковра, так как при протечках возникают значительные трудности
в определении мест его повреждения и выполнении ремонтных работ из-за
необходимости в большинстве случаев снятия теплоизоляции, разделительного и
пригрузочного слоев.
3.1.6. Мастичные
кровли рекомендуется преимущественно применять в новом строительстве при
сложном рельефе покрытия, а также при ремонте существующих кровель.
3.1.7. При
реконструкции или ремонте существующей кровли предварительно должна быть
установлена необходимость сохранения старой теплоизоляции. Целесообразность
сохранения ее устанавливают по результатам детального обследования материала
теплоизоляции с отбором проб и определением его влажностного состояния и
прочностных показателей, которые должны удовлетворять требованиям табл. 6
раздела I "Технические требования и правила приемки" или ГОСТ (ТУ) на
данный материал. В противном случае теплоизоляция должна быть заменена или
предусмотрены мероприятия, обеспечивающие ее естественную сушку в процессе
эксплуатации кровли путем установки патрубков, устройства продухов и т.п. (рис.
2).

Рис. 2.
Вентиляционный патрубок
1 - сборная
железобетонная плита; 2 - пароизоляция
(по расчету); 3 -
теплоизоляция; 4 - выравнивающая стяжка;
5 - основной
кровельный ковер; 6 - дополнительные слои
кровельного ковра;
7 - герметизирующая мастика;
8 - патрубок; 9 -
засыпной утеплитель
3.2.
Конструкция водоизоляционного ковра
3.2.1. Конструкция
водоизоляционного ковра зависит от уклона, вида рулонного материала и
армирующей прокладки, а также от типа покрытия. Уклоны кровель принимают в
соответствии с указаниями раздела "Технические требования и правила
приемки".
3.2.2. Кровли из
рулонных и мастичных материалов предпочтительно применять при уклонах до 3%.
Кровли в
инверсионном варианте должны приниматься при уклонах до 3%.
3.2.3. При ремонте
кровли без замены существующего водоизоляционного ковра ее рекомендуется
выполнять из одного или двух слоев рулонного материала или из двух армированных
мастичных слоев.
3.2.4. В местах
перепада высот, примыкания кровли к парапетам, стенам бортов фонарей, в местах
пропуска труб, у водосточных воронок, вентиляционных шахт и т.п. должно предусматриваться
устройство дополнительного водоизоляционного ковра в соответствии с указаниями
раздела "Технические требования и правила приемки".
Рекомендуется
дополнительный ковер при применении битумного или битумно-полимерного рулонного
материала выполнять двухслойным, а при мастичных
кровлях из двух слоев мастики с двумя армирующими прокладками.
3.3.
Устройство основания под водоизоляционный ковер
3.3.1. Основанием
под водоизоляционный ковер могут служить ровные поверхности:
железобетонных
несущих плит, швы между которыми заделаны цементно-песчаным раствором марки не
ниже 100 или бетоном марки не ниже В 7.5;
теплоизоляционных
плит с пределом прочности на сжатие при 10% деформации не менее 0,06 МПа.
При этом в кровлях
с наклейкой водоизоляционного ковра холодными мастиками на основе растворителей
теплоизоляционные плиты должны обладать устойчивостью к органическим
растворителям (бензин, этилацетон, нефрас и др.) и стойкостью к воздействию
температур горячих мастик. Рекомендуемые виды некоторых теплоизоляционных плит
приведены в таблицах N 1, 2, 3, 4 Приложения 2. Возможность
применения в качестве основания под водоизоляционный ковер без устройства
выравнивающей стяжки плитного утеплителя должна устанавливаться по результатам
испытаний их физико-технических свойств, проводимых лабораториями,
аккредитованными в системе сертификации строительной продукции;
монолитной
теплоизоляции с прочностью на сжатие не менее 0,15 МПа из легких бетонов, а
также материалов на основе цементного или битумного вяжущего с эффективными
заполнителями - перлита, вермикулита и др.;
выравнивающих
монолитных стяжек из цементно-песчаного раствора и асфальтобетона с прочностью
на сжатие соответственно не менее 5 и 0,8 МПа, а также сборных (сухих) стяжек
из асбестоцементных плоских прессованных листов или цементно-стружечных плит
толщиной 10 мм.
Последние
рекомендуется использовать в качестве стяжки по минераловатной и другой
подобной мягкой теплоизоляции с пределом прочности на сжатие при 10%-ой деформации от 0,03 до 0,06 МПа;
водоизоляционного
ковра существующих кровель из рулонных или мастичных материалов (при
производстве ремонтных работ и реконструкции без снятия кровли и утеплителя).
3.3.2. Теплоизоляционные плиты из пенополистирола, фенольного пенопласта и
других сгораемых утеплителей могут быть использованы в качестве основания под
водоизоляционный ковер из рулонных материалов без устройства выравнивающей
стяжки только при свободной укладке рулонного материала, в том числе с
механическим креплением его, так как огневой способ наклейки при сгораемом
утеплителе недопустим, а использование горячих мастик и холодных клеящих
составов на растворителях разрушающе воздействует на такие материалы.
3.3.3.
Теплоизоляционные плиты при укладке по толщине в 2 и более слоев следует
располагать вразбежку с плотным прилеганием друг к другу. Швы между плитами
более 5 мм должны быть заполнены теплоизоляционным материалом.
3.3.4. Перед
выполнением монолитной теплоизоляции на цементном вяжущем следует произвести
нивелировку поверхности несущих плит для установки маяков, служащих основанием
под рейки для укладки бетонной массы полосами на необходимую высоту. Полосы
располагают поперек пролетов; ширина их не должна превышать 1,5 м.
3.3.5. Работа по
укладке теплоизоляции должна совмещаться с работами по устройству
пароизоляционного слоя (если он требуется по проекту), выполняя их в
направлении "на себя" в целях повышения сохранности теплоизоляции при
транспортировании материалов.
3.3.6.
Выравнивающая цементно-песчаная стяжка должна выполняться из жесткого (с
осадкой конуса до 30 мм) раствора марок 50 - 100, а асфальтобетонная из
горячего мелкозернистого песчаного асфальтобетона. Затирку по сборным
железобетонным плитам следует принимать толщиной 10 - 15 мм, а толщину стяжки в
соответствии с табл. 6.
3.3.7. Стяжки из
песчаного асфальтобетона не допускается применять по сжимаемым (например,
минераловатным) и засыпным (из керамзитового гравия, и т.п.) теплоизоляционным
материалам, а также при наклейке рулонных материалов на холодных кровельных
мастиках.
3.3.8.
Температурно-усадочные швы в монолитных выравнивающих стяжках образуют путем
установки реек при укладке цементно-песчаного раствора или асфальтобетона,
которые удаляют после твердения материала стяжки, а швы заполняют мастиками
(табл. 5 Приложения 1) с последующей односторонней наклейкой на шов полосок
рулонного материала шириной 150 мм.
3.3.9. Укладку
выравнивающей стяжки из цементно-песчаного раствора производят полосами шириной
не более 3 м, ограниченными рейками, которые служат маяками.
3.3.10. Для обеспечения необходимой адгезии наплавляемых рулонных и
мастичных кровельных материалов все поверхности основания из цементно-песчаного
раствора и бетона после укладки должны быть огрунтованы грунтовочными холодными
составами (праймерами), приготовленными из битума и керосина, взятых в
соотношении 1:2 или 1:3 (по весу), или из клеящих мастик (типа бутилкаучуковой
и т.п.), разбавленных растворителем или бензином в соотношении 1:2.
Грунтовку наносят при помощи окрасочного распылителя или вручную кистью.
Грунтовка должна иметь прочное сцепление с основанием. На приложенном к ней
тампоне не должно оставаться следов вяжущего.
3.3.11. Плоские
асбестоцементные прессованные листы и цементно-стружечные плиты, используемые в
качестве сборной стяжки, во избежание коробления должны быть огрунтованы с
обеих сторон. При их раскладке под стыки смежных листов по всей длине должны
быть проложены полоски из них шириной 100 мм, огрунтованные с обеих сторон.
3.3.12. При
устройстве выравнивающей стяжки из асфальтобетона его укладывают полосами
шириной до 2 м, ограниченными двумя рейками или одной рейкой и полосой ранее
уложенного асфальта, и уплотняют валиком или катком массой 60 - 80 кг.
3.3.13. При устройстве кровель по основанию из теплоизоляционных плит или
при использовании сборной стяжки работы по укладке теплоизоляции или сборной
стяжки не должны значительно опережать работы по выполнению нижнего слоя
водоизоляционного ковра; их последовательность должна обеспечивать устройство
нижнего слоя водоизоляционного ковра в ту же смену, что и укладка
теплоизоляционных плит или листов сборной стяжки.
3.3.14. В местах
примыкания к стенам, парапетам, деформационным швам и другим конструктивным
элементам должны быть выполнены наклонные под углом 45° бортики из легкого
бетона, цементно-песчаного раствора или гипсобетона. Высота их у мест
примыканий кровли должна быть не менее 100 мм. Вертикальные поверхности
конструкций, выступающих над кровлей (стенки деформационных швов, парапеты и
т.п.), выполненные из кирпича или блоков, должны быть оштукатурены
цементно-песчаным раствором на высоту устройства дополнительного
водоизоляционного ковра, но не менее 250 мм.
3.3.15. Перед
устройством изоляционных слоев основание должно быть сухим, обеспыленным, на
нем не допускаются уступы, борозды и другие неровности.
3.4.
Устройство водоизоляционного ковра
3.4.1. Перед устройством водоизоляционного ковра должны быть закончены все
виды подготовительных работ: подготовка механизмов, оборудования,
приспособлений, инструментов и др., осуществлена приемка основания под кровлю и
составлены акты на скрытые работы, включая замоноличивание швов между сборными
железобетонными плитами, установку и закрепление к несущим плитам или к
металлическому профнастилу водосточных воронок, компенсаторов деформационных
швов, патрубков (или стаканов) для пропуска инженерного оборудования, анкерных
болтов, а в зданиях с покрытиями послойной сборки из металлического
профнастила и трудносгораемой теплоизоляцией - заполнение пустот ребер настилов
несгораемым материалом в местах примыкания их к стенам, деформационным швам,
стенкам фонарей, а также с каждой стороны конька на длину - 250 мм.
3.4.2. В случае
ремонтных работ с поверхности существующей кровли должны быть удалены свободный
гравий и другие частицы, выполнена очистка от пыли, грязи, ржавчины и т.п.
Пузыри, трещины, швы на поверхности существующей рулонной или мастичной кровли
должны быть отремонтированы, после чего всю поврежденную поверхность
существующей кровли обрабатывают праймером, а затем после высыхания последнего
выполняют ремонтные водоизоляционные слои.
3.4.3. Все детали
воронок перед устройством водоизоляционного слоя должны быть очищены от
ржавчины и покрыты антикоррозийным составом.
3.4.4. Места пропуска
через кровлю труб должны быть выполнены с применением стальных патрубков с
фланцами (или железобетонных стаканов) и герметизацией кровли в этом месте.
Места пропуска анкеров также должны быть загерметизированы, для чего
устанавливается рамка из уголков, которая ограничивает растекание мастики, а
пространство между рамкой и патрубком или анкером заполняется герметизирующей
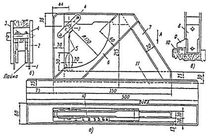
мастикой (рис. 3 и 4).

Рис. 3. Пропуск
анкера через водоизоляционный ковер
1 - сборная
железобетонная плита покрытия; 2 - пароизоляция
(по расчету); 3 -
теплоизоляция; 4 - выравнивающая стяжка;
5 - основной
водоизоляционный ковер; 6 - защитный слой;
7 - рамка из
уголка; 8 - герметизирующая мастика; 9 - анкер

Рис. 4.
Примыкание кровли к трубе
а) в инверсионном
покрытии; б) в покрытии с кровлей
по утеплителю; 1 -
сборная железобетонная плита покрытия;
2 - пароизоляция; 4
- выравнивающая стяжка; 5 - основной
кровельный ковер; 6
- защитный слой; 7 - рамка из уголка;
8 - зонт; 9 -
хомут; 10 - труба; 11 - патрубок с фланцем;
12 - пригруз из
гравия; 13 - предохранительный (фильтрующий)
слой из
синтетического холста; 14 - точечная приклейка
теплоизоляции
(например, из "Стайрофома"); 15 - основной
кровельный ковер;
16 - легкий бетон;
17 -
герметизирующая мастика
3.4.5. В местах
пропуска через кровлю воронок внутреннего водостока слои водоизоляционного
ковра должны на 150 мм перекрывать водоприемную чашу, которая закрепляется к
плитам покрытия хомутом с резиновым уплотнителем; водоприемную чашу
рекомендуется опирать на утеплитель из легкого бетона (рис. 5).
а)

б)

Рис. 5. Воронка
внутреннего водостока
а) на
традиционном; б) на инверсионном покрытии;
1 - сборная
железобетонная плита покрытия; 2 - пароизоляция
(по расчету); 3 -
теплоизоляция; 4 - выравнивающая стяжка;
5 - основной
кровельный ковер; 6 - дополнительный слой
кровельного ковра;
7 - защитный слой; 8 - колпак
водонепроницаемой
воронки; 9 - легкий бетон выравнивающего
слоя ендовы; 10 -
водоприемная чаша; 11 - уплотнитель;
12 - грунтовка; 13
- предохранительный (фильтрующий) слой;
14 - пригруз из
гравия
3.4.6. В
деформационном шве с металлическим компенсатором перед устройством
водоизоляционного ковра на компенсатор должен быть наклеен сжимаемый
утеплитель, например, из минеральной ваты, и на него уложена выкружка из оцинкованной
кровельной стали, кромки которой опираются на бетонные бортики, а на выкружку
насухо укладывается стеклоткань и заводится водоизоляционный ковер (рис. 6).
а)

б)

Рис. 6.
Деформационный шов в покрытии
а) традиционном; б) инверсионном; 1 - сборная
железобетонная
плита покрытия; 2 - пароизоляция;
3 - теплоизоляция;
4 - выравнивающая стяжка; 5 - основной
кровельный ковер; 6
- рубероид, уложенный насухо;
7 - стеклоткань; 8
- оцинкованная кровельная сталь;
9 - компенсатор; 10
- утеплитель (минеральная вата);
11 - бортик из
легкого бетона; 11 - грунтовка;
13 -
предохранительный (фильтрующий) слой;
14 - пригруз из
гравия
3.4.7. В местах
примыкания кровли к парапетам высотой до 450 мм слои дополнительного
водоизоляционного ковра должны быть заведены на верхнюю грань парапета с
обделкой мест примыкания оцинкованной кровельной сталью и закреплением ее при
помощи костылей (рис. 7).

Рис. 7. Примыкание
кровли к парапету высотой до 450 мм
1 - сборная
железобетонная плита покрытия; 2 - пароизоляция
(по расчету); 3 -
теплоизоляция; 4 - выравнивающая стяжка;
5 - основной
кровельный ковер; 6 - защитный слой;
7 - дополнительные
слои кровельного материала; 8 - дюбели;
9 - костыли 40 x 4
через 600 мм; 10 - оцинкованная
кровельная сталь;
11 - стена
При высоте парапета
до 200 мм переходной наклонный бортик рекомендуется выполнять из бетона до
верха парапета.
3.4.8. При
устройстве кровли в покрытиях с высоким (более 450 мм) парапетом защитный
фартук должен быть закреплен пристрелкой дюбелями, а верхняя часть парапета
отделена кровельной сталью, закрепляемой костылями (рис. 8), или покрыта
парапетными плитками с герметизацией швов между ними.
а)

б)

Рис. 8. Примыкание
кровли к парапету высотой более 450 мм
а) традиционного;
б) инверсионного покрытий; 1 - сборная
железобетонная
плита покрытия; 2 - пароизоляция
(по расчету); 3 -
теплоизоляция, 4 - выравнивающая
стяжка; 5 -
основной кровельный ковер; 6 - защитный слой;
7 - дополнительные
слои кровельного ковра; 8 - воронка
внутреннего
водостока; 9 - фартук, 10 - герметизирующая
мастика; 11 -
дюбели; 12 - оцинкованная кровельная сталь;
13 - костыли 40 x 4
через 600 мм; 14 - стена;
15 -
предохранительный (фильтрующий) слой;
16 - пригруз из
гравия; 17 - грунтовка
3.4.9. Конек кровли при уклонах 3% и более должен быть усилен на ширину
150 - 250 мм с каждой стороны, а ендова - на ширину 500 - 750 мм (от линии
перегиба) одним слоем дополнительного водоизоляционного ковра, который может
быть выполнен из рулонного материала (при рулонных кровлях), приклеенного к
основанию по продольным кромкам, или из мастики с одной армирующей прокладкой в
мастичных кровлях (рис. 9 и 10).
а)

б)

Рис. 9. Конек
кровли
а) традиционного;
б) инверсионного покрытия;
1 - железобетонная
плита покрытия; 2 - пароизоляция;
3 - теплоизоляция;
4 - цементно-песчаная стяжка;
5 - основной
кровельный ковер; 6 - защитный слой;
7 - дополнительный
слой кровли; 8 - пригруз из гравия
а)

б)

Рис. 10.
Ендова кровли
а) традиционного;
б) инверсионного покрытий;
1 - железобетонная
плита; 2 - пароизоляция;
3 - теплоизоляция;
4 - цементно-песчаная стяжка;
5 - дополнительный
слой кровли, приклеенный
по продольным
кромкам; 6 - основной кровельный ковер;
7 - защитный слой;
8 - воронка внутреннего водостока;
9 - грунтовка; 10 -
легкий бетон; 11 - предохранительный
(фильтрующий) слой;
12 - пригруз из гравия
3.4.10. При
наружном водоотводе карнизные участки кровли должны быть усилены одним слоем
дополнительного водоизоляционного ковра шириной не менее 250 мм, выполненного
из рулонного материала, приклеиваемого к основному ковру (при рулонных
кровлях), или из двух слоев мастики с двумя армирующими прокладками (при
мастичных кровлях). В пределах рабочих захваток работы должны начинаться с
пониженных участков: карнизных свесов и участков расположения водосточных
воронок (ендов). В процессе производства кровельных работ все необходимые
материалы должны подаваться в направлении навстречу производственному потоку.
3.4.11. Рулонные
кровельные материалы перед употреблением для устранения волн и складок должны
быть выдержаны в раскатанном состоянии. При производстве кровельных работ в
условиях отрицательных температур битумные и битумно-полимерные рулонные
материалы необходимо отогреть до температуры не менее +15 °C. При уклонах до
15% раскатка рулонов в кровле должна осуществляться перпендикулярно скату, а
при больших уклонах параллельно скату. Перекрестная наклейка полотнищ рулонов
не допускается. Склеивание полотнищ рулонных материалов между собой должно быть
сплошным (без пропусков).
3.4.12. В процессе
производства кровельных работ особое внимание должно быть уделено обеспечению
требуемой величины нахлестки полотнищ 100 мм, надежности устройства
водоизоляционного ковра у внутреннего и наружного водоотвода, в местах
примыкания к стенам, парапетам и другим конструктивным элементам, а также в
местах пропуска через кровлю технологических трубопроводов, вентиляционных шахт
и т.п.
3.4.13. В целях компенсации деформаций несущих конструкций покрытия и
предотвращения возможности появления трещин и вздутий в водоизоляционном ковре
рекомендуется осуществлять точечную или полосовую наклейку полотнищ нижнего
слоя водоизоляционного ковра из рулонного материала с оставлением непроклеенных
полос шириной 100 мм через каждые 2 - 3 м либо выполнять механическое
закрепление его к основанию путем пристрелки дюбелями.
Точечная и
полосовая наклейка должна быть равномерной и составлять 25 - 35% площади
наклеиваемых полотнищ; при этом их раскатку следует предусматривать вдоль
ската.
3.4.14. У мест
примыкания к выступающим над кровлей конструкциям (стенам, парапетам и т.п.)
слои дополнительного водоизоляционного ковра следует наклеивать полотнищами 2 -
2,5 м; при этом на вертикальных поверхностях наклейку производить снизу вверх.
Слои рулонного материала дополнительного водоизоляционного ковра у мест
примыкания к стенам, парапетам и т.п. должны наклеиваться полосами либо вообще
не наклеиваться на вертикальных участках примыканий в целях обеспечения
возможности выхода воздуха или перераспределения его во всех непроклеенных
участках. На участках шириной 250 мм в местах нахлестки дополнительного
водоизоляционного ковра с основным рулонные материалы должны иметь сплошную
наклейку (см. рис. 15).
3.4.15. При
устройстве покрытия из комплексных панелей с нанесенным в заводских условиях
водоизоляционным ковром заделка стыков панелей и их оклейка должна
производиться после проверки состояния водоизоляционного ковра на
смонтированных панелях.
а)
Устройство водоизоляционного ковра из битумных
и
битумно-полимерных рулонных материалов, наклеиваемых
на мастиках
3.4.16. Рулонные
материалы перед наклейкой необходимо разместить по месту укладки; раскладка
полотнищ должна обеспечивать соблюдение требуемых величин их нахлестки при
наклейке.
Мастика должна
наноситься равномерным, сплошным (без пропусков) или полосовым слоем. При
точечной приклейке полотнищ к основанию мастику следует наносить после
раскладки полотнищ в местах расположения отверстий.
В целях снижения
трудоемкости кровельных работ предпочтение должно отдаваться холодным клеящим
мастикам.
3.4.17. В местах,
примыкания к выступающим поверхностям кровли (парапетам, трубопроводам и т.п.)
основной водоизоляционный ковер должен быть поднят до верха бортика стяжки.
Приклейку слоев дополнительного водоизоляционного ковра следует выполнять после
устройства верхнего слоя основного водоизоляционного ковра.
3.4.18. При наклейке
полотнищ основного водоизоляционного ковра вдоль ската верхняя часть полотнища
нижнего слоя должна перекрывать противоположный скат не менее чем на 1000 мм.
При наклейке
полотнищ поперек ската верхняя часть полотнища каждого слоя водоизоляционного
ковра, укладываемого на коньке, должна перекрывать противоположный скат на 250
мм.
3.4.19. Температура
при нанесении горячих битумных мастик должна составлять 160 °C с предельным
отклонением +20 °C. При этом она должна контролироваться не реже 4 раз в смену и
заноситься в журнал производства работ.
3.4.20. При
наклейке основного и дополнительного водоизоляционных ковров горячая мастика
должна наноситься слоем толщиной соответственно 2 и 1,5 мм, а холодная
битуминозная толщиной 1 - 0,8 мм с допускаемым отклонением +/- 10%.
б)
Устройство водоизоляционного ковра
из
битумно-полимерных наплавляемых рулонных материалов
3.4.21. Устройство
водоизоляционного ковра может осуществляться путем сплошной, полосовой или
точечной наклейки нижнего слоя или путем свободной укладки его с механическим
креплением к основанию.
3.4.22. Рулонные
битумно-полимерные материалы наклеивают методом расплавления
битумно-полимерного слоя или на мастиках.
Метод наклейки на
мастиках рекомендуется использовать преимущественно в тех случаях, когда
недопустимо применение метода расплавления битумно-полимерного слоя (объекты
газораспределения, размещение на покрытии газопроводов, здания со взрывоопасным производством и т.п.).
3.4.23.
Технологические приемы наклейки наплавляемого рулонного материала методом
расплавления выполняют в следующей последовательности:
На подготовленное
основание раскатывают 5 - 7 рулонов, примеряют один рулон по отношению к
другому и обеспечивают необходимую нахлестку. Приклеивают концы всех рулонов с
одной стороны и полотнища рулонного материала обратно скатывают в рулоны (при
значительном охлаждении полотнищ в зимний период эти операции производят при
легком подогреве ручной горелкой наружной поверхности рулона).
Разогревая
покровный (приклеивающий) слой наплавляемого рулонного материала с
одновременным нагревом основания или поверхности ранее наклеенного
водоизоляционного слоя, рулон раскатывают, плотно прижимают к основанию и
дополнительно прокатывают катком. Раскладка и раскрой
полотнищ наплавляемого рулонного материала при устройстве основного и
дополнительного ковра в углу парапета приведены на рис. 11 и 12, а на
поверхности внешнего угла, например вентшахты, - на рис. 13.

Рис. 11. Раскладка
и раскрой полотнищ наплавляемого
рулонного материала
(а - нижнего слоя; б - верхнего слоя)
при устройстве
основного кровельного ковра в углу парапета
1 - парапет; 2 -
нижний слой ковра; 3 - нахлестка полотнищ
нижнего слоя; 4 -
наклонный переходный бортик; 5 - верхний
слой ковра (с
крупнозернистой посыпкой); 6 - нахлестка
полотнищ верхнего
слоя

Рис. 12.
Раскладка и раскрой полотнищ наплавляемого
рулонного материала
при устройстве дополнительного
кровельного ковра в
углу парапета
1 - парапет; 2 -
основной кровельный ковер; 3 - переходной
наклонный бортик; 4
- нижний слой дополнительного ковра;
5 - верхний слой (с
крупнозернистой посыпкой)
дополнительного
ковра

Рис. 13.
Раскладка и раскрой полотнищ наплавляемого
рулонного материала
при устройстве кровельного ковра
(а и б - основного,
в и г - дополнительного)
на поверхности
внешнего угла, например вентшахты
1 - стены
вентшахты; 2 - нижний слой основного кровельного
ковра; 3 - верхний
слой (с крупнозернистой посыпкой)
основного ковра; 4
- наклонный бортик; 5 - основной
кровельный ковер; 6
- нижний слой дополнительного ковра;
7 - верхний слой (с
крупнозернистой посыпкой)
дополнительного
ковра
3.4.24. Наклейку
полотнищ из наплавляемых рулонных материалов на вертикальные поверхности
производят снизу вверх при помощи ручной горелки.
3.4.25.
Технологические приемы устройства водоизоляционного ковра методом свободной
укладки нижнего слоя с механическим закреплением выполняют в следующей
последовательности (рис. 14):
на подготовленное
основание под кровлю раскатывают рулоны, примеряют один рулон по отношению к
другому и обеспечивают нахлестку (продольную и поперечную) не менее 100 мм (см.
рис. 14 а);
полотнища
рулонного материала (кроме полотнища, раскатанного вдоль линии водораздела)
обратно скатывают в рулоны (при значительном охлаждении полотнищ зимой эти
операции производят при легком подогреве ручной горелкой поверхности рулона
(см. рис. 14 б);
полотнище рулонного
материала вдоль линии водораздела закрепляют (см. рис. 14 в) шайбами с
дюбелями, затем, разогревая покровный (приклеивающий) слой наплавляемого
рулонного материала в месте нахлестки (см. рис. 14 а), рулон раскатывают,
плотно прижимая к ранее уложенному полотнищу. После этого свободную кромку
раскатанного полотнища закрепляют шайбами с дюбелями.
Верхний (второй)
слой наплавляемого рулонного материала приклеивают сплошь, при этом полотнища
раскатывают так, чтобы они перекрывали швы нижележащего слоя (см. рис. 14 г).

Рис. 14.
Последовательность (а, б, в, г) раскладки
рулонных материалов
при устройстве водоизоляционного
ковра с
механическим закреплением нижнего слоя
1 - переходной
наклонный бортик; 2 - линия водораздела;
3 - основание под
кровлю; 4 - нижний слой водоизоляционного
ковра; 5 - шайбы с
дюбелями; 6 - наклейка полотнищ в местах
нахлесток; 7 -
верхний (второй) слой водоизоляционного ковра
3.4.26. У мест
примыкания к стенам, парапетам и т.п. наклейку нижнего полотнища
дополнительного водоизоляционного ковра производят только в местах сопряжения с
основным водоизоляционным ковром (см. рис. 15).

Рис. 15.
Примыкание кровли к парапету высотой
более 450 мм при
механическом закреплении нижнего слоя
водоизоляционного
ковра
1 - сборная
железобетонная плита покрытия; 2 - пароизоляция
(по расчету); 3 -
теплоизоляция; 4 - выравнивающая стяжка;
5 - механически
закрепляемый нижний слой основного
водоизоляционного
ковра; 6 - верхний слой основного
водоизоляционного
ковра; 7 - крупнозернистая посыпка
верхнего слоя
основного доизоляционного ковра; 8 - шайбы
с дюбелями; 9 -
слои дополнительного водоизоляционного
ковра; 10 - воронка
внутреннего водостока; 11 - оцинкованная
кровельная сталь;
12 - дюбели; 13 - герметизирующая мастика;
14 - костыли 40 x 4
через 600 мм; 15 - стена
в)
Устройство водоизоляционного ковра
из эластомерных
рулонных материалов
3.4.27.
Водоизоляционный ковер из эластомерных рулонных материалов может быть выполнен
тремя способами:
методом наклейки;
методом свободной
укладки с пригрузом (при однослойном ковре);
методом свободной
укладки с механическим креплением.
3.4.28.
Устройство водоизоляционного ковра методом наклейки выполняют в следующей
последовательности:
на предварительно
огрунтованное основание (вдоль линии водораздела) раскатывают полотнище
эластомерного материала и перегибают его по длинной стороне пополам без морщин;
на основание и
отогнутую часть полотнища наносят тонкий слой клея и выдерживают до тех пор,
пока клей перестанет прилипать при прикосновении сухим пальцем (до
"отлипа");
разворачивают
смазанную клеем половину полотнища без образования морщин на основание с
нанесенным клеевым составом и прикатывают катком массой 2 - 5 кг с мягкой
обкладкой;
вторую половину
полотнища перегибают на наклеенную половину и приклеивают ее аналогичным
способом;
в местах нахлестки
на 100 мм смежных полотнищ клеящий состав наносят на
предварительно обезжиренные растворителем кромки стыкуемых полотнищ и после
выдержки клея до "отлипа" соединяют их с последующей прокаткой мест
нахлестки поперек шва роликом массой 2 - 5 кг. Места нахлесток смежных полотнищ
дополнительно герметизируют.
3.4.29. При
устройстве однослойного водоизоляционного ковра методом свободной укладки
работы могут производиться с использованием отдельных полотнищ или укрупненных
карт площадью 50 - 100 м2. Их выполняют в следующей
последовательности:
раскатывают
полотнища или заранее заготовленные карты на основание и осуществляют склейку
их между собой с последующей герметизацией швов в местах
нахлестки в соответствии с указаниями п. 3.4.28;
на
образованный таким образом свободно уложенный на основание однослойный
водоизоляционный ковер расстилают распределительный (прокладочный) слой из
стеклоткани, стеклорогожки, дарнита и т.п. рулонный материал с точечной
приклейкой его к водоизоляционному ковру;
по
распределительному слою рассыпают пригрузочный гравийный слой из расчета 50
кгс/м2.
3.4.30. Устройство
водоизоляционного ковра методом свободной укладки с механическим креплением
осуществляют в следующей последовательности:
раскатывают
несколько рулонов эластомерного материала с нахлесткой в 100 мм;
кромки полотнищ,
смежных с полотнищем, уложенным вдоль линии водораздела, перегибают (на ширину
не менее 100 мм) по длинной стороне;
полотнище,
уложенное вдоль линии водораздела (см. рис. 14), закрепляют шайбами с дюбелями;
кромки
закрепленного полотнища на ширину нахлестки и отогнутые кромки смежных полотнищ
на такую же ширину сначала обезжиривают растворителем, затем смазывают клеящим
составом и после выдержки клея до "отлипа" соединяют стыкуемые кромки
с прокаткой мест нахлестки поперек шва роликом массой 2...5 кг. Места нахлесток
дополнительно герметизируют (рис. 16);
свободные кромки
смежных полотнищ закрепляют шайбами с дюбелями (см. рис. 14), и эти кромки
склеивают с кромками соседних полотнищ аналогичным способом.

Рис. 16.
Выполнение шва внахлестку
1 - основание под
кровлю; 2 - слой вулканизированной
полимерной пленки;
3 - приклеивающий состав; 4 - защитный
окрасочный слой; 5
- герметик; 6 - крепежный элемент
г) Устройство
водоизоляционного ковра из мастичных
материалов с
армирующими прокладками
3.4.31. Основной
водоизоляционный ковер при устройстве новой кровли выполняют в следующей
последовательности:
на
поверхность основания наносят слой мастики и по нему расстилают армирующий
рулонный материал, укладывая его ступенчатым способом: вдоль линии водораздела
вначале наклеивают два слоя армирующего рулонного материала (стеклохолст,
стеклосетка или полотно из синтетических волокон), затем каждое последующее
полотнище этого материала смещают относительно предыдущего с обеспечением
нахлестки не менее 50 см (рис. 17);
на остальных
участках полотнища армирующего рулонного материала укладывают с нахлесткой 100
мм, после чего наносят мастику.
а)

б)

Рис. 17.
Схема расположения слоев мастичного
кровельного ковра
а) с двумя
армирующими слоями (ступенчатое расположение
слоев); б) с одним
армирующим слоем; 1 - основание
под кровлю; 2 -
грунтовка; 3 - армирующие слои;
4 - слои мастики; 5
- защитный (окрасочный) слой
3.5.
Устройство защитного слоя
3.5.1. На кровлях с
уклоном до 10% и верхним слоем из битумных и битумно-полимерных рулонных
материалов с мелкозернистой посыпкой защитный слой рекомендуется выполнять из
гравия фракции 5 - 10 мм или крупнозернистой посыпки, втопленных в слой мастики
толщиной 1,5 - 2 мм или в подплавленный покровный слой наплавляемого рулонного
материала. Фракция крупнозернистой посыпки должна быть
.
Гравий и посыпка должны быть промыты и просушены.
При уклонах более
10% верхний слой водоизоляционного ковра следует выполнять из рулонных
материалов с крупнозернистой посыпкой, а при верхнем слое из рулонных материалов
с мелкозернистой посыпкой - окрасочным.
3.5.2. На кровлях из эластомерных пленочных рулонных материалов,
осуществляемых методами наклейки или свободной укладки с механическим
креплением, при уклонах более 2,5% защитный слой рекомендуется выполнять окрасочным,
а при меньших уклонах из гравия или крупнозернистой посыпки, втопленных в слой
приклеивающего состава, нанесенного на прокладочный слой из стеклоткани,
синтетического полотна или другого рулонного материала, точечно подклеенного к
основному водоизоляционному ковру.
3.5.3. Устройство
защитных слоев осуществляют захватками, начиная с пониженных участков
(карнизных свесов, ендов), а также мест примыкания кровель к стенам и ведут их
"на себя". Перед устройством защитных слоев поверхность
водоизоляционного ковра должна быть сухой и чистой.
3.5.4. В качестве
окрасочного защитного слоя рекомендуется применять следующие составы:
бутилкаучуковую
мастику с добавлением 10 - 14% наполнителя - алюминиевой пудры ПАК-3 или ПАК-4;
эмаль ХП-799,
включающую хлорсульфополиэтиленовый лак ХП-734 с 25% наполнителя - алюминиевой
пудры ПАК-3 или ПАК-4;
хлорсульфополиэтиленовый
лак ХП-734 с 25% наполнителя - алюминиевой пудры ПАК-3 или ПАК-4.
3.5.5. Окрасочное
защитное покрытие на поверхность водоизоляционного ковра наносят ровным слоем;
расход состава зависит от его сухого остатка.
3.5.6.
Технологический процесс по устройству окрасочного защитного слоя включает:
нанесение первого
слоя, ровно покрывающего поверхность водоизоляционного ковра;
нанесение второго
слоя через 2 - 3 часа после высыхания предыдущего при температуре 18 - 23 °C.
При
механизированном нанесении окрасочного состава безвоздушными установками
вязкость его не должна превышать 100 с, а при ручном нанесении 300 с. Требуемая вязкость состава
достигается введением растворителя.
3.5.7. В кровлях,
подверженных воздействию щелочных производственных выделений, на участках с
уклоном 10% и более водоизоляционный ковер должен быть защищен щелочестойкими
мастичными составами, наносимыми толщиной не менее 0,5 мм. В качестве
щелочестойких составов рекомендуется применять гуммировочные составы на основе
найрита или на основе хлорсульфированного полиэтилена и битума в соотношении
1:2.
4. КРОВЛИ
ИЗ АСБЕСТОЦЕМЕНТНЫХ ВОЛНИСТЫХ ЛИСТОВ
4.1. Общая
часть
4.1.1. Кровли из
асбестоцементных волнистых листов рекомендуется выполнять при устройстве
чердачных покрытий гражданских зданий и бесчердачных покрытий неотапливаемых
промышленных зданий.
4.1.2. Кровли из
асбестоцементных волнистых листов рекомендуется предусматривать одно- или двускатными, возможно более простой формы (без ребер и
разжелобков), используя преимущественно рядовые листы основных размеров.
4.1.3. Для
устройства кровель следует использовать асбестоцементные волнистые листы по
ГОСТ 30340-95 "Листы асбестоцементные волнистые. Технические
условия".
При этом для
чердачных кровель гражданских зданий рекомендуется преимущественно применять
асбестоцементные листы профиля 40/150, а для кровель зданий производственного
назначения листы профиля 54/200.
4.1.4. Для
устройства узлов сопряжения элементов кровли из асбестоцементных волнистых
листов рекомендуется применять асбестоцементные фасонные детали,
предусмотренные ГОСТ 30340-95 "Листы асбестоцементные волнистые.
Технические условия". При отсутствии асбестоцементных фасонных деталей
допускается использовать в качестве их коньковые, угловые и лотковые детали,
выполненные из тонколистовой оцинкованной стали или алюминиевого сплава.
4.2.
Устройство основания
4.2.1. Основание под чердачную кровлю из асбестоцементных волнистых листов
рекомендуется выполнять в виде обрешетки из рядовых брусков сечением 60 x 60 мм
с таким расчетом, чтобы на нее можно было уложить целое число листов в
продольном и поперечном направлениях. При этом все нечетные бруски
должны иметь высоту 60 мм, а четные 63 мм. Для однотипности целесообразно
использовать бруски сечением 60 x 60 мм с наращиванием их по необходимости
подкладками толщиной 3 мм. Шаг брусков обрешетки должен составлять не более 750
мм (рис. 18).

Рис. 18.
Конструкция рядовой обрешетки и крепление
асбестоцементных
волнистых листов
а) - продольный
разрез ската; б) - крепление листов
шурупами; в) -
дополнительное крепление листов на карнизе;
1 - уравнительная
планка; 2 - асбестоцементный лист;
3 - обрешеточный
брусок; 4 - гвоздь; 5 - резиновая шайба;
6 - карнизный
брусок; 7 - шайба; 8 - шуруп; 9 - гвоздь;
10 -
противоветровая скоба
4.2.2. На карнизе
рекомендуется использовать брусок высотой 66 мм, на коньке два коньковых бруска
сечением 70 x 90 мм и 60 x 100 мм, а вдоль конька дополнительные приконьковые
бруски того же сечения, что и рядовые (рис. 19).

Рис. 19. Покрытие
конька (ребра)
а) -
последовательность покрытия; б) - поперечный разрез
конька; 1, 2, 3 -
бруски; 4 - рулонный водоизоляционный
материал; 5, 6 -
коньки, 7 - скоба; 8 - резиновая шайба;
9 - гвоздь; 10 -
лист; 11 - мастика
4.2.3. Обрешетку у
дымовой трубы следует выполнять с использованием дополнительных брусков того же
сечения, что и рядовые и располагать их вокруг ствола трубы, в соответствии с
требованиями пожарной безопасности.
В ендове обрешетка
должна быть выполнена в виде сплошного дощатого настила (рис. 20).

Рис. 20. Устройств
ендовы (разжелобка)
1 - лоток; 2 -
гвоздь; 3 - лист; 4 - дощатое основание
ендовы; 5 - брусок;
6 - сливной лоток; 7 - шуруп;
8 - уравнительная
планка
4.2.4. В зданиях
производственного назначения основание под кровлю из асбестоцементных волнистых
листов рекомендуется выполнять из стальных или деревянных прогонов,
располагаемых с шагом 1500 мм.
4.3.
Устройство водоизоляционного слоя
4.3.1. Перед устройством
кровли из асбестоцементных волнистых листов должно быть проверено качество
выполненного основания на соответствие требованиям п. п. 6.1 и 6.2 раздела
"Технические требования и правила приемки".
4.3.2. Количество
асбестоцементных листов, размещаемых в направлении поперек ската, определяют
путем деления карнизного свеса и двух напусков на фронтонах крыши размером от
50 до 70 мм каждый на полезную ширину листа. Количество горизонтальных рядов на
скате устанавливают делением фактической длины ската на полезную длину листа
без напуска.
4.3.3. Устройство
водоизоляционного слоя из асбестоцементных волнистых листов может
осуществляться двумя способами: со смещением продольных кромок листов на одну
волну по отношению к таким же кромкам листов смежного ряда или с совмещением
продольных кромок во всех вышеукладываемых рядах.
4.3.4. Первый
способ рекомендуется использовать при узких по уклону и длинных в поперечном
направлении скатах, а второй при широких по уклону и коротких в поперечном
направлении скатах.
4.3.5.
Асбестоцементные волнистые листы к обрешетке следует крепить шиферными
гвоздями, шурупами и частично противоветровыми скобами. В карнизном ряду скобы
должны устанавливаться по шнуру из расчета по две на лист.
4.3.6. В целях
уменьшения возможности задувания осадков в поперечные нахлестки
асбестоцементных волнистых листов укладка их должна осуществляться в
направлении, противоположном господствующему направлению ветров; под
асбестоцементные листы должен быть проложен слой водоизоляционного рулонного
материала.
4.3.7. К прогонам
асбестоцементные волнистые листы должны крепиться крепежными элементами типа
"крюк" (рис. 19) Для рядовых листов используется, как правило, одно
крепление на лист. В карнизных и коньковых листах, в рядовых листах при
расчетной величине ветрового отсоса более 60 кгс/м2, а
также при наличии кранов или технологического оборудования без устройства
соответствующей виброизоляции должно быть предусмотрено одно дополнительное
крепление на лист.

Рис. 19. Способы
крепления асбестоцементных волнистых
листов к прогонам
а) - швеллерному; б) - из уголка; в) - деревянному;
1 - прогон; 2 -
крепежный элемент типа "крюк"; 3 - шайба
4.3.8.
Асбестоцементные волнистые листы вдоль ската следует укладывать в направлении
от карниза к коньку, а поперек ската в направлении, противоположном направлению
господствующих ветров. Во избежание перегрузок монтаж асбестоцементных
волнистых листов рекомендуется вести одновременно на двух скатах.
4.3.9. Воротник
дымовой трубы и слуховых окон, а также примыкания к стенам следует выполнять
угловыми деталями, которые рекомендуется закреплять шурупами, пропускаемыми
через гребни волн рядовых листов (рис. 21).

Рис. 21.
Конструкция примыкания кровли из асбестоцементных
волнистых листов к
продольной (а) и поперечной (б) стенам
и устройство
воротника дымовой трубы (в)
1 - брусок
обрешетки; 2 - асбестоцементный лист;
3 - гвоздь; 4 -
уголковая деталь; 5 - коньковая деталь;
6 - конек; 7 -
заполнение мастикой; 8 - заделка раствором;
9 - прокладка из
рулонного водоизоляционного материала;
10 - затрубный
уголок; 11 - стропильная нога;
12 - оголовок
дымовой трубы
Разжелобки до укладки
листов на скатах должны быть покрыты лотковыми деталями, которые устанавливают
в направлении снизу вверх. Рядовые асбестоцементные листы должны перекрывать
продольные кромки лотковых деталей на 150 мм.
4.3.10.
Компенсационный шов следует выполнять нахлесткой смежных листов с обеспечением
возможности перемещения их на 25 - 30 мм в поперечном направлении, а сверху шов
перекрывать лотками, которые устанавливают с нахлесткой 200 мм (рис. 22).

Рис. 22.
Компенсационный шов
1 - накрываемый
край кровельного покрытия; 2, 5 - скобы;
3 - лотковая
деталь; 4 - накрывающий край кровельного
покрытия; 6, 8 -
шайбы; 7 - винт с полукруглой головкой;
9 - заклепка
4.3.11. Конек в
направлении навстречу господствующему ветру следует перекрывать коньковыми
деталями с прокладкой под них слоя рулонного водоизоляционного материала.
Устройство коньков может быть выполнено глухим или с вентиляционными щелями
(рис. 23).

Рис. 23. Устройство
коньков
а - поперечное
сечение глухого конька; б - конек
с вентиляционными
щелями; в - поперечное сечение конька
с вентиляционными
щелями; 1 - прогон; 2 - крюк; 3 - малая
переходная деталь;
4 - прижимная скоба; 5 - коньковая
деталь; 6 - гайка;
7 - лист; 8 - гидроизоловая шайба;
9 - стальная шайба;
10 - гидроизоловая прокладка;
11 - алюминиевая
заклепка; 12 - стальная держалка
4.3.12. В целях
исключения возможности проникновения атмосферных осадков через места стыкования
листов "зазоры" в них размером более 7 мм рекомендуется заполнять
герметизирующей нетвердеющей мастикой типа "тиопрол", КГМ-У
(Приложение 1, табл. 5).
5. КРОВЛИ
ИЗ МЕЛКОШТУЧНЫХ МАТЕРИАЛОВ
5.1. Общая
часть
5.1.1. Кровли из
мелкоштучных материалов рекомендуется преимущественно применять при устройстве
чердачных покрытий малоэтажных зданий гражданского назначения.
5.1.2. Для
устройства таких кровель используют: плитки кровельные асбестоцементные
(рядовые, краевые и коньковые детали), битумно-полимерные плитки (типа
"шинглс"), а также глиняную или цементно-песчаную черепицу (плоскую
ленточную, пазовую ленточную, пазовую штампованную и желобчатую).
5.1.3. В кровлях из
асбестоцементных и битумно-полимерных плиток нижний водоизоляционный слой
рекомендуется выполнять из битумно-полимерных рулонных материалов с картонной
основой.
5.2.
Устройство основания
5.2.1. Основанием
под кровлю из мелкоштучных материалов должна быть деревянная обрешетка.
Для кровель из
асбестоцементных плиток обрешетку рекомендуется выполнять сплошной или
разреженной из досок; для кровель из битумно-полимерных плиток - сплошной
двухслойной из досок, а для черепичных кровель - разреженной из брусков
сечением 50 x 50, 50 x 60 или 60 x 60 мм.
5.2.2. Во всех
случаях в местах разжелобков обрешетка должна выполняться сплошной из досок, а
по карнизу устанавливаться доски шириной 140 - 150 мм с защитной уравнительной
рейкой по карнизному краю.
5.3.
Устройство водоизоляционного слоя
а) из
кровельных асбестоцементных плиток
5.3.1. К обрешетке
кровельные асбестоцементные плитки следует крепить оцинкованными гвоздями и
противоветровыми кнопками. При забивке гвоздей их головки должны только
соприкасаться с поверхностью плит во избежание их повреждения. В этой связи
целесообразно использовать под головки гвоздей мягкие шайбы из рулонного
водоизоляционного материала.
5.3.2. Покрытие
скатов кровли асбестоцементными плитками должно начинаться со свеса карниза
укладкой краевых плиток на всю его длину и далее параллельными рядами по
направлению к коньку.
5.3.3. Покрытие
фронтона следует выполнять укладкой краевых плиток с напуском на 20 - 30 мм за
край фронтонного свеса, а покрытие коньков и ребер - коньковыми деталями,
укладываемыми по слою рулонного водоизоляционного материала (рис. 24).

Рис. 24.
Конструкция кровли из асбестоцементных
плоских плиток
а - общий вид; б -
поперечный разрез конька: в - продольный
разрез конька; 1 -
стропильная нога; 2 - доска обрешетки;
3 - противоветровая
кнопка; 4 - половина плитки;
5 - противоветровая
скоба 2 x 25 мм; 6 - рядовая плитка;
7 - краевая плитка;
8 - уравнительная деревянная рейка
сечением 8 x 50 мм;
9 - желобчатый конек; 10 - скоба
сечением 2 x 25 мм;
11 - брус сечением 50 x 80 мм;
12 - рубероидная
лента; 13 - накрывающий конец
желобчатого конька
5.3.4. Примыкание
кровли из асбестоцементных плиток к вертикальным конструкциям (стенам,
парапетам и т.п.) следует выполнять с использованием фартука из оцинкованной
стали.
б) из битумно-полимерных
плиток (типа "шинглс")
5.3.6. До укладки
плиток вдоль фронтонных и карнизных свесов должны быть установлены фартуки из
оцинкованной кровельной стали, которые закрепляют гвоздями ниже капельников
(рис. 25).

Рис. 25.
Конструктивное решение кровли
из битумных плиток
(шинглс)
а - порядок
покрытия; б - разрез карниза; 1 - мастика;
2 - битумная
плитка; 3 - битумно-полимерный рулонный
материал; 4 -
толевые гвозди с шагом 500 мм;
5 - толевые гвозди
с шагом 100 мм; 6 - ветровая доска
5.3.7. На наклонные
отвороты фартуков горячей мастикой должны быть наклеены полосы
битумно-полимерного рулонного материала шириной 300 мм и закреплены к обрешетке
гвоздями.
5.3.8. Нижний слой
кровли должен быть выполнен из рулонного водоизоляционного материала, который
раскатывают в направлении поперек ската с закреплением верхней по скату кромки
рулона гвоздями к обрешетке и наклейкой мастикой нижней кромки рулона на
смежное полотнище с нахлесткой 100 мм.
5.3.9. Устройство
верхнего водоизоляционного слоя должно начинаться с укладки впритык друг к
другу плиток нижнего ряда, каждую из которых крепят к обрешетке гвоздями с
подкладкой шайб диаметром 20 мм из жести, а кромочные отвороты плитки
приклеивают мастикой. Каждый последующий ряд плиток
укладывают с нахлесткой на половину ширины плитки и с боковым смещением на
смежную на размер одного кромочного отворота.
5.3.10. Коньки,
ребра и разжелобки должны быть покрыты полотнищами рулонного водоизоляционного
материала, которые закрепляют к обрешетке гвоздями и приклеивают мастикой.
Разжелобки могут быть также покрыты кровельной сталью.
в) из
черепицы
5.3.11. Устройство
водоизоляционного слоя из плоской ленточной черепицы может быть выполнено двумя
способами: двухслойным или чешуйчатым.
5.3.12. Черепицу
следует укладывать в направлении от карниза к коньку с перекрывом
вышеуложенными рядами нижеуложенных и с боковым смещением одной относительно
другой. При этом нечетные ряды начинают и заканчивают целыми черепицами, а
четные - половинками.
5.3.13. Черепица
первого ряда должна опираться на два бруска обрешетки с зацеплением шипами за
тыльную грань верхнего бруска обрешетки, а во втором ряду за верхний торец
первого ряда. Третий и все последующие ряды должны быть выполнены как первый, а
приконьковый - как второй.
5.3.14. Все
черепицы, укладываемые вдоль карнизных и фронтонных свесов, должны закрепляться
независимо от уклона. В остальных рядах на скатах следует закреплять каждую
вторую и каждую третью.
5.3.15. Крепление
черепицы следует выполнять кляммерами. При использовании кляммер черепицу
следует закреплять попарно (рис. 26).

Рис. 26. Узлы
черепичной кровли
а - сечение конька;
б - примыкание кровли к стене;
1 - кляммера для
крепления черепиц; 2 - бруски обрешетки;
3 - коньковая
желобочная черепица; 4 - коньковый брус;
5 - проволока для
крепления коньковой черепицы; 6 - глухарь;
7 - скоба; 8 -
плоская ленточная черепица; 9 - стропильная
нога; 10 - раствор;
11 - гвозди; 12 - рейка;
13 - фартук из
кровельной стали
5.3.16. Конек и
ребра крыши должны покрываться коньковыми желобчатыми черепицами на цементном
растворе. При этом на коньке их следует укладывать в том же направлении, что и
при укладке на скате, а на ребрах в направлении снизу вверх. При этом каждая
черепица должна быть закреплена проволокой, пропущенной через ушко желобчатой
черепицы, к гвоздю, забитому в брусок обрешетки.
5.3.17. Устройство
кровли из пазовой ленточной и штампованной черепицы выполняют в один слой.
Пазовую ленточную
черепицу рекомендуется применять для устройства кровли в крышах простых форм -
односкатных, двускатных.
5.3.18. Укладку
пазовой и штампованной черепицы на обрешетку рекомендуется начинать с фронтона
рядами в направлении от карниза к коньку. Поперечные ряды на скате должны
выполняться вразбежку со смещением черепиц в смежных рядах. При этом нечетные
ряды выкладываются из цельных черепиц, а четные начинаются и заканчиваются
половинками.
В остальном
устройство кровли из пазовой ленточной черепицы аналогично предыдущей.
5.3.19. Устройство
кровли из желобчатой черепицы рекомендуется предусматривать при уклонах 30%,
так как при меньшем уклоне не обеспечивается водонепроницаемость кровли, а при
большем уклоне способность черепицы удерживаться на скате.
5.3.20. Желобчатая
черепица должна укладываться по сплошному дощатому настилу на известковом
растворе с добавкой очесов при толщине слоя 10 - 12 мм в направлении от
фронтона слева направо рядами параллельными коньку. При этом в нижнем ряду
каждая верхняя черепица должна входить суженым концом в расширенный конец
нижней черепицы не менее чем на 1/6 - 1/4 длины. В покрывающем ряду каждая
верхняя черепица расширенным концом должна накрывать суженый конец нижней
черепицы на ту же величину.
5.3.21. Примыкание
черепичной кровли к стенам следует выполнять с помощью фартука из оцинкованной
стали.
6. КРОВЛИ
ИЗ ЛИСТОВОЙ СТАЛИ, МЕДИ,
МЕТАЛЛИЧЕСКОГО
ПРОФНАСТИЛА И МЕТАЛЛОЧЕРЕПИЦЫ
6.1. Общая
часть
6.1.1. Кровли из
листовой стали рекомендуется преимущественно применять в малоэтажных жилых
зданиях, особенно при сложном профиле крыши.
6.1.2. Кровли из
металлического профнастила рекомендуется применять в зданиях производственного
назначения, а из металлочерепицы - в гражданских зданиях при наиболее простом
профиле крыши.
6.2.
Устройство основания
6.2.1. Основанием
под кровлю из листовой стали является деревянная обрешетка, которую
рекомендуется выполнять из брусков сечением 50 x 50 и досок 50 x 120 или 50 x
140 мм. Устройство обрешетки должно производиться в направлении от карниза к
коньку.
6.2.2. Свес крыши
по всему периметру следует выполнять в виде сплошного дощатого настила шириной
не менее 700 мм, а далее с шагом не более 200 мм размещать параллельно свесу
бруски обрешетки. При этом четыре бруска обрешетки должны чередоваться с
доской, на которой располагают лежачие фальцы стыкуемых картин. В разжелобках и
ендовах обрешетку следует выполнять в виде сплошного дощатого настила шириной
до 800 мм на каждом скате.
6.2.3. Основанием
под кровлю из металлочерепицы является обрешетка из досок сечением 32 x 100 мм,
располагаемых с шагом, равным размеру поперечной волны (300 - 400 мм).
При этом восходящая
на карниз доска должна быть на 10 - 15 мм толще других.
6.2.4. Основанием
под кровлю из металлического профнастила должны быть стальные прогоны,
располагаемые с шагом от 1,5 до 3 м, которые крепятся к несущим конструкциям
покрытия в неотапливаемых зданиях, или дистанционные прогоны, закрепляемые к нижнему профнастилу в отапливаемых зданиях.
6.3.
Устройство водоизоляционного слоя
а) из
листовой стали или меди
6.3.1. Для рядового
покрытия скатов крыши, карнизных свесов, разжелобков и т.д. должны
использоваться предварительно подготовленные картины.
6.3.2. В зависимости
от формы крыши рядовое покрытие выполняют в следующей последовательности: на
фронтонных крышах первую полосу картин следует располагать вдоль фронтона или
противопожарной стены, а при вальмовых, полувальмовых
и многошипцовых - от конька (рис. 27).

Рис. 27. Рядовое
покрытие ската
а - укладка рядовых
полос; б - примыкание ската к стене;
в - коньковый
стоячий фальц; г - крепление фронтового края
рядовой полосы; 1 -
картина в рядовой полосе; 2 - одинарный
лежачий фальц; 3 -
одинарный стоячий фальц; 4 - коньковый
стоячий фальц; 5 -
доска; 6 - брусок; 7 - фартук;
8 - закладной
брусок; 9 - толевой гвоздь;
10 -
цементно-песчаный раствор; 11 - фронтонная кляммера;
12 - кровельный
гвоздь
6.3.3. Скаты крыши
следует покрывать картинами после устройства карнизных свесов и настенных
желобов.
6.3.4. Фронтонный
свес должен свисать с обрешетки на 40 - 50 мм. Фронтонные свесы монументальных
зданий должны закрепляться на костылях с устройством отворотных лент с
капельниками.
6.3.5. Устройство
карнизного свеса должно начинаться с установки штырей со скобами и Т-образных
костылей. Штыри следует располагать по осям водоприемных воронок, а костыли с
шагом 700 мм. Расстояние между штырем и костылем не должно превышать 400 мм. Поперечные
планки костылей должны отстоять от свеса дощатого настила на 120 мм (рис. 28).

Рис. 28. Покрытие
карнизного свеса
а - карнизный свес;
б - порядок укладки картин; в - врезка
костыля в настил; 1
- карнизный штырь; 2 - дощатый настил;
3 - Т-образный
костыль; 4 - гвоздь 3,5 x 45 мм;
5 - покрытие свеса
картинами 1 - 5
6.3.6. На крыше
заготовленные картины от первой до пятой соединяют сначала для одной половины
свеса между воронками, потом - для другой, а затем вдоль верхней кромки их
закрепляют гвоздями - по три на каждый лист.
6.3.7. Укладку
картин на костыли следует производить, начиная от осей воронок или в обе
стороны от водораздела.
На водоразделе
картины карнизного свеса должны быть соединены двойным лежачим фальцем.
6.3.8. Разжелобки
покрывают отдельными картинами, которые по коротким сторонам у конька и лотка
должны соединяться с рядовым покрытием и настенными желобами двойным лежачим
фальцем, а к обрешетке крепиться кляммерами, размещаемыми на расстоянии 500 мм
друг от друга.
6.3.9. При
устройстве настенных и подвесных желобов у воронок и на водоразделе должны быть
установлены маячные крючья, а между ними на расстоянии 670 - 730 мм - остальные
крючья (рис. 29).

Рис. 29. Устройство
настенного желоба
1 - штырь со
скобой; 2 - водоприемная воронка; 3 - лоток;
4 - настил
разжелобка; 5 - стропильная нога; 6 - карнизный
настил; 7 -
обрешетина; 8 - картина настенного желоба;
9, 13 - гвозди; 10
- костыль; 11 - крюк для желоба;
12 - картина
карнизного свеса; 14 - кляммера
6.3.10. Сборку
картин желобов следует проводить в направлении от водоприемных воронок к
водоразделу. При этом борта желобов должны соединяться между собой внахлестку с
учетом направления стока воды, а верхняя кромка картин на карнизе должна быть
расположена выше верха борта желоба.
6.3.11. На
водоразделе и при стыковании у воронки картины должны быть соединены двойным
лежачим фальцем, а борта желобов на крючьях - саморезами. Верхнюю продольную
кромку настенных желобов следует соединять с картинами рядового покрытия
фальцевым швом.
6.3.12. Лоток
должен устанавливаться по оси водоприемного участка с таким расчетом, чтобы его
хвостовой отворот находился под концами соединяемых настенных желобов. Борта
лотков и желобов соединяют угловыми фальцами, отгибаемыми на внутренние
плоскости лотковых бортов.
6.3.13. При
использовании подвесных желобов они должны быть расположены с таким расчетом,
чтобы стекающая со ската вода не переливалась через его передний борт. Перед
установкой лотковых скоб по уровню должна быть проверена горизонтальность
передней кромки.
При размещении скоб
сначала должны быть установлены две крайние (маячные) скобы, а затем между ними
по шнуру остальные. Желоб следует закреплять к лотковым скобам кляммерами (рис.
30).

Рис. 30. Устройство
подвесного желоба
а, б, в -
варианты устройства желоба (сечения даны в точках
наивысшего
подъема); 1 - желоб; 2 - лотковая скоба;
3 - кровля; 4 -
настил; 5 - заклепка; 6 - кляммера; 7 - шуруп
с головкой впотай;
8 - картина карнизного свеса;
9 - гвоздь; 10 -
распорка
6.3.14. Во
избежание повреждения желоба от температурных деформаций в нем должны быть
предусмотрены компенсаторы или подвижные швы.
Компенсаторы
выполняют в виде водоприемной воронки, в которую с двух сторон входят свободно
уложенные концы подвесных желобов.
Подвижной шов
должен предусматриваться в точке наивысшего подъема желобов, где концевые торцы
желобов заделывают жестяными заглушками с оставлением между торцами
температурного зазора в 30 - 40 мм. Оба конца желобов закрывают сверху жестяной
крышкой (на два ската), по которой вода стекает в концы желобов.
6.3.15. Водоприемные
воронки могут быть выполнены круглой или прямоугольной формы с одним или двумя
отверстиями для ввода желобов. Воронка должна закрепляться к карнизу
стандартным штырем с обжимным хомутом.
6.3.17. В местах
расположения дымовых труб и слуховых окон должно быть предусмотрено устройство
воротников из листовой стали. При этом все деревянные элементы обрешетки,
прилегающие к стволу дымовой трубы, по противопожарным требованиям должны
отстоять от поверхности его стенок на 130 мм.
б) из
металлического профнастила
6.3.18. В качестве
кровельных листов должны применяться профили стальные гнутые с цинковым,
алюмоцинковым или алюминиевым покрытием заготовки с защитно-декоративным
лакокрасочным покрытием и высотой гофра не менее 44 мм.
6.3.19. Наиболее
целесообразно кровлю из металлических профнастилов применять в зданиях с длиной
ската до 12 м.
При большей длине
ската профнастил должен устанавливаться с величиной нахлестки вдоль ската не
менее 200 мм и на одну волну в направлении поперек ската.
6.3.20. В утепленных
покрытиях для разрыва "мостиков холода" между верхней полкой
дистанционного прогона и профнастилом должны быть установлены прокладки из
бакелизированной фанеры толщиной 10 мм, окрашенные пентафталевыми или
хлорвиниловыми эмалями за 2 раза (рис. 31). В качестве противоветрового барьера
рекомендуется использовать рулонный материал типа "Тайвек" (фирма
"ДюПон") или перфорированную полиэтиленовую пленку.
а)

б)

Рис. 31. Карниз
кровли из металлического профнастила
а - утепленного; б
- холодного покрытия; 1 - стальной
профнастил
(несущий); 2 - стальной профнастил (кровельный);
3 - гнутый
зетобразный профиль (под стык профнастила);
4 - стеновая
панель; 5 - гребенка из оцинкованной
кровельной стали; 6
- дистанционный прогон;
7 -
бакелизированная фанера; 8 - маты из минеральной ваты
(теплоизоляция); 9
- пленка полиэтиленовая; 10 - прокладка
уплотняющая; 11 -
заклепка комбинированная; 12 - винт
самонарезающий; 13
- прогон покрытия; 14 - противоветровой
рулонный материал
6.3.21. Крепление
профнастила между собой и к прогонам следует выполнять самонарезающими винтами
с уплотнительной шайбой из неопреновой резины толщиной 1 мм.
6.3.22. Продольные
и поперечные стыки профнастила при уклонах до 20% рекомендуется
загерметизировать тиоколовыми или силиконовыми герметиками (табл. 5 Приложения
1).
6.3.23. Примыкание
кровли из металлического профнастила к стенам следует осуществлять с устройством
фартуков из оцинкованной стали толщиной 0,8 мм, окрашенной с обеих сторон.
Крепление их выполняется на заклепках, а между собой одинарным лежачим фальцем.
Коньковый и карнизный фасонные элементы, а также фартуки для отделки пропусков
через кровлю должны иметь "гребенку" по форме поперечного сечения
профиля металлического профнастила (рис. 32).

Рис. 32. Кровля из металлического профнастила
а - конек; б - пропуск трубы через покрытие; 1 - стальной
профнастил
(несущий); 2 - стальной профнастил (кровельный);
3 - маты из
минеральной ваты; 4 - полиэтиленовая пленка;
5 - дистанционный
прогон; 6 - полоса стальная 4 x 40 мм
(шаг 1500 мм); 7 -
бакелизированная фанера; 8 - оцинкованная
кровельная сталь
(толщиной 0,8 мм); 9 - гребенка
из оцинкованной
стали; 10 - уплотняющая прокладка;
11 - самонарезающий
винт; 12 - комбинированная заклепка;
13 - стальной
стакан (квадратный); 14 - пропускаемая труба;
15 - дополнительные
прогоны; 16 - герметизирующая мастика;
17 - хомут; 18 -
противоветровой рулонный материал
в) из
металлочерепицы
6.3.24. В качестве
металлочерепицы используются профилированные в двух направлениях стальные
листы, как правило, длиной на скат с защитно-декоративным покрытием.
6.3.25. В целях
исключения возможности конденсатообразования на холодной внутренней поверхности
металлочерепицы необходимо обеспечить надежную вентиляцию под кровлей от
карниза до конька, а под обрешеткой разместить внахлест рулонный
водоизоляционный материал (рис. 33 и 34).

Рис. 33.
Конструкция крыши с кровлей из металлочерепицы
1 - обрешетка; 2 -
гидроизоляционный рулонный материал;
3 -
металлочерепица; 4 - направление движения воздуха

Рис. 34.
Конструкция обрешетки под кровлю из металлочерепицы
1 - доски
обрешетки; 2 - лист металлочерепицы;
3 - стропильная
нога
6.3.26. Монтаж
листов металлочерепицы следует производить с торца на двускатной крыше и от
самой высокой точки ската по обе стороны - на шатровой крыше. При этом
капиллярная канавка каждого листа должна быть накрыта последующим листом.
6.3.27. Монтаж
листов металлочерепицы можно начинать с любого торца. В целях облегчения монтажа
рекомендуется монтаж начинать с левого края. В этом случае следующий лист
устанавливается под последнюю волну предыдущего листа.
6.3.28. Край листа
должен устанавливаться по карнизу с выступом на 40 мм. Рекомендуется вначале по
три-четыре листа закрепить одним шурупом на коньке с окончательным закреплением
по всей длине после выравнивания по карнизу.
6.3.29. Крепление
листов металлочерепицы следует осуществлять шурупами 4,8 x 28 мм с
уплотнительной шайбой, которые устанавливают ниже поперечной волны. На каждый
квадратный метр устанавливается 6 шурупов, учитывая, при этом, что по краю лист
крепится только в каждой второй волне. В местах нахлестки листов по длине,
составляющей не менее 250 мм, крепление должно производиться в каждую вторую
волну.
6.3.30. В местах
ендов должен устанавливаться гладкий лист по сплошной обрешетке, с обязательной
герметизацией зазоров между ним и листами металлочерепицы специальной
уплотнительной лентой по профилю металлочерепицы.
6.3.31. Конек крыши
должен закрываться коньковыми элементами после установки всех рядовых листов
металлочерепицы и закрепления уплотнительной ленты. Коньковые элементы должны
закрепляться шурупами на каждой второй профильной волне. Места нахлестки листов
металлочерепицы при уклонах до 20% рекомендуется герметизировать силиконовыми
или тиоколовыми герметиками (табл. 5 Приложения 1).
7. КРОВЛИ
ИЗ ЖЕЛЕЗОБЕТОННЫХ ПАНЕЛЕЙ ЛОТКОВОГО СЕЧЕНИЯ
(БЕЗРУЛОННЫЕ КРЫШИ)
7.1. Безрулонные
крыши из железобетонных панелей лоткового сечения следует применять в зданиях с
вентилируемым чердаком.
7.2. В зависимости
от способа водоотвода безрулонные крыши могут быть выполнены с внутренним
водоотводом или с наружным неорганизованным водоотводом (рис. 35).

Рис. 35.
Конструктивные схемы сборных железобетонных
безрулонных крыш
а - с
внутренним водоотводом; б - с неорганизованным
водоотводом; 1 -
железобетонная кровельная панель;
2 - железобетонный
П-образный нащельник;
3 - железобетонный
водосборный лоток; 4 - водосточная
воронка; 5 -
подкладочная балка под лоток; 6 - опорная
балка: 7 - опорный
столбик; 8 - утепленная панель
перекрытия; 9 -
треугольный анкерный элемент; 10 - опорная
фризовая панель; 11
- ограждение крыши; 12 - торцовая
фризовая панель
Безрулонные крыши
преимущественно следует предусматривать с внутренним водоотводом. Устройство
наружного водоотвода допускается в здании высотой до 4 этажей при отступе
здания от "красной" линии не менее чем на 1,5 м от проекции свеса
крыши.
7.3. Вынос карнизов
кровельных панелей при наружном водоотводе за грань наружной стены должен быть
не менее 900 мм, а при внутреннем водоотводе не менее 100 мм.
7.4. Безрулонные
крыши выполняют из железобетонных кровельных панелей с защитой гидроизоляцией
из мастичного или окрасочного состава, железобетонных водосборных лотков (при
внутреннем водоотводе) с защитой гидроизоляцией из мастичных или окрасочных
составов и доборных элементов (фризовых панелей, опорных столбиков, балок и
т.п.).
7.5. Стыки между
кровельными панелями, водосборными лотками, а также стыки этих элементов с
вентиляционными шахтами, торцовыми фризовыми панелями, стояками вытяжной
вентиляции и т.д. должны располагаться выше основной водосливной поверхности
кровельных панелей и водосборных лотков (рис. 35).
7.6. Водосборные
лотки следует выполнять однопролетными. Не допускается
пропускать через днище водосборных лотков стояки вытяжной вентиляции, стойки
радио, телеантенны и др.
7.7. В крышах с
наружным неорганизованным водоотводом устройство конькового стыка между
кровельными панелями должно производиться с применением П-образных
железобетонных нащельников (рис. 36).

Рис. 36.
Конструкции стыков кровельных панелей
а, б - стык с перекрытием П-образным нащельником;
в - стык
внахлестку; 1 - кровельная панель;
2 - П-образный нащельник; 3 - герметик
7.8. Стык
кровельных панелей с водосборными лотками должен выполняться с перекрытием
продольного ребра лотка ребром сливного свеса кровельной панели (рис. 37).

Рис. 37. Сливные
свесы кровельной панели
1 - кровельная
панель; 2 - П-образный нащельник;
3 - водосборный
лоток; 4 - подкладочная балка
под водосборный
лоток; 5 - парапетная фризовая панель;
6 -
цементно-песчаный раствор
7.9. Узлы
сопряжения кровельных панелей и водосборных лотков с торцовыми фризовыми
панелями следует выполнять с заделкой стыка фартуком из оцинкованной стали,
который пристреливается дюбелями к фризовой панели с последующей установкой
парапетной плитки.
7.10. Сопряжение
кровельных панелей с вентиляционными шахтами следует осуществлять с заделкой
стыка фартуком из оцинкованной кровельной стали, который пристреливается
дюбелями к вертикальной плоскости вентиляционных шахт с прокладкой
между стенкой шахты и фартуком ленты из технической резины.
7.11. Сопряжение
кровельных панелей со стояками вытяжной вентиляции следует выполнять с заделкой
места прохода специальным металлическим кожухом или фартуком из оцинкованной
кровельной стали с обжимными кольцами.
7.12. Карнизные
свесы кровельных панелей не допускается использовать для подвешивания люлек при
монтажных работах.
8. ОСНОВНЫЕ
ПРАВИЛА ТЕХНИКИ БЕЗОПАСНОСТИ
8.1. Работы по
устройству кровель должны выполняться специализированными бригадами под
техническим руководством и контролем инженерно-технических работников
организаций, имеющих лицензию на право производства кровельных работ. К
производству кровельных работ допускаются рабочие, прошедшие медицинский
осмотр, обученные правилам техники безопасности, методам ведения этих работ и
мерам пожарной безопасности.
О проведении
инструктажей должна быть отметка в специальном журнале под роспись. Журнал
должен храниться у ответственного за проведение работ
на объекте или в строительной (ремонтной) организации.
Лица, выполняющие
работы по разогреву битума, приготовлению битумных мастик и работающие с
оборудованием для подогрева кровельных (изоляционных) материалов, должны
проходить обучение по программам пожарно-технического
минимума в обязательном порядке со сдачей зачетов (экзаменов).
В зоне, где
производятся кровельные работы, находиться посторонним лицам запрещается.
8.2. У мест
выполнения кровельных и изоляционных работ, а также около оборудования,
имеющего повышенную пожарную опасность (котлы для варки битума и у мест
приготовления битумной мастики, при производстве работ по укладке горючего
утеплителя), следует вывешивать стандартные знаки (аншлаги, таблички)
безопасности.
8.3. Перед началом
ремонтных или строительных работ территория объекта должна быть подготовлена с
определением мест установки бытовых вагончиков, мест складирования
материалов, баллонов с горючими газами и (или) легковоспламеняющимися
жидкостями, установки битумоварочных котлов и мест приготовления битумных
мастик.
8.4. Бытовые
вагончики и склады материалов (баллонов) следует размещать на территории
согласно требованиям действующих норм и правил. Размещение их в противопожарных
разрывах между зданиями и сооружениями, а также загромождение ими проездов
(подъездов) к зданиям не допускается.
8.5. Временные
строения должны располагаться от других зданий и сооружений на расстоянии не
менее 15 м (кроме случаев, когда по другим нормам требуется больший
противопожарный разрыв) или у противопожарных стен.
Отдельные
блок-контейнерные здания допускается располагать группами не более 10 в группе
и площадью не более 800 м2. Расстояние между группами
этих зданий и от них до других строений следует принимать не менее 15 м.
8.6. При ремонтах
кровли снимаемый горючий материал должен удаляться на специально подготовленную
площадку. Устраивать свалки горючих отходов на территории объектов не
разрешается.
8.7. Выполнение
работ по устройству кровель одновременно с другими строительно-монтажными
работами на кровлях, связанными с применением открытого огня (сварка и т.п.),
не допускается.
8.8. До начала
производства работ на покрытиях должны быть выполнены все предусмотренные
проектом ограждения и выходы на покрытие зданий (из лестничных клеток, по
наружным лестницам).
8.9.
Противопожарные двери и люки выходов на покрытие должны быть исправны и при
проведении работ закрыты. Запирать их на замки или другие запоры запрещается.
Проходы и подступы
к эвакуационным выходам и стационарным пожарным лестницам должны быть всегда
свободными.
8.10. На проведение
всех видов работ с рулонными и мастичными кровельными материалами или с
применением горючих утеплителей на временных местах (кроме строительных
площадок и частных домовладений) руководитель объекта обязан оформить
наряд-допуск.
В наряде-допуске
должно быть указано место, технологическая последовательность, способы
производства, конкретные противопожарные мероприятия, ответственные лица и срок
его действия.
8.11. Устройство
кровли из рулонных и мастичных кровельных материалов следует производить
участками площадью не более 500 м2.
8.12. При
производстве работ по устройству покрытия площадью 1000 м2
и более с применением горючего или трудногорючего утеплителя на кровле для
целей пожаротушения следует предусматривать устройство временного
противопожарного водопровода. Расстояние между пожарными кранами следует
принимать из условия подачи воды в любую точку кровли не менее чем двумя
струями с расходом 5 л/с каждая.
8.13. По окончании
рабочей смены не разрешается оставлять неиспользованный горючий утеплитель,
кровельные рулонные материалы, газовые баллоны и другие
горючие и взрывоопасные вещества и материалы внутри или на покрытиях зданий, а
также в противопожарных разрывах.
8.14. Котлы для
растопления битумов должны быть исправными. Не разрешается устанавливать котлы
в чердачных помещениях и на покрытиях.
8.15. Котлы
допускается устанавливать группами с количеством в группе не более трех.
Расстояние между группами котлов должно быть не менее 9 м. Место варки и
разогрева битумов должно размещаться на специально отведенных площадках и
располагаться на расстоянии:
от зданий и
сооружений IIIб, IV, IVа, V степеней огнестойкости не
менее 30 м;
от зданий и
сооружений III, IIIa степеней огнестойкости не менее 20 м;
от зданий и
сооружений I и II степеней огнестойкости не менее 10 м.
8.16. Каждый котел
должен быть снабжен плотно закрывающейся крышкой из негорючих материалов.
Заполнение котлов допускается не более чем на 3/4 их вместимости. Загружаемый в
котел битум должен быть сухим.
8.17. Во избежание
перелива битума, его попадания в топку и загорания котел необходимо
устанавливать наклонно так, чтобы его край, расположенный над топкой, был на 5
- 6 см выше противоположного. Топочное отверстие котла должно быть оборудовано
от пламени горелки. Газовый баллон должен размещаться на расстоянии не менее 20
м от котла.
8.18. При работе
передвижных котлов на сжиженном газе газовые баллоны в количестве не более двух
должны находиться в вентилируемых шкафах из негорючих материалов,
устанавливаемых на расстоянии не менее 20 м от работающих котлов.
Указанные шкафы
следует держать постоянно закрытыми на замки.
8.19. Установленный
на открытом воздухе битумный котел должен быть оборудован навесом из негорючих
материалов.
Место установки
котлов должно быть обваловано (или устроены бортики из негорючих материалов)
высотой не менее 0,3 м.
8.20. В процессе
варки и разогрева битумных составов не разрешается оставлять котлы без
присмотра.
8.21. При
приготовлении битумной мастики разогрев растворителей не допускается.
При смешивании разогретый
битум следует вливать в растворитель (керосин, бензин), постоянно перемешивая
мастику деревянной мешалкой.
Температура битума
в момент приготовления состава не должна превышать 70 °C.
8.22. Не
разрешается пользоваться открытым огнем в радиусе 50 м от места смешивания
битума с растворителями.
8.23. Доставку
горячей битумной мастики на рабочие места необходимо осуществлять:
в специальных
металлических бачках, имеющих форму усеченного конуса, обращенного широкой
стороной вниз с плотно закрывающимися крышками. Крышки должны иметь запорные
устройства, исключающие открывание при падении бачка. Переносить мастики в
открытой таре не разрешается;
насосом по
стальному трубопроводу, закрепленному на вертикальных участках к строительной
конструкции, не допуская протечек. На горизонтальных участках допускается
подача мастики по термостойкому шлангу.
В месте соединения
шланга со стальной трубой должен надеваться предохранительный футляр длиной 40
- 50 см (из брезента или других материалов).
После наполнения
емкости установки для нанесения мастики следует откачать мастику из
трубопровода.
8.24. После
окончания работ топки котлов должны быть потушены и залиты водой.
8.25. Для целей
пожаротушения места установки котла (группы котлов) для варки битума необходимо
обеспечить ящиком объемом не менее 0,5 м с сухим песком, лопатами и пенными
огнетушителями.
8.26. Для
производства работ с использованием растворителей и битумных мастик должен
применяться инструмент, изготовленный из материалов, не дающих искр (алюминий,
медь, пластмасса, бронза и т.п.). Промывать инструмент и оборудование,
применяемое при производстве работ с горючими веществами, необходимо на
открытой площадке или в помещении, имеющем вентиляцию.
8.27. Лица,
участвующие в приготовлении составов холодного отверждения и их применении,
должны быть обеспечены спецодеждой и средствами индивидуальной защиты. Для
защиты органов дыхания - респираторами марок Ф-62III, РУ-60М и типа
"Лепесток". Для защиты кожи пастами или мазями типа силиконовых, ПМ-1, ХИОТ БГ и другими, перчатками резиновыми.
На местах
проведения работ должны быть вода и аптечка с медикаментами для оказания первой
помощи.
8.28. Для
безопасного ведения процесса приготовления мастики, окрасочного состава и их
нанесения необходимо обеспечить максимальную механизацию всех технологических
операций и надлежащую герметизацию и заземление
оборудования и коммуникаций, а также исправность электропусковой и
контрольно-измерительной аппаратуры.
8.29. Емкости с
растворителем и мастикой холодного отверждения должны подноситься к рабочему
месту в специальной герметично закрытой таре в количестве, не превышающем
однодневного запаса.
8.30. В помещениях
для хранения и местах применения растворителей и мастик запрещается обращаться
с открытым огнем и производить работы с искрообразованием.
8.31. Переливать и
транспортировать растворители и мастику на растворителях следует при хорошем
естественном освещении. Электрическое освещение в таких помещениях должно быть
выполнено во взрывобезопасном исполнении.
8.32. Растворители
и мастики должны храниться в специально оборудованных помещениях в соответствии
со СНиП III-4-80 изд. 1993 г. "Техника безопасности в строительстве".
Каждая емкость должна иметь бирку с наименованием содержимого. Порожнюю тару
из-под растворителей и мастик следует складировать в закрытых помещениях.
Запрещается
ремонтировать (производить сварку, пайку и другие работы) металлическую тару
из-под горючих жидкостей до ее промывки водой.
8.33. Помещения,
связанные с подготовкой мастик, их разбавлением растворителями и нанесением
защитных покрытий должны быть изолированы от смежных помещений и оборудованы
приточно-вытяжной вентиляцией во взрывобезопасном исполнении.
8.34. Содержание
вредных веществ в рабочей зоне не должно превышать предельно допустимых
концентраций.
8.35. Контроль за содержанием вредных веществ в рабочей зоне
должен проводиться производственными лабораториями в объеме, согласованном с
территориальными органами Государственного санитарного надзора.
8.36. Оборудование,
используемое для подогрева наплавляемого рулонного кровельного материала
(газовые горелки с баллонами и оборудованием), не допускается использовать с
неисправностями, способными привести к пожару, а также при отключенных
контрольно-измерительных приборах и технологической автоматике, обеспечивающих
контроль заданных режимов температуры, давления и других, регламентированных
условиями безопасности, параметров.
8.37. При
использовании оборудования для подогрева запрещается:
отогревать
замерзшие трубопроводы, вентили, редукторы и другие детали газовых установок
открытым огнем или раскаленными предметами;
пользоваться
шлангами, длина которых превышает 30 м;
перекручивать,
заламывать или зажимать газоподводящие шланги;
использовать одежду
и рукавицы со следами масел, жиров, бензина, керосина и других горючих
жидкостей;
производить ремонт
и другие работы на оборудовании и коммуникациях, заполненных горючими
веществами;
допускать к
самостоятельной работе учеников, а также работников, не имеющих
квалификационного удостоверения и талона по технике пожарной безопасности.
8.38. Хранение и
транспортирование баллонов с газами должно осуществляться только с навинченными
на их горловины предохранительными колпаками. При транспортировании баллонов
нельзя допускать толчков и ударов.
К месту сварочных
работ баллоны должны доставляться на специальных тележках, носилках, санках.
Переноска баллонов на плечах и руках не разрешается.
8.39. Баллоны с
газом при их хранении, транспортировании и эксплуатации должны быть защищены от
действия солнечных лучей и других источников тепла.
Расстояние от
горелок (по горизонтали) до отдельных баллонов с ГГ
должно быть не менее 5 м.
8.40. При обращении
с порожними баллонами из-под горючих газов должны соблюдаться такие же меры
безопасности, как и с наполненными баллонами.
8.41. При перерывах
в работе, а также в конце рабочей смены оборудование для нагрева кровельного
материала должно отключаться, шланги должны быть отсоединены и освобождены от
газов и паров горючих жидкостей.
По окончании работ
вся аппаратура и оборудование должны быть убраны в специально отведенные
помещения (места).
8.42. Кровельный
материал, горючий утеплитель и другие горючие вещества, используемые при
работе, необходимо хранить вне строящегося или ремонтируемого здания в отдельно
стоящем сооружении или на специальной площадке на расстоянии не менее 18 м от
строящихся и временных зданий, сооружений и складов.
8.43. На кровле
допускается хранить не более сменной потребности
расходных материалов. Запас материалов должен находиться на расстоянии не менее
5 метров от границы зоны выполнения работ.
8.44. У мест
проведения работ допускается размещать только баллоны с горючими газами,
непосредственно используемые при работе. Создавать запас баллонов или хранить
пустые баллоны у мест проведения работ не допускается.
8.45. Складирование
материалов и установка баллонов на кровле и в помещениях ближе 5 м от
эвакуационных выходов (в том числе подходов к наружным пожарным лестницам) не
допускается.
Горючий утеплитель
необходимо хранить вне строящегося здания в отдельно стоящем сооружении или на
специальной площадке на расстоянии не менее 18 м от строящихся и временных
зданий, сооружений и складов.
8.46. Емкости с
горючими жидкостями следует открывать только перед использованием, а по
окончании работы закрывать и сдавать на склад.
Тара из-под горючих
жидкостей должна храниться в специально отведенном месте вне мест проведения
работ.
8.47. Баллоны с
горючими газами и емкости с легковоспламеняющимися жидкостями должны храниться
раздельно, в специально приспособленных вентилируемых вагончиках (помещениях)
или под навесами за сетчатым ограждением, не доступных для посторонних лиц.
Хранение в одном
помещении баллонов с ГГ, а также битума, растворителей
и др. горючих жидкостей не допускается.
8.48. При хранении
на открытых площадках наплавляемого кровельного материала, битума, горючих
утеплителей и других строительных материалов, а также оборудования и грузов в
горючей упаковке они должны размещаться в штабелях или группами площадью не
более 100 м2. Разрывы между штабелями (группами) и от
них до строящихся или подсобных зданий и сооружений должны быть не менее 24 м.
8.49. В местах
приготовления и хранения приклеивающих составов и исходных материалов не
допускается курение и применение открытого огня.
В случае загорания
этих материалов необходимо использовать при тушении углекислотные огнетушители,
песок. Использование воды для тушения битумов и растворителей не допускается.
8.50. При
обнаружении пожара или признаков горения (задымление, запах гари, повышение
температуры и т.п.) необходимо:
немедленно сообщить
об этом в пожарную охрану;
принять по
возможности меры по эвакуации людей, тушению пожара и обеспечению сохранности
материальных ценностей.
8.51. Для
обеспечения успешного тушения пожара необходимо обучить работников правилам и
способам работы с первичными средствами пожаротушения.
8.52. По окончании
работ необходимо провести осмотр рабочих мест и привести их в
пожаровзрывобезопасное состояние.
8.53. На объекте
должно быть определено лицо, ответственное за сохранность и готовность к
действию первичных средств пожаротушения.
8.54. Огнетушители
должны всегда содержаться в исправном состоянии, периодически осматриваться,
проверяться и своевременно перезаряжаться.
8.55. Использование
первичных средств пожаротушения для хозяйственных и прочих нужд, не связанных с
тушением пожара, не допускается.
8.56. При
расстановке огнетушителей необходимо выполнять условие, что расстояние от
возможного очага пожара до места размещения огнетушителя не должно превышать 20
м.
8.57. В зимнее
время (при температуре ниже 1 °C) огнетушители необходимо хранить в
отапливаемых помещениях, на дверях которых должна быть надпись
"Огнетушители".
8.58. Все работники
должны уметь пользоваться первичными средствами пожаротушения.
Приложение
1
Таблица 1
Физико-технические
свойства
битумно-полимерных
наплавляемых рулонных материалов
на
стекловолокнистой основе