Утвержден
РАО
"Газпром"
8 августа 1995 года
РЕГЛАМЕНТ
ВЫПОЛНЕНИЯ ЭКОЛОГИЧЕСКИХ ТРЕБОВАНИЙ ПРИ РАЗМЕЩЕНИИ,
ПРОЕКТИРОВАНИИ, СТРОИТЕЛЬСТВЕ И ЭКСПЛУАТАЦИИ
ПОДВОДНЫХ ПЕРЕХОДОВ МАГИСТРАЛЬНЫХ ГАЗОПРОВОДОВ
РД 51-2-95
Регламент содержит
экологические требования к размещению, проектированию, строительству и
эксплуатации подводных переходов магистральных газопроводов, рекомендации по
выбору и использованию экологически безопасных технических средств,
оборудования и технологий для подводных земляных работ, а также экологически
безопасных конструкций подводных трубопроводов. Регламент разработан на основе
законодательных актов, действующих СНиП и других нормативных документов по
охране окружающей природной среды. Как руководящий документ отрасли регламент
обязателен для подведомственных ему организаций, предприятий, осуществляющих
проектирование, строительство, эксплуатацию, реконструкцию и ремонт подводных
переходов газопроводов, а также для специализированных организаций, выполняющих
эти работы по договорам с организациями и предприятиями РАО
"Газпром". Отдельные положения регламента могут быть использованы при
проектировании, строительстве и эксплуатации других участков магистральных
газопроводов. Регламент может служить руководством при проведении экологической
экспертизы и контроля за обеспечением защиты экосистем
водоемов, и их ихтиофауны в частности.
Разработчики: Г.П.
Конвиссар, О.С. Зуев, Г.А. Антипов (Эколого-аналитический центр газовой
промышленности).
Согласован с
начальником Управления НТП и экологии РАО "Газпром" А.Д. Седых.
Подготовлен к
утверждению заместителем начальника Управления НТП и экологии П.А. Петровым.
Согласован с
Минприроды России 14 июля 1995 г.
Утвержден
заместителем Председателя Правления РАО "Газпром" В.В. Ремизовым 8
августа 1995 г.
Введен в действие с
1 декабря 1995 г. Приказом Председателя Правления РАО "Газпром"
Р.И.Вяхирева от 8 ноября 1995 г.
Введение
Многолетний
отечественный опыт сооружения и эксплуатации магистральных и промысловых
газопроводов в различных природно-климатических условиях свидетельствует о
значительном влиянии их на окружающую природную среду. По тяжести воздействия и
последствий этой деятельности на первом месте среди других компонентов природы
находятся экосистемы водоемов, которые пересекаются газовыми магистралями.
При
неправильном размещении участков и створов подводных переходов, обусловленном
неадекватностью оценки реальной экологической обстановки в их районе, прогнозов
воздействия строительной техники на водную и геологическую среды, возникают или
активизируются опасные геологические и гидрологические процессы, воздействие
которых на трубопроводную конструкцию переходов служит причиной аварийных
ситуаций.
Аварийная ситуация
на подводном переходе магистрального газопровода чревата крупномасштабными
экологическими последствиями и потерями, связанными в первую очередь с
механическими и тепловыми воздействиями на природный ландшафт, уничтожением
флоры и фауны водоемов, разрушением их пойм и берегов, нарушением целостности
плодородного слоя почвы.
В результате
изменения гидрологического режима водоемов, переформирования их берегов и пойм
резко ухудшаются условия обитания и воспроизводства животных, в том числе рыб и
других гидробионтов. В конечном итоге это ведет к сокращению рыбного промысла,
что имеет негативные социальные последствия.
Регламент обобщает
экологические требования к размещению, проектированию, строительству и
эксплуатации подводных переходов газопроводов и содержит технические
рекомендации, выполнение которых обязательно для обеспечения экологической
безопасности их эксплуатации.
1. Общие
положения
1.1. Регламент
выполнения экологических требований при размещении, проектировании,
строительстве и эксплуатации подводных переходов магистральных газопроводов
(далее по тексту - Регламент) разработан с учетом требований Закона Российской
Федерации "Об охране окружающей природной среды", других нормативных
правовых актов федеральных органов власти и ведомственных нормативных
документов [1 - 20].
1.2. Регламент
разработан в целях обеспечения экологической безопасности при строительстве и
эксплуатации подводных переходов магистральных газопроводов, которая
достигается путем:
стабилизации
гидрологических и инженерно-геологических условий на участках подводных
переходов посредством снижения опасности процессов размывов дна и берегов,
эрозионных, оползневых, криогенных и других процессов;
сведения до
минимума риска возникновения на подводных переходах аварийных ситуаций из-за
воздействия природных факторов;
сохранности
водоемов как объектов рыбохозяйственного и питьевого значения.
1.3. Регламент
содержит экологические требования к размещению, проектированию, строительству и
эксплуатации подводных переходов, рекомендации по выбору и использованию
экологически безопасных технических средств, оборудования и технологий для
подводных земляных работ, а также экологически безопасных конструкций подводных
трубопроводов.
1.4. Регламент
является ведомственным нормативно-техническим документом РАО
"Газпром" и как руководящий документ (РД) отрасли обязателен для
подведомственных ему организаций, предприятий, осуществляющих проектирование,
строительство, эксплуатацию, реконструкцию и ремонт подводных переходов
газопроводов, а также для специализированных организаций, выполняющих эти
работы по договорам с организациями и предприятиями РАО "Газпром".
1.5. Отдельные
положения Регламента могут быть использованы при проектировании, строительстве
и эксплуатации других участков магистральных газопроводов.
2.
Экологические требования к размещению участков
подводных переходов
с учетом оценки состояния
окружающей
природной среды
2.1.
Обеспечение охраны окружающей природной среды при выборе участков и створов
подводных переходов на реках и водохранилищах с учетом русловых и геологических
процессов
2.1.1. Выбор
участков подводных переходов осуществляется в два этапа [6].
На первом этапе при
определении направления трассы магистрального газопровода определяется
предварительный вариант участка перехода на основе
имеющихся картографических, аэрофотосъемочных, топографо-геодезических планов
участков водных преград, а также других сведений о гидрологических,
геологических и гидроморфологических условиях [5].
На втором этапе
выбираются участки подводных переходов для изысканий и проектирования. Выбор
осуществляется комиссией, создаваемой заказчиком проекта магистрального
газопровода, в которую входят представители
государственных органов по охране природы и рыбных запасов [3].
Рекомендации по
размещению створов переходов в зависимости от характеристик основных типов
русловых процессов приведены в Приложении 1.
2.1.2. Определение створа перехода на участке реки, выбранном комиссией,
осуществляет проектная организация после выполнения русловой съемки [6],
инженерных и экологических изысканий с учетом обязательного заглубления
забалластированного трубопровода не менее 0,5 м ниже линии прогнозируемой на 25
лет деформации русла реки после окончания строительства перехода, но не менее 1
м от естественных отметок дна водоема [5].
На горно-предгорных
реках с пойменным и долинным блужданием русел следует учитывать необходимость
заглубления трубопровода по всей зоне блуждания русла на данном участке.
2.1.3. Выбор створа
для нового перехода в одном техническом коридоре с действующими переходами
осуществляется только на основе обязательных данных об их техническом состоянии
и оказываемом воздействии на объекты окружающей природной среды.
Эти данные должны
быть представлены проектным организациям и комиссии заказчиком проекта по
результатам обследований действующих переходов эксплуатационными службами.
2.1.4. При выборе
вариантов размещения участков и створов переходов должны быть выполнены
следующие требования [6]:
располагать переход
на прямолинейных или слабоизогнутых участках рек с минимальной шириной поймы,
как правило, перпендикулярно динамической оси потока, и не на перекатах;
пересекать широкие
поймы на участках с минимальным числом стариц, болот и озер;
избегать
пересечений трассы с участками многорукавных русел и излучин, имеющих
спрямляющие протоки;
располагать их в
нижних бьефах гидроузлов за пределами зоны активного однонаправленного размыва
русла и удаления от подходных каналов к шлюзам;
избегать зон
нерестилищ, зимовальных ям и участков массового скопления рыб.
2.1.5. Створы
переходов следует размещать на участках водоемов, которые характеризуются:
меньшей шириной
водоема при среднем уровне воды;
плавностью
подводного и надводного рельефа;
отсутствием
оползневых и просадочных явлений на береговых склонах;
наименьшими
деформациями надводного и подводного склонов берегов;
меньшими
вдольбереговыми перемещениями наносов;
отсутствием или
минимальным наличием скальных пород.
2.1.6. На северных
реках створы переходов следует располагать там, где берега и поймы сложены
крупнообломочными, гравийно-галечниковыми или песчаными грунтами, глубоко
залегают грунтовые воды, отсутствуют или слабо развиты мерзлотные процессы.
Следует избегать участков с подземными льдами, наледями и буграми пучения,
проявлениями термокарста, косогоров с льдонасыщенными глинистыми и
переувлажненными пылеватыми грунтами, мест образования заторов и зажоров льда,
берегов с развивающимися на них оползневыми или карстовыми процессами.
2.1.7. Особо
тщательно, с учетом повышенной экологической опасности при эксплуатации, должен
быть осуществлен выбор участка для прокладки в одном техническом коридоре
нескольких ниток переходов магистральных газопроводов и ниток переходов для
транспорта по ним конденсата, нефти и нефтепродуктов.
Выбор участка под
один технический коридор осуществляется комиссией с участием всех
представителей государственного надзора (в том числе охраны природы, рыбных
запасов, санитарного надзора) и речного флота; при этом рассматриваются
альтернативные варианты на основе исчерпывающих материалов инженерных изысканий
по каждому из них.
2.2.
Обеспечение полноты инженерных и экологических изысканий на водных преградах
для разработки проектной документации на подводные переходы магистральных
газопроводов
2.2.1. Состав и
объем всего комплекса инженерных и экологических изысканий на участках
подводных переходов определяется техническим заданием заказчика, который
осуществляет приемку и дает оценку содержанию и качеству технического отчета по
изысканиям.
2.2.2. Согласно
действующим нормам проектирования магистральных трубопроводов [5], подводные
переходы следует проектировать только на основе инженерных изысканий, срок
давности которых не превышает два года.
В действующих
нормах проектирования подводных трубопроводов обращено особое внимание на
тщательность изучения гидрологических и геологических характеристик каждой
водной преграды с прогнозированием деформации русла и берегов водоемов в
течение не менее 25 лет с начала эксплуатации переходов.
2.2.3. Полнота и
объем инженерно-гидрометеорологических изысканий должны отвечать требованиям
норм и правил на инженерные изыскания в строительстве [4]. Они должны
осуществляться на всех стадиях проектирования, начиная с разработки технико-экономических
обоснований (ТЭО), где они особенно необходимы для оценки воздействия
строительства и эксплуатации подводных переходов на окружающую среду, и
продолжаться на последующих стадиях разработки проектной и рабочей
документации.
2.2.4. Состав гидрометеорологических
характеристик водных преград на участках подводных переходов [4], получаемых в
результате инженерных изысканий, представлен в таблице.
Состав
гидрометеорологических характеристик
водных преград на
участках подводных переходов
┌────────────────┬─────────┬─────────────────────────────────────┐
│Параметры
водных│ Переходы│Гидрометеорологические
характеристики│
│преград
в створе│ по │
водных преград, обязательные для │
│ перехода
│ группам │ обоснования технических решений при │
│ │сложности│
проектировании подводных переходов
│
├────────────────┼─────────┼─────────────────────────────────────┤
│Ширина
зеркала │Малые │Тип руслового процесса │
│воды
в межень │ │Расчетные наивысшие уровни
воды, │
│до
30 м │ │скорости течения, наибольшая
│
│при
глубине │ │возможная глубина размыва дна
русла │
│воды
до 1,5 м │ │(прогноз) на срок
эксплуатации │
│ │ │перехода │
│ │ │Зона (протяженность)
затопления │
│ │ │берегов и поймы в паводок │
├────────────────┼─────────┼─────────────────────────────────────┤
│Ширина
зеркала │Средние │Тип руслового процесса │
│воды
в межень │ │Расчетные наивысшие уровни
воды. │
│от
31 до 75 м │ │Наивысшие и наинизшие
уровни │
│при
глубине воды│
│весеннего ледохода │
│более
1,5 м │ │Средние и максимальные
поверхностные │
│ │ │и донные скорости течения
воды │
│ │ │в паводок и в межень │
├────────────────┼─────────┼─────────────────────────────────────┤
│Ширина
зеркала │Большие │Сток наносов и параметры донных
гряд.│
│воды
в межень: │ │Прогнозный профиль размыва дна
русла;│
│более
75 м │ │Волнения (расчетная величина
волны). │
│менее
75 м, │ │Прогноз деформации русла,
берегов │
│но
вероятность │ │и поймы на весь срок
эксплуатации │
│затопления │ │перехода │
│при
20-дневном │ │Мутность воды в свободный
│
│стоянии
уровней │ │от льда период │
│воды
10% │ │Гидрохимический анализ воды и донных │
│более
500 м │ │отложений │
│(1
раз в 10 лет)│ │ │
└────────────────┴─────────┴─────────────────────────────────────┘
Примечание.
Характер распределения водного стока в течение года, сезона, половодья должен
быть отражен на графике изменения во времени расходов воды.
2.2.5. Все необходимые гидрометеорологические характеристики, полученные
при изысканиях для ТЭО уточняются на последующих стадиях проектирования
на основе стационарных наблюдений за режимом водных преград, детальных
исследований на участках больших и средних переходов. По малым переходам
характеристики определяются инженерными изысканиями по линейной части
газопровода [4].
2.2.6. Для
прогнозирования деформации дна русел и
переформирования берегов и диапазона плановых и глубинных изменений
инженерно-геологическая съемка участка перехода должна охватывать площадку
строительства и примыкающие к ней прибрежные участки в пределах зоны возможных
деформаций и переформирования берегов (от 2 до 10 км во все стороны от створа
перехода или с захватом на реках одной излучины вверх и вниз по течению) [4].
2.2.7. В результате
инженерных изысканий на участках подводных переходов должны быть определены:
гранулометрический
состав грунтов, слагающих дно водоема и его берега;
состав донных
наносов и границы слаборазмываемых грунтов;
условия
строительства и эксплуатации переходов в зонах опасных геологических процессов
(сейсмических, карстовых, оползневых, эрозионных);
воздействие волн,
ледовых условий и другие нагрузки на береговые склоны крупных рек, озер,
водохранилищ [7];
гидролого-морфологическая
характеристика водного объекта на участке подводного перехода [4, 6];
линия
прогнозируемого размыва русла и переформирования берегов на участках переходов
на весь срок их эксплуатации с обязательным учетом гранулометрического состава
грунтов, используемых для обратной засыпки траншей.
2.2.8. Инженерные
изыскания на подводных переходах через северные реки [6] должны отразить:
распространение и
залегание вечномерзлых грунтов на береговых участках и поймах;
толщину оттаивающих
и промерзающих грунтов;
опасность и
динамику развития мерзлотных процессов на пойме и берегах: наледей,
термокарста, солифлюкции, морозного растрескивания или пучения, особенно в
границах входа подводного трубопровода из русла в вечномерзлые грунты берегов
(с учетом воздействия температуры транспортируемого газа);
ледовый режим:
толщину ледового покрова, размеры льдин и скорость их подхода к берегам,
наличие сала, шуги, зажоров, заторов и навалов льда.
2.2.9.
Экологические изыскания включают определение [13]:
взаимного
воздействия объектов окружающей природной среды и действующих, рядом с проектируемыми, подводных переходов;
рыбохозяйственной
характеристики водоема на участке строительства новых переходов;
характеристики
животного и растительного мира водоема и его поймы;
характеристик почв,
заболоченности и обводненности пойм, их гидрографической и дренажной сети.
3.
Экологические требования к проектированию
и строительству
подводных переходов
3.1. Общие
положения
3.1.1. Согласно
Закону Российской Федерации "Об охране окружающей природной среды"
проектная документация, не удовлетворяющая экологическим требованиям, не
подлежит утверждению, а работы по ее реализации не финансируются.
3.1.2. При
проектировании подводных переходов магистральных газопроводов должны быть
предусмотрены меры по:
обеспечению
эксплуатационной надежности конструкции перехода в условиях воздействия на нее
всех внешних нагрузок, природных факторов и явлений;
исключению
активизации или возникновения опасных для эксплуатации подводных переходов
гидрологических или геологических процессов;
предотвращению
развития опасных мерзлотных процессов (с учетом температуры транспорта газа) на
береговых и пойменных участках перехода [5] в зонах вечномерзлых грунтов,
особенно на границах выхода подводного газопровода из русла и входа в
вечномерзлые породы берегов.
3.1.3. В целях
обеспечения экологической безопасности при эксплуатации подводных переходов
предусматриваются:
применение труб с
повышенными прочностными характеристиками, эффективной антикоррозийной защитой;
установка
утяжеляющих балластных грузов для исключения всплытия трубопроводов, как в
руслах рек, так и на обводненных участках пойм;
вертикальная
трассировка прокладки трубопровода для заглубления его в дно водной преграды и
пропуска очистных устройств и приборов внутренней диагностики состояния стенок
труб в процессе их эксплуатации;
крепление береговых
склонов с учетом нагрузок на них при воздействии льда и волн, как на
гидротехнические сооружения откосного типа [7].
3.1.4. При
проектировании в одном техническом коридоре с газопроводом других трубопроводов
(для транспорта конденсата, нефти, нефтепродуктов или других токсичных для
водной среды жидкостей) следует предусматривать использование конструкции "труба
в трубе" как наиболее надежной по условиям экологической безопасности
(Приложение 2.10).
3.1.5. В целях
экологической безопасности при строительстве и эксплуатации подводного перехода
может быть использован метод направленного горизонтального бурения, освоенный в
мировой практике (Приложение 2.11).
3.1.6. В сметах на
строительство подводных переходов должны быть предусмотрены затраты на
выполнение технологических и конструкторских решений, обеспечивающих
экологическую безопасность при строительстве и эксплуатации подводных переходов
(природоохранные устройства, приспособления, экологически чистые механизмы и
технологии производства работ). В сметах должна быть отражена не только
стоимость создания природоохранных технических средств, но и определены единичные
расценки на производство работ с учетом их применения.
3.2.
Требования по охране природной среды водоемов при разработке проектов
организации строительства (ПОС) подводных переходов
3.2.1. ПОС подводного перехода должен содержать природоохранные
мероприятия и технологии, обеспечивающие защиту и сохранение окружающей
природной среды [3].
ПОС подводного перехода с природоохранными мероприятиями и технологиями
является обязательным документом для заказчика и подрядной строительной
организации, на основании которого осуществляется разработка проекта
производства работ (ППР).
Исчерпывающие
данные по организации строительства подводных переходов и природоохранных
мероприятий должны быть представлены уже в составе ТЭО на строительство
магистральных газопроводов в соответствии с требованиями природоохранного
законодательства [1] и на основе выполнения оценки воздействия на окружающую
среду и уточнены на последующих стадиях проектирования [18].
3.2.2.
Механическое, тепловое, физико-химическое воздействия на окружающую среду
оказывают:
земляные
работы на русловых, береговых и пойменных участках переходов (разработка и
засыпка траншей наземными и плавучими средствами, рыхление скальных и вечномерзлых
грунтов взрывами, разработка карьеров грунта, устройство подъездных дорог,
дамб, насыпных или намывных площадок для монтажа и т.п.);
колесная и
гусеничная техника, используемая при транспортных и монтажных работах на
сварочно-монтажных площадках переходов;
гидравлическое
испытание плетей подводных трубопроводов (забор воды из водного объекта и сброс
в него).
3.2.3. Негативными
изменениями в окружающей среде от воздействия указанных факторов являются:
разрушение
почвенно-растительного покрова и нарушение естественных гидрологических и
геологических условий в границах береговых и пойменных траншей;
возникновение и
активизация опасных русловых процессов, эрозия береговых склоновых участков;
ухудшение условий
обитания гидробионтов в результате образования зон повышенной мутности в воде,
уничтожение или сокращение нерестилищ, зимовальных ям и кормовых угодий рыб;
загрязнение
поверхностных вод и грунтов горюче-смазочными материалами (ГСМ), подсланевыми
водами и хозяйственно-бытовыми отходами.
3.2.4. ПОС подлежат согласованию с органами рыбоохраны в части:
технологии
производства подводных земляных работ;
мест размещения
отвалов грунта;
производства
взрывных работ в русле, пойме и на берегах;
разработки карьеров
строительного грунта на пойме и в русле.
3.3. Экологические
требования к разработке ПОС на производство подводных
земляных работ
3.3.1. При
осуществлении подводных земляных работ должны быть обеспечены:
требования
правил охраны поверхностных вод к качеству воды водного объекта в створе 500 м
ниже места производства работ [17], а именно увеличение содержания взвешенных
веществ не более 0,25 мг/л к фону для водоемов высшей и первой категории и 0,75
мг/л - второй категории рыбохозяйственного использования (при естественной
мутности водоемов в межень более 30 мг/л допускается превышение мутности в пределах 5% от исходной);
исключение отвалов
грунта в местах нереста рыб;
исключение
подводно-технических работ в период нереста рыб [20].
3.3.2. При
организации подводных земляных работ проектные организации должны
предусматривать обязательное рефулирование или
транспортировку плавучими техническими средствами (шаландами, понтонами,
плавплощадками) извлекаемого из-под воды грунта в береговые отвалы (или в
подводные приурезные, с их обваловкой) с полным исключением сброса пульпы или
грунта на водную поверхность водоема на участке производства работ [9].
Рекомендации по использованию различных технических средств в целях защиты
ихтиофауны водоемов при разработке подводных траншей на переходах даны в
Приложении 2.1.
Отсутствие
рефулеров необходимой протяженности (установленной в зависимости от их
производительности) к землесосным снарядам является нарушением требований
строительных норм и правил по охране водной среды при производстве подводных
земляных работ [9].
Заказчик должен
требовать от строителей обеспечения земснарядов рефулерами необходимой
протяженности, предусмотренной нормативами их применения [31].
3.3.3. При
организации подводных земляных работ должны быть:
установлены сроки и
способы производства работ на реках с учетом биологических ритмов ихтиофауны
(нерест, миграция рыб и др.) [9];
использованы
экологически чистые технические средства, в том числе одночерпаковые
гидравлические земснаряды (с погрузкой грунта в шаланды), или созданы новые (Приложение
2.3);
обеспечено
применение защитных экранов и устройств, перекрывающих полосу русла в зоне
работы земснаряда и предотвращающих распространение мелких фракций
разрабатываемого грунта и загрязнение ими водоемов (Приложение 2.4);
определены границы
отвалов грунта с учетом его складирования, исключающего растекание или слив в
реку посредством устройства обвалования или дамб по периметру карт намыва [13];
предусмотрено
исключение сброса грунта в воду при разработке подводных траншей на малых
переходах, особенно в зимний период (Приложение 2.6);
ограничено
использование малоэффективной, с низкой производительностью техники, в том
числе гидромониторов и грунтососов, которые не могут рефулировать грунт в
отвалы [3];
предусмотрено
использование грунта, извлекаемого из подводных траншей, для обратной засыпки,
а также возможность замены его грунтом неразмываемых течением фракций;
предусмотрено
совмещение разработки подводной траншеи по верхней по течению нитке с
одновременной засыпкой извлекаемым грунтом нижней нитки с уложенным в ней
трубопроводом, что значительно снизит экологический ущерб флоре и фауне
водоемов [12];
предусмотрено
использование погружных патрубков на пульпопроводах от землесосных снарядов,
направляющих лотков, труб, разгрузочных бункеров при засыпке траншей грунтом с
шаланд в целях уменьшения взмученности воды (Приложения 2.7 и 2.8).
3.3.4. Не
допускается изъятие грунта для обратной засыпки непосредственно из дна реки на
участке перехода, приводящее к изменению руслового режима реки и, соответственно,
не учтенному в проекте воздействию на подводный трубопровод.
Выполнение и
приемка подводных земляных работ должны находиться под строгим измерительным и
геодезическим контролем заказчика [9].
3.3.5.
После завершения строительства подводного многониточного перехода (или
нескольких в одном техническом коридоре) заказчик должен обеспечить русловую
съемку всего участка перехода (или переходов) для оценки качества выполнения
земляных работ и в случаях нарушения рельефа дна (создания в нем глубоких
воронок, выемок или отвалов неиспользованного грунта) потребовать от строителей
рекультивации дна.
3.3.6. При
проектировании подводных земляных работ на участках рек, где грунты содержат
токсичные вещества, должны быть приняты особые решения по загрузке такого
грунта в транспортные плавучие средства и вывозке его в определенные органами
санитарного надзора места и засыпке траншей только привозным чистым грунтом.
3.3.7. Все суда
технического флота, а также земснаряды должны иметь системы откачки, сбора
бытовых и подсланевых вод, жидких и твердых отходов для последующей их передачи
на суда-сборщики или береговые очистные сооружения.
3.4.
Обеспечение экологических требований к производству земляных работ на пойменных
и береговых участках переходов
3.4.1. В
соответствии с требованиями строительных норм на земляные сооружения (раздел
"Охрана природы") в проекте организации строительства перехода должны
быть предусмотрены [9]:
необходимость
снятия плодородного слоя почвы с учетом уровня его плодородия (в соответствии с
действующими государственными стандартами), его перемещения и надежного
хранения в отвалах для последующего использования при рекультивации;
осуществление
снятия и нанесения плодородного слоя почвы в период, когда грунт находится в
немерзлом состоянии;
исключение
использования плодородного слоя почвы для временных земляных сооружений.
3.4.2. При
разработке траншей в вечномерзлых грунтах на поймах северных рек выемку грунта
следует предусматривать преимущественно без взрывов, с помощью экскавации [13].
3.4.3. Для
предотвращения развития опасных оползневых, криогенных процессов (термокарст,
солифлюкция), образования оврагов на береговых склонах должны быть заложены
технические решения по сбору и отводу поверхностных и грунтовых вод,
исключающие опасность их стока по траншеям вдоль ниток укладываемых
трубопроводов.
3.4.4. При срезке
крутых склонов (с крутизной более 3°) на берегах рек, особенно северных,
следует предусматривать технические решения по снижению опасности активизации
водной и термоэрозии и оврагообразования.
3.4.5. При
устройстве насыпей под монтажные площадки на берегах северных рек следует
предусмотреть защиту естественных оснований под насыпи от протаивания на
наиболее опасных участках с сильнольдистыми грунтами путем теплоизоляции
откосов мхом или торфом.
3.4.6. Для обратной
засыпки пойменных и береговых траншей на участках с сильнольдистыми грунтами
должно быть предусмотрено использование песчаного грунта, добытого в карьере и
осушенного (Приложение 2.9).
3.4.7. Для
сохранения вечномерзлых грунтов от разрушения при строительстве подъездных
дорог к переходам, причальных площадок следует предусматривать гидронамыв
грунта на берег землесосными снарядами [13].
3.4.8. Время
простаивания раскрытых траншей перед укладкой в них трубопроводов должно быть
сокращено до минимума в целях предупреждения значительных разрушений откосов
траншей и их оплывания под воздействием осадков, грунтовых и поверхностных вод.
3.4.9. Заказчик
осуществляет жесткий контроль за:
качеством (особенно
плотностью) обратной засыпки пойменных и береговых траншей;
отсутствием
перегрузки берегового склона отвалами неиспользованного при обратной засыпке
грунта;
восстановлением
существовавшего до начала строительства перехода системы местного стока,
расчисткой русел и ложбин водотоков от грунта, попавшего в них во время
земляных работ.
3.5. Выполнение
экологических требований при производстве буровзрывных работ
3.5.1.
Осуществление буровзрывных работ при разработке подводных траншей на переходах
для рыхления скальных или вечномерзлых грунтов (в береговых урезах) приводит к
гибели рыбы, ее молоди, разрушению ее кормовой базы. Их производство может быть
предусмотрено в ПОС проекта только в случаях
невозможности:
выбора створа
перехода на другом участке реки;
применения для
разработки скальных пород других технических средств: одноковшовых скалодробильных
штанговых, гидравлических земснарядов [14].
3.5.2. Взрывные
работы должны быть исключены в периоды:
массового скопления
рыб в реке (нерест, зимовка, миграция);
воспроизводства
птиц и других околоводных животных.
3.5.3. При
проектировании взрывных работ вблизи действующих подводных трубопроводов должны
быть определены условия, гарантирующие безопасность эксплуатируемых переходов
от воздействия на них сейсмических волн, обладающих большой энергией с
периодами колебаний, близкими к периодам собственных колебаний трубопроводов.
3.5.4. Методы
взрывных работ, максимальная масса взрываемых зарядов и радиус безопасной зоны,
исходя из максимального снижения отрицательных воздействий на ихтиофауну
водоема, определяет и согласовывает проектная организация в процессе разработки
ПОС, а в случае внесения изменений при разработке ППР
- строительная.
3.5.5. Методы
защиты ихтиофауны от поражения при подводных взрывах приведены в Приложении
2.5. В расчете ущерба рыбным запасам учитывается снижение уровня воздействия взрывов
вследствие применения средств защиты [14].
3.5.6. Заказчик
строительства осуществляет контроль за соблюдением
требований органов Госгортехнадзора, охраны природы и рыбных запасов при
проведении буровзрывных работ на переходах.
3.6.
Выполнение экологических требований при сооружении временных дорог, проездов к
переходам, производстве сварочно-монтажных работ и гидравлических испытаниях
3.6.1. При
разработке транспортной схемы доставки труб, техники и грузов на подводные
переходы должны быть предусмотрены решения по исключению повреждения
растительно-покровного слоя (особенно в районах Крайнего Севера) за пределами
отведенных участков, а также по устройству переездов через малые водотоки, с
обязательным пропуском под ними воды без нарушения их гидрологического режима.
3.6.2. Площадки для:
сварки, изоляции,
футеровки и балластировки, предварительного гидравлического испытания секций
подводного трубопровода;
стоянки, заправки и
ремонта машин, наземной техники;
причала судов
технического и транспортного флота;
жилого городка
строителей перехода
должны быть
оборудованы мусоросборниками для строительных и бытовых отходов и мусора,
емкостями для сбора отработанных ГСМ.
3.6.3.
Резервуары-отстойники (амбары) для сбора подсланевых вод и воды от
гидравлических испытаний должны быть гидроизолированы в целях исключения
загрязнения грунтовых и поверхностных вод.
В ПОС должны быть определены и согласованы с местными
санитарными органами места захоронения накопленных в амбарах-отстойниках
веществ-загрязнителей.
3.6.4. На площадках
сварочно-монтажных работ на участках торфяников должны быть предусмотрены
эффективные меры пожарной безопасности, исключающие возгорание торфа.
3.6.5. В целях
забора воды на реках допускается устройство временных водозаборных сооружений,
оголовки которых должны быть оборудованы рыбозащитными устройствами.
3.6.6. При
выполнении транспортных, грузовых операций с нефтепродуктами на воде и
перекачки их в суда или на берег (в хранилище) необходимо предусмотреть меры,
исключающие утечку продуктов в реку и на грунт.
3.7.
Крепление береговых склонов на участках подводных переходов в целях обеспечения
экологической безопасности
3.7.1. Надежная
инженерная защита береговых склонов на участках подводных переходов
обеспечивается:
квалифицированной
оценкой и прогнозированием всех опасных природных факторов воздействия на
береговые склоны в пространстве и во времени как в естественных природных
условиях, так и в процессе строительства и эксплуатации проектируемых
переходов;
исключением
опасности обвала или оползня берегового склона за счет перегрузки его отвалами
грунта от разработки траншей;
исключением
использования легкоразмываемых грунтов для обратной засыпки траншей на
береговых склонах;
применением
специальных берегозащитных покрытий.
3.7.2. Выбор
конструкции берегозащитного покрытия на подводных переходах определяется:
назначением и
сроком службы берегоукрепления;
характером
деформации основания под берегозащитным покрытием;
условиями
производства берегоукрепительных работ.
Ко всем
берегозащитным конструкциям предъявляются общие требования:
сплошность;
устойчивость против
сдвига;
гибкость,
обеспечивающая плотное прилегание покрытия к основанию.
Рекомендуемые типы
берегоукреплений и условия их применения представлены в Приложении 3.12.
3.7.3. Качество
выполнения берегоукрепительных работ обеспечивается:
закреплением
границ берегоукрепления опорными знаками и проверкой качества засыпки
приурезных и береговых траншей до отметок укладки берегозащитных покрытий, а
также планировкой откоса выше проектного уровня воды и разравниванием его в
подводной части;
осуществлением
отсыпки гравия и щебня, наброски камня, укладки крупноразмерных железобетонных
плит после устройства упора (из железобетона или призмы из камня) снизу вверх.
3.7.4.
Проектирование и выполнение берегоукрепительных работ с использованием нетканых
синтетических материалов (НСМ) рекомендуется осуществлять на основе
разработанных специально для подводных переходов магистральных трубопроводов
технических решений [28].
3.7.5. Устройство
берегоукрепления на переходах рекомендуется осуществлять в период плюсовой
температуры воздуха, отсутствия значительных атмосферных осадков (не в периоды
ледохода и паводков), с полным исключением опасности загрязнения почв, грунтов,
воды отходами ГСМ, подсланевыми водами как в границах выполнения инженерной
защиты берегов, так и за их пределами.
3.7.6. Заказчик
осуществляет контроль берегоукрепительных работ согласно проекту. Приемка
построенных подводных переходов без крепления берегов не допускается.
3.7.7. Состояние
берегоукрепления на каждом переходе контролируется службой эксплуатации
магистрального газопровода ежегодно, после прохождения паводков.
3.8.
Рекультивация нарушенных при строительстве подводных переходов земель и рельефа
3.8.1.
Рекультивация нарушенных земель (берегов, поймы и дна водного объекта)
осуществляется в два этапа:
техническая
рекультивация;
биологическая
рекультивация.
3.8.2. В первую
очередь техническая рекультивация должна быть осуществлена на:
участках с вечномерзлыми грунтами для предотвращения или нейтрализации опасных
мерзлотных процессов (термокарста, солифлюкции) в целях сохранения
температурного режима вечномерзлых грунтов;
участках опасных эрозионных процессов: оползневых, обвальных и др.;
береговых
участках подводных переходов на малых реках, где были устроены временные
переезды, перемычки для прохода транспортных средств и строительной техники;
других участках в
районе сооружения переходов, нарушенных и загрязненных в период производства
работ.
3.8.3. При
проведении технической рекультивации необходимо выполнение следующих
мероприятий:
очистка
использованных территорий от строительного мусора, а также всех загрязнителей
территорий, оставшихся при демонтаже временных сооружений в местах
строительства переходов;
восстановление
систем местных стоков, существовавших ранее;
планировка территорий,
засыпка эрозионных форм (оврагов, промоин) и термокарстовых просадок грунтом
слоями до 1 м, с укладкой в головы оврагов эрозионно-устойчивых грунтов (глина,
крупнозернистый песок, щебень);
восстановление
плодородного слоя почвы.
3.8.4. Решение о
рекультивации дна водоема принимает заказчик после русловой съемки всего
участка перехода (после завершения его строительства) и сопоставления ее с
планом перехода в рабочей документации.
В рекультивацию дна
водоема входят планировка его дна, ликвидация подводных отвалов
неиспользованного грунта, а также воронок, выемок, возникших в результате
нарушений природоохранной технологии производства подводных земляных работ (см.
3.3.5 Регламента).
3.8.5.
Биологическая рекультивация на пойменных участках переходов большой
протяженности заключается в внесении минеральных и
органических удобрений, сплошной культивации, их предпосевном прикатывании для
уплотнения, посеве семян многолетних быстрорастущих растений.
3.8.6. Контроль за качеством работ по рекультивации и охраной
земель осуществляется заказчиком и местными органами по охране природы.
4.
Материалы для использования процедуры оценки воздействия
на окружающую среду
(ОВОС) строительства и эксплуатации
магистрального
газопровода
4.1. При проведении
ОВОС в составе предпроектной и проектной документации на строительство
магистральных газопроводов должны быть использованы следующие данные, связанные
со строительством и эксплуатацией подводных переходов:
4.1.1.
Гидрологические, геологические и гидроморфологические характеристики водных
преград (русел, берегов, пойм), характеристика растительного и животного мира
(в том числе ихтиофауны) на участках подводных переходов.
4.1.2. Информация
об источниках воздействия на окружающую среду в процессе строительства перехода
[18], которыми являются:
земляные работы на
пойме и берегах (разработка траншей, намыв или отсыпка монтажных площадок,
разработка карьеров грунта);
подводные земляные
работы (разработка и засыпка подводных траншей);
буровзрывные работы
по рыхлению скальных и вечномерзлых грунтов;
гидравлические
испытания секций труб;
наземная (колесная
и гусеничная) техника и средства гидромеханизации.
4.1.3. Информация
об объектах окружающей среды, подвергающихся воздействию на участках
строительства подводных переходов:
водная среда и
экосистемы водоемов в целом;
рыбы и их кормовые
организмы;
околоводные
животные;
места массового
скопления животных (нерестилища рыб, оленьи пастбища, гнездовья птиц, кормовые
угодья и др.) и пути их миграции;
водная и
околоводная растительность;
рельеф дна, берегов
и пойм.
4.1.4. Возможные
последствия изменения окружающей среды:
переформирование
русел рек, рельефа дна и пойм и изменение гидрологического режима водных
преград;
разрушение
почвенного слоя и растительного покрова;
ухудшение показателей
качества поверхностных и грунтовых вод;
ухудшение условий
обитания и воспроизводства рыб и других гидробионтов;
снижение
биопродуктивности водных объектов и пойменных участков в результате загрязнения
водной среды, уничтожения мест воспроизводства животных и их кормовых угодий;
прямая гибель рыб и
других гидробионтов при проведении буровзрывных работ по рыхлению скальных и
вечномерзлых грунтов;
возникновение и
активизация процессов эрозии, оползней береговых склонов в процессе
эксплуатации переходов;
возникновение
процессов термоэрозии, термокарста, солифлюкции на береговых и пойменных
участках в результате нарушения многолетней мерзлоты.
При определении
отрицательных последствий воздействия на окружающую среду водных преград
строительства подводных переходов должны быть предусмотрены способы их снижения
(предупреждения) с учетом выполнения технических и технологических мероприятий
и требований данного Регламента [15, 18].
4.1.5. Фактические
данные о влиянии эксплуатации действующих подводных переходов на состояние
водных преград и их экосистем, а также об аварийных ситуациях и их
последствиях, которые необходимы для построения прогноза:
возникновения
активизации размыва и деформации русел и берегов, оползневых и других опасных
процессов на них, заболачивания поймы;
величины и
направления изменений температурного режима вечномерзлых грунтов и активизации
мерзлотных процессов на берегах и пойме;
размера ущерба
(вреда) от гибели и ухудшения условий обитания и воспроизводства рыб, других
водных и околоводных животных и птиц.
4.2.
Ответственность за предоставление и полноту перечисленных материалов несет
заказчик магистрального газопровода [15, 18].
5.
Производственный экологический контроль
при строительстве
подводных переходов
5.1.
Производственный экологический контроль за выполнением
экологических требований при строительстве подводных переходов осуществляется в
соответствии со статьей 71 Закона Российской Федерации "Об охране
окружающей природной среды" службой экологического контроля, создаваемой
заказчиком сооружения магистрального газопровода [13].
5.2. В задачу
службы производственного экологического контроля входит проверка выполнения
всех экологических требований и природоохранных мероприятий, предусмотренных
Регламентом при строительстве переходов, особенно при производстве подводных
земляных работ.
5.3. В своей
деятельности служба производственного экологического контроля руководствуется:
Законом РФ "Об
охране окружающей природной среды";
настоящим
Регламентом;
проектами
организации строительства переходов и производства работ.
5.4. Затраты на
содержание службы производственного экологического контроля предусматриваются в
сметной документации строительства магистрального газопровода.
5.5. Порядок
организации и проведения производственного экологического контроля при
сооружении подводных переходов утверждает заказчик строительства магистрального
газопровода.
5.6. Указания
представителя службы производственного экологического контроля обязательны для
руководителя строительства перехода, на котором лежит персональная
ответственность за выполнение природоохранных мероприятий [12].
5.7. Должностные
лица службы производственного экологического контроля имеют право:
при сооружении
переходов контролировать выполнение экологических требований данного
Регламента, природоохранительного законодательства, а также природоохранных
технических мероприятий, предусмотренных проектами переходов;
требовать от
руководителей строительства переходов устранения выявленных при сооружении
подводных переходов нарушений экологических требований;
информировать
заказчика о необходимости приостановления работ на переходе и привлечения
виновных к ответственности при грубых нарушениях экологических требований и
невыполнении указаний службы производственного экологического контроля.
6.
Экологические наблюдения на участках действующих
подводных переходов
6.1. Экологические
наблюдения на участках действующих подводных переходов осуществляются силами
экологических лабораторий предприятий РАО "Газпром" по транспорту
газа в тесном взаимодействии со службами обследования и технического
обслуживания подводных переходов, состоящими из квалифицированных специалистов
(гидрологов, геодезистов, прибористов) и располагающими приборами
измерительного контроля, внутритрубной диагностики и мобильными (в том числе
плавучими) средствами.
6.2. Экологические
наблюдения проводятся в целях сбора информации о:
стабилизации или
активизации опасных гидрологических и геологических процессов в руслах, на
берегах и поймах рек, пересекаемых газопроводом;
результативности
проведенной технической и биологической рекультивации на участках подводных
переходов;
переформировании берегов под воздействием паводков и ледовых условий;
надежности
крепления берегов на переходах;
возникновении и активизации процессов эрозии, оползней береговых склонов;
возникновении и активизации мерзлотных процессов на береговых и пойменных участках
северных рек;
сооружении
на реках в районах действующих подводных переходов магистральных газопроводов
водозаборных и других гидротехнических сооружений, подводных переходов другого
назначения, производстве дноуглубительных работ, добыче инертных материалов и
других антропогенных источниках воздействий, опасных изменением
гидрологического режима на участках переходов и экологической обстановки на
них.
6.3. Основными
источниками информации для службы экологического наблюдения за состоянием
природных сред на участках действующих подводных переходов служат:
6.3.1. Наблюдения,
проводимые экологической лабораторией, за:
гидрологическим
режимом водных преград на участках действующих подводных переходов на реках,
особенно при сооружении выше и ниже по их течению новых переходов и других
гидротехнических сооружений;
эффективностью
работ по технической и биологической рекультивации на участках подводных
переходов;
состоянием объектов
окружающей среды в случаях возникновения экстремальных ситуаций на участках
действующих подводных переходов.
6.3.2. Материалы
рабочей и исполнительной документации, представленной предприятию по транспорту
газа при приемке им подводных переходов в эксплуатацию.
6.3.3. Данные
русловых съемок дна, обследования береговых склонов, данные о воздействии на
них ледовых нагрузок, волн и состоянии крепления берегов на участках переходов,
получаемые и представляемые службами обследования и технического обслуживания
подводных переходов линейных эксплуатационных служб предприятий по транспорту
газа.
6.3.4. Данные
постов и станций гидрометеослужбы об осадках, ледовых условиях, паводках, о
регулировании стока воды плотинами водохранилищ.
6.3.5. Материалы
инженерно-гидрологических, гидрометеорологических и экологических изысканий,
выполненных в процессе разработки проектной документации на подводные переходы.
6.4. Периодичность
экологических наблюдений на участках подводных переходов рек определяется
степенью и интенсивностью воздействия течений, ледоходов, паводков на дно русел
и берегов и требованием действующего в РАО "Газпром" Регламента по
обслуживанию подводных переходов магистральных газопроводов через реки и
водоемы.
6.5. Зафиксированные данные экологических наблюдений и обследований
отражаются в информационных отчетах с указанием на планах, схемах и профилях
участков переходов всех изменений природных условий в сопоставлении с
прогнозируемыми при проектировании и ежегодно (не позднее января следующего
года) представляются:
руководству
предприятия по транспорту газа;
в
Эколого-аналитический центр газовой промышленности.
6.6. Руководитель
экологической лаборатории предприятия по транспорту газа несет ответственность
за полноту и точность всей информации по экологическим наблюдениям на участках
действующих подводных переходов и своевременность ее представления.
В случаях резких и
опасных изменений природных условий на участках переходов он немедленно представляет
срочную оперативную информацию (донесение) руководству предприятия и в
Эколого-аналитический центр газовой промышленности.
6.7. Форма годового
отчета и его содержание определяются Эколого-аналитическим центром газовой
промышленности в зависимости от сложности природных условий водных преград.
6.8.
Эколого-аналитический центр газовой промышленности обрабатывает получаемую
информацию в целях:
сравнения реальных
и прогнозных (проектных) воздействий и причин их расхождения;
определения полноты
оценок воздействия на окружающую природную среду строительства и эксплуатации
подводных переходов;
создания банка
данных по результатам наблюдений за антропогенным воздействием на экосистемы
водных преград при строительстве и эксплуатации на них подводных переходов
магистральных газопроводов для участия РАО "Газпром" в осуществлении
программы Единой государственной системы экологического мониторинга (ЕГСЭМ)
согласно Постановлению Правительства РФ от 24 ноября 1993 г. N 1229;
подготовки
ежегодного аналитического доклада по охране окружающей природной среды;
выдачи рекомендаций
по повышению качества проектирования, строительства и эксплуатации подводных
переходов для снижения масштабов наносимого экосистемам водных преград ущерба и
сумм компенсаций за него.
Приложение
1
Рекомендуемое
ХАРАКТЕРИСТИКИ
ОСНОВНЫХ ТИПОВ РУСЛОВЫХ ПРОЦЕССОВ НА РЕКАХ
И РЕКОМЕНДАЦИИ ПО
РАЗМЕЩЕНИЮ НА НИХ ПОДВОДНЫХ ПЕРЕХОДОВ
1.
Ленточно-грядовый процесс
Характеристика
деформации русла:
сползание крупных
одиночных гряд, занимающих всю ширину русла. Высота гряд меняется по сезонам
года. Плановые деформации русла нехарактерны.
Распространение:
на средних и малых
равнинных реках, сложенных из средних и крупных песков, на горно-предгорных
участках русел и в отдельных протоках крупных равнинных рек.
Рекомендации по
размещению подводных переходов:
в любом месте, но
приурочить к плесовым участкам (подвальям крупных гряд) с заглублением трубы
ниже отметок самого глубокого плеса на данном бесприточном участке.

2. Побочневой тип
процесса
Характеристика
деформации русла:
сползание крупных
песчаных, перекошенных в плане гряд. Обсыхание в межень прибереговых наиболее
возвышенных частей с образованием неподвижных в этот период побочней и
слабоизвилистого русла. Начинается небольшой размыв берегов на участках между
побочнями.
Размыв берегов
ликвидируется в половодье наползающими побочнями.
Распространение:
чаще всего на
равнинных реках, когда свободное развитие плановых деформаций ограничено
наличием неразмываемых склонов долины.
Рекомендации по
размещению подводных переходов:
в любом месте, но
приурочить к плесовым участкам крупных побочней
(заглублением как при ленточно-грядовом процессе).

3. Ограниченное
меандрирование
Характеристика
деформации русла:
сползание
относительно слабовыраженных излучин при сохранении форм и размеров. Отсутствие
сползания гряд-перекатов. Побочни превращаются в участки выпуклых берегов и
перемещаются вместе с излучиной. Русло извилистое, с углом разворота до 120°,
сохраняющее извилистость и в паводок.
Распространение:
чаще всего на
равнинных реках, когда свободное развитие плановых деформаций ограничено
наличием неразмываемых склонов долины.
Рекомендации по
размещению подводных переходов:
на плесовых лощинах
ниже вершины излучины (а, б - при медленном и быстром
сползании излучины).

4. Свободное
меандрирование
Характеристика
деформации русла:
разворот S-образных
отрезков русла, образованных двумя смежными излучинами, вокруг точек, близких к
перегибу. Последовательное развитие излучин с образованием петель русла
завершается прорывом образовавшегося между излучинами перешейка вследствие
непосредственного сближения противоположных берегов его.
Распространение:
самый
распространенный тип русловых процессов на равнинных реках, в широких пойменных
долинах.
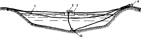
Рекомендации по
размещению подводных переходов:
в точках перегиба
на относительно прямолинейных участках русла, находящихся между перекатом и
плесом.

5. Незавершенное
меандрирование
Характеристика
деформации русла:
является
разновидностью свободного меандрирования с образованием спрямляющего потока
излучин, со временем превращающегося в главное русло, а прежнее превращается в
протоку.
Распространение:
в сильно
затапливаемых во время половодья поймах, сложенных легкоразмываемыми грунтами.
Рекомендации по
размещению подводных переходов:
а - в отмирающих
руслах и точках их перегиба; б - в спрямлениях в зависимости от типа развивающегося в них процесса.

6. Пойменная
многорукавность
Характеристика
деформации русла:
дальнейшее развитие
и усложнение незавершенного меандрирования, при
котором спрямляются не отдельные излучины, а группы смежных излучин. Выделить
основное русло среди многочисленных проток невозможно.
Распространение:
на широких поймах
равнинных рек, в расширениях горных долин при выходе горных рек из горной в предгорную зону.
Рекомендации по
размещению подводных переходов:
в любом створе с
заглублением ниже максимальных глубин русла и проток по всей пойме.

7. Осередковый тип
руслового процесса
(русловая
многорукавность)
Характеристика
деформации русла:
движение по
распластанному руслу, по которому в паводковый период перемещаются осередки,
побочни и ленточные гряды, в разной степени обсыхающие
в период межени и создающие многорукавный облик русла.
Распространение:
на участках
равнинных и горно-предгорных рек с интенсивным движением донных наносов.
Рекомендации по
размещению подводных переходов:
практически в любом
створе, с глубиной их заложения по отметкам наиболее глубоких плесов; на
низовых участках сползающих островов.

Определение
оптимального створа перехода
Местоположение
створов перехода на участке реки устанавливают после выполнения русловой
съемки. Объемы разработки подводных траншей в намеченных створах должны быть по
возможности минимальными. Для этого в случаях ограниченного меандрирования,
побочневого и осередкового типов руслового процесса строят совмещенные
поперечные профили и предварительный профиль прогноза возможного размыва русла.
Оптимальный створ
определяют по очертанию поперечника, близкому к
прогнозируемому.
Приложение
2
ТЕХНИЧЕСКИЕ
МЕРОПРИЯТИЯ
ПО ОХРАНЕ
ОКРУЖАЮЩЕЙ СРЕДЫ ПРИ СТРОИТЕЛЬСТВЕ
ПОДВОДНЫХ ПЕРЕХОДОВ
МАГИСТРАЛЬНЫХ ГАЗОПРОВОДОВ
Приложение
2.2
Обязательное
ПОРЯДОК
РАЗРАБОТКИ
ПОДВОДНЫХ ТРАНШЕЙ НА МНОГОНИТОЧНЫХ
ПОДВОДНЫХ ПЕРЕХОДАХ В ОДНОМ ТЕХНИЧЕСКОМ КОРИДОРЕ
Разработка
подводных траншей в одном техническом коридоре, на одном участке реки (в том
числе рядом с эксплуатируемыми) должна осуществляться
только снизу вверх по течению реки.
Целесообразность
такой очередности и обеспечение при этом надежности эксплуатации действующих
переходов определяются постоянным заносом траншей с уложенными в них
трубопроводами грунтом от разрабатываемых верхних траншей или сносимого течением.
Организация
разработки подводных траншей в обратной очередности (сверху вниз по течению) приводит
к размыву верхних строящихся или эксплуатируемых ниток переходов, их обнажению,
переформированию русел рек, к изменению их гидрологического режима и опасности
возникновения аварийных ситуаций, а также ухудшению условий обитания рыб и
других гидробионтов.
Примеры очередности
разработки подводных траншей:
Правильно

Неправильно

На схеме указаны
расположения подводных переходов с основными и резервными нитками на одном
участке реки: 1, 2, 3, 4, 5, 6 - очередность разработки траншей.
Приложение
2.3
Справочное
КАНАТНО-СКРЕПЕРНАЯ
ЗЕМЛЕСОСНАЯ УСТАНОВКА
Канатно-скреперная
землесосная установка, сконструированная В.П. Поповым и Ф.Н. Кацем (А.С. N
184846. Бюллетень изобретений
N 16, 1966) состоит из насосной станции 2, располагаемой на плавучем основании
3, скреперного ковша 12 с приспособлением 10 для гидравлической экскавации
грунта, лебедки 4 и тягового каната 1.
Ковш представляет
собой полый цилиндр, в верхней части которого находится лыжа 7, перемещающаяся
по грунту, шарнирный трубопровод 13 для подвода воды от насоса и выбросной
патрубок 5. Для обеспечения возможности разработки береговых
участков траншеи трубопровод снабжен колесами 14, установленным в месте
шарнира, соединяющего звенья трубопровода.

а)

б)
Схема
канатно-скреперной землесосной установки:
а - схема работы
установки; б - скреперный ковш
При перемещении
скреперного ковша вдоль разрабатываемой траншеи грунт входит в ковш, открывая
правый клапан 9 верхней камеры 11, а затем, попадая в нижнюю камеру 8,
смешивается с водой, поступающей по трубопроводу 13 от насосной станции 2.
Вследствие перекрытия правого входного отверстия 6 грунтом, а левого - клапаном
9, в камере создается повышенное давление, в результате чего гидросмесь
перемещается по выбросному патрубку 5 и шлангу в береговой отвал или на
плавучие средства.
Канатно-скреперная
землесосная установка обеспечивает разработку глубоких траншей в замкнутом от
внешней водной среды цикле, с исключением взмучивания грунта и ущерба
ихтиофауне водоема.
Приложение
2.4
Справочное
УСТРОЙСТВО
ДЛЯ ПРЕДОТВРАЩЕНИЯ ЗАГРЯЗНЕНИЯ ВОДЫ
ПРИ РАЗРАБОТКЕ
ПОДВОДНОГО ГРУНТА
Устройство для
предотвращения загрязнения воды мелкими частицами грунта при разработке
подводных траншей на переходах позволяет автоматически перекрывать ограждаемое
пространство от поверхности воды до дна водоема (1 - волнистый фильтр; 2, 7, 10
- ступени, 3 - подводные поплавки; 4, 8 - канаты; 5, 6 - плавучести; 9 -
отвесы; 11 - грузила-якоря; 12 - 14 - кронштейны; 13 - шесты).

Часть А устройства представляет собой трехступенчатую
улавливающую сеть, изготовленную из ворсистого синтетического материала или
брезента с шероховатой поверхностью. Сетью перекрывают полосу русла ниже по
течению от места работы. Верхняя ступень 7 сети удерживается в вертикальном
положении прикрепленными к ней плавучестями 6 и отвесами, которые через
свободно скользящие вверх и вниз кронштейны связаны с забитыми в дно шестами,
фиксирующими сеть в заданном направлении. Нижняя ступень 2 сети занимает вертикальное
положение с помощью прикрепленных к ней подводных поплавков, присоединенных к
канатам 4 плавучести 5, и грузил якорей. Промежуточную ступень 10 сети
располагают наклонно (под углом ~30°) к поверхности воды. Она улавливает
взвешенные в воде частицы, движущиеся в направлении, показанном стрелкой S. Для
перекрытия щели между дном и нижней частью ступени 2 сети используют волнистый
фильтр с небольшими грузилами, прижимающими его кромку ко дну.
При изменении
уровня воды верхняя ступень сети автоматически перемещается относительно
шестов, у ступени 10 изменяется угол наклона, нижняя ступень практически
остается в постоянном положении и таким образом обеспечивается перекрытие сетью
всей толщи воды. В случае значительного падения уровня воды верхние части ступеней
7 и 2 собирают в складки, чтобы сохранить указанный оптимальный угол наклона
ступени 10, в которой тоже при необходимости могут быть заложены складки.
Для более полной
очистки воды, а также в случае возможного повреждения части А
устройства на некотором расстоянии от него вниз по течению устанавливают
аналогичную часть А', удерживаемую канатами 8, отходящими от плавучестей 6
части А.
Создаваемая в
допустимых пределах в процессе разработки подводных траншей дополнительная
мутность не оказывает существенного негативного влияния на качество воды и
ихтиофауну водоема. Стоимость устройства и его применение должны быть отражены
в сметных затратах проекта перехода.
Приложение
2.5
Справочное
МЕТОДЫ
ЗАЩИТЫ ИХТИОФАУНЫ ОТ ПОРАЖЕНИЯ ПРИ ПОДВОДНЫХ ВЗРЫВАХ
К методам защиты
ихтиофауны от поражения при подводных взрывах, выполняемых в процессе
разработки траншей, относятся:
снижение
отрицательного воздействия взрыва на водную среду и ихтиофауну путем
совершенствования технологии подводных взрывных работ, конструкций зарядов,
методов управления взрывами;
ограждения мест взрывов от окружающей водной среды и находящейся в ней
рыбы;
отпугивание рыбы от
опасных участков акватории на период производства взрывов.
В качестве
эффективных технологических способов снижения параметров гидроударной волны при
взрывах следует применять:
скважинные заряды;
наклонные скважины
в скальных грунтах.
Эффективным методом
снижения действия гидроударных и сейсмических волн являются: короткозамедленное
и замедленное взрывание единовременных зарядов с замедлением не менее 10 мс,
что значительно снижает избыточное давление по фронту гидроударной волны по
сравнению с взрывами всего заряда.
Масса единовременно
взрываемых скважинных зарядов не должна превышать 150 кг (на одну ступень
замедления), а масса всего заряда с применением короткозамедленного взрывания
не более 1000 - 1200 кг.
К рациональным
конструкциям зарядов, обеспечивающим снижение отрицательного воздействия на
ихтиофауну, относятся:
скважинные заряды с
воздушными промежутками (подушками) в нижней части заряда;
скважинные заряды с
увеличенными или эластичными забойками;
кумулятивные заряды
с промежуточными или боковыми воздушными подушками.
Ограждение мест взрывов в целях защиты рыб может быть выполнено с
помощью:
ограждающих
устройств: матов квадратной формы многократного использования из гибкой
проволочной сетки, наполненной шариками (кусками) резины;
пузырьковой завесы
вокруг мест взрывов, создаваемой воздухом,
закачиваемым компрессором в перфорированные стальные или пластмассовые трубы,
укладываемые по дну по закрытому или полузакрытому контуру;
полиэтиленовые
воздушные баллоны, экранирующие места взрывов и снижающие интенсивность
взрывных волн в 3 - 4 раза.
Для отпугивания
рыбы от зоны взрыва рекомендуется применение физических и других раздражителей
(звуков, электротока, инфразвука и др.), а также отпугивающих взрывов (на
расстоянии 20 м от места основного взрыва) с использованием свободноподвешенных
мелких зарядов массой до 200 г малобризантных взрывчатых веществ.
Приложение
2.6
Рекомендуемое
СХЕМЫ
ПРИРОДООХРАННОЙ ТЕХНОЛОГИИ РАЗРАБОТКИ ПОДВОДНЫХ
ТРАНШЕЙ НА МАЛЫХ
ПЕРЕХОДАХ
Схема 1 -
экскаватором с понтона при глубине воды более 2 м (с обязательной выгрузкой
извлекаемого грунта в береговые отвалы или на плавучие транспортные средства).

Схема 2 -
экскаватором при глубине воды 0,5 - 2 м

Схема 3 - болотным
экскаватором

Схема 4 -
экскаватором-драглайном со сланей

Схема 5 - двумя
экскаваторами-драглайнами со спаренными ковшами

Работы по схеме 5
проводятся в три этапа:
на первом
экскаваторы разрабатывают грунт на прибрежных участках в пределах максимального
вылета стрелы;
на втором ковши
экскаваторов соединяются канатом и разрабатывают среднюю русловую часть
подводной траншеи перемещением ковшов вперед-назад;
на третьем после
полной разработки русловой части траншеи ковши экскаваторов разъединяются и
дорабатывают траншею на приурезных участках обоих берегов.
Схема 6 -
канатно-скреперной установкой с расположением лебедок на одном или на обоих
берегах

На схемах 1 - 6: 1
- отвал грунта; 2 - подводная траншея;
3 - экскаватор; 4 -
проектное дно траншеи; 5 - направление
разработки; 6 -
понтон; 7 - якорь; 8 - трактор; 9 - слани;
10 - спаренный
ковш; 11 - трактор с однобарабанной
лебедкой; 12 -
головная опора; 13 - тяговый трос;
14 - скреперный
ковш; 15 - хвостовая опора
Приложение
2.7
Рекомендуемое
УСТРОЙСТВО
ДЛЯ ЗАСЫПКИ ПОДВОДНЫХ ТРАНШЕЙ
НА БОЛЬШИХ
ГЛУБИНАХ, ОБЕСПЕЧИВАЮЩЕЕ ЗАЩИТУ РЫБ
И МЕСТ ИХ
ВОСПРОИЗВОДСТВА
Существующая
практика сброса больших масс грунта шаландами при обратной засыпке подводных
траншей с уложенными в них на больших глубинах подводными трубопроводами,
приводит к сносу грунта течением с замывом зимовальных ям, мест нереста и
нагула рыбы ниже по течению рек.
В создаваемых такой
технологией зонах повышенной мутности происходит частичная гибель рыб, а также
сокращение рыбопродуктивных площадей.
Для ликвидации или
снижения ущерба ихтиофауне при обратной засыпке подводных траншей предназначено
устройство, которое состоит из вертикальной трубы диаметром до 1000 мм с
воронкой. Верхняя часть трубы с воронкой закреплена на барже.
Грунт загружается
земснарядами, экскаваторами или грейферными кранами с плавучих транспортных средств в воронку и через трубу попадает непосредственно в
подводную траншею.

Обратная засыпка
подводного трубопровода
через направляющую
трубу:
1 - дно реки; 2 -
уложенный в траншею трубопровод;
3 - направляющая
труба; 4 - грунт для засыпки
Устройство
эффективно применялось в зарубежной практике для отсыпки гравия, щебня и камня
при ликвидации размывов дна и провисов на действующих переходах.
Стоимость
устройства и его применения должны быть отражены в сметных затратах проекта
подводного перехода.
Приложение
2.8
Справочное
РАЗГРУЗОЧНЫЙ
БУНКЕР ДЛЯ ОБРАТНОЙ ЗАСЫПКИ ПОДВОДНЫХ ТРАНШЕЙ
Разгрузочный бункер
предназначен для приемки грунта от одноковшового земснаряда и подачи его через
телескопический рукав на засыпаемый участок подводной траншеи с уложенным в нее
трубопроводом.
Конструктивно
он выполнен в виде плавучей площадки, на которой смонтированы: бункер,
телескопический рукав, лебедка для подъема и опускания рукава и четыре ручные
лебедки с якорями для возможности перемещения бункера в процессе засыпки
подводной траншеи.
Бункер выполняют из
листовой стали. К нижнему отверстию бункера подвешивают телескопический рукав
для направленной подачи грунта в подводную траншею непосредственно на уложенный
в нее трубопровод. Телескопический рукав состоит из отдельных секций труб 2
круглого или прямоугольного сечения, входящих друг в друга. Рукав может
удлиняться или укорачиваться при помощи стальных канатов 1, наматываемых на
барабан ручной лебедки.

Использование
такого бункера позволяет исключить загрязнение воды взмученным грунтом и
нанесение этим ущерба ихтиофауне водоема и обеспечивает качественную обратную
засыпку трубопровода в подводной траншее. Бункеры аналогичной конструкции могут
применяться на малых и средних переходах, где предусмотрена засыпка с
плавсредств.
Приложение
2.9
Справочное
МЕРОПРИЯТИЯ
ПО ОБЕСПЕЧЕНИЮ КАЧЕСТВЕННОЙ ОБРАТНОЙ ЗАСЫПКИ
ПОЙМЕННЫХ И
БЕРЕГОВЫХ ТРАНШЕЙ ПЕРЕХОДОВ
В ВЕЧНОМЕРЗЛЫХ
ГРУНТАХ
При разработке
вечномерзлых грунтов, предназначенных для обратной засыпки пойменных и
береговых траншей, сооружения дорог и насыпей под монтажные площадки для
строительства подводных переходов, необходимо заранее производить заготовку больших
объемов грунта с последующим его оттаиванием и осушиванием.
Разработка грунта в
карьерах производится преимущественно в весенне-летний период путем послойной
разработки отведенного для этого карьера.
Для оттаивания и
осушения сильнольдистых грунтов, добытых в карьере, формируются бурты в виде
призм высотой 2 - 3 м, от которых должен быть обеспечен отвод воды. В течение
летнего периода грунт в буртах следует 1 - 2 раза переместить бульдозерами для
его просушки во внутренней части бурта.
Высушенный до оптимальной
влажности грунт складируют в отвалы высотой до 10 м. Строительная готовность
высушенного грунта определяется лабораторным анализом; оптимальная влажность
песка - 10 - 12, суглинка - 17 - 18, глины - 20%.
Зависимость между
объемом фактически добытого (разработанного в карьере) грунта и объемом грунта
в плотном теле, пригодного для строительства, определяется по формуле
,
где
- рабочий объем пригодного для строительства
грунта в плотном теле при оптимальной влажности, м3;
- объем
фактически разработанного сильнольдистого мерзлого грунта, м3;
Л - льдистость
мерзлого грунта (в долях единицы) в естественном залегании, определяемая
заказчиком при инженерных изысканиях карьеров грунта (указывается в проекте);
П - количество пылеватых фракций (в долях единицы) в грунте карьера в
естественном залегании.
В проектно-сметной
документации на земляные работы предусматриваются и подлежат оплате объемы
фактической разработки грунта в карьере в естественном залегании, работы по его
подготовке к использованию.
Приложение
2.10
Справочное
КОНСТРУКЦИЯ
ПОДВОДНОГО ПЕРЕХОДА ТИПА "ТРУБА В ТРУБЕ"
Наружная труба
подводного перехода служит защитным кожухом 1, предупреждающим повреждение
рабочей внутренней трубы 2, и полностью исключает попадание токсичного продукта
в пересекаемый водный объект.

Системы
автоматического контроля на берегах фиксируют повреждение рабочего трубопровода
и отключают запорную арматуру на берегах. Наличие роликовых опор 3 из
диэлектриков позволяет извлечь поврежденный рабочий трубопровод из кожуха для
ремонта.
Применение
конструкции "труба в трубе" увеличивает металлоемкость и стоимость
сооружения перехода продуктопровода, но обеспечивает надежность и экологическую
безопасность при его эксплуатации в случае строительства рядом с переходом
магистрального газопровода.
Приложение
2.11
Справочное
СООРУЖЕНИЕ
ПОДВОДНЫХ ПЕРЕХОДОВ МЕТОДОМ НАПРАВЛЕННОГО
ГОРИЗОНТАЛЬНОГО
БУРЕНИЯ
Для заглубления
трубопроводов на любую глубину ниже границы переформирования дна и берегов рек
в целях обеспечения полной сохранности экосистем водоемов в мировой практике
применяется метод направленного бурения.
Вместо производства
большого объема земляных работ по разработке и засыпке подводных траншей
пробуривается скважина без нарушения целостности рельефа дна и приурезных
береговых участков.
Направленное
горизонтальное бурение осуществляется аналогично бурению нефтяных и газовых
скважин, но бурильные трубы входят в грунт под заданным углом и бурение
осуществляется по заданному проектному радиусу, с фиксированием его приборами,
регистрирующими направление и скорость бурения и передающими эти данные в пункт
управления буровой установкой.
Бурение
осуществляется бурильной головкой, вращающейся с помощью гидравлического
двигателя. В качестве буровых растворов используется бентонит или водный
раствор. Бентонит обладает смазывающей, стабилизирующей грунты способностью в
пространстве между бурильными трубами и стенкой скважины. Сооружение подводного
перехода осуществляется в три этапа:
Этап 1 -
бурение базовой скважины

На первом этапе
осуществляется бурение скважины малого диаметра для обеспечения точного профиля
прокладки подводного трубопровода.
Этап 2 - расширение
базовой буровой скважины

Расширение
пробуренной на первом этапе скважины осуществляется бурением расширительными
головками для достижения диаметра, превышающего диаметр укладываемого
подводного трубопровода на 200 мм.
Этап 3 -
протаскивание трубопровода перехода
в расширенную
скважину
Полностью
смонтированный на берегу (на всю длину прокладки) подводный трубопровод,
покрытый надежным изоляционным покрытием из наплавленной эпоксидной смолы,
укладывается на катки, роликовые опоры или поддерживается в вертикальной
плоскости трубоукладчиками под углом изгиба, обеспечивающим его вход в
пробуренную скважину по проектному радиусу без напряжения, если стенки в ней
надежно закреплены в процессе ее расширения.
К головному концу
(оголовку) прокладываемого трубопровода присоединяется вертлюг, исключающий его
вращение при протаскивании.

Прокладка может
осуществляться и одновременно с расширением скважины. В этом случае после
выхода установленной буровой колонны (схема этапа 1) на поверхность к ней
присоединяется расширяющее скважину устройство. Между ним и трубопроводом
крепится вертлюг для протаскивания.
Этап 3а -
протаскивание трубопровода в обсадные
трубы расширенной
скважины

Протаскивание
осуществляется через оставляемые в скважине обсадные трубы. Это определяется
геологическими характеристиками и процессами в пройденных при бурении грунтах,
а также транспортируемым продуктом (газ, нефть, конденсат и др.).
Наибольшая длина
прокладываемых методом направленного горизонтального бурения подводных
переходов, освоенная в зарубежной практике, составляет 1400 м при максимальном
диаметре дюкерного перехода в 1220 мм и 1500 м и более при диаметре 1020 мм.
Для исключения
загрязнения береговых участков переходов при производстве бурения должна быть
обеспечена рециркуляция бурового раствора по замкнутому циклу.
Обозначения на
схемах этапов 1 - 3а:
1 - буровая
установка; 2 - бурильные трубы; 3 - буровая
головка; 4 -
профиль прокладки подводного перехода;
5 - обсадные трубы
базовой скважины; 6 - буровая головка
для расширения
скважины; 7 - обсадные трубы расширенной
скважины; 8 -
обсадные трубы или стенки скважины;
9 - оголовок для
протаскивания; 10 - вертлюг;
11 - трубопровод
перехода; 12 - роликовые опоры;
13 - расширитель;
14 - стенка скважины;
15 - готовый
заизолированный трубопровод перехода
Приложение
2.12
Рекомендуемое
ТИПЫ
БЕРЕГОУКРЕПЛЕНИЯ И УСЛОВИЯ ИХ ПРИМЕНЕНИЯ
НА ПОДВОДНЫХ
ПЕРЕХОДАХ МАГИСТРАЛЬНЫХ ГАЗОПРОВОДОВ
┌───────────────────────────┬────────────────────────────────────┐
│ Типы конструкций │
Предназначение в зависимости
│
│ берегоукрепления │ от природных факторов эксплуатации
│
│ │ переходов │
├───────────────────────────┴────────────────────────────────────┤
│ Защитные покрытия с подстилающим слоем
из нетканых
│
│ синтетических
материалов │
├───────────────────────────┬────────────────────────────────────┤
│Гибкие
железобетонные плиты│Для подводного и надводного
берего- │
├───────────────────────────┤укрепления,
рассчитанного на дли-
│
│Гибкие
железобетонные │тельный срок
эксплуатации в условиях│
│решетки
с засыпкой ячеек │воздействия на
откосы ветровых и │
│грунтом │судовых волн
(высотой более 0,5 м), │
├───────────────────────────┤значительных
скоростей течения │
│Гибкие
покрытия из │(1,5 м/с и
более), ледовых нагрузок │
│отработанных
автопокрышек │ │
│с
засыпкой грунтом │ │
├───────────────────────────┼────────────────────────────────────┤
│Отсыпка
из щебня, гравия, │Для временной
защиты берегового │
│гравелисто-галечниковых │склона на срок 5 - 7,5 лет (для │
│грунтов │снижения
интенсивности русловой и │
│ │поверхностной
эрозии грунта засыпки)│
├───────────────────────────┴────────────────────────────────────┤
│ Маты из геотекстильных
материалов │
├───────────────────────────┬────────────────────────────────────┤
│Двухслойные: │Предназначены для
подводного │
│
Со сплошным заполнением │и надводного берегоукрепления, │
│полостей │рассчитанного
на временное берего- │
│
С частичным заполнением
│укрепление со сроком службы не менее│
│полостей │10 лет и на
облегченные условия │
├───────────────────────────┤эксплуатации,
в том числе на волне- │
│Однослойные
с решеткой │ние до 0,5 м,
скорости течения │
│из
оболочек, заполненных │до 1,5 м/с
│
│неразмываемым
материалом │ │
├───────────────────────────┴────────────────────────────────────┤
│ Геотекстильные грунтозащитные
(противоэрозионные) экраны │
├───────────────────────────┬────────────────────────────────────┤
│С
разделительными
│Для укрепления берегового склона │
│перегородками: │выше строительного уровня,
снижения │
│
С упорными призмами из
│размывающего воздействия, дождевых,
│
│неразмываемых
грунтов │талых и
инфильтрационных вод на │
│
Без упорных призм │грунт
засыпки в начальный период │
├───────────────────────────┤эксплуатации
перехода. Основная цель│
│Типа
"лесенки"
│этих конструкций - исключить нега- │
│с
разделительными │тивные последствия,
обусловленные │
│перегородками │нарушением растительного
покрова, │
│и
Z-образными перегибами: │структуры
и естественной плотности │
│
С упорными призмами из │грунтов
при разработке и засыпке │
│неразмываемых
грунтов │приурезных траншей в
процессе │
│
Без упорных призм
│строительства перехода │
└───────────────────────────┴────────────────────────────────────┘
Примечание. Таблица
составлена на основе технических решений, разработанных в результате анализа
отечественной и зарубежной практики берегоукрепительных работ [28].
ОСНОВНЫЕ
ТЕРМИНЫ И ОПРЕДЕЛЕНИЯ, ИСПОЛЬЗУЕМЫЕ В РЕГЛАМЕНТЕ
Подводный переход
магистрального газопровода - участок линейной части газопровода, состоящий из
системы подводных трубопроводов (одной или нескольких ниток), запорной арматуры
на обоих берегах, системы антикоррозийной защиты, узлов пуска и приема очистных
устройств и приборов внутренней диагностики труб, береговых информационных
знаков и реперов, а также кабелей технологической связи, прокладываемых на
участке перехода.
Подводный
(русловой) участок перехода - участок, ограниченный урезами воды при
среднемноголетнем меженном горизонте, определяемом по результатам многолетних
наблюдений.
Протяженность
подводного перехода - длина участка газопровода, ограниченная:
уровнем затопления
высокими водами 10%-ной обеспеченности (один раз в 10 лет) - для однониточных
переходов;
уровнем затопления
высокими водами 2%-ной обеспеченности - для переходов через горные реки;
пределами
установленной запорной арматуры на обоих берегах - для многониточных переходов.
Береговой участок
подводного перехода - участок, ограниченный урезом воды при среднемноголетнем
меженном горизонте и границей перехода в пределах его протяженности.
Участок подводного
перехода - часть акватории и поверхности земли, длина которой соответствует протяженности
подводного перехода, а ширина ограничена двумя параллельными плоскостями на
расстоянии 100 м с каждой стороны от осей крайних ниток газопровода на
переходе.
Створ подводного
перехода - линейный участок реки, ограниченный специальными знаками на обоих
берегах, определяющими размещение подводного перехода газопровода.
Агрессивная вода -
вода, обладающая свойствами разрушать металлы, бетон, воздействуя на них
растворенными газами, солями или выщелачивая их составные части.
Бьеф -
участок реки, расположенный выше (верхний бьеф) или ниже (нижний бьеф)
подпорного сооружения (плотины).
Вечномерзлый
(многолетнемерзлый) грунт - земля, находящаяся в течение длительного периода
(от нескольких лет до тысячелетий) в охлажденном состоянии при температуре ниже
0 °C.
Водомерный пост -
устройство для систематических измерений (регистрации) высоты уровня воды в
данном месте водоема (в том числе и на участке перехода).
Водный режим -
изменение во времени уровней и объемов воды в реках и озерах.
Геоморфология - наука
о рельефе суши и дна водоемов.
Геосистема -
совокупность природных компонентов (поверхностные и подземные воды, земля,
растительность, животный мир), находящихся в сложной взаимосвязи и образующих
целостность, единство.
Гидробионты - все
живые организмы, развивающиеся и обитающие в водной среде.
Гидролого-морфологические
условия - условия деформации дна речного русла и переформирований пойм,
связанные с работой потока и транспортом наносов.
Гранулометрический
состав грунтов - совокупность различных по крупности частиц земли и донных
отложений.
Замор - массовая
гибель рыб и других гидробионтов из-за резкого изменения газового или
химического состава воды, в том числе снижения содержания растворенного в воде
кислорода.
Зажор - закупорка
живого сечения реки в период осеннего ледохода и в начале ледостава массой
водного льда и шуги (затрудняет движение воды, вызывает подъем уровня и
затопление побережья).
Затор -
нагромождение льдин в русле реки во время весеннего ледохода со стеснением
живого сечения реки, подъемом уровня воды.
Карст - процесс
разрушения водой растворимых горных пород с образованием воронок и провалов,
котловин, пустот.
Ландшафт - часть
земной поверхности, для которой характерно определенное сочетание рельефа,
климата, почв, растительного и животного мира (долинный ландшафт, горный
ландшафт, тундровый ландшафт и др.).
Морозное пучение -
процесс поднятия поверхности грунта при его промерзании, связанный с
кристаллизацией в нем воды, поступающей из подстилающих горизонтов.
Морозное
(морозобойное) растрескивание - процесс образования трещин вечномерзлых грунтов
в результате резкого и значительного понижения температуры грунтов по глубине.
Межень - самый
низкий уровень воды в реке.
Меандрирование -
процесс переформирования излучин рек, имеющих пойму.
Наледь - ледяное
образование в результате замерзания воды, выходящей на поверхность ледяного
покрова через трещины при промерзании реки или закупоривания сечения реки
внутриводным льдом.
Наносы взвешенные -
твердые частицы грунта, переносимые потоком во взвешенном состоянии под
влиянием вихревых токов, возникающих в придонном слое рек.
Наносы донные -
влекомые потоком в придонном слое наиболее крупные частицы грунта, перемещаемые
на относительно короткие расстояния.
Оползень -
скользящее смещение вниз по уклону под действием силы тяжести масс грунта на
речных и озерных склонах.
Предельно
допустимая концентрация (ПДК) - максимальное содержание загрязняющего вещества
в единице объема воды или воздуха, не вызывающее негативного прямого или
косвенного влияния на здоровье человека, животный и растительный мир.
Побочень - часть
крупной перекошенной в плане ленточной гряды, обсыхающий
в межень.
Пойма - часть
речной долины, затопляемая в период высокой водности.
Пульпа -
искусственно созданная смесь воды с частицами грунта в целях его гидравлической
транспортировки по пульпопроводу при разработке грунтов средствами
гидромеханизации (разработка и засыпка подводных траншей).
Рекультивация -
полное или частичное восстановление нарушенного ландшафта, дна водоема, берегов,
поймы.
Рефулер
(грунтопровод) - плавучий трубопровод для перемещения пульпы от земснаряда к
месту укладки.
Сало - плавающее на
поверхности воды скопление смерзшихся ледяных игл в виде пятен или слоя.
Солифлюкция -
процесс медленного течения грунта, связанный с оттаиванием мерзлых льдистых
грунтов.
Термокарст -
процесс таяния скоплений подземного льда в грунтах, сопровождающийся
возникновением просадок и провалов земной поверхности.
Термоэрозия -
процесс разрушения вечномерзлых грунтов под воздействием тепла поверхностных
вод и других факторов.
Термоабразия -
процесс разрушения берегов водоемов, сложенных вечномерзлыми грунтами, в
результате теплового и механического воздействия воды и выноса грунтовых вод.
Урез воды - граница
воды у берега водоема.
Устойчивость
природной среды - способность природных систем сохранять свою структуру и
свойства при воздействии на них.
Фарватер - полоса
наибольших глубин вдоль русла реки, наиболее благоприятная для судоходства.
Фауна -
совокупность видов животных, обитающих на конкретной территории (для рыб -
ихтиофауна).
Флора -
совокупность видов растений на конкретной территории.
Шуга - скопление
рыхлого льда на реках.
Шугоход - движение
шуги по поверхности водного потока в виде комьев.
Экологическая
система (экосистема) - природный комплекс, объединяющий в единое функциональное
целое живые организмы и среду их обитания.
Экология инженерная
- раздел экологии, рассматривающий воздействие инженерных сооружений на
природу, а также влияние состояния природной среды на функционирование этих
сооружений.
Экологическая
безопасность - совокупность действий, предотвращающих ущерб природной среде и
человеку.
Экологическая
нагрузка - антропогенное воздействие на природные комплексы, вызывающее
различной степени изменение компонентов экосистемы.
Эрозия берегов и
русла - процесс разрушения водным потоком грунтов русла и берегов рек. Русловая
эрозия может быть боковая (перемещение русла в плане) и глубинная (размыв дна).
Экологические
требования - комплекс условий по сохранению природной среды в процессе
хозяйственной и иной деятельности.
СПИСОК
ИСПОЛЬЗОВАННОЙ ЛИТЕРАТУРЫ
1. Закон
Российской Федерации. Об охране окружающей природной среды. - М.: 1991
2. Постановление
Правительства РФ от 28.08.1992 N 632. Об утверждении порядка определения платы
и ее предельных размеров за загрязнение окружающей природной среды, размещение
отходов и других видов вредного воздействия
3. СНиП
1.02.01-85. Инструкция о составе, порядке разработки и утверждения
проектно-сметной документации на строительство предприятий и сооружений
4. СНиП
1.02.07-87. Инженерные изыскания для строительства
5. СНиП
2.05.06-85. Магистральные трубопроводы
6. ВСН
163-83. Учет деформаций речных русел и берегов водоемов в зоне подводных
переходов магистральных трубопроводов (нефтегазопроводов). - М.:
Госгидрометиздат
7. СНиП
2.06.04-82. Нагрузки и воздействия на гидротехнические сооружения (волновые,
ледовые и от судов)
8. СНиП 3.01.01-85.
Организация строительного производства
9. СНиП
3.02.01-87. Земляные сооружения. Основания и фундаменты
10. СНиП
2.02.04-88. Основания и фундаменты на вечномерзлых грунтах
11. СНиП III-42-80.
Правила производства и приемки работ. Магистральные трубопроводы
12. ВСН
010-88. Строительство магистральных и промысловых трубопроводов
(нефтегазопроводов). Подводные переходы. - М.: ВНИИСТ. 1989
13. ВСН
014-89. Строительство магистральных и промысловых трубопроводов
(нефтегазопроводов). Охрана окружающей среды. ВНИИСТ, 1989
14.
Рекомендации по производству буровзрывных работ при строительстве подводных
переходов магистральных трубопроводов через реки и внутренние водоемы с учетом
мероприятий по защите ихтиофауны. Р 452-81. ВНИИСТ,
1983
15.
Положение об оценке воздействия на окружающую среду в Российской Федерации.
Утв. Минприродой 18.07.1994 N 222, зарегистрировано в Минюсте 22.09.1994, N 695
16. Перечень
предельно допустимых концентраций и ориентировочно-безопасных уровней
воздействия вредных веществ для воды рыбохозяйственных
водоемов (утв. Приказом N 54 от 31.12.1992). - М.: Роскомрыболовство, 1992
17. Правила
охраны поверхностных вод. Типовые положения. - М.: Госкомприрода, 1991
18.
Временная инструкция о порядке проведения оценки воздействия на окружающую
среду (ОВОС) при разработке планов, технико-экономических обоснований и
проектов строительства новых, реконструкции и технического перевооружения
действующих объектов для освоения месторождений углеводородного сырья (ОВОС
Газпром). Р 51-156-90. - М.: ГГК "Газпром",
1990
19. Положение о
федеральном горном и промышленном надзоре России (Госгортехнадзоре). Утв.
Указом Президента РФ от 18.02.1993 N 234
20.
Положение об охране рыбных запасов и регулировании рыболовства в водоемах СССР.
Утв. Постановлением Совмина СССР от 15.09.1957 N 1045 (с последующими
изменениями)
21. Указ Президента
РФ N 236 от 04.02.1994. О государственной стратегии Российской Федерации по
охране окружающей среды и обеспечению устойчивого развития
22. О рекультивации
земель, снятии, сохранении и рациональном использовании плодородного слоя
почвы. - Утв. Постановлением Правительства N 140 от 23.02.1994
23. Положение о
Министерстве охраны окружающей среды и природных ресурсов Российской Федерации.
- Утв. Постановлением Правительства РФ N 375 от 25.04.1994
24. Вопросы
Комитета Российской Федерации по водному хозяйству. - Утв. Постановлением
Правительства РФ N 637 от 05.05.1994
25. О создании
Единой государственной системы экологического мониторинга. - Утв.
Постановлением Правительства РФ N 1229 от 24.11.1993
26. Положение о
государственном геодезическом надзоре Российской Федерации. - Утв.
Постановлением Правительства РФ N 742 от 23.09.1992
27. Пособие к СНиП
1.02.01-85 по составлению раздела проекта (рабочего проекта). Охрана окружающей
природной среды. Госстрой СССР. - М.: Цниипроект, 1990
28. Технические
решения по применению геотекстильных, синтетических материалов при
берегоукреплении подводных переходов магистральных трубопроводов. - М.: ВНИИСТ,
1988
29. Руководство по
технологии разработки траншей в легких и средних грунтах высокопроизводительными
земснарядами при строительстве подводных переходов магистральных трубопроводов.
Р 513-83. - М.: ВНИИСТ, 1983
30. Руководство по
разработке траншей в скальных и тяжелых грунтах плавучими механизмами при
строительстве подводных переходов магистральных трубопроводов. Р 397-80. - М.: ВНИИСТ, 1980
31.
Разработка подводного грунта специальными земснарядами. Ведомственные единичные
расценки и цены эксплуатации машино-часа/Сб. В-44. -
М.: ВНИИПКтехоргнефтегазстрой, 1986. (Техническая часть с изменениями решением
ГГК "Газпром" N 9 от 03.09.1990)
32. Чеботарев А.И.
Гидрологический словарь. - Л.: Гидрометеоиздат, 1978
33. Левин С.И.
Подводные трубопроводы. - М.: Недра, 1982
34. Кукушкин Б.М., Канаев В.Я. Строительство подводных
трубопроводов. - М.: Недра, 1982
35. Гольдин Э.Р.,
Козлов В.П., Челышев Ф.П. Подводно-технические, судоподъемные и
аварийно-спасательные работы (справочник). - М.: Транспорт, 1990
36. Гольдин Э.Р.
Подводно-технические работы. Технология и средства механизации. - М.:
Транспорт, 1987
37. Васильев Н.П.,
Кукушкин Б.М. Предупреждение и защита подводных трубопроводов от размыва и
повреждений. - М.: ВНИИЭгазпром, 1970
38. Попов И.В.
Деформация речных русел и гидротехническое строительство. - Л.:
Гидрометеоиздат, 1969
39. Дегтярев В.В.
Выправительные сооружения из грунта. - М.: Транспорт, 1970
40. Бородавкин
П.П., Березин В.Л., Шадрин О.Б. Подводные трубопроводы. - М.: Недра, 1979
41. Мазур И.И.,
Иванцов О.М., Молдованов О.И. Конструктивная надежность и экологическая
безопасность трубопроводов. - М.: Недра, 1990
42. Шумайлов А.С.,
Гумеров А.Г., Молдованов О.И. Диагностика магистральных трубопроводов. - М.:
Недра, 1992
43. Мазур И.И.,
Молдованов О.И. Введение в инженерную экологию. - М.: Наука, 1989.