Введен в действие
Постановлением
Минстроя РФ
от 23 февраля 1995
г. N 18-20
МЕЖГОСУДАРСТВЕННЫЙ СТАНДАРТ
ГРУНТЫ
МЕТОДЫ ПОЛЕВЫХ ИСПЫТАНИЙ СВАЯМИ
Sоils. Field test methоds by piles
ГОСТ 5686-94
Группа Ж39
ОКС 91.100.20,
ОКСТУ 5709
ПРЕДИСЛОВИЕ
1. Разработан НИИОСП им. Герсеванова
с участием института "Фундаментпроект"
Российской Федерации.
Внесен Минстроем России.
2. Принят Межгосударственной научно-технической комиссией по
стандартизации и техническому нормированию в строительстве (МНТКС).
За принятие
проголосовали:
┌────────────────────────┬───────────────────────────────────────┐
│Наименование
государства│ Наименование органа
государственного │
│ │ управления строительством │
├────────────────────────┼───────────────────────────────────────┤
│Республика
Беларусь │Госстрой Республики
Беларусь │
│Республика
Казахстан │Минстрой Республики
Казахстан │
│Кыргызская
Республика │Госстрой Кыргызской
Республики │
│Республика
Молдова │Минархстрой
Республики Молдова │
│Российская
Федерация │Минстрой России │
│Республика
Таджикистан │Госстрой Республики
Таджикистан │
└────────────────────────┴───────────────────────────────────────┘
3. Введен в
действие с 1 января 1996 г. в качестве государственного стандарта Российской
Федерации Постановлением Минстроя России от 23 февраля 1995 г. N 18-20.
4. Взамен ГОСТ
5686-78, ГОСТ 24546-81 и ГОСТ 24942-81.
1. ОБЛАСТЬ
ПРИМЕНЕНИЯ
Настоящий стандарт
распространяется на талые и вечномерзлые (используемые по принципу I)
дисперсные грунты и устанавливает методы их полевых испытаний сваями
(натурными, эталонными, сваями-зондами), проводимых при инженерных изысканиях
для строительства, а также на контрольные испытания свай при строительстве.
Стандарт не
распространяется на набухающие и засоленные грунты при необходимости их
исследования с замачиванием, на грунты, содержащие крупнообломочные включения
более 40% по массе при испытании их эталонными сваями и сваями-зондами, кроме
случаев их залегания под нижними концами этих свай, а также на испытания,
имитирующие сейсмические и динамические воздействия.
2.
НОРМАТИВНЫЕ ССЫЛКИ
В настоящем
стандарте использованы ссылки на следующие нормативные документы:
ГОСТ 25358-82
Грунты. Методы полевого определения температуры
СНиП 2.02.03-85
Свайные фундаменты
СНиП 2.02.04-88
Основания и фундаменты на вечномерзлых грунтах
3.
ОПРЕДЕЛЕНИЯ
В настоящем
стандарте применяют следующие термины:
Натурная свая -
обычная по материалу, конструкции и размеру свая, применяемая в строительстве.
Эталонная свая -
забивная инвентарная металлическая составная свая диаметром 114 мм.
Свая-зонд -
забивная инвентарная металлическая составная свая диаметром 127 мм с коническим
наконечником и муфтой трения.
4. ОБЩИЕ
ПОЛОЖЕНИЯ
4.1. Настоящий
стандарт устанавливает следующие методы полевых испытаний грунтов сваями:
- динамической
нагрузкой;
- статическими
вдавливающими, выдергивающими или горизонтальными нагрузками.
4.2. Полевые
испытания грунтов сваями, проводимые при инженерных изысканиях для
строительства, выполняют по программе, отвечающей требованиям Приложения А с учетом положений соответствующих федеральных,
территориальных и отраслевых нормативных документов, с целью получения данных,
необходимых для обоснования выбора типа фундаментов, их параметров и способов
устройства, в том числе:
- определения вида
и размеров свай и их несущей способности;
- проверки
возможности погружения свай на намечаемую глубину, а также относительной оценки
однородности грунтов по их сопротивлению погружению свай;
- определения
зависимости перемещений свай в грунте от нагрузок и во времени.
При этом испытания
талых грунтов выдергивающими и горизонтальными нагрузками, а также все испытания
вечномерзлых грунтов проводят только натурными сваями.
4.3. Полевые
контрольные испытания свай при строительстве проводят также с учетом требований
Приложения А с целью проверки соответствия несущей
способности свай расчетным нагрузкам, установленным в проекте свайного
фундамента.
4.4. Виды испытаний
и количество испытаний при инженерных изысканиях для строительства и количество
контрольных испытаний свай устанавливают в программе испытаний.
4.5. Испытания
грунтов сваями проводят на участке, отведенном под строительство проектируемых
зданий или сооружений, на расстоянии не более 5 м и не менее 1 м от горных
выработок, из которых отобраны монолиты грунтов для лабораторных испытаний и
где выполнено статическое зондирование.
Испытания должны
быть выполнены на участках, где выявлены слабые грунты, а также грунты,
характерные для данной площадки.
4.6. Испытания просадочных грунтов, проводимые с замачиванием, следует
выполнять на специально отводимой опытной площадке, располагаемой на расстоянии
не менее 1,5Н от строящегося объекта со стороны понижения рельефа площадки (Н -
толщина всех просадочных слоев грунта).
Просадочные свойства грунтов и толщина просадочных
слоев грунта на опытной и застраиваемой площадках должны быть идентичными.
4.7. При испытаниях
просадочных грунтов с замачиванием допускается
применять локальное замачивание до степени влажности
объема грунта вокруг испытываемой сваи,
ограниченного расстоянием от оси сваи, равным 5d при забивных и 3d при набивных
сваях (где d - диаметр сваи или наибольший размер поперечного сечения сваи).
Примечание.
Испытания с интенсивным замачиванием грунта основания в котлованах до полного
проявления просадки грунта от его собственного веса, назначаемые при освоении
новых территорий, должны проводиться по специальным программам, составляемым
проектной организацией.
4.8. Точки
испытания грунта необходимо закрепить на местности с использованием
геодезических методов. Планово-высотная привязка этих точек должна
контролироваться после проведения испытаний.
При необходимости
следует произвести вертикальную планировку площадки для установки оборудования
для испытаний.
4.9. В
процессе проведения испытаний грунтов сваями всех типов следует вести журналы
испытаний, а результаты испытаний оформлять в виде графиков зависимостей
перемещений сваи от нагрузки, приложенной к свае для испытаний статическими
нагрузками, или графиков изменения отказов и зависимости общего количества
ударов от глубины погружения - для испытаний динамическими нагрузками.
Масштабы
графиков допускается изменять по сравнению с установленными настоящим
стандартом при обязательном сохранении соотношения между масштабами
вертикальных и горизонтальных координат.
Графики всех
испытаний талых грунтов должны сопровождаться инженерно-геологическим разрезом
по ближайшей к месту испытания выработке, а при испытаниях в вечномерзлых
грунтах - инженерно-геокриологическим разрезом.
5.
ОБОРУДОВАНИЕ И ПРИБОРЫ
5.1. В
состав установки для испытания грунтов сваями статическими вдавливающими,
выдергивающими или горизонтальными нагрузками должны входить:
- устройство для нагружения сваи (домкраты или тарированный груз);
- опорная
конструкция для восприятия реактивных сил (система балок или ферм с анкерными
сваями и/или грузовая платформа);
- устройство для
измерения перемещений сваи в процессе испытания (реперная система с
измерительными приборами).
При проведении
испытаний в вечномерзлых грунтах в состав оборудования дополнительно включаются
термометрические устройства для измерения температуры грунта основания
испытываемой сваи.
Принципиальные
схемы установок приведены в Приложении Б.
5.2. В комплект
оборудования для полевых испытаний грунтов эталонной сваей и сваей-зондом,
кроме того, должны входить:
- эталонная свая
или свая-зонд;
- механизм для
забивки эталонной сваи или сваи-зонда в грунт, используемый также для испытания
динамической нагрузкой;
- устройство для
извлечения эталонной сваи или сваи-зонда из грунта после проведения испытаний.
5.3. Схемы
конструкций и размеры эталонной сваи и сваи-зонда приведены в Приложении Г.
Эталонная свая и свая-зонд состоят из отдельных
звеньев цельнотянутых металлических труб длиной не менее 1 м. Общая длина
эталонной сваи - до 12 м, сваи-зонда - до 16 м. На звенья эталонной сваи и
сваи-зонда наносят деления через 10 см для отсчета глубины погружения сваи.
5.4. Для полевых
испытаний грунтов динамическими нагрузками с помощью натурных свай применяют то
же оборудование, что было использовано для забивки сваи.
5.5. Все
конструкции установок, применяемых для испытаний, должны быть рассчитаны на
нагрузку, превышающую на 20% наибольшую нагрузку, предусмотренную программой
испытаний.
5.6. Устройство для
нагружения свай должно обеспечивать соосную и
центральную передачу нагрузок на сваю, возможность передачи нагрузок ступенями,
постоянство давления на каждой ступени нагружения.
5.7. При применении
установок, в которых упором для домкрата служит грузовая платформа, масса
каждого элемента груза, а также масса платформы должны быть определены заранее
и помечены несмываемой краской.
5.8. Для исключения
возможности передачи нагрузки на испытываемую сваю до установки измерительных
приборов грузовая платформа должна быть смонтирована на специальных опорах.
5.9. Глубина
погружения анкерных свай не должна превышать глубины погружения испытываемой
сваи.
5.10. Расстояние от оси испытываемой натурной сваи до анкерной сваи или
до ближайшей опоры грузовой платформы, а также до опор реперной установки должно
быть не менее 5 наибольших размеров поперечного сечения сваи (диаметром до 800
мм), но не менее 2 м. При контрольных испытаниях свай это расстояние должно
быть не менее 3d, но не менее 1,5 м. Для эталонной сваи или сваи-зонда
расстояние должно быть не менее 1 м.
Для свай диаметром
более 800 мм, а также для винтовых свай расстояние между испытываемой и
анкерной сваями в свету допускается уменьшать до 2d.
5.11. Наибольший
прогиб инвентарной конструкции, служащей упором для домкрата, должен быть не
более 0,004 ее расчетного пролета.
5.12. Механизм для
забивки эталонной сваи или сваи-зонда в грунт должен иметь молот массой 400 кг
и обеспечивать постоянную высоту его падения 150 см.
5.13. Приборы для
измерения деформации (перемещений) свай (индикаторы, прогибомеры,
приборы для автоматической записи деформаций и т.п.) должны обеспечивать
погрешность измерений не более 0,1 мм. Количество приборов, устанавливаемых
симметрично на равных (не более чем 2 м) расстояниях от испытываемой сваи,
должно быть не менее двух.
Перемещение сваи
определяют как среднее арифметическое значение показаний всех приборов.
5.14. При
использовании прогибомеров применяют стальную
проволоку диаметром 0,3 мм. Перед началом испытаний проволока должна быть
подвергнута предварительному растяжению в течение 2 сут
грузом 4 кгс. Во время испытаний груз на проволоке должен составлять 1 - 1,5
кгс.
5.15. Пределы
измерений и цену деления манометров и динамометров, используемых для
определения нагрузки на сваю в процессе испытаний, выбирают в зависимости от
наибольшей нагрузки на сваю, предусмотренной программой испытаний, с запасом не
менее 20%.
5.16. Все приборы,
используемые для измерения перемещений свай и нагрузок, должны быть протарированы и периодически проверяться согласно
паспортным данным. Перед их отправкой на место испытаний проводят внеочередную
поверку.
5.17. При испытании
вечномерзлых грунтов измерение температуры грунта проводят в соответствии с
ГОСТ 25358.
Термометрические
трубки располагают на боковой поверхности буроопускных,
опускных и буронабивных свай, а термометрические скважины - за пределами
забивных, бурозабивных и бурообсадных
свай, но не далее 1 м от их боковой поверхности. Глубина погружения в грунт
термометрических устройств должна быть не менее глубины погружения испытываемых
свай.
6.
ПОДГОТОВКА К ИСПЫТАНИЯМ
6.1. Сваи,
предназначенные для испытаний, должны соответствовать стандартам на сваи или
техническим условиям.
6.2. Погружение или
устройство испытываемых свай должно быть выполнено в соответствии с программой
испытаний.
6.3. Свая,
предназначенная для испытания динамической нагрузкой, после ее погружения не
должна иметь продольных и поперечных трещин с раскрытием более 0,2 мм, а также
сколов в голове сваи, уменьшающих поперечное сечение сваи более чем на 15%.
6.4. Свая с
разрушенной головой, предназначенная для испытания статической вдавливающей
нагрузкой, должна быть обрублена на участке разрушения, а торцевая поверхность
обрубленного ствола сваи должна быть выравнена с образованием плоскости,
имеющей отклонение не более 1/100 от проектного положения и сколы глубиной не
более 2 см.
6.5. Перед
испытанием статической выдергивающей нагрузкой сваю подготавливают в
соответствии с намечаемым способом передачи нагрузки: через предварительно
обнаженную продольную арматуру на длине до 15 см, боковое трение или другим
способом.
6.6. Эталонную сваю
или сваю-зонд перед погружением в грунт проверяют на прямолинейность и степень
износа стыков путем сборки ее звеньев в секции длиной 6 м. При этом отклонения
от прямой линии в любой плоскости не должны превышать 10 мм на 6 м длины
проверяемой секции сваи.
6.7. При проведении
испытаний в зимних условиях (кроме случаев, когда испытание динамической
нагрузкой проводят для определения возможности погружения сваи в этих условиях)
грунт в месте испытания оттаивают на всю глубину его промерзания в зоне 1,0 м
от грани сваи (при испытании горизонтальной нагрузкой - в зоне не менее 2 м).
Грунт поддерживают в талом состоянии до окончания испытаний.
6.8. Устройство
свай, предназначенных для испытаний в просадочных
грунтах, производят при природной влажности грунта.
6.9. Замачивание
основания свай в просадочных грунтах следует начинать
перед испытанием свай и продолжать вплоть до его окончания.
6.10. Замачивание
грунта следует производить через специальные траншеи, устраиваемые по периметру
испытываемых свай на расстоянии 1 м от их боковой поверхности (Приложение Г).
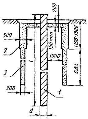
Ширина траншеи должна быть не менее 0,5 м, глубина - от 1,1 до 1,5 м.
При длине свай
более 6 м со дна траншеи для ускорения замачивания грунта следует бурить
дренажные скважины в количестве не менее трех с расположением их на равных
расстояниях от оси сваи. Диаметр скважин принимают не менее 20 см, длину - 0,8
l, где l - глубина погружения сваи. Скважины и траншеи сразу после их проходки
следует засыпать гравием или щебнем. Во время замачивания грунта и в процессе
испытания в траншее следует поддерживать постоянный уровень воды, слой которой
должен быть не менее высоты засыпки.
6.11. Расход воды
на замачивание грунта основания сваи до начала ее испытания должен быть не
менее 20 м3 на каждый метр длины сваи. Время, затрачиваемое на замачивание
грунта, устанавливается первоначально ориентировочно из расчета не менее суток
на каждый метр глубины погружения сваи и окончательно устанавливается на
основании результатов определения степени влажности образцов
грунта, отобранных при контрольном бурении скважины на расстоянии 1 м от
боковой поверхности сваи. Контрольное бурение скважины должно быть выполнено
непосредственно перед началом испытания. Грунт считается замоченным при степени
влажности
.
6.12. При проведении
испытаний просадочных грунтов с замачиванием в зимних
условиях грунт в пределах, ограниченных траншеей, в которой располагаются сваи,
перед началом замачивания надлежит оттаивать на полную глубину его промерзания
и сохранять в оттаянном состоянии до конца испытаний.
6.13. При
испытаниях вечномерзлых грунтов должно быть исключено смерзание сваи с грунтом
слоя сезонного промерзания-оттаивания грунта, для чего следует выполнить
специальные мероприятия (проходка шурфа или бурение скважины размерами,
большими максимального размера поперечного сечения сваи, с полным заполнением
зазоров теплоизоляционным материалом и т.д.) до начала сезонного промерзания
грунта.
6.14. После
погружения буроопускных, опускных и буронабивных свай
в вечномерзлых грунтах не реже одного раза в неделю проводят измерение
температуры грунта основания по всей длине термометрического устройства с
интервалом не более 1 м, в том числе обязательно на глубине расположения конца
сваи.
7.
ИСПЫТАНИЯ ТАЛЫХ ГРУНТОВ ДИНАМИЧЕСКОЙ НАГРУЗКОЙ
7.1. Испытания
талых грунтов динамической (ударной или вибрационной) нагрузкой проводят
забивными сваями для проверки возможности погружения свай на намечаемую
глубину, для оценки несущей способности сваи, определяемой по значению отказа,
а также для относительной оценки однородностей грунтов по их сопротивлению
погружению.
За отказ сваи
принимают среднюю глубину погружения от одного удара молотом или глубину
погружения от работы вибропогружателя за 1 мин, выраженные в сантиметрах.
Приборы для
измерения отказов должны обеспечивать погрешность измерения не более 1 мм. При
наличии соответствующих приборов раздельно фиксируют остаточную и упругую части
отказа.
Испытания грунтов
динамической нагрузкой для определения несущей способности свай в просадочных грунтах с природной влажностью не проводят.
7.2. Проведение
испытания
7.2.1. Забивку и добивку испытываемой сваи производят таким же
оборудованием, какое будет использовано для погружения свай в составе
фундамента.
7.2.2. Испытание
сваи динамической нагрузкой должно включать:
- при забивке сваи
- подсчеты количества ударов молота на каждый метр погружения и общего
количества ударов, а на последнем метре - на каждые 10 см погружения;
- при вибропогружении сваи - подсчеты времени на каждый метр
погружения, а на последнем метре - времени на каждые 10 см погружения;
- определение
отказов сваи при забивке после "отдыха", т.е. после перерыва между
окончанием забивки и началом добивки.
7.2.3.
Продолжительность "отдыха" устанавливается программой испытаний в зависимости
от состава, свойств и состояния прорезаемых грунтов и грунтов под нижним концом
сваи, но не менее:
3 сут - при песчаных грунтах, кроме водонасыщенных
мелких и пылеватых;
6 сут - при глинистых и разнородных грунтах.
Примечания. 1. При прорезании песчаных, а также просадочных
грунтов и наличии под острием сваи крупнообломочных, плотных песчаных или
глинистых грунтов твердой консистенции продолжительность "отдыха"
допускается сократить до 1 сут.
2. Более
продолжительный срок "отдыха" устанавливают:
- при прорезании водонасыщенных мелких
и пылеватых песков - не менее 10 сут;
- при прорезании глинистых грунтов мягко-
и текучепластичной консистенции - не менее 20 сут.
7.2.4. Добивку сваи производят последовательно залогами из 3 и 5
ударов. Высота падения ударной части молота при добивке
должна быть одинаковой для всех ударов. За расчетный принимают наибольший
средний отказ.
7.2.5. Забивку
эталонной сваи или сваи-зонда производят до достижения заданной глубины или до
резкого увеличения числа ударов (более 50 ударов на последних 10 см
погружения).
В процессе забивки
эталонной сваи или сваи-зонда следует постоянно контролировать вертикальность
звеньев сваи и стрелы копровой установки. Отклонение от вертикали погружаемых в
грунт звеньев не должно превышать 0,5 см на 1 м погружения. Отклонение мачты
установки для забивки сваи от вертикали не должно превышать 5°.
7.2.6. В процессе
испытания ведут журнал, форма которого приведена в Приложении Д.
7.3. Обработка
результатов
Результаты
испытаний оформляют в виде графиков изменения отказов по глубине и зависимости
общего количества ударов от глубины забивки сваи (Приложение Е).
Масштаб графиков
принимают:
- по вертикали - 1
см, равный 1 м глубины забивки сваи;
- по горизонтали -
1 см, равный 1 см отказа сваи, 50 ударам молота при забивке; 1 мин при вибропогружении.
8.
ИСПЫТАНИЯ ТАЛЫХ ГРУНТОВ СТАТИЧЕСКИМИ ВДАВЛИВАЮЩИМИ,
ВЫДЕРГИВАЮЩИМИ И
ГОРИЗОНТАЛЬНЫМИ НАГРУЗКАМИ
8.1. Испытания
грунтов забивной сваей следует начинать после ее "отдыха" согласно
7.2.3. Для свай, погруженных другими способами, начало испытаний определяется
программой испытаний, но не ранее чем через 1 сут
после их погружения.
При испытаниях
набивными (буронабивными) сваями начало испытаний назначают не ранее достижения
бетоном свай 80% проектной прочности.
8.2.
Проведение испытания талых грунтов статической вдавливающей нагрузкой
8.2.1. Нагружение испытываемой сваи (натурной, эталонной или
сваи-зонда) производят равномерно, без ударов, ступенями нагрузки, значение
которых устанавливается программой испытаний, но принимается не более 1/10
заданной в программе наибольшей нагрузки на сваю. При заглублении нижних концов
натурных свай в крупнообломочные грунты, гравелистые и плотные пески, а также глинистые
грунты твердой консистенции допускается первые три ступени нагрузки принимать равными 1/5 наибольшей нагрузки.
8.2.2. На
каждой ступени нагружения натурной сваи снимают
отсчеты по всем приборам для измерения деформаций в следующей последовательности:
нулевой отсчет - перед нагружением сваи, первый
отсчет - сразу после приложения нагрузки, затем последовательно четыре отсчета
с интервалом 30 мин и далее через каждый час до условной стабилизации
деформации (затухания перемещения).
При испытании
грунтов эталонной сваей или сваей-зондом отсчеты на каждой ступени нагружения снимают в следующей последовательности: первый
отсчет - сразу после приложения нагрузки, затем два отсчета с интервалом 15 мин
и далее с интервалом 30 мин до условной стабилизации деформации.
Расхождения в
показаниях приборов не должны превышать:
50% - при осадках
менее 1 мм;
30% - при осадках
от 1 до 5 мм;
20% - при осадках
более 5 мм.
8.2.3. За
критерий условной стабилизации деформации при испытании натурной сваей
принимают скорость осадки сваи на данной ступени нагружения,
не превышающую 0,1 мм за последние:
- 60 мин
наблюдений, если под нижним концом сваи залегают песчаные грунты или глинистые
грунты от твердой до тугопластичной консистенции;
- 2 ч наблюдений,
если под нижним концом сваи залегают глинистые грунты от мягкопластичной
до текучей консистенции.
При испытании свай
опор мостов за этот критерий принимают скорость осадки, не превышающую 0,1 мм за последние:
- 30 мин наблюдений
- при опирании сваи на крупнообломочные, песчаные
грунты и глинистые грунты твердой консистенции;
- 60 мин наблюдений
- при опирании сваи на глинистые грунты от
полутвердой до тугопластичной консистенции.
За критерий
условной стабилизации деформации при испытании эталонной сваей или сваей-зондом
принимают скорость осадки сваи на данной ступени нагружения,
не превышающую 0,1 мм за последние:
- 15 мин
наблюдений, если под нижним концом сваи залегают песчаные и глинистые грунты
твердой консистенции;
- 30 мин
наблюдений, если под нижним концом сваи залегают глинистые грунты от
полутвердой до тугопластичной консистенции;
- 60 мин
наблюдений, если под нижним концом сваи залегают глинистые грунты от мягкопластичной до текучей консистенции.
8.2.4.
Нагрузка при испытании натурной сваей должна быть доведена до значения, при
котором общая осадка сваи составляет не менее 40 мм. При испытании эталонной
сваей или сваей-зондом эта осадка должна быть не менее 20 мм.
При заглублении
нижних концов натурных свай в крупнообломочные, плотные песчаные и глинистые
грунты твердой консистенции нагрузка должна быть доведена до значения,
предусмотренного программой испытаний, но не менее
полуторного значения несущей способности сваи, определенной расчетом,
или расчетного сопротивления сваи по материалу.
При заглублении
нижних концов эталонных свай или свай-зондов в крупнообломочные грунты нагрузка
должна быть доведена до значения, предусмотренного программой испытаний.
При контрольном
испытании сваи при строительстве наибольшая нагрузка не должна превышать
расчетного сопротивления сваи по материалу.
8.2.5. После проведения испытания грунта эталонной сваей типа II для
оценки предельного сопротивления грунта под нижним концом сваи производят
вдавливание ее нижнего конца на 20 мм, а затем для оценки предельного
сопротивления грунта на боковой поверхности сваи - вдавливание или выдергивание
(в случаях, когда нижний конец сваи располагается в водонасыщенных
песках или супесях) ствола сваи на 12 мм.
Указанные испытания
проводят без "отдыха" ступенями нагрузок, значения которых назначают
согласно 8.2.1, и выдерживают в течение 15 мин.
В журнале испытаний
грунтов эталонной сваей указывают промежутки времени между окончанием
предыдущего и началом следующего испытания.
При использовании
эталонной сваи типа III помимо общей нагрузки на сваю на каждой ступени нагружения в сроки, указанные в 8.2.3, снимают показания по
датчику, регистрирующему сопротивление грунта под нижним концом сваи.
8.2.6. Разгрузку
сваи (натурной, эталонной или сваи-зонда) производят после достижения
наибольшей нагрузки (8.2.4) ступенями, равными удвоенным значениям ступеней нагружения, с выдержкой каждой ступени не менее 15 мин.
Отсчеты по приборам
для измерения деформаций снимают сразу после каждой ступени разгрузки и через
15 мин наблюдений.
После полной
разгрузки (до нуля) наблюдения за упругим перемещением сваи следует проводить в
течение 30 мин при песчаных грунтах, залегающих под нижним концом сваи, и 60
мин при глинистых грунтах, со снятием отсчетов через каждые 15 мин.
8.2.7. После
проведения испытания эталонной сваей или сваей-зондом их извлекают из грунта.
При этом выдергивающее усилие прикладывают без рывков и по оси сваи.
8.2.8. В процессе
испытания ведут журнал, форма которого приведена в Приложении Ж.
8.3. Проведение
ускоренного испытания талых грунтов статической вдавливающей нагрузкой при
инженерных изысканиях для строительства
При инженерных
изысканиях для строительства допускается проведение ускоренного испытания
грунтов статической вдавливающей нагрузкой натурной или эталонной сваей методом
релаксации напряжений, обеспечивающим получение графиков зависимости осадки
свай от нагрузки, идентичных графикам, получаемым методом, регламентируемым
8.2.
Рекомендации по
проведению испытания методом релаксации напряжений приведены в Приложении И.
8.4. Проведение
ускоренного контрольного испытания забивной сваи статической вдавливающей
нагрузкой
Нагружение забивной сваи при контрольных испытаниях свай при строительстве
допускается производить ступенями, равными 1/8 наибольшей нагрузки на сваю, с
выдержкой каждой ступени 1 ч. Разгрузку сваи производят за 4 ступени с
выдержкой каждой ступени 10 мин.
Наибольшую нагрузку
принимают равной полуторному значению расчетной нагрузки на сваю, указанной в
проекте свайного фундамента. Осадка сваи при достижении наибольшей нагрузки не
должна превышать осадки сваи, предусмотренной в проекте.
8.5. Проведение
испытания талых грунтов статической выдергивающей нагрузкой
8.5.1. Для
испытания статической выдергивающей нагрузкой не применяют бетонные и составные
сваи, железобетонные предварительно напряженные сваи без поперечного
армирования, набивные (буронабивные) сваи с уширенной пятой и винтовые сваи.
Допускается использовать
сваи, с помощью которых проводилось испытание грунтов статической вдавливающей
нагрузкой. При этом продолжительность "отдыха" сваи после предыдущих
испытаний принимают по указаниям 7.2.3.
8.5.2. Глубину
погружения сваи при испытании, проводимом с целью определения сил негативного
трения в просадочных грунтах, принимают равной
расстоянию от поверхности грунта до глубины, где просадка грунта от
собственного веса при замачивании равна предельно допустимой осадке для
проектируемого здания или сооружения.
8.5.3. Нагружение сваи статической выдергивающей нагрузкой и
снятие отсчетов по приборам производят в соответствии с требованиями 8.2.1 и
8.2.2 для натурной сваи.
8.5.4. За критерий
условной стабилизации деформации принимают скорость выхода сваи из грунта на
каждой ступени приложения выдергивающей нагрузки не более 0,1 мм за последние 2
ч наблюдений - для свай фундаментов зданий и сооружений (кроме мостов), а для
свай фундаментов опор мостов - не более 0,1 мм за последний час наблюдений.
8.5.5. Нагрузка при
испытании грунтов выдергивающей нагрузкой при инженерных испытаниях для
строительства должна быть доведена до значения, вызывающего выход сваи из
грунта не менее 25 мм.
8.5.6. Нагрузка при
контрольном испытании сваи выдергивающей нагрузкой при строительстве не должна
превышать расчетную выдергивающую нагрузку на сваю, указанную в проекте
свайного фундамента.
8.5.7. В процессе
испытания ведут журнал, форма которого приведена в Приложении Ж.
8.6. Проведение
испытания талых грунтов статической горизонтальной нагрузкой
8.6.1. Приборы для
измерения горизонтальных перемещений испытываемой сваи устанавливают в
плоскостях, параллельных плоскости действия силы, не менее двух: на уровне
поверхности грунта (в акваториях - поверхности воды) и на уровне приложения
горизонтальной нагрузки.
8.6.2. Нагружение сваи статической горизонтальной нагрузкой и
снятие отсчетов по приборам производят в соответствии с требованиями 8.2.1 и
8.2.2 для натурной сваи.
8.6.3. За критерий
условной стабилизации деформации принимают скорость горизонтального перемещения
сваи на каждой ступени приложения горизонтальной нагрузки, не превышающую 0,1
мм за последние 2 ч наблюдений по приборам, расположенным на уровне приложения
горизонтальной нагрузки.
Испытание без
условной стабилизации деформации допускается в тех случаях, когда
горизонтальные нагрузки, предусмотренные проектом, относятся к
кратковременным. При этом продолжительность каждой ступени нагружения
принимают не менее 5 мин.
8.6.4. Нагрузка при
испытании грунтов горизонтальной нагрузкой при инженерных изысканиях для
строительства должна быть доведена до значения, вызывающего горизонтальное
перемещение сваи не менее 40 мм на уровне приложения нагрузки, назначенном
программой испытаний.
8.6.5. Нагрузка при
контрольном испытании сваи горизонтальной нагрузкой при строительстве не должна
превышать расчетную горизонтальную нагрузку на сваю, указанную в проекте
свайного фундамента.
8.6.6. В процессе
испытания ведут журнал, форма которого приведена в Приложении Ж.
8.7. Обработка
результатов
8.7.1. Результаты
испытания грунтов сваей оформляют в виде графиков зависимости деформации
(осадки, выхода, горизонтального перемещения) сваи или отдельных ее элементов
(нижнего конца и ствола для эталонной сваи типов II и III) от нагрузки и
измерения деформации во времени по ступеням нагружения
(Приложения К, Л и М).
Допускается
использовать результаты испытания грунтов эталонной сваей типа III также для
построения графика зависимости осадки натурной забивной сваи от нагрузки
(Приложение Н).
8.7.2. Масштаб
графиков при испытании натурной сваей статической вдавливающей нагрузкой
принимают:
- по вертикали - 1
см, равный 1 мм осадки сваи;
- по горизонтали -
1 см, равный 50 кН (5 тс) нагрузки; 1 мм, равный 10 мин выдержки нагрузки.
Для эталонной сваи
или сваи-зонда:
- по вертикали - 1
см, равный 1 мм осадки сваи;
- по горизонтали -
1 см, равный 25 кН (2,5 тс) нагрузки и 30 мин выдержки нагрузки.
Для эталонной сваи
или сваи-зонда при изменении масштаба графиков (4.9) в пределах одного объекта
должен соблюдаться один и тот же масштаб.
8.7.3. Масштаб
графиков при испытании статической выдергивающей нагрузкой принимают:
- по вертикали - 1
см, равный 1 мм выхода сваи;
- по горизонтали -
1 см, равный 50 кН (5 тс) нагрузки; 1 мм, равный 10 мин выдержки нагрузки.
8.7.4. Масштаб
графиков при испытании статической горизонтальной нагрузкой принимают:
- по вертикали - 1
см, равный 5 кН (0,5 тс) нагрузки; 1 мм, равный 10 мин выдержки нагрузки;
- по горизонтали -
1 см, равный 1 мм горизонтального перемещения сваи.
8.7.5. Частные
значения предельного сопротивления сваи по грунту по результатам полевых
испытаний талых грунтов сваями определяют по указаниям СНиП 2.02.03.
9.
ИСПЫТАНИЯ ВЕЧНОМЕРЗЛЫХ ГРУНТОВ
СТАТИЧЕСКИМИ
ВДАВЛИВАЮЩИМИ И ВЫДЕРГИВАЮЩИМИ НАГРУЗКАМИ
9.1. Испытания
вечномерзлых грунтов следует начинать только после полного вмерзания
испытываемой сваи в грунт. При этом средняя по длине ее боковой поверхности
температура не должна быть выше температуры окружающего грунта или температуры,
предусмотренной программой испытаний.
При испытаниях бурозабивными и забивными сваями начало испытаний назначают
не ранее чем через неделю после их забивки, буронабивными - не ранее достижения
бетоном свай 80% проектной прочности.
9.2. Не допускается
проводить испытания статической выдергивающей нагрузкой сваями, входящими в
состав свайного фундамента.
9.3. Проведение
испытаний вечномерзлых грунтов статической вдавливающей и выдергивающей
нагрузками при инженерных изысканиях для строительства
9.3.1. Испытания
проводят преимущественно в период максимальных отрицательных температур
вечномерзлого грунта.
9.3.2. Нагружение испытываемой сваи производят равномерно, без
ударов, ступенями нагрузки, значение которых определяется программой испытаний,
но принимается не более 1/5 заданной в программе наибольшей нагрузки на сваю
для первых трех ступеней и 1/10 - для последующих ступеней нагружения.
9.3.3. На
каждой ступени нагружения снимают отсчеты по всем
приборам для измерения деформаций в следующей последовательности: нулевой
отсчет - перед нагружением сваи, первый отсчет -
сразу после приложения нагрузки, затем последовательно через 30 мин, 1, 2, 4,
8, 16 и 24 ч и далее с интервалами 24 ч.
Расхождения в
показаниях приборов не должны превышать значений, указанных в 8.2.2.
9.3.4.
Каждую ступень нагружения выдерживают до условной
стабилизации деформации (осадки, выхода) сваи, но не менее 24 ч.
За критерий
условной стабилизации деформации принимают скорость осадки (выхода) сваи на
данной ступени нагружения, не превышающую 0,2 мм за
последние 24 ч наблюдений.
9.3.5. Нагрузка
должна быть доведена до значения, при котором на данной ступени нагружения не происходит условной стабилизации деформации.
Испытание на этой ступени нагружения заканчивают
после достижения значения осадки (выхода), не менее чем в три раза превышающего
значение осадки (выхода) на предыдущей ступени при общей осадке не менее 25 мм
или выходе не менее 10 мм.
Если нагрузка
доведена до наибольшего значения, заданного программой испытаний, и при этом
осадка (выход) больше 0,2 мм/сут, то испытания
допускается заканчивать.
9.3.6. Разгрузку
сваи после окончания испытания производят ступенями, равными удвоенным
значениям ступеней нагрузки. Продолжительность ступени разгрузки принимают не
менее 15 мин.
9.3.7. В случае
непредвиденного перерыва в испытании производят полную разгрузку сваи ступенями
согласно 9.3.6. После полной разгрузки обязательно проводят измерения упругих
перемещений через каждые 15 мин и заканчивают при приращении перемещения,
равном 0,01 мм. После перерыва испытание должно быть продолжено, начиная с
нагрузки, при которой произошел перерыв в испытании.
9.3.8. В процессе
испытания ведут журнал, форма которого приведена в Приложении П.
9.4. Проведение
контрольного испытания сваи в вечномерзлых грунтах при строительстве
9.4.1. Нагружение испытываемой сваи производят ступенями нагрузки,
значение которых принимают по указаниям 9.3.2, продолжительностью каждая 24 ч.
9.4.2. На каждой
ступени нагружения снимают отсчеты по приборам для
измерения деформаций в последовательности, установленной 9.3.3 для первых 24 ч
от начала ступени.
9.4.3.
Нагрузка должна быть доведена до значения, при котором осадка (выход) сваи развивается с увеличивающейся скоростью. При
этом нагрузка не должна превышать наибольшую нагрузку на сваю, предусмотренную
программой испытаний.
9.4.4. В процессе
испытания ведут журнал, форма которого приведена в Приложении П.
9.5. Проведение
ускоренного испытания вечномерзлых грунтов статической вдавливающей нагрузкой
Испытание при
инженерных изысканиях для строительства, а также контрольное испытание сваи при
строительстве статической вдавливающей нагрузкой допускается проводить
ускоренным методом с динамометрическим загружением.
Рекомендации по
проведению испытания этим методом приведены в Приложении Р.
9.6. Обработка
результатов
9.6.1. Результаты
испытания грунтов оформляют в виде:
-
инженерно-геокриологического разреза с графиками распределения суммарной
влажности (льдистости) и температуры по глубине грунта (Приложение С). График
используют для установления возможности и целесообразности применения забивных
и бурозабивных свай;
- графиков
зависимости деформации (осадки, выхода) сваи от нагрузки (Приложения Т и У);
- графиков
изменения деформации во времени по ступеням нагружения
(Приложения Т и У).
9.6.2. Масштаб
графиков принимают:
- по вертикали - 1
см, равный 1 м глубины инженерно-геокриологического разреза, 1 м глубины
погружения сваи или 1 мм перемещения (осадки, выхода) сваи;
- по горизонтали -
1 см, равный 0,2 долей единицы влажности (льдистости) и 1 °С
температуры грунта - для инженерно-геокриологического разреза; 100 кН (10 тс)
нагрузки или 5 ч выдержки нагрузки.
9.6.3. Частные
значения предельно длительного сопротивления сваи по результатам полевых
испытаний вечномерзлых грунтов сваями определяют по указаниям Приложения Ф.
Приложение А
(обязательное)
ТРЕБОВАНИЯ
К ПРОГРАММЕ ПОЛЕВЫХ ИСПЫТАНИЙ ГРУНТОВ СВАЯМИ
1. Программа
полевых испытаний грунтов сваями (натурными, эталонными, сваями-зондами),
проводимых при инженерных изысканиях для строительства, должна быть составлена
с учетом:
- имеющихся
результатов инженерных изысканий и, в особенности, результатов статического
зондирования;
- прогноза
возможности изменения инженерно-геологических и гидрогеологических условий в
процессе возведения и эксплуатации зданий и сооружений;
- характеристики
проектируемых зданий и сооружений и их несущих конструкций;
- предполагаемых
значений расчетных нагрузок или усилий, действующих на фундаменты проектируемых
зданий и сооружений;
- намечаемых
проектных отметок планировки застраиваемой территории и положения подошвы
свайных ростверков;
- эксплуатационных
требований к предельно допускаемым перемещениям конструкций и, в частности,
перемещениям на уровне подошвы свайного ростверка;
- результатов
полевых испытаний грунтов сваями, ранее проводившихся на близрасположенных
объектах с аналогичными грунтовыми условиями, а также опыта их строительства и
эксплуатации.
2. Программа
полевых контрольных испытаний свай при строительстве должна быть составлена с
учетом принятых в проекте:
- вида и
конструкций свай, их формы и размеров;
- способов
погружения свай или их устройства;
- расчетных нагрузок
на сваи;
- грунтовых условий
объекта, принятых в проекте по результатам инженерно-геологических изысканий.
3. В программе
полевых испытаний грунтов сваями должны быть предусмотрены:
- места проведения
испытаний;
- количество
испытываемых свай;
- конструктивная
схема установки для испытания свай;
- направление и
значение ступеней нагрузок при испытаниях;
- наибольшие
нагрузки или наименьшие перемещения свай при испытаниях (осадки, выходы из
грунта, горизонтальные перемещения);
- материалы, вид, размеры
и конструкции испытываемых свай, глубина их погружения, а также проектный отказ
для забивных свай (упругая и остаточная части отказа при возможности их
измерения);
- способы
погружения или устройства испытываемых свай;
- вид, материал,
размеры, конструкция, глубина погружения при использовании анкерных свай.
Примечание.
Количество испытываемых свай при строительстве должно составлять:
- при испытании
свай динамической нагрузкой - до 1% от общего количества свай на данном
объекте, но не менее 6 шт.;
- при испытании
свай статической вдавливающей нагрузкой - до 0,5% от общего количества свай на
данном объекте, но не менее 2 шт.;
- при испытании
свай статической выдергивающей или горизонтальной нагрузкой - не менее 2 шт.
4. В программе
полевых испытаний грунтов сваями, проводимых на акваториях, должны быть также
отражены:
- температура воды;
- режим волнения
или ледовый режим;
- скорость и
направление течений;
- специфические
условия, характеризующие конкретный водоем или морскую акваторию.
5. В программе
должно содержаться технико-экономическое обоснование необходимости полевых
испытаний грунтов сваями, а также вида испытаний.
Приложение Б
(рекомендуемое)
ПРИНЦИПИАЛЬНЫЕ
СХЕМЫ УСТАНОВОК
ДЛЯ ПОЛЕВЫХ
ИСПЫТАНИЙ ГРУНТОВ СВАЯМИ
Схемы установок для
испытаний грунтов
статической
вдавливающей нагрузкой
Установка с
гидравлическим домкратом,
системой балок и
анкерными сваями

Установка с
грузовой платформой, служащей упором
для гидравлического
домкрата

Установка с
тарированным грузом

Установка
комбинированная

Схема установки для
испытания грунтов
статической
выдергивающей нагрузкой

Схема установки для
испытания грунтов
статической
горизонтальной нагрузкой

1 - испытываемая
свая; 2 - анкерная свая; 3 - реперная система
с прогибомерами; 4 - домкрат с манометром; 5 - система
упоров, балок; 6 -
грузовая платформа; 7 - опора;
8 - груз (упор для
домкрата); 9 - тарированный груз;
10 -
термометрическое устройство; 11 - опорная плита-оголовок
Приложение В
(рекомендуемое)
СХЕМЫ КОНСТРУКЦИЙ
ЭТАЛОННОЙ СВАИ И СВАИ-ЗОНДА
Схема конструкции
сваи-зонда

1 - труба (ствол
сваи); 2 - наконечник; 3 - муфта трения;
4 - гидроцилиндр
Схемы конструкций
эталонной сваи
Общий вид

Нижняя часть с
наконечником

1 - труба (ствол
сваи); 2 - ниппель; 3 - наголовник;
4 - глухой
наконечник; 5 - муфта; 6 - выдвигаемый наконечник;
7 - датчик усилия;
8 - наконечник; 9 - войлочная прокладка;
10 - болт для
крепления датчика усилия к наконечнику
Приложение
Г
(рекомендуемое)
СХЕМА
РАСПОЛОЖЕНИЯ ВЫРАБОТОК
ДЛЯ ЛОКАЛЬНОГО
ЗАМАЧИВАНИЯ ГРУНТА В ОСНОВАНИИ СВАИ

1 - испытываемая
свая; 2 - траншея; 3 - дренажная скважина
Приложение Д
(рекомендуемое)
Организация
___________________ Пункт
___________________________
Объект
__________________________
Сооружение
______________________
ЖУРНАЛ
полевого испытания
талых грунтов
динамической нагрузкой
Дата испытания: начало "___" _______________ 199
____ г.
окончание "___"
_______________ 199 ____ г.
Свая N _____________________ Дата погружения сваи
Вид сваи ___________________ "___" ____________ 199 ___
г.
Материал сваи ______________ Копер ___________________________
Дата изготовления сваи _____ Молот (тип) _____________________
Сечение (диаметр) сваи на Общая масса молота ___________ тс
верхнем и нижних концах
____ Масса ударной части молота ____
т
_________________________ см Паспортная энергия удара молота
Длина сваи (без острия) ____ __________________________ кг х м
__________________________ м Паспортное количество ударов в
Длина острия _____________ м минуту __________________________
Масса сваи _______________ т Масса наголовника _____________ т
Паспорт предприятия- Прокладка в наголовнике _________
изготовителя _______________ Способ измерения перемещений сваи
(отказомером, линейкой и др.) ___
Забивка сваи
┌────────┬───────────────┬───────┬───────┬────────────┬──────────┐
│Глубина
│Число ударов на│Высота │Средний│Число ударов│Примечание│
│забивки,│
1 м или 10 см │подъема│ отказ,│ с начала
│ │
│ м │
погружения
│ударной│ см │
забивки │ │
│ │ │ части │ │ │ │
│ │ │молота,│ │ │ │
│ │ │ см │
│ │ │
├────────┼───────────────┼───────┼───────┼────────────┼──────────┤
│ │ │ │ │ │ │
Ближайшая геологическая
выработка N ____________________ Абсолютные отметки:
пройдена "___"
_____ 199 ____ г. - головы сваи после
забивки __ м
Расстояние выработки - нижнего конца ______________ м
от сваи ______________________ м - поверхности грунта у сваи __ м
Краткая характеристика инженер- Глубина забивки сваи _________ м
но-геологического разреза в Состояние головы сваи после за-
месте расположения сваи
________ бивки
__________________________
________________________________ ________________________________
________________________________ ________________________________
________________________________ ________________________________
Температура воды (при
испытаниях
________________________________
на акватории) _______________ °С Температура воздуха __________°С
Добивка сваи
|
Дата
|
Время "отдыха",
сут
|
Число ударов
|
Отказ,
см
|
Средний
отказ от
одного удара, см
|
|
|
|
3
|
|
|
|
5
|
|
|
Способ измерения перемещений
сваи (отказомером,
линейкой и
др.) ________________________
Схема расположения
точек испытаний,
а также ближайших
инженерно-геологических
выработок и точек
зондирования
В журнале пронумеровано _________ стр.; заполнено
___________ стр.
Начальник полевого подразделения ________________ ____________
(подпись) (Ф.И.О.)
Наблюдатели ________________ ____________
(подпись) (Ф.И.О.)
________________ ____________
(подпись) (Ф.И.О.)
Представитель организации,
забивающей сваи ________________ ____________
(подпись) (Ф.И.О.)
Приложение Е
(рекомендуемое)
ОБРАЗЕЦ
ГРАФИЧЕСКОГО ОФОРМЛЕНИЯ
РЕЗУЛЬТАТОВ
ПОЛЕВОГО ИСПЫТАНИЯ ТАЛЫХ ГРУНТОВ
ДИНАМИЧЕСКОЙ
НАГРУЗКОЙ

Приложение Ж
(рекомендуемое)
Организация
_____________________ Пункт
_____________________
Объект
____________________
Сооружение ________________
ЖУРНАЛ
полевого испытания
талых грунтов
статическими вдавливающими,
выдергивающими
и горизонтальными
нагрузками
Дата
испытания: начало "___"
___________ 199 ___ г.
окончание: "___" ___________ 199 ___ г.
Свая N _________________________ Дата погружения сваи
Вид сваи _______________________ "___" __________ 199 ___ г.
Материал сваи __________________ Способ погружения или устройства
Дата изготовления сваи _________ ________________________________
Сечение (диаметр) сваи на Оборудование, применявшееся при
верхнем и нижнем концах
_____ см погружении или устройстве сваи
Длина сваи (без острия) ______ м ________________________________
Длина острия _________________ м Абсолютные отметки:
Масса сваи ___________________ т - головы сваи после погружения
Ближайшая геологическая ______________________________ м
выработка N ____________________ - головы сваи перед испытанием
пройдено
"___" ___ 199__ г.
______________________________ м
Расстояние выработки от сваи _ м - нижнего конца
Краткая характеристика инженер- ______________________________ м
но-геологического разреза
в - поверхности грунта у сваи
месте расположения сваи
________ ______________________________
м
________________________________ Состояние головы сваи после пог-
________________________________ ружения (забивки)
______________
________________________________ ________________________________
Температура воздуха _________ °С Глубина погружения (заложения)
Температура воды (при
испытаниях сваи _________________________
м
на акватории)________________ °С Тип приборов для измерения
перемещений
сваи _______________
________________________________
________________________________
Схема
испытательной
установки и расположения приборов
для измерения
перемещений сваи, а также расположения
ближайших
инженерно-геологических выработок
и точек
зондирования
Приложение К
(рекомендуемое)
ОБРАЗЕЦ
ГРАФИЧЕСКОГО ОФОРМЛЕНИЯ
РЕЗУЛЬТАТОВ
ПОЛЕВОГО ИСПЫТАНИЯ ТАЛЫХ ГРУНТОВ
СТАТИЧЕСКОЙ
ВДАВЛИВАЮЩЕЙ НАГРУЗКОЙ
1. Для натурной
сваи
График зависимости
осадки сваи S от нагрузки P

График изменения
осадки сваи S во времени
(по ступеням нагружения)

2. Для эталонной
сваи и сваи-зонда
График зависимости
осадки сваи S от нагрузки P

График изменения
осадки сваи S во времени t
(по ступеням нагружения)

Примечание.
Аналогично графику S = f(P) зависимости общей осадки сваи S от нагрузки P
строят графики зависимости перемещений наконечника и ствола эталонных свай
типов II и III и сваи-зонда от нагрузки.
Приложение
Л
(рекомендуемое)
ОБРАЗЕЦ
ГРАФИЧЕСКОГО ОФОРМЛЕНИЯ
РЕЗУЛЬТАТОВ
ПОЛЕВОГО ИСПЫТАНИЯ ТАЛЫХ ГРУНТОВ
СТАТИЧЕСКОЙ
ВЫДЕРГИВАЮЩЕЙ НАГРУЗКОЙ
График зависимости
выхода сваи
из грунта
от нагрузки


График изменения
выхода сваи из грунта
по времени t
(по ступеням нагружения)

Приложение
М
(рекомендуемое)
ОБРАЗЕЦ
ГРАФИЧЕСКОГО ОФОРМЛЕНИЯ
РЕЗУЛЬТАТОВ
ПОЛЕВОГО ИСПЫТАНИЯ ТАЛЫХ ГРУНТОВ
СТАТИЧЕСКОЙ
ГОРИЗОНТАЛЬНОЙ НАГРУЗКОЙ
График зависимости
горизонтального перемещения
сваи
от нагрузки


График изменения
горизонтального перемещения
сваи
во времени t (по ступеням нагружения)

Приложение
Н
(рекомендуемое)
ОПРЕДЕЛЕНИЕ
ОСАДКИ ЗАБИВНОЙ СВАИ ПО РЕЗУЛЬТАТАМ
ПОЛЕВОГО ИСПЫТАНИЯ
ТАЛЫХ ГРУНТОВ ЭТАЛОННОЙ СВАЕЙ
Результаты
испытания талых грунтов эталонной сваей типа III позволяют построить график
зависимости осадки натурной сваи от нагрузки с использованием формулы
, (1)
где
- сопротивление натурной сваи при осадке s,
задаваемой при построении графика, кН;
-
коэффициент условия работы грунта под концом сваи, принимаемый по таблице 1 в
зависимости от удельного сопротивления грунта под концом эталонной сваи и
относительной осадки натурной сваи
(где d - приведенный диаметр сваи);
-
удельное сопротивление грунта под концом эталонной сваи при ее осадке s, кПа;
A - площадь
поперечного сечения натурной сваи, м2;
-
коэффициент условий работы грунта на боковой поверхности сваи, определяемый по
формуле
;
-
коэффициент условий работы i-го слоя грунта на
боковой поверхности сваи, принимаемый по табл. 2 в зависимости от вида грунта и
значения удельного сопротивления на боковой поверхности
при осадке s;
-
толщина i-го слоя грунта, м;
-
среднее значение удельного сопротивления грунта на боковой поверхности
эталонной сваи при ее осадке s, кПа;
u - периметр
поперечного сечения натурной сваи, м;
h - глубина
погружения натурной сваи, м.
Таблица 1
┌───────────┬────────────────────────────────────────────────────┐
│ │
s/d │
│Значение │
Значение коэффициента условий работы гамма
│
│относитель-│
CR │
│ной
осадки │ при достигнутом удельном
сопротивлении грунтов │
│натурной │ s │
│сваи
s/d │ под концом эталонной сваи R ,
МПа │
│
├─────┬─────┬────┬────┬────┬────┬────┬────┬────┬─────┤
│ │<= 1 │ 2
│ 3 │ 4 │ 5
│ 6 │ 7 │ 8
│ 9 │>= 10│
├───────────┼─────┼─────┼────┼────┼────┼────┼────┼────┼────┼─────┤
│<=
0,005 │0,78 │0,58
│0,38│0,28│0,18│0,17│0,17│0,16│0,16│0,15
│
│ 0,010
│1,00 │0,75
│0,57│0,45│0,35│0,27│0,20│0,18│0,18│0,17
│
│ 0,015
│1,30 │0,95
│0,75│0,62│0,50│0,44│0,38│0,32│0,30│0,28
│
│ 0,020
│1,60 │1,17
│0,95│0,78│0,68│0,60│0,55│0,45│0,38│0,36
│
│ 0,040
│1,75 │1,35
│1,10│0,95│0,80│0,72│0,65│0,62│0,59│0,57
│
│>=
0,080 │1,95 │1,50
│1,22│1,08│0,90│0,80│0,75│0,70│0,65│0,62
│
└───────────┴─────┴─────┴────┴────┴────┴────┴────┴────┴────┴─────┘
Таблица 2
┌─────────┬──────────────────────────────────────────────────────┐
│
Грунты │ Значение коэффициента условий работы гамма
│
│ │ cf │
│ │ при удельном сопротивлении
грунтов │
│ │ s │
│ │ на боковой поверхности f , кПа │
│
├────────┬──────┬───────┬──────┬───────┬───────┬───────┤
│ │ <= 20 │
40 │ 60
│ 80 │
100 │ 120
│ >= 140│
├─────────┼────────┼──────┼───────┼──────┼───────┼───────┼───────┤
│Песчаные
│ 2,16 │ 1,38 │ 1,12 │ 1,00 │ 0,92 │ 0,87
│ 0,83 │
│Глинистые│ 1,45
│ 0,97 │ 0,79 │
0,70 │ 0,65 │ 0,62 │ 0,59
│
└─────────┴────────┴──────┴───────┴──────┴───────┴───────┴───────┘
Частное значение
предельного сопротивления натурной забивной сваи по результатам полевого
испытания талых грунтов эталонной сваей типа III определяют с помощью
построенного графика по указаниям разд. 5 СНиП 2.02.03.
Приложение П
(рекомендуемое)
Организация
_______________________ Пункт
_______________________
Объект
______________________
Сооружение
__________________
ЖУРНАЛ
полевого испытания
вечномерзлых грунтов статическими
вдавливающими и
выдергивающими нагрузками
Дата
испытания: начало "____"
____________________ 199_ г.
окончание "____"
____________________ 199_ г.
Свая N _________________________ Дата погружения
сваи
Вид сваи _______________________ "___" __________ 199_ г.
Материал сваи __________________ Способ погружения
или
Дата изготовления сваи _________ устройства
______________________
Сечение (диаметр) сваи на Оборудование, применявшееся для
верхнем и нижнем концах
_____ см бурения скважин и погружения
Длина сваи (без острия) ______ м
(устройства) сваи _______________
Длина острия _________________ м
_________________________________
Масса сваи ___________________ т
_________________________________
Способ исключения сезонного Лидерная
скважина:
смерзания грунта со сваей ______ диаметр _____________________ см
Ближайшая геологическая выработ- глубина ______________________ м
ка ___________________________ N способ проходки ________________
пройдено
"___" _______ 199_ г. Абсолютные отметки:
Расстояние выработки от сваи _ м головы сваи после погружения _ м
Краткая характеристика инженер- головы сваи перед испытанием _ м
но-геокриологического
разреза нижнего конца сваи
___________ м
в месте расположения сваи ______ забоя лидерной
скважины ______ м
________________________________ поверхности грунта у сваи ____ м
________________________________ верхней границы вечномерзлых
________________________________ грунтов ______________________ м
Время погружения сваи ______ мин Состояние головы
сваи после пог-
Продолжительность вмерзания
сваи ружения (забивки) _______________
____________________________ сут
Глубина погружения сваи
Тип приборов для измерения: общая
________________________ м
перемещения сваи _______________ ниже максимального сезонного
________________________________ промерзания-оттаивания _______ м
температура грунта _____________ ниже верхней границы вечномерз-
________________________________ лых грунтов
__________________ м
ниже забоя
скважины __________ м
Схема испытательной
установки и расположения приборов
для измерения
перемещений сваи и температуры грунта,
а также
расположения ближайших
инженерно-геокриологических
выработок