Принят МНТКС
10 ноября 1993 года
МЕЖГОСУДАРСТВЕННЫЙ СТАНДАРТ
КОНСТРУКЦИИ ЖЕЛЕЗОБЕТОННЫЕ
МАГНИТНЫЙ МЕТОД ОПРЕДЕЛЕНИЯ ТОЛЩИНЫ
ЗАЩИТНОГО СЛОЯ БЕТОНА И РАСПОЛОЖЕНИЯ АРМАТУРЫ
Reinforced
concrete structures.
Magnetic method for the
determination of the thickness
of concrete
protection layer and the
location of the reinforcement
ГОСТ 22904-93
Группа Ж39
ОКП 58 0000
Дата введения
1 января 1995 года
Предисловие
1. Разработан Научно-исследовательским институтом строительных
конструкций (НИИСК) и Научно-исследовательским, проектно-конструкторским и
технологическим институтом бетона и железобетона (НИИЖБ).
2. Принят
Межгосударственной научно-технической комиссией по стандартизации и
техническому нормированию в строительстве (МНТКС) 10 ноября 1993 г.
За принятие
проголосовало:
───────────────────────────┬──────────────────────────────────────
Наименование государства │ Наименование органа государственного
│ управления строительством
───────────────────────────┼──────────────────────────────────────
Азербайджанская
Республика │Госстрой Азербайджанской Республики
Республика
Армения │Госупрархитектуры Республики Армения
Республика
Беларусь │Госстрой
Республики Беларусь
Республика
Казахстан │Минстрой
Республики Казахстан
Кыргызская
Республика │Госстрой
Кыргызской Республики
Республика
Молдова │Минархстрой Республики Молдова
Российская
Федерация │Госстрой России
Республика
Таджикистан │Госстрой
Республики Таджикистан
Республика
Узбекистан │Госкомархитектстрой Республики
│Узбекистан
Украина │Минстройархитектуры
Украины
3. Взамен ГОСТ
22904-78.
1. ОБЛАСТЬ
ПРИМЕНЕНИЯ
Настоящий стандарт
распространяется на сборные и монолитные железобетонные конструкции зданий и
сооружений (далее - конструкции), изготовляемые из бетона различных видов, и
устанавливает магнитный метод определения толщины защитного слоя бетона и
расположения стальной арматуры в указанных конструкциях.
Данный метод
применяют для контроля качества при изготовлении и монтаже сборных и возведении
монолитных железобетонных конструкций, при обследовании состояния
эксплуатируемых железобетонных конструкций, а также для проверки эффективности
технологических мероприятий, применяемых для фиксации стальной арматуры в
проектном положении.
2.
НОРМАТИВНЫЕ ССЫЛКИ
В настоящем
стандарте использованы ссылки на следующие стандарты:
ГОСТ 8.001-80 ГСИ.
Организация и порядок проведения государственных испытаний средств измерений
ГОСТ 8.326-89 ГСИ.
Метрологическая аттестация средств измерений
ГОСТ 8.383-80 ГСИ.
Государственные испытания средств измерений. Основные положения
3.
ОПРЕДЕЛЕНИЯ
Применяемые в
настоящем стандарте термины и их определения приведены в Приложении А.
4. ОСНОВНЫЕ
ПОЛОЖЕНИЯ
4.1. Магнитный
метод основан на взаимодействии магнитного или электромагнитного поля прибора
со стальной арматурой железобетонной конструкции.
4.2. Толщину
защитного слоя бетона и расположение стальной арматуры в конструкции определяют
на основе экспериментально установленной зависимости между показаниями прибора
и указанными контролируемыми параметрами конструкции.
5. СРЕДСТВА КОНТРОЛЯ
5.1. Для
определения толщины защитного слоя бетона и расположения стальной арматуры в
железобетонной конструкции применяют магнитные, электромагнитные или вихретоковые приборы, включающие измерительный блок,
измерительный преобразователь и блок питания.
5.2. Приборы должны
обеспечивать контроль расположения арматуры в конструкции и измерение толщины
защитного слоя бетона
в зависимости от номинального диаметра
арматуры согласно таблице 1.
Таблица 1
В миллиметрах
─────────────────────────────────┬────────────────────────────────
Номинальный диаметр арматуры d │ Диапазон толщины защитного слоя
н │ бетона t
│ pz
─────────────────────────────────┼────────────────────────────────
От 4 до 10 включ. │ 5 - 30
" 12 " 32 " │ 10 - 60
Св. 32 │ 40 - 120
Допускается
применение приборов, обеспечивающих измерения только в одном или двух из
указанных в таблице 1 диапазонов, а также приборов, позволяющих определять
только расположение стальной арматуры.
5.3. Предел
допускаемой погрешности измерения при определении расположения одиночного
арматурного стержня не должен быть более +/- 10 мм.
5.4. Предел
допускаемой погрешности измерения толщины защитного слоя
бетона
для одиночного арматурного стержня не должен
быть более
мм.
5.5. Предел
допускаемой погрешности измерения толщины защитного слоя
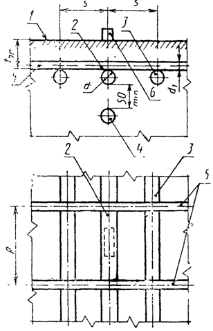
бетона для конструкции с перекрестным армированием (чертеж 1) должен
соответствовать значению, указанному в 5.4, при условии:
а) толщина
защитного слоя бетона
<= 60 мм;
б) шаг продольных
стержней s, мм, не менее:
100 - при
их диаметре от 4 до 10 мм включ.
150 "
" " " 12
" 22 " "
200 "
" " св. 22 мм;
в) шаг поперечных
стержней р - не менее 150 мм:
для поперечных
стержней диаметром
= 4 мм при диаметре продольных стержней 10 мм
и менее;
для поперечных
стержней диаметром
более 4 мм - равным или больше 0,4
номинального диаметра продольных стержней при их диаметре более 10 мм;
г) расстояние в
свету до стержня второго ряда армирования (при его наличии) - не менее 50 мм.

Чертеж 1.
Схема перекрестного армирования конструкции
1 - поверхность
бетона конструкции (фрагмента);
2 - продольный
арматурный стержень,
для которого
определяют толщину защитного слоя бетона;
3 - соседние продольные
стержни первого ряда армирования;
4 - продольный
стержень второго ряда армирования;
5 - поперечные
стержни; 6 - преобразователь прибора
При других
значениях параметров перекрестного армирования конструкции предел допускаемой
погрешности измерения устанавливают исходя из индивидуальной градуировочной зависимости.
5.6. Средства измерения, выпускаемые серийно, допускается применять,
если они прошли государственные или ведомственные испытания в соответствии с
ГОСТ 8.001, ГОСТ 8.383 и внесены в государственный или ведомственный реестр, о
чем должна иметься отметка или запись в эксплуатационных документах (паспортах,
формулярах, инструкциях по эксплуатации) средства измерения, а также прошли
первичную поверку при их выпуске, что удостоверено свидетельством о поверке или
записью в паспорте средства измерения.
5.7. Средства
измерения, выпускаемые единичными экземплярами или ввозимые из-за границы в
единичных экземплярах, допускается использовать, если они прошли аттестацию в
соответствии с ГОСТ 8.326, что удостоверено свидетельством о метрологической
аттестации.
5.8. В процессе
эксплуатации средства измерения должны проходить периодические поверки в
соответствии с указаниями в эксплуатационных документах (для средств измерения,
выпускаемых серийно) или в акте метрологической аттестации.
Межпроверочный срок между двумя последовательными поверками средств измерения
принимают по их эксплуатационным документам или акту метрологической
аттестации.
После ремонта
средства измерения следует проводить внеочередные его поверки.
5.9. Технические
характеристики приборов типа ИЗС-10Н приведены в Приложении Б.
6. ПОРЯДОК
ПОДГОТОВКИ И ПРОВЕДЕНИЯ ИСПЫТАНИЙ
6.1. До проведения
испытаний сопоставляют технические характеристики применяемого прибора
(регламентируемые разделом 5 параметры армирования конструкции) с
соответствующими проектными (ожидаемыми) значениями геометрических параметров
армирования контролируемой железобетонной конструкции.
При несоответствии
технических характеристик прибора параметрам армирования контролируемой
конструкции необходимо установить индивидуальную градуировочную
зависимость в соответствии с разделом 7.
6.2. Число и
расположение контролируемых участков конструкции назначают в зависимости от:
- цели и условий
испытаний;
- особенностей
проектного решения конструкции;
- технологии
изготовления или возведения конструкции с учетом фиксации арматурных стержней;
- условий
эксплуатации конструкции с учетом агрессивности внешней среды.
6.3. На поверхности
конструкции в местах измерений не должно быть наплывов высотой более 3 мм.
6.4. Работу с
прибором следует проводить в соответствии с инструкцией по его эксплуатации.
6.5. При толщине
защитного слоя бетона меньшей предела измерения применяемого
прибора испытания проводят через прокладку толщиной (10,0 +/- 0,1) мм из
материала, не обладающего магнетическими свойствами.
Фактическую толщину
защитного слоя бетона в этом случае определяют как разность между результатами
измерения и толщиной этой прокладки.
6.6. При контроле
расположения стальной арматуры в бетоне конструкции, для которой отсутствуют
данные о диаметре арматуры и глубине ее расположения, определяют схему
расположения арматуры и измеряют ее диаметр. Допускается приближенное
определение диаметра арматуры по методике, приведенной в Приложении Г.
7. УСТАНОВЛЕНИЕ ИНДИВИДУАЛЬНОЙ
ГРАДУИРОВОЧНОЙ
ЗАВИСИМОСТИ
7.1. Градуировочную зависимость для определения толщины
защитного слоя бетона устанавливают для конкретной железобетонной конструкции,
используя фрагмент ее армирования с длиной арматурных стержней не менее 400 мм.
Измерения выполняют
в практически необходимом диапазоне толщин защитного слоя бетона через 5 - 10
мм.
7.2.
Измерения проводят на специальном стенде при температуре и влажности окружающей
среды, которые установлены как нормальные в эксплуатационной документации на
используемый прибор.
Стенд должен
обеспечивать:
- проведение
испытаний с одиночными арматурными стержнями требуемых диаметров и с
фрагментами армирования этой конкретной конструкции;
- установку зазора,
имитирующего слой бетона, в диапазоне измерений прибора с погрешностью не более
+/- 0,2 мм. Зазор образуется прокладками из материала, не влияющего на
показания прибора (например оргстекло, фанера), или
через слой воздуха.
Металлические узлы
стенда должны быть расположены на расстоянии, исключающем их влияние на
показания прибора.
Продольные оси
преобразователя и образца арматурного стержня должны быть параллельны между
собой и находиться в одной плоскости, перпендикулярной рабочей поверхности
преобразователя прибора.
7.3. При
установлении градуировочной зависимости применяют
следующий порядок операций:
- размещение на
стенде образца арматурного стержня требуемого диаметра или фрагмента
армирования конструкции;
- установка с
помощью прокладок или слоя воздуха необходимого зазора;
- проведение
измерений с отсчетом в условных единицах;
- фиксация
результатов проведенных измерений.
7.4. Для
установления градуировочной зависимости измерения
необходимо провести не менее чем при трех разных зазорах.
Градуировочную зависимость оформляют в виде графика или таблицы.
Пример установления
индивидуальной градуировочной зависимости приведен в
Приложении В.
8. ПРАВИЛА ОФОРМЛЕНИЯ
РЕЗУЛЬТАТОВ ИСПЫТАНИЙ
8.1. Результаты
измерений заносят в журнал, форма которого приведена в Приложении Д.
8.2. При
автоматическом контроле результатов измерений их фиксируют в аналоговой или
цифровой форме.
8.3. Фактические
значения толщины защитного слоя бетона и расположения стальной арматуры в
конструкции по результатам измерений сравнивают со значениями, установленными
технической документацией на эти конструкции (с учетом предельных отклонений
данных параметров).
8.4. Результаты
измерений оформляют протоколом, который должен содержать следующие данные:
- наименование
проверяемой конструкции (ее условное обозначение);
- объем партии и
число контролируемых конструкций;
- тип и номер
применяемого прибора (с указанием даты его последней проверки);
- номера
контролируемых участков конструкции и схему их расположения на конструкции;
- проектные
значения геометрических параметров армирования контролируемой конструкции;
- результаты
проведенных измерений;
- дату проведения
испытаний;
- ссылку на
настоящий стандарт.
Приложение А
(информационное)
ТЕРМИНЫ И
ОПРЕДЕЛЕНИЯ
─────────────┬────────────────────────────────────────────────────
Термины
│
Определения
─────────────┼────────────────────────────────────────────────────
Толщина
за- │Для
круглой гладкой арматуры - расстояние по нормали
щитного слоя │от поверхности бетона конструкции до ближайшей к ней
бетона
t │цилиндрической образующей
арматурного стержня. Для
pr │арматуры периодического профиля - условное расстоя-
│ние
до образующей цилиндра, диаметр
которого равен
│номинальному диаметру этой
арматуры
Арматура
пе-
│Арматура с расположенными на ее поверхности попереч-
риодического │ными
выступами (рифлением) для улучшения сцепления с
профиля │бетоном конструкции
Номинальный │Диаметр равновеликого
по площади поперечного сече-
диаметр
арма-│ния круглого гладкого арматурного стержня
туры
периоди-│
ческого про-│
филя
d │
н │
Арматурный
│Стержневая арматура или арматурная проволока незави-
стержень
│симо от вида их поставки
(отдельными прутками или в
│мотках)
Шаг
продоль-
│Расстояние между осями продольной арматуры в одном
ной
армату-
│ряду армирования конструкции
ры s
│
Шаг
попереч-
│Расстояние между осями поперечной
арматуры в одном
ной
армату-
│ряду армирования конструкции
ры p
│
Градуировоч- │Зависимость между
показаниями прибора и контроли-
ная зависи- │руемыми параметрами конструкции
мость
│
Зазор │Расстояние от поверхности
преобразователя прибора до
│образующей арматурного
стержня, устанавливаемое
при
│градуировке или проверке
прибора
Расположение
│Проекция оси арматурного стержня на поверхности
арматурного
│конструкции
стержня │Примечание. При необходимости - расположение места
│обрыва стержня
│
Фрагмент │Часть арматурного каркаса
конструкции, выполненная в
армирования │натуральную величину с использованием арматуры диа-
конструкции │метром, предусмотренным проектом
Предел │Наибольшая (без учета знака) погрешность
средства
допускаемой
│измерения, при которой это средство измерения может
погрешности │быть признано годным и допущено к применению
измерения │
Приложение Б
(информационное)
ТЕХНИЧЕСКИЕ
ХАРАКТЕРИСТИКИ ПРИБОРА ТИПА ИЗС-10Н
─────────────────────────────────────────────┬────────────────────
Характеристики │ Показатели прибора
─────────────────────────────────────────────┼────────────────────
Диапазон
измерения толщины защитного слоя бе-│
тона
при номинальном диаметре арматуры, мм: │
от 4
до 10 включ. │ 5 - 30
" 12
" 32 "
│ 10 - 60
Погрешности
измерений │Соответствуют
требо-
│ваниям 5.3 - 5.5
Показатели
для прибора с автономным питанием,│
не
более:
│
- потребляемый ток, мА │ 60
- время непрерывной работы от автономного │
источника
(расчетное), ч │ 15
Габаритные
размеры, мм: │
- электронного блока │225 х 150 х 125
- преобразователя │220 х 87 х 84
Масса,
кг: │
- электронного блока │ 2,8
- преобразователя │ 0,6
Предприятие-изготовитель │Бобруйский
завод ве-
│соизмерительных при-
│боров
Приложение В
(информационное)
ПРИМЕР
УСТАНОВЛЕНИЯ ИНДИВИДУАЛЬНОЙ
ГРАДУИРОВОЧНОЙ
ЗАВИСИМОСТИ
Пример установления
индивидуальной градуировочной зависимости для
определения толщины защитного слоя бетона
в диапазоне 10 - 50 мм при армировании
конструкции продольными стержнями диаметром 16 мм, расположенными с шагом 50 и
100 мм.
При установлении градуировочной зависимости использованы:
- серийный прибор
типа ИЗС-10Н (измерения проводят по равномерной шкале прибора, оцифрованной в
условных единицах);
- испытательный
стенд, соответствующий требованиям 7.2 настоящего стандарта.
Индивидуальную градуировочную зависимость устанавливают согласно 7.3
настоящего стандарта.
Результаты
проведенных измерений приведены в таблице В.1.
Таблица В.1.
в миллиметрах
─────────────────────────┬────────────────────────────────────────
Шаг продольных стержней │ Показания
прибора при значении зазора
├──────┬──────┬────────┬────────┬────────
│ 10
│ 20 │
30 │ 40
│ 50
─────────────────────────┼──────┼──────┼────────┼────────┼────────
50 │ 9
│ 23 │
37 │ 52
│ 67
100 │ 11
│ 27 │
44 │ 61
│ 75
Графики полученных
по этим результатам градуировочных зависимостей
приведены на чертеже В.1.

Чертеж В.1. Градуировочные зависимости для продольных
стержней диаметром
16 мм
1 - при
шаге стержней s = 50 мм;
2 - "
" " s = 100 мм.
Приложение
Г
(информационное)
ПРИБЛИЖЕННОЕ
ОПРЕДЕЛЕНИЕ ДИАМЕТРА
АРМАТУРНОГО СТЕРЖНЯ
1. Для
приближенного определения диаметра арматурного стержня определяют и фиксируют
на поверхности железобетонной конструкции место расположения арматуры.
2. Устанавливают
преобразователь прибора на поверхности конструкции и по шкалам прибора или по
индивидуальной градуировочной зависимости (Приложение
В) определяют несколько значений толщины защитного слоя бетона
для каждого из предполагаемых диаметров
арматурного стержня, которые могли применяться для армирования данной
конструкции.
3. Между
преобразователем прибора и поверхностью бетона конструкции устанавливают
прокладку соответствующей толщины
(например 10 мм),
вновь проводят измерения и определяют расстояние для каждого предполагаемого
диаметра арматурного стержня.
4. Для каждого
диаметра арматурного стержня сопоставляют значения
и (
-
).
В качестве
фактического диаметра d принимают значение, для которого выполняется требование

Пример определения
диаметра арматурного стержня
Диаметр арматурного
стержня определяют в бетоне конструкции, для которой магнитным методом по
настоящему стандарту предварительно установлено расположение стержней
арматурной сетки (шаг продольных стержней s = 180 мм, поперечных p = 200 мм).
Измерения проводят
серийным прибором типа ИЗС-10Н (по шкале, оцифрованной в единицах толщины
защитного слоя бетона) с использованием входящей в комплект поставки прибора
прокладки толщиной
,
равной 10 мм.
Предполагается, что
диаметр арматуры конструкции может быть 12 - 14 мм. Измерениями охватывается
несколько расширенный диапазон диаметров - 10 - 16 мм.
Результаты
измерений приведены в таблице Г.1.
Таблица Г.1
в миллиметрах
──────────────────┬───────────────────────────────────────────────
Обозначения │
Значения измерений при диаметрах стержней
├─────────┬──────────┬──────────┬─────────┬─────
│ 10
│ 12 │
14 │ 16
│ 8
──────────────────┴─────────┴──────────┴──────────┴─────────┴─────
Результаты измерений
──────────────────┬─────────┬──────────┬──────────┬─────────┬─────
t │ 19,5
│ 21,0 │
22,0 │ 22,8
│ 15,0
pr │ │ │ │ │
──────────────────┼─────────┼──────────┼──────────┼─────────┼─────
t │ 29,6
│ 30,8 │
31,7 │ 32,5
│ 23,8
abs │ │ │ │ │
──────────────────┴─────────┴──────────┴──────────┴─────────┴─────
Результаты вычисления
──────────────────┬─────────┬──────────┬──────────┬─────────┬─────
|t - (t
- t )|│
0,1 │ 0,2
│ 0,3 │
0,3 │ 1,2
pr abs e
│ │ │ │ │
Поскольку в рамках
принятого диапазона измерений не выявлен экстремум разности опытных значений,
дополнительно проведены измерения для диаметров 8 мм.
Минимальная по
абсолютной величине разность опытных значений соответствует диаметру стержней
10 мм. На самом деле конструкция армирована арматурными стержнями диаметром 12
мм.
Полученная ошибка
не приводит к большому изменению толщины защитного слоя бетона (разница в 1,5
мм), но дает разницу в 1,4 раза по площади поперечного сечения арматуры.
Приложение Д
(информационное)
ФОРМА
ЖУРНАЛА ДЛЯ ЗАПИСИ РЕЗУЛЬТАТОВ ИСПЫТАНИЙ
Наименование
предприятия (стройки) и его ведомственная подчиненность
ЖУРНАЛ
ИЗМЕРЕНИЯ ТОЛЩИНЫ
ЗАЩИТНОГО СЛОЯ БЕТОНА ЖЕЛЕЗОБЕТОННЫХ
КОНСТРУКЦИЙ
Прибор
типа _________________________________________ N ______
Дата
последней проверки прибора ______________________________
──────┬────────┬────────────────────────┬───────────┬────────┬────
Услов-│Номера │ Параметры армирования │ Показания │Измерен-│При-
ное │контро-
│ конструкции по │
прибора │ная тол-│ме-
обоз- │лируемых│технической
документации│ │щина за-│ча-
наче-
│участков├────────┬──────┬────────┼──┬────────┤щитного │ние
ние │конст- │Номи- │Распо-│Толщина
│мм│Условные│слоя бе-│
конст-│рукции │нальный
│ложе- │защит- │ │единицы │тона │
рукции│
│диаметр │ние │ного │
│ │t , мм │
│ │арматуры│стерж-│слоя бе-│
│ │ pr │
│ │d , мм │ней
│тона │ │
│ │
│ │ н │ │t
, мм │ │ │ │
│ │ │ │ pr │
│ │ │
──────┼────────┼────────┼──────┼────────┼──┼────────┼────────┼────
1
│ 2 │
3 │ 4
│ 5
│6 │ 7 │
8 │ 9
──────┼────────┼────────┼──────┼────────┼──┼────────┼────────┼────
│ │ │ │ │
│ │ │
Дата
испытаний ______________________________ Смена __________
Подпись
лица, проводившего испытания _________________________