Утвержден и введен в
действие
Постановлением
Госстандарта СССР
от 16 декабря 1988
г. N 4160
МЕЖГОСУДАРСТВЕННЫЙ СТАНДАРТ
СИСТЕМА СТАНДАРТОВ БЕЗОПАСНОСТИ ТРУДА
КАБИНЫ И РАБОЧИЕ МЕСТА ОПЕРАТОРОВ ТРАКТОРОВ,
САМОХОДНЫХ СТРОИТЕЛЬНО-ДОРОЖНЫХ МАШИН, ОДНООСНЫХ
ТЯГАЧЕЙ,
КАРЬЕРНЫХ САМОСВАЛОВ И САМОХОДНЫХ СЕЛЬСКОХОЗЯЙСТВЕННЫХ
МАШИН
ОБЩИЕ ТРЕБОВАНИЯ БЕЗОПАСНОСТИ
Occupational
safety standards system.
Cabs and operator's
workplaces of tractors,
building-road machines,
single-axle prime movers,
quarry dump trucks
and powered
agricultural machines.
General safety requirements
ГОСТ 12.2.120-88
(ИСО 3411-82, ИСО 3449-80, ИСО
3457-79,
ИСО 3471-80, ИСО 3789-1-81, ИСО 3789-2-82,
ИСО 4252-83, ИСО 4253-77, ИСО 5353-78, ИСО 5700-84,
ИСО 6011-78, ИСО 6405-82,
ИСО 6682-86, ИСО 6683-81)
Группа Т58
ОКП 45 0000,
47 0000,
48 0000
Дата введения
1 января 1990 года
ИНФОРМАЦИОННЫЕ
ДАННЫЕ
1. Разработан и
внесен Министерством сельскохозяйственного и тракторного машиностроения СССР.
2. Утвержден и
введен в действие Постановлением Государственного комитета СССР по стандартам
от 16.12.1988 N 4160.
Изменение N 2
принято Межгосударственным советом по стандартизации, метрологии и сертификации
(Протокол N 12 от 21.11.1997).
За принятие
изменения проголосовали:
────────────────────────────┬─────────────────────────────────────
Наименование государства │
Наименование национального органа
│ по стандартизации
────────────────────────────┼─────────────────────────────────────
Азербайджанская
Республика │Азгосстандарт
Республика
Армения │Армгосстандарт
Республика
Белоруссия │Госстандарт
Белоруссии
Грузия │Грузстандарт
Республика
Казахстан │Госстандарт
Республики Казахстан
Киргизская
Республика │Киргизстандарт
Республика
Молдова │Молдовастандарт
Российская
Федерация │Госстандарт
России
Туркменистан │Главная государственная
инспекция
│Туркменистана
Республика
Узбекистан │Узгосстандарт
Изменение N 3
принято Межгосударственным советом по стандартизации, метрологии и сертификации
(Протокол N 20 от 01.11.2001).
За принятие
изменения проголосовали:
────────────────────────────┬─────────────────────────────────────
Наименование государства │
Наименование национального органа
│ по стандартизации
────────────────────────────┼─────────────────────────────────────
Азербайджанская
Республика │Азгосстандарт
Республика
Армения │Армгосстандарт
Республика
Беларусь │Госстандарт
Республики Беларусь
Грузия │Грузстандарт
Республика
Казахстан │Госстандарт
Республики Казахстан
Кыргызская
Республика │Кыргызстандарт
Республика
Молдова │Молдовастандарт
Российская
Федерация │Госстандарт
России
Республика
Таджикистан │Таджикстандарт
Туркменистан │Главгосслужба
"Туркменстандартлары"
Республика
Узбекистан │Узгосстандарт
Украина │Госстандарт Украины
3. Стандарт
полностью соответствует СТ СЭВ 1851-79, СТ СЭВ
3086-81, СТ СЭВ 3631-82, СТ СЭВ 4764-84, СТ СЭВ 5071-85.
4. Стандарт
полностью соответствует международным стандартам ИСО 3411-82, ИСО 3449-80, ИСО
3457-79, ИСО 3471-80, ИСО 3789-1-81, ИСО 3789-2-82, ИСО 4252-83, ИСО 4253-78,
ИСО 5353-78, ИСО 5700-84, ИСО 6011-78, ИСО 6405-82, ИСО 6682-86, ИСО 6683-81.
5. Введен впервые.
6. Ссылочные
нормативно-технические документы
────────────────────────────────────────┬─────────────────────────
Обозначение
НТД, на который дана ссылка │
Номер пункта
────────────────────────────────────────┼─────────────────────────
ГОСТ
12.1.003-83
│ 3.9
ГОСТ
5727-88 │ 2.5
ГОСТ
20062-96
│ 2.8
ГОСТ
21753-76
│ 3.15
ГОСТ
26336-84
│ 3.20
ГОСТ
27245-87
│ 1.7
ГОСТ
27250-87
│ 1.2, 1.3
ГОСТ
27258-87
│ 3.10
ГОСТ
27715-88
│ 1.1
7. Издание (апрель
2003 г.) с Изменениями N 1, 2, 3, утвержденными в декабре 1989 г., марте 1998
г., марте 2002 г. (ИУС 3-90, 6-98, 6-2002).
Настоящий стандарт
распространяется на кабины и рабочие места операторов тракторов и машин на их
базе, самоходных сельскохозяйственных и самоходных строительно-дорожных машин,
карьерных самосвалов, одноосных тягачей (далее - машин) и устанавливает
требования к размерам минимального пространства, системам доступа на рабочее
место оператора, расположению органов управления, условиям труда оператора и
защитным свойствам кабины.
Стандарт не
распространяется на строительно-дорожные машины, выполненные на базе
автомобилей, на строительно-дорожные машины, требования к которым
регламентированы "Правилами устройства и безопасности эксплуатации
грузоподъемных кранов" и "Правилами безопасной эксплуатации
лифтов", утвержденными Госгортехнадзором, а также на малогабаритные
самоходные машины, самоходные машины, предназначенные для работы в закрытых
помещениях (теплицах, животноводческих фермах, внутризаводских помещениях), и
одноосные тягачи, предназначенные для работы в подземных условиях.
(Измененная
редакция, Изм. N 2).
1.
ТРЕБОВАНИЯ К КОНСТРУКЦИИ КАБИНЫ
1.1.
Базовой точкой отсчета параметров кабин, зон расположения органов управления
является контрольная точка сиденья КТС (Sip) по ГОСТ
27715.
Примечание. КТС (Sip) смещена по отношению к точке
отсчета сиденья (ТОС) вперед на 130 мм и вверх на 97 мм.
1.2. Для
одноместной кабины и кабины с дополнительным сиденьем минимальное рабочее
пространство для оператора, рассчитанное на работу сидя, ограниченное
элементами кабины и ее оборудования при среднем по регулировкам (вертикальной,
горизонтальной и по массе оператора) положении сиденья для промышленных тракторов
и строительно-дорожных машин, - по ГОСТ 27250 <*>; для остальных машин - по черт. 1.
--------------------------------
<*> На
территории Российской Федерации действует ГОСТ Р ИСО
3411-99 (здесь и далее).

--------------------------------
<*>
Допускается в обоснованных случаях по согласованию с потребителем уменьшение
радиуса R 1010 не более чем на 100 мм, а для кабин тракторов с мягкой обивкой
потолков - на 150 мм.
<**> Для
самоходных сельскохозяйственных машин минимальный размер должен быть не менее
600 мм.
При несимметричном
относительно боковых стенок кабины расположении сиденья допускается уменьшение
расстояния до ближайшей стенки не более чем на 75 мм по согласованию с
потребителем.
B - расстояние от
наружной поверхности обода рулевого
колеса до
поверхности кабины или других органов управления,
за исключением установленных на рулевой колонке
Черт. 1
Минимальная ширина
двухместной кабины машины на высоте от 310 до 810 мм над КТС должна быть не
менее 1400 мм.
Примечание.
Минимальное рабочее пространство по пп. 1.2 и 1.3 не
определяет форму кабины.
(Измененная
редакция, Изм. N 1, 2).
1.3.
Минимальное рабочее пространство в кабинах, рассчитанных на работу оператора в
положении стоя, - по ГОСТ 27250.
1.4. Для машин с
реверсивным постом управления минимальное рабочее пространство и размеры кабины
- по техническим условиям на машины конкретных моделей.
1.5. Размеры
дверного проема и прохода при максимально возможной открытой двери для кабин
машин должны быть не менее указанных на черт. 2.

--------------------------------
<*> Высота
дверного проема при максимально возможной открытой двери кабины,
предназначенной для работы стоя.
<**>
Минимальная высота дверного проема для кабин, предназначенных для работы сидя.
Для тракторов, поставленных на производство до 01.01.1991, допускается высота
дверного проема 1230 мм.
Черт. 2
Примечания. 1.
Размеры в скобках относятся к кабинам самоходных сельскохозяйственных машин.
2. Чертеж не
определяет форму дверного проема.
Для колесных
тракторов классов менее 1,4 допускается по согласованию с потребителем
уменьшение высоты дверного проема не более чем на 100 мм.
(Измененная
редакция, Изм. N 2).
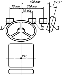
1.6. Для прохода на
рабочее место должно быть обеспечено расстояние не менее 300 мм между кромкой
проема двери и подушкой сиденья, находящегося в среднем по регулировкам
положении; при наличии запасной двери (второй) на тракторах тягового класса 0,6
и 0,9 на самоходных сельскохозяйственных машинах допускается уменьшать этот
размер до 200 мм.
В указанном
пространстве не должны располагаться элементы, мешающие доступу оператора в
одежде на рабочее место.
(Измененная
редакция, Изм. N 2, 3).
1.7.
Машины, за исключением самоходных сельскохозяйственных машин, гусеничных
сельскохозяйственных и лесопромышленных тракторов (кроме виноградниковых
тракторов), экскаваторов и катков, должны быть оборудованы защитными кабинами или
иметь устройства, обеспечивающие сохранение объема ограничения деформации при
опрокидывании машины и (или) падении на кабину случайных предметов.
Строительно-дорожные машины, промышленные тракторы и машины на их базе должны
быть оборудованы защитными кабинами или устройствами - по требованию
потребителя.
Размеры зоны
ограничения деформации и ее расположение относительно
КТС и сиденья оператора для колесных, лесохозяйственных и сельскохозяйственных
тракторов - по Приложению 1, для остальных машин - по ГОСТ 27245 <*>.
--------------------------------
<*> На
территории Российской Федерации действует ГОСТ Р ИСО
3164-99.
При двухместной
кабине машины аналогичная зона ограничения деформации должна быть обеспечена и
для второго рабочего места.
(Измененная
редакция, Изм. N 1, 2).
1.8. В случае
установки защитного каркаса или дуги безопасности должны выполняться требования
пп. 1.2, 1.3 и 1.7.
1.9. Кабины
самоходных сельскохозяйственных машин должны иметь не менее двух, а остальных
машин - не менее трех аварийных выходов, которыми могут служить двери, окна,
люки.
Аварийные выходы
должны быть расположены на разных сторонах (стенках, крыше) кабины.
Крыши кабин трубоукладочных модификаций промышленных тракторов должны
обязательно иметь аварийные люки.
Минимальные размеры
аварийных люков должны быть такими, чтобы в их поперечное сечение вписывался
эллипс с главными осями 640 и 440 мм.
Аварийные выходы
должны открываться без помощи инструмента. Если аварийными выходами являются
застекленные окна, то в кабине должны находиться средства, которыми при
аварийной ситуации можно разбить или выставить стекло аварийного выхода.
1.10. Кабины машин
должны защищать оператора от атмосферных осадков.
1.11. Крыша кабины
должна быть светонепроницаемой.
(Введен
дополнительно, Изм. N 1).
2.
ТРЕБОВАНИЯ К ОБОРУДОВАНИЮ КАБИН МАШИН
2.1. Кабины машин
должны быть оборудованы устройством нормализации микроклимата.
2.2. Кабины
самоходных сельскохозяйственных машин и карьерных самосвалов должны быть
оборудованы стеклоочистителями передних, а остальных машин - передних и задних
стекол.
Количество
стеклоочистителей должно быть установлено в технических условиях на конкретные
машины.
Стеклоочистители
должны работать независимо от режима работы двигателя и скорости движения
машины.
Допускается при
отсутствии реверсивного поста управления для стеклоочистителей задних стекол
иметь только ручной привод.
2.3. Кабины
колесных тракторов карьерных самосвалов, одноосных тягачей должны быть
оборудованы омывателями передних стекол.
Установка омывателей передних стекол в кабинах остальных машин - по
требованию потребителя.
2.4. Кабины машин
должны быть оборудованы системой, обеспечивающей при температуре окружающего
воздуха до минус 15 °C
устранение запотевания и обледенения передних стекол в зонах, очищаемых
стеклоочистителями <*>. Для машин, эксплуатируемых только в теплый период
года, системы обогрева кабин устанавливаются по заказу потребителя.
--------------------------------
<*> Для
лесопромышленных тракторов должен быть предусмотрен обдув задних стекол кабины.
2.5. Кабины
машин должны быть застеклены стеклами по ГОСТ 5727 или другими стеклами при
условии обеспечения требований безопасности по ГОСТ 5727.
По заказу
потребителя допускается застекление окон кабин операторов машин теплозащитными
стеклами.
Окна кабин
лесопромышленных тракторов со стороны рабочих механизмов должны быть застеклены
стеклами повышенной прочности или иметь с наружной стороны заградительные
легкосъемные ограждения.
2.4, 2.5. (Измененная редакция, Изм. N 2).
2.6. Открываемые
окна кабины машины должны открываться изнутри и иметь устройство для фиксации
их в открытом и закрытом положениях.
2.7. Двери кабин
машин должны иметь замки, запирающиеся на ключ, и фиксатор для удержания их в
крайнем открытом положении.
Допускается
устанавливать замок на одной двери при наличии на другой двери внутреннего
запора.
Аварийные люки (при
их наличии) должны иметь внутренние запоры.
2.8.
Рабочее место оператора машины должно быть оборудовано подрессоренным сиденьем
со спинкой.
Для тракторов и
самоходных сельскохозяйственных машин сиденье по ГОСТ 20062.
Сиденья
остальных машин должны иметь размеры, не менее: ширина 400 мм; глубина 380 мм;
высота верхней кромки спинки над КТС - 170 мм и обеспечивать регулировки:
положения в продольном и вертикальном направлениях; подвески в зависимости от
массы оператора; угла наклона спинки.
На
строительно-дорожных машинах, автопогрузчиках, а также специальных модификациях
сельскохозяйственных тракторов в технически обоснованных случаях по
согласованию с потребителем допускается установка неподрессоренного сиденья.
Для рабочих мест с
реверсивным постом управления должен обеспечиваться поворот сиденья на 180° с
фиксацией его в рабочих положениях.
Сиденье в кабине
машин, обеспечивающей сохранение зоны ограничения деформации при опрокидывании
машины по п. 1.7, должно быть оборудовано устройством для крепления ремня
безопасности по ГОСТ 20062.
При необходимости
несимметричного расположения сиденья допускается по согласованию с потребителем
уменьшение расстояния до ближайшей боковой стенки не более чем на 75 мм.
Размеры
дополнительного сиденья при его наличии - по техническим условиям на конкретные
модели машин.
(Измененная
редакция, Изм. N 2).
2.9. Кабины машин
должны быть оборудованы плафонами внутреннего освещения с автономным
включением.
Освещенность на
уровне пульта управления и панели приборов от внутреннего освещения кабины
должна быть не менее 5 лк.
2.10. Кабины машин
должны быть снабжены футляром для аптечки первой медицинской помощи,
устройствами для крепления термоса или другой емкости для питьевой воды и для
верхней одежды оператора.
(Измененная
редакция, Изм. N 2).
2.11. Кабины машин
должны быть оборудованы устройством, защищающим лицо оператора от прямых
солнечных лучей.
2.12. Кабины
колесных машин, которые могут перемещаться в общем транспортном потоке, должны
быть оборудованы наружными зеркалами заднего вида слева и справа. Кабины
самоходных сельскохозяйственных машин - только слева, обеспечивающим
обзор назад.
Кабины остальных
машин должны быть оборудованы зеркалом заднего вида.
(Измененная
редакция, Изм. N 2).
2.13. Контрольные
приборы в кабине машины должны иметь подсветку, исключающую появление бликов.
3.
ТРЕБОВАНИЯ К РАБОЧЕМУ МЕСТУ ОПЕРАТОРА МАШИНЫ
3.1. При установке
кондиционера в теплый период года температура воздуха в кабине не должна
превышать 28 °C, а относительная влажность - 60%.
При установке
других средств нормализации микроклимата температура воздуха в кабине не должна
превышать 33 °C.
При установке воздухоохладителей
температура воздуха в кабине не должна превышать:
28 °C -
при температуре наружного воздуха до 25 °C;
31 °C "
" " " 25 - 30 °C;
33 °C "
" " " свыше 30 °C.
При установке вентилятора
в теплый период года температура воздуха в кабине не должна превышать наружную более чем на 5 °C.
(Измененная
редакция, Изм. N 2).
3.2. В холодный
период года температура воздуха в кабине машины должна быть не ниже плюс 14 °C
при температуре наружного воздуха минус (20 +/- 1) °C.
3.3. Перепад
температуры воздуха в кабинах машин между точками измерения на уровне головы и
ног в теплый и холодный периоды года не должен превышать 4 °C.
3.4. Средняя
взвешенная температура всех внутренних поверхностей кабины машины (за
исключением поверхностей стекол, панели моторного отсека и щитка приборов) не
должна быть выше 35 °C.
3.5. Направление и
скорость движения воздуха в кабине машины должны быть регулируемыми. Скорость
движения воздуха в зоне дыхания оператора не должна превышать 1,5 м/с.
3.6. Избыточное
давление в кабине машины должно быть не менее 50 Па, но не более 200 Па.
Система нормализации микроклимата в теплый и холодный периоды года должна
обеспечивать подачу в кабину не менее 43 м3/ч очищенного наружного воздуха. Для
машин, работающих с химикатами и пестицидами, указанные показатели - по
техническим условиям на тракторы конкретных моделей.
(Измененная
редакция, Изм. N 3).
3.7. Концентрация
пыли в кабине в зависимости от содержания
не должна быть более
указанной в табл. 1.
Таблица 1
────────────────────────────────┬─────────────────────────────────
Содержание
кристаллического SiO │Средняя концентрация
пыли, мг/м3
2│
в пыли, % │
────────────────────────────────┼─────────────────────────────────
До
2 │ 10
Свыше 2 до 10 │ 4
"
10 " 70 │ 2
"
70
│ 1
3.8. Концентрация
окиси углерода в кабине при работающем двигателе не должна быть выше 20 мг/м3.
3.9.
Уровень звука на рабочем месте оператора - по ГОСТ 12.1.003.
3.10. Центры рукояток основных, часто используемых органов управления (во
всех рабочих положениях), и центры педалей органов управления машиной и рабочим
оборудованием (во всех рабочих положениях) должны предпочтительно располагаться
в пределах зон комфорта, а центры рукояток (кнопок, тумблеров, выключателей и
т.п.) вспомогательных органов управления должны находиться в пределах зоны
досягаемости по ГОСТ 27258. При этом размеры и взаимное расположение
сиденья, педалей муфты сцепления и тормоза при выбранном свободном ходе, а
также рулевого колеса для сельскохозяйственных самоходных машин и колесных
тракторов должны соответствовать приведенным на черт.
3 и 4. Регулируемая рулевая колонка при этом должна находиться в среднем по
регулировкам положении.

1 - рулевое колесо;
2 - педали тормоза и муфты сцепления
мм
─────────────────────────────────┬────────────────────────────────
A │ B
+/- 20 │ +/- 20
─────────────────────────────────┼────────────────────────────────
435 │ 715
455 │ 695
475 │ 685
495 │ 665
515 │ 645
535 │ 625
Черт. 3
Примечание. Размеры
на чертеже указаны при следующих условиях:
1) педали находятся
в положении, когда свободный ход выбран;
2) сиденье
нагружено и находится в среднем по регулировкам положении.

1 - сцепление; 2 -
тормоз; 3 - акселератор
Черт. 4
Расположение
основных и вспомогательных органов управления для машин с реверсивным постом
управления - по техническим условиям на конкретные модели машин.
(Измененная
редакция, Изм. N 2).
3.11. При работе
оператора в положении сидя:
- в зоне B (черт.
5) не должно быть никаких элементов, которые могут мешать
оператору пользоваться органами управления;
- в зоне A должно
обеспечиваться свободное пространство не менее 120 мм между соседними
движущимися элементами.
Сферические зоны
свободного пространства

Черт. 5
(Введен
дополнительно, Изм. N 3).
3.12. Типовые
способы приведения в действие основных органов управления даны в Приложении 2,
кроме машин, работающих на реверсе.
3.13. Рулевое колесо должно располагаться относительно горизонтальной
плоскости для сельскохозяйственных тракторов в пределах 25 - 40°, для
самоходных сельскохозяйственных машин в пределах 10 - 30° при работе сидя и в
пределах 0 - 30° - при работе стоя, при этом регулирование должно проводиться
бесступенчато или с фиксацией не менее чем в четырех положениях, рулевое колесо
этих машин должно иметь регулирование по высоте (вдоль оси колонки) на
(100 +/- 20) мм бесступенчато или с фиксацией не менее чем в пяти положениях.
3.14
<*>. Расстояния от рукояток рычагов управления (во всех положениях) до
элементов рабочего места и между рукоятками, кроме рычагов, приводимых в
движение одновременно горизонтально расположенной кистью, должно быть не менее
50 мм для приводимых в движение кистью, с управляющим усилием свыше 150 Н и не
менее 25 мм для приводимых в действие пальцами с управляющим усилием от 80 до
150 Н (кроме органов управления двигателем).
Минимальная длина
свободной части рычага вместе с рукояткой в любом его положении должна быть не
менее 50 мм, приводимого в движение пальцами, и не менее 150 мм - приводимого в
движение кистью, а для промышленных тракторов и машин, изготовленных на их
базе, не менее 100 мм.
(Измененная
редакция, Изм. N 1, 2).
3.15.
Размеры рукояток рычагов и других ручных органов управления - по ГОСТ 21753.
3.16 <*>.
Опорные площадки основных педалей должны иметь длину и ширину не менее чем по
60 мм (40 мм по ширине - для строительно-дорожных машин).
Если в кабине
машины не предусмотрены педали управления, то на полу кабины должны быть
наклонные упоры или опорные площадки для ног под углом 25 - 40° к горизонтали,
покрытые малотеплопроводным материалом. Размеры их должны обеспечивать
устойчивое положение ног оператора.
3.17 <*>.
Расстояние между кромками площадок рядом расположенных неблокируемых педалей
должно быть в пределах 50 - 100 мм, блокируемых 5 - 20 мм. Угол разворота от
продольной оси машины опорных площадок педалей, проводимых в действие стопой
ноги, не должен превышать 15°.
--------------------------------
<*>
Для тракторов тягового класса 0,6, поставленных на производство после введения
в действие настоящего стандарта, указанные в пунктах размеры - по техническим
условиям, согласованным с потребителем.
3.18. Силы
сопротивления перемещению органов управления не должны превышать значений,
приведенных в табл. 2.
Таблица 2
──────────────────────────────┬───────────────────────────────────
Управляемый орган │ Сила сопротивления, Н
├─────────────────┬─────────────────
│ножное управление│ручное управление
├────────┬────────┼────────┬────────
│рекомен-│макси- │рекомен-│макси-
│дуемое │мальное │дуемое
│мальное
│значение│значение│значение│значение
──────────────────────────────┼────────┼────────┼────────┼────────
Муфта
главного сцепления │ 120
│ 250 │
- │ -
Коробка
переключения передач: │
│ │ │
без разрыва потока мощности │
- │ -
│ 60 │
-
с разрывом потока мощности │
- │ -
│ 160 │
-
Механизм
поворота: │ │ │ │
без усилителя │ -
│ - │
50 │ 100
с усилителем: │ │ │ │
на рулевом колесе │ -
│ - │
50 │ 60
на рулевом колесе с │ -
│ - │
- │ 600
гидрообъемным
приводом │ │ │ │
при
аварийной ситуации │ │ │ │
на рычагах │ -
│ - │
40 │ 60
Рабочий
тормоз │ 200
│ 250 │
160 │ 200
Стояночный
тормоз │ -
│ - │
200 │ 350
Регулятор
частоты вращения │ 50
│ 90 │
30 │ 80
двигателя │ │ │ │
Деселератор │ 60
│ 120 │
90 │ 120
Распределитель
гидросистемы: │ │ │ │
механический привод (рычаги) │ -
│ - │
60 │ 100
электрогидравлический │ │ │ │
привод: │ │ │ │
рукоятка │ - │
- │ 15
│ 30
кнопка │ -
│ - │
1 │ 5
гидравлический привод │ 60
│ 75 │
20 │ 60
механогидравлический привод │
- │ -
│ 60 │
100
Вал
отбора мощности │ - │ -
│ 160 │
200
Остальные
органы │ -
│ 250 │
- │ 150
3.16 - 3.18. (Измененная редакция, Изм. N 2).
3.19. Элементы
органов управления, с которыми соприкасаются руки оператора или обслуживающего
персонала, следует изготавливать из материала с теплопроводностью не более 0,2
Вт/(м x К), или они должны иметь покрытие из этого материала толщиной не менее
0,5 мм.
3.20. Для
обозначения функционального назначения органов управления следует применять
символику по ГОСТ 26336.
Допускается
применение дополнительных символов, не установленных ГОСТ 26336, отражающих
специфику назначения и работы машин, установленных на них механизмов, устройств
и приборов.
3.21. В кабине
сельскохозяйственных тракторов и самоходных сельскохозяйственных машин должна
быть установлена пепельница, выполненная из негорючего материала, и
предусмотрено место для установки радиоприемника и антенны.
Приложение
1
Обязательное
РАЗМЕРЫ
ЗОНЫ ОГРАНИЧЕНИЯ ДЕФОРМАЦИИ И ЕЕ РАСПОЛОЖЕНИЕ

Приложение
2
Рекомендуемое
ТИПОВЫЕ
СПОСОБЫ ПРИВЕДЕНИЯ В ДЕЙСТВИЕ
ОСНОВНЫХ ОРГАНОВ
УПРАВЛЕНИЯ
──────────────────┬───────────────────────┬───────────────────────
Наименование │Управляющее воздействие│ Направляющее
органов
управления│ оператора │ перемещение
──────────────────┼───────────────────────┼───────────────────────
Рычаг подачи │ Приведение в действие │
Перемещение вперед
топлива │предпочтительно правой │и вверх и (или) вперед
│рукой │и в сторону плоскости,
│ │параллельной
продольной
│ │оси машины, для
│ │увеличения числа
│ │оборотов
двигателя
Педаль подачи │ Приведение в действие │
Перемещение нажатием
топлива │стопой или носком стопы│вперед и (или) вниз
│правой ноги │для увеличения числа
│ │оборотов
двигателя
Рулевое колесо │ Приведение в действие │
Вращение рулевого
│двумя руками │колеса по
часовой
│ │стрелке для поворота
│ │машины вправо, против
│ │часовой стрелки -
влево
Рычаги поворота │ Приведение в действие │
Перемещение правого
(правый
и левый) │правой
и (или) левой │рычага назад для
для
машин с │руками │поворота машины вправо,
гусеничным
│
│левого рычага назад -
движителем │ │влево
Педали тормозов │ Приведение в действие │
Перемещение нажатием
для
тракторов и │правой ногой │вперед и (или) вниз
машин
с колесным
│
│при торможении
движителем │ │
Педали тормозов │ Приведение в действие │
Перемещение нажатием
для
машин с │правой
и (или) левой │вперед и (или)
вниз
гусеничным
│ногами
│при торможении
движителем │ │
Рычаг стояночного│
Приведение в действие │ Перемещение тянущим
тормоза │правой или левой рукой
│движением при
│ │торможении
Педаль муфты │ Приведение в действие │
Перемещение нажатием
сцепления │левой ногой │вперед-вниз для
│ │отключения муфты
Рычаг реверса
│ Приведение в действие
│ Перемещение вперед
│правой или левой рукой
│для переднего хода
Рычаг изменения │ Приведение в действие │
Перемещение вверх
скорости
движения │предпочтительно правой │и (или) вперед для
при
бесступенчатой│рукой │увеличения скорости
коробке
передач │ │переднего хода.
│ │Перемещение назад
│ │и (или) вниз для
│ │увеличения скорости
│ │заднего хода
Рычаг │ Приведение в действие
│ Направление переме-
переключения │правой или левой рукой │щения относительно
передач │ │нейтрального
положения
│ │обозначать
мнемосхемой
Рычаги управления│ Приведение в действие
│ Перемещение вверх
гидросистемой │предпочтительно правой │и
(или) назад для
навесного │рукой │подъема, вниз и (или)
оборудования │ │вперед для
опускания
│ │навесного
оборудования