Утвержден и
введен в действие
Приказом
Росстандарта
от 22 сентября 2010
г. N 262-ст
НАЦИОНАЛЬНЫЙ СТАНДАРТ РОССИЙСКОЙ ФЕДЕРАЦИИ
КАБЕЛИ С ПОЛИВИНИЛХЛОРИДНОЙ ИЗОЛЯЦИЕЙ
НА НОМИНАЛЬНОЕ НАПРЯЖЕНИЕ ДО 450/750 В ВКЛЮЧИТЕЛЬНО
ЧАСТЬ 6
ЛИФТОВЫЕ КАБЕЛИ И КАБЕЛИ ДЛЯ ГИБКИХ СОЕДИНЕНИЙ
Polyvinyl chloride insulated
cables of rated voltages
up to and including 450/750 V.
Part 6. Lift cables
and cables for flexible
connections
IEC 60227-6:2001
Polyvinyl chloride insulated
cables of rated voltages
up to and including 450/750 V
- Part 6: Lift cables
and cables for flexible
connections
(IDT)
ГОСТ Р МЭК 60227-6-2010
Группа Е46
ОКС 29.060.20;
ОКП 35 5000
Дата введения
1 июля 2011 года
Предисловие
Цели и принципы
стандартизации в Российской Федерации установлены Федеральным законом от 27
декабря 2002 г. N 184-ФЗ "О техническом регулировании", а правила
применения национальных стандартов Российской Федерации - ГОСТ Р 1.0-2004
"Стандартизация в Российской Федерации. Основные положения".
Сведения о
стандарте
1. Подготовлен
Открытым акционерным обществом "Всероссийский научно-исследовательский,
проектно-конструкторский и технологический институт кабельной
промышленности" (ОАО "ВНИИКП") на основе собственного
аутентичного перевода на русский язык международного стандарта, указанного в
пункте 4.
2. Внесен
Техническим комитетом по стандартизации ТК 46 "Кабельные изделия".
3. Утвержден и
введен в действие Приказом Федерального агентства по техническому регулированию
и метрологии от 22 сентября 2010 г. N 262-ст.
4. Настоящий
стандарт идентичен международному стандарту МЭК 60227-6:2001 "Кабели с
поливинилхлоридной изоляцией на номинальное напряжение до 450/750 В
включительно. Часть 6. Лифтовые кабели и кабели для гибких соединений" (IEC 60227-6:2001 "Polyvinyl
chloride insulated cables of rated voltages up to and including 450/750 V -
Part 6: Lift cables and cables for flexible connections").
При применении
настоящего стандарта рекомендуется использовать вместо ссылочных международных
стандартов соответствующие им национальные стандарты Российской Федерации,
сведения о которых приведены в дополнительном Приложении ДА.
5. Взамен ГОСТ Р
МЭК 60227-6-2002.
Информация об
изменениях к настоящему стандарту публикуется в ежегодно издаваемом
информационном указателе "Национальные стандарты", а текст изменений
и поправок - в ежемесячно издаваемых информационных указателях
"Национальные стандарты". В случае пересмотра (замены) или отмены
настоящего стандарта соответствующее уведомление будет опубликовано в
ежемесячно издаваемом информационном указателе "Национальные
стандарты". Соответствующая информация, уведомление и тексты размещаются
также в информационной системе общего пользования - на официальном сайте
Федерального агентства по техническому регулированию и метрологии в сети
Интернет.
1. Область
применения
Настоящий стандарт
устанавливает технические требования к круглым и плоским лифтовым кабелям и
кабелям для гибких соединений на номинальное напряжение до 450/750 В
включительно (далее - кабели).
Кабели должны
соответствовать общим требованиям МЭК 60227-1 и конкретным требованиям
настоящего стандарта.
2.
Нормативные ссылки
В настоящем
стандарте использованы нормативные ссылки на следующие стандарты.
Комментарий - Для
однозначного соблюдения требований настоящего стандарта, выраженных в
датированных ссылках, рекомендуется использовать ссылочные стандарты,
приведенные в сносках к указанным ниже стандартам.
МЭК 60096-0-1:1990
<1>. Кабели радиочастотные. Часть 0-1. Указания по оформлению частных
технических условий. Коаксиальные кабели (IEC 60096:1990, Radio-frequency cables -
Part 0-1: Guide to the design of detailed specifications - Coaxial cables)
--------------------------------
<1> Действует
МЭК 60096-0-1:2000.
МЭК 60227-1:1993
<2>. Кабели с поливинилхлоридной изоляцией на номинальное напряжение до
450/750 В включительно. Часть 1. Общие требования (IEC 60227-1:1993, Polyvinyl chloride
insulated cables of rated voltages up to and including 450/750 V - Part 1:
General requirements)
--------------------------------
<2> Действует
МЭК 60227-1:2007.
МЭК 60227-2:1997
<3>. Кабели с поливинилхлоридной изоляцией на номинальное напряжение до
450/750 В включительно. Часть 2. Методы испытаний (IEC 60227-2:1997, Polyvinyl chloride
insulated cables of rated voltages up to and including 450/750 V - Part 2: Test
methods)
--------------------------------
<3> Действует МЭК 60227-2:2003.
МЭК 60228:1978 <4>. Токопроводящие жилы изолированных кабелей (IEC 60228:1978,
Conductors of insulated cables)
--------------------------------
<4> Действует
МЭК 60228:2004.
МЭК 60332-1:1993
<5>. Испытания электрических кабелей на нераспространение горения. Часть 1. Испытание одиночного вертикально расположенного изолированного провода или кабеля (IEC 60332-1:1993, Tests
on electric cables under fire conditions - Part 1: Test on a single vertical
insulated wire or cable)
--------------------------------
<5> Действуют
МЭК 60332-1-1:2004; МЭК 60332-1-2:2004 и МЭК 60332-1-3:2004.
МЭК 60502-1:1997
<1>. Кабели силовые с экструдированной изоляцией и арматура к ним на
номинальное напряжение от 1 кВ
до 30 кВ
.
Часть 1. Кабели на номинальное напряжение 1 кВ
и 3 кВ
(IEC 60502-1:1997, Power cables with extruded
insulation and their accessories for rated voltages from 1 kV
up to 30 kV
- Part 1: Cables for rated voltages of 1 kV
and 3 kV

--------------------------------
<1> Действует
МЭК 60502-1:2004 с Изменением N 1:2009.
МЭК 60811-1-1:1993
<2>. Общие методы испытаний материалов изоляции и оболочек электрических
кабелей. Часть 1. Методы общего применения. Раздел 1. Измерение толщины и
наружных размеров. Испытания по определению механических свойств (IEC 60811-1-1:1993,
Common test methods for insulating and sheathing materials of electric cables -
Part 1: Methods for general application - Section 1: Measurement of thickness
and overall dimensions - Tests for determining the mechanical properties)
--------------------------------
<2>
Действует МЭК 60811-1-1:2001.
МЭК 60811-1-2:1985
<3>. Общие методы испытаний материалов изоляции и оболочек электрических
кабелей. Часть 1. Методы общего применения. Раздел 2. Методы теплового старения (IEC 60811-1-2:1985, Common test methods for insulating and sheathing
materials of electric cables - Part 1: Methods for general application -
Section 1: Thermal ageing methods)
--------------------------------
<3> Действует
МЭК 60811-1-2:1985 с Изменениями N 1:1989 и N 2:2000.
МЭК 60811-1-4:1985
<4>. Общие методы испытаний материалов изоляции и оболочек электрических
кабелей. Часть 1. Методы общего применения. Раздел 4. Испытания при низкой температуре (IEC 60811-1-4:1985, Common test methods for insulating and sheathing
materials of electric cables - Part 1: Methods for general application -
Section 4: Test at low temperature)
--------------------------------
<4> Действует
МЭК 60811-1-4:1985 с Изменениями N 1:1993 и N 2:2001.
МЭК 60811-3-1:1985
<5>. Общие методы испытаний материалов изоляции и оболочек электрических
кабелей. Часть 3. Специальные методы испытаний поливинилхлоридных компаундов.
Раздел 1. Испытание под давлением при высокой температуре. Испытание на стойкость к растрескиванию (IEC 60811-3-1:1985,
Common test methods for insulating and sheathing materials of electric cables -
Part 3: Methods specific to PVC compounds - Section 1: Pressure test at high
temperature - Tests for resistance to cracking)
--------------------------------
<5>
Действует МЭК 60811-3-1:1985 с Изменениями N 1:1994 и N 2:2001.
МЭК 60811-3-2:1985
<6>. Общие методы испытаний материалов изоляции и оболочек электрических
кабелей. Часть 3. Специальные методы испытаний поливинилхлоридных компаундов.
Раздел 2. Определение потери массы. Испытание на термическую стабильность (IEC 60811-3-2:1985, Common test methods for
insulating and sheathing materials of electric cables - Part 3: Methods
specific to PVC compounds - Section 2: Loss of mass test - Thermal stability
test).
--------------------------------
<6>
Действует МЭК 60811-3-2:1985 с Изменениями N 1:1993 и N 2:2003.
3. Плоские
лифтовые кабели и кабели для гибких соединений
в
поливинилхлоридной оболочке
3.1.
Кодовое обозначение
60227 IEC 71f.
3.2.
Номинальное напряжение
300/500 В для
кабелей с токопроводящими жилами номинальным сечением до 1 мм2 включительно;
450/750 В для
кабелей с токопроводящими жилами номинальным сечением свыше 1 мм2.
3.3. Конструкция
3.3.1.
Токопроводящая жила
Число
токопроводящих жил - 3, 4, 5, 6, 9, 12, 16, 18, 20 или 24.
Число токопроводящих
жил в зависимости от их номинального сечения приведено в таблице 1.
Таблица 1
Номинальное сечение
и число токопроводящих жил
|
Номинальное
сечение токопроводящих жил,
мм2
|
Число токопроводящих жил
|
|
0,75; 1,00
|
(3), (4), (5), 6, 9, 12, (16),
(18), (20) или 24
|
|
1,50; 2,50
|
(3), 4, 5, 6, 9 или 12
|
|
4,00; 6,00; 10,00; 16,00; 25,00
|
4 или 5
|
|
Примечание. Значения, указанные в
скобках, непредпочтительны.
|
Токопроводящие жилы
должны соответствовать требованиям МЭК 60228 для жил класса 5.
Боковые
токопроводящие жилы могут состоять из медных или стальных проволок. Номинальное
сечение боковых токопроводящих жил должно быть равно номинальному сечению
других токопроводящих жил. Максимальное электрическое сопротивление
токопроводящих жил из стальных проволок не должно превышать максимального
электрического сопротивления медных токопроводящих жил того же номинального
сечения более чем в два раза.
3.3.2.
Изоляция
Изоляция
токопроводящих жил должна быть из поливинилхлоридного компаунда типа ПВХ/D, наложенного
на каждую токопроводящую жилу.
Значение толщины
изоляции должно соответствовать значениям, указанным в таблице 4.
Значение
электрического сопротивления изоляции должно быть не менее значений, указанных
в таблице 2.
Таблица 2
Основные технические
характеристики кабеля
типа 60227 IEC 71f
┌───────────────────┬────────────────┬────────────────────────────────────┐
│Номинальное
сечение│ Установленное
│ Электрическое
сопротивление │
│токопроводящих
жил,│значение толщины│
изоляции на длине 1 км
│
│ мм2 │
изоляции, мм │при
температуре 70 °C, МОм, не менее│
├───────────────────┼────────────────┼────────────────────────────────────┤
│ 0,75 │ 0,6
│ 0,0110 │
├───────────────────┤
├────────────────────────────────────┤
│ 1,00 │ │ 0,0100 │
├───────────────────┼────────────────┤ │
│ 1,50 │ 0,7
│ │
├───────────────────┼────────────────┼────────────────────────────────────┤
│ 2,50 │ 0,8
│ 0,0090 │
├───────────────────┤
├────────────────────────────────────┤
│ 4,00 │ │ 0,0070 │
├───────────────────┤
├────────────────────────────────────┤
│ 6,00 │ │ 0,0060 │
├───────────────────┼────────────────┼────────────────────────────────────┤
│ 10,00 │ 1,0
│ 0,0056 │
├───────────────────┤
├────────────────────────────────────┤
│ 16,00 │ │ 0,0046 │
├───────────────────┼────────────────┼────────────────────────────────────┤
│ 25,00 │ 1,2
│ 0,0044 │
└───────────────────┴────────────────┴────────────────────────────────────┘
3.3.3.
Расположение изолированных жил и упрочняющих элементов (при наличии)
Изолированные жилы
должны быть расположены параллельно.
Допускается
расположение жил группами по 2, 3, 4 или 5 жил. В этом случае внутри каждой
группы может быть размещена разрывная нить, которая позволяет отделять жилы
друг от друга без повреждения изоляции.
Допускается
применение упрочняющих элементов из текстильного материала.
Допускается
применение металлических упрочняющих элементов. В этом случае они должны быть
покрыты изоляционным материалом, стойким к истиранию.
Если изолированные
жилы объединяют в группы, то последние должны соответствовать приведенным в
таблице 3.
Таблица 3
Группы
изолированных жил
|
Число
изолированных
жил
|
5
|
6
|
9
|
12
|
16
|
18
|
20
|
24
|
|
Группа жил
|
2
+ 1 + 2
|
2
x 3
|
3
x 3
|
3
x 4
|
4
x 4
|
4
+ 5 + 5 + 4
|
5
x 4
|
6
x 4
|
Номинальное
значение просвета
между группами жил, указанного на рисунке 1,
должно соответствовать приведенному в таблице 4.

Рисунок 1.
Поперечное сечение кабеля
(Рисунок приведен
только для иллюстрации толщины
оболочки и значения
просвета, указанных в таблице 4,
и не определяет
действительную конструкцию.)
Таблица 4
Значение
просвета (при наличии)
и толщина оболочки
кабелей типа 60227 IEC 71f
Размеры в миллиметрах
┌───────────────────┬─────────────┬───────────────────────────────────────┐
│Номинальное
сечение│ Номинальное │Установленное значение толщины
оболочки│
│токопроводящих
жил,│ значение
├───────────────────┬───────────────────┤
│ мм2 │ просвета l │ l │ l │
│ │ 1 │ 2 │ 3 │
├───────────────────┼─────────────┼───────────────────┼───────────────────┤
│ 0,75 │ 1,0
│ 0,9 │ 1,5 │
├───────────────────┤ │ │ │
│ 1,00 │ │ │ │
├───────────────────┤
├───────────────────┤ │
│ 1,50 │ │ 1,0 │ │
├───────────────────┼─────────────┤
├───────────────────┤
│ 2,50 │ 1,5
│ │ 1,8 │
├───────────────────┤
├───────────────────┤ │
│ 4,00 │ │ 1,2 │ │
├───────────────────┤ │ │ │
│ 6,00 │ │ │ │
├───────────────────┤
├───────────────────┤ │
│ 10,00 │ │ 1,4 │ │
├───────────────────┤
├───────────────────┼───────────────────┤
│ 16,00 │ │ 1,5 │ 2,0 │
├───────────────────┤
├───────────────────┤ │
│ 25,00 │ │ 1,6 │ │
└───────────────────┴─────────────┴───────────────────┴───────────────────┘
Среднее значение
просвета
не нормировано. При этом любое значение
просвета между группами жил может быть менее номинального значения просвета
не более чем на 0,2 мм плюс 20% номинального
значения просвета
.
3.3.4.
Оболочка
Оболочка должна
быть из поливинилхлоридного компаунда типа ПВХ/ST5, наложенного вокруг
изолированных жил без образования пустот и адгезии оболочки к изолированным
жилам. Меньшие стороны кабеля должны быть закруглены.
Значения толщины
оболочки
и
должны соответствовать значениям, указанным в
таблице 4 (см. также рисунок 1).
Средние значения
и
должны быть не менее соответствующих
установленных значений. При этом значение толщины оболочки в любом месте может
быть менее установленного значения не более чем на 0,2 мм плюс 20%
соответствующего установленного значения.
3.4.
Испытания
Соответствие
требованиям 3.3 должно быть проверено внешним осмотром и испытаниями,
указанными в таблице 5. Для кабелей прямоугольного сечения должны быть учтены
нижеследующие изменения и дополнения. Требования 3.4.1 - 3.4.5 следует
выполнять в сочетании с требованиями, относящимися к соответствующим
испытаниям, указанным в таблице 5.
Таблица 5
Испытания кабеля
типа 60227 IEC 71f
┌───────────────────────────────────┬─────┬───────────────────────────────┐
│ Испытание │Кате-│Стандарт МЭК на
метод испытания│
│
│гория├─────────────┬─────────────────┤
│ │испы-│
Обозначение │ Номер пункта, │
│
│тания│
│ подпункта │
├───────────────────────────────────┼─────┼─────────────┼─────────────────┤
│1.
Электрические испытания
│ │ │ │
│
1.1. Сопротивление токопроводящих │T, S │ МЭК 60227-2 │ 2.1
│
│жил │ │ │ │
│
1.2. Испытание изолированных жил
│ │ │ │
│напряжением: │ │ │ │
│
1.2.1. 1500 В - при U /U 300/500 В│
T │ МЭК 60227-2
│ 2.3 │
│ о │ │ │ │
│и
толщине изоляции до 0,6 мм включ.│
│ │ │
│
1.2.2. 2500 В - при U /U 450/750 В│
T │ МЭК 60227-2
│ 2.3 │
│ о │ │ │ │
│и
толщине изоляции св. 0,6 мм
│ │ │ │
│
1.3. Испытание кабеля напряжением:│
│ │ │
│
1.3.1. 2000 В - при U /U 300/500 В│T, S │ МЭК 60227-2 │ 2.2
│
│ о │ │ │ │
│
1.3.2. 2500 В - при U /U 450/750 В│T, S │ МЭК 60227-2 │ 2.2
│
│ о │ │ │ │
│
1.4. Сопротивление изоляции
│ T │ МЭК 60227-2 │ 2.4
│
│при
70 °C │ │ │ │
├───────────────────────────────────┼─────┼─────────────┼─────────────────┤
│2.
Требования к конструкции
│ │ │ │
│и
конструктивным размерам
│ │ │ │
│
2.1. Проверка соответствия
│T, S │ МЭК 60227-1 │Внешний осмотр и │
│требованиям
к конструкции │ │ │испытания вручную│
│
2.2. Измерение толщины изоляции
│T, S │ МЭК 60227-2 │ 1.9
│
│
2.3. Измерение толщины оболочки
│T, S │ МЭК 60227-2 │ 1.10
│
├───────────────────────────────────┼─────┼─────────────┼─────────────────┤
│3.
Механические характеристики
│ │ │ │
│изоляции │
│ │ │
│
3.1. Испытание на растяжение
│ T │МЭК 60811-1-1│ 9.1
│
│до
старения
│ │ │ │
│
3.2. Испытание на растяжение
│ T │МЭК 60811-1-2│ 8.1.3
│
│после
старения │ │ │ │
│
3.3. Испытание на потерю массы
│ T │МЭК 60811-3-2│ 8.1
│
├───────────────────────────────────┼─────┼─────────────┼─────────────────┤
│4.
Механические свойства оболочки
│ │ │ │
│
4.1. Испытание на растяжение
│ T │МЭК 60811-1-1│ 9.2
│
│до
старения
│ │ │ │
│
4.2. Испытание на растяжение
│ T │МЭК 60811-1-2│ 8.1.3
│
│после
старения │ │ │ │
│
4.3. Испытание на потерю массы
│ T │МЭК 60811-3-2│ 8.2
│
├───────────────────────────────────┼─────┼─────────────┼─────────────────┤
│5.
Испытание под давлением
│ │ │ │
│при
высокой температуре
│ │ │ │
│
5.1. Изоляция
│ T │МЭК 60811-3-1│ 8.1
│
│
5.2. Оболочка │ T
│МЭК 60811-3-1│
8.2 │
│ │ │ -
│3.4.1 настоящего │
│ │ │ │ стандарта
│
├───────────────────────────────────┼─────┼─────────────┼─────────────────┤
│6.
Эластичность и стойкость к удару│
│ │ │
│при
низкой температуре
│ │ │ │
│
6.1. Испытание изоляции на изгиб
│ T │МЭК 60811-1-4│ 8.1
│
│
6.2. Испытание оболочки на изгиб
│ T │МЭК 60811-1-4│ 8.2
│
│
6.3. Определение относительного
│ T │МЭК 60811-1-4│ 8.4
│
│удлинения
при разрыве оболочки │ │ │ │
│
6.4. Испытание кабеля на удар
│ T │МЭК 60811-1-4│ 8.5
│
│ │ │ -
│3.4.2 настоящего │
│ │ │ │ стандарта
│
├───────────────────────────────────┼─────┼─────────────┼─────────────────┤
│7.
Испытание на тепловой удар
│ │ │ │
│
7.1. Изоляция
│ T │МЭК 60811-3-1│ 9.1
│
│
7.2. Оболочка
│ T │МЭК 60811-3-1│ 9.2
│
├───────────────────────────────────┼─────┼─────────────┼─────────────────┤
│8.
Механическая прочность кабеля
│ │ │ │
│
8.1. Испытание на гибкость
│ T │ МЭК 60227-2 │ 3.1
│
│ │ │
- │3.4.3 настоящего
│
│ │ │ │ стандарта
│
│
8.2. Испытание на статическую
│ T │ МЭК 60227-2 │ 3.5
│
│гибкость │ │ -
│3.4.4 настоящего │
│ │ │ │ стандарта
│
├───────────────────────────────────┼─────┼─────────────┼─────────────────┤
│9.
Испытание на нераспространение
│ T │МЭК 60332-1-1│ -
│
│горения │ │МЭК 60332-1-2│ -
│
│ │ │МЭК 60332-1-3│ -
│
│ │ │ -
│3.4.5 настоящего │
│ │ │
│ стандарта
│
└───────────────────────────────────┴─────┴─────────────┴─────────────────┘
3.4.1. Испытание оболочки под давлением при высокой температуре
Если меньшие
стороны кабеля имеют полностью закругленные края, это испытание должно быть
проведено на одной из меньших сторон в соответствии с МЭК 60811-3-1 (пункт
8.2).
Сжимающую силу
(усилие) рассчитывают, принимая, что D - меньший размер кабеля и
- среднее значение толщины оболочки
,
определяемое по МЭК 60811-1-1 (пункт 8.1.4).
Если меньшие
стороны кабеля плоские или почти плоские (см. рисунок 1), испытание проводят в
соответствии с МЭК 60811-3-1 (пункт 8.2) с учетом следующих изменений.
a) Подготовка
образца
Испытуемую полоску
оболочки вырезают из большей стороны кабеля в направлении оси кабеля. На
внутренней стороне шлифовкой или срезанием удаляют только выступы от жил.
Ширина полоски должна быть не менее 10 мм и не более 20 мм. Толщина полоски
должна быть измерена в месте приложения сжимающей силы F.
b) Положение
образца в испытательном устройстве
Полоска должна быть
изогнута вокруг металлического стержня, диаметр которого приблизительно равен
диаметру изолированной жилы кабеля; продольная ось полоски должна быть
перпендикулярна к оси стержня. Внутренняя поверхность полоски должна
контактировать со стержнем по дуге не менее 120° (см. рисунок 2). Нож
испытательного устройства должен быть расположен посередине образца.

1 - металлический
нож; 2 - стержень; 3 - зафиксированный
образец, изогнутый
вокруг стержня; F - сжимающая сила
Рисунок 2.
Устройство для продавливания образца
c) Расчет сжимающей
силы
Расчет проводят в
соответствии с МЭК 60811-3-1 (пункт 8.2.4) при этом:
-
- толщина полоски в месте приложения сжимающей
силы, мм;
- D - диаметр
стержня плюс удвоенное значение
, мм.
d) Отпечаток
Значение глубины
отпечатка от ножа должно соотноситься с первоначальным значением
.
3.4.2. Испытание кабеля на удар при низкой температуре
Массу ударника,
указанную в МЭК 60811-1-4 (пункт 8.5.4), выбирают в зависимости от размера
меньшей стороны плоского кабеля.
3.4.3. Испытание на гибкость
Настоящее испытание
не распространяется на лифтовые кабели (метод испытания для этих кабелей
находится в стадии рассмотрения).
Испытание
распространяется не только на кабели с токопроводящими жилами номинальным
сечением 0,75; 1,00; 1,50; 2,50 и 4,00 мм2 и с числом жил до пяти включительно.
Масса груза,
приложенного к каждому концу кабеля, и диаметры роликов A и B должны
соответствовать указанным в таблице 6.
Таблица 6
Испытание на
гибкость
|
Номинальное
сечение жил плоского кабеля для гибких
соединений в поливинилхлоридной
оболочке, мм2
|
Масса
груза, кг
|
Диаметр
роликов, мм
|
|
0,75; 1,00
|
1,0
|
80
|
|
1,50; 2,50
|
1,5
|
120
|
|
4,00
|
2,0
|
200
|
3.4.4. Испытание на статическую гибкость
Испытание проводят
по МЭК 60227-2 (пункт 3.5).
Расстояние l,
подлежащее проверке, должно быть не более 0,70 м.
3.4.5. Испытание на нераспространение горения
При испытании
пламенем одной горелки воздействуют на среднюю часть большей стороны кабеля.
3.5.
Указания по применению
Для лифтов и
подъемников кабели типа 60227 IEC 71f применяют, если длина свободно висящего
кабеля не превышает 35 м, а скорость перемещения не более 1,6 м/с. Применение
кабелей вне указанных пределов возможно по соглашению между заказчиком и
изготовителем, например в части добавления грузонесущего элемента.
Кабели по
настоящему стандарту не предназначены для эксплуатации при температуре ниже 0
°C.
Максимальная
температура токопроводящей жилы при нормальной эксплуатации составляет 70 °C.
Примечание. Другие
указания находятся в стадии рассмотрения.
4. Круглые
лифтовые кабели и кабели для гибких соединений
в
поливинилхлоридной оболочке
4.1.
Кодовое обозначение 60227 IEC 71c.
4.2.
Номинальное напряжение
300/500 В для
кабелей с токопроводящими жилами номинальным сечением до 1 мм2 включительно;
450/750 В для
кабелей с токопроводящими жилами номинальным сечением свыше 1 мм2.
4.3. Конструкция
4.3.1.
Токопроводящая жила
Предпочтительное
число токопроводящих жил в зависимости от их номинального сечения приведено в
таблице 7.
Таблица 7
Номинальное сечение
и число токопроводящих жил
|
Номинальное
сечение токопроводящих жил,
мм2
|
Предпочтительное число
токопроводящих жил
|
|
0,75; 1,00; 1,50; 2,50
|
6, 9, 12, 18, 24 или 30
|
|
4,00; 6,00; 10,00; 16,00; 25,00
|
4 или 5
|
|
Примечание. Указанные предпочтительные числа не исключают конструкцию
кабелей с другим числом изолированных жил.
|
Токопроводящие жилы
должны соответствовать требованиям МЭК 60228 для жил класса 5, за исключением
того, что значения максимального электрического сопротивления жил сечением до
2,50 мм2 включительно должны быть увеличены на 5%. Проволоки жилы могут быть
лужеными и нелужеными.
В любой повив
кабеля могут быть включены следующие элементы связи:
- оптические
элементы;
- коаксиальные
элементы;
- экранированные
пары связи и экранированные одиночные изолированные жилы номинальным сечением
не менее 0,50 мм2.
Токопроводящие жилы
в парах связи и одиночных изолированных жилах должны соответствовать
требованиям МЭК 60228 для жил класса 5.
Любой элемент связи
должен иметь экструдированное неметаллическое покрытие или скрепляющую ленту.
4.3.2.
Изоляция основных жил и жил управления
Изоляция
токопроводящих жил должна быть из поливинилхлоридного компаунда типа ПВХ/D.
Значение толщины
изоляции должно соответствовать значениям, указанным в таблице 8.
Таблица 8
Основные
технические характеристики кабеля
типа 60227 IEC 71c
┌───────────────────┬────────────────┬────────────────────────────────────┐
│Номинальное
сечение│ Установленное
│Электрическое сопротивление изоляции│
│токопроводящих
жил,│значение толщины│на длине 1 км при температуре 70 °C,│
│ мм2 │
изоляции, мм │ МОм, не менее │
├───────────────────┼────────────────┼────────────────────────────────────┤
│ 0,75 │ 0,6
│ 0,0110 │
├───────────────────┤
├────────────────────────────────────┤
│ 1,00 │ │ 0,0100 │
├───────────────────┼────────────────┤ │
│ 1,50 │ 0,7
│
│
├───────────────────┼────────────────┼────────────────────────────────────┤
│ 2,50 │ 0,8
│ 0,0090 │
├───────────────────┤
├────────────────────────────────────┤
│ 4,00 │ │ 0,0070 │
├───────────────────┤
├────────────────────────────────────┤
│ 6,00 │ │ 0,0060 │
├───────────────────┼────────────────┼────────────────────────────────────┤
│ 10,00 │ 1,0
│ 0,0056 │
├───────────────────┤
├────────────────────────────────────┤
│ 16,00 │ │ 0,0046 │
├───────────────────┼────────────────┼────────────────────────────────────┤
│ 25,00 │ 1,2
│ 0,0044 │
└───────────────────┴────────────────┴────────────────────────────────────┘
Значение
электрического сопротивления изоляции должно быть не менее значений, указанных
в таблице 8.
4.3.3.
Скрутка изолированных жил, элементов связи и заполнения (при наличии)
В лифтовых кабелях
изолированные жилы, заполнение и элементы связи (при наличии) должны быть
скручены вокруг центрального сердечника.
Центральный
сердечник должен:
a) состоять из
пеньковой, джутовой или аналогичной пряжи;
b) или быть в виде
упрочняющего элемента;
c) или быть в виде
сочетания конструкций, указанных в перечислениях a) и b).
Упрочняющий элемент
должен быть из неметаллического материала или из металла, покрытого
изоляционным материалом, стойким к истиранию.
Примечание.
Назначение покрытия - предотвратить повреждение изолированных жил при обрыве
проволок упрочняющего элемента.
Заполнение (при
наличии) должно быть из хлопчатобумажной пряжи или аналогичного текстильного
материала.
В состав кабелей,
предназначенных для использования в других областях применения, чем лифтовые
кабели, центральный сердечник и/или упрочняющий элемент допускается не
включать.
Изолированные жилы
должны быть скручены одним повивом в кабелях с числом жил 6, 9 и 12 и одним или
двумя повивами в кабелях с числом жил более 12 и до 30.
В кабелях с числом
жил более 30 (см. примечание к таблице 7) число повивов может быть увеличено.
Скрученные изолированные жилы должны иметь практически круглую форму.
Шаг скрутки
изолированных жил должен быть не более 11-кратного диаметра окружности,
описанной по центрам изолированных жил повива.
4.3.4. Покрытие по скрученным изолированным жилам
По скрученным
изолированным жилам допускается наложение оплетки или ленты.
Оплетка должна быть
из натурального материала (например, из хлопка, обработанного хлопка) или
синтетического материала (например, вискозы). Оплетка должна быть однородной
без узлов и пропусков.
Лента должна быть
из натурального или синтетического материала, совместимого с материалами
изоляции и оболочки. Она должна быть наложена по спирали с перекрытием.
4.3.5.
Экран
Поверх покрытия по
скрученным изолированным жилам допускается наложение экрана.
Экран должен быть в
виде симметричной оплетки из луженых или без покрытия отожженных медных
проволок диаметром не более 0,21 мм.
Экран может быть в
виде оплетки из проволок или в виде оплетки из проволок и текстильной пряжи
(например, полиэфирной).
Плотность оплетки,
определенная по медной ее части соответствующим методом (например, по МЭК
60096-0-1), должна быть не менее 85%.
4.3.6.
Оболочка
Оболочка должна
быть из поливинилхлоридного компаунда типа ПВХ/ST5, наложенного поверх покрытия
по скрученным изолированным жилам или поверх экрана (при наличии).
Оболочка должна
быть легкоудаляемой без повреждения любого расположенного под ней элемента,
кроме оплетки по 4.3.4.
Толщина оболочки
должна соответствовать указанной в таблице 9.
Таблица 9
Толщина оболочки
Размеры в миллиметрах
┌───────────────────────────────────────┬─────────────────────────────────┐
│ Расчетный диаметр покрытия │ Установленное значение │
│ по скрученным жилам <1> │ толщины оболочки │
├───────────────────────────────────────┼─────────────────────────────────┤
│ До 9,0 │ 1,0 │
├───────────────────────────────────────┼─────────────────────────────────┤
│ От 9,1 до 14,0 │ 1,3 │
├───────────────────────────────────────┼─────────────────────────────────┤
│ От 14,1 до 18,0 │ 1,6 │
├───────────────────────────────────────┼─────────────────────────────────┤
│ От 18,1 до 22,0 │ 2,0 │
├───────────────────────────────────────┼─────────────────────────────────┤
│ Св. 22,0 │ 2,4 │
├───────────────────────────────────────┴─────────────────────────────────┤
│
<1> Включая экран, если имеется. │
└─────────────────────────────────────────────────────────────────────────┘
4.4.
Испытания
Проверку
соответствия требованиям 4.3 проводят внешним осмотром и испытаниями по таблице
10.
Таблица 10
Испытания круглого
гибкого кабеля типа 60227 IEC 71c
┌───────────────────────────────────┬─────┬───────────────────────────────┐
│ Испытание │Кате-│Стандарт МЭК на
метод испытания│
│
│гория├─────────────┬─────────────────┤
│
│испы-│ Обозначение │
Номер пункта, │
│
│тания│
│ подпункта │
├───────────────────────────────────┼─────┼─────────────┼─────────────────┤
│1.
Электрические испытания
│ │ │ │
│
1.1. Сопротивление токопроводящих │T, S │ МЭК 60227-2 │ 2.1
│
│жил │ │ │ │
│
1.2. Испытание изолированных жил
│ │ │ │
│напряжением: │ │
│ │
│
1.2.1. 1500 В - при U /U 300/500 В│
T │ МЭК 60227-2
│ 2.3 │
│ о │ │ │ │
│и
толщине изоляции до 0,6 мм включ.│
│ │ │
│
1.2.2. 2500 В - при U /U 450/750 В│
T │ МЭК 60227-2
│ 2.3 │
│ о │ │ │ │
│и
толщине изоляции св. 0,6 мм
│ │ │ │
│
1.3. Испытание кабеля напряжением:│
│ │ │
│
1.3.1. 2000 В - при U /U 300/500 В│T, S │ МЭК 60227-2 │ 2.2
│
│ о │ │ │ │
│
1.3.2. 2500 В - при U /U 450/750 В│T, S │ МЭК 60227-2 │ 2.2
│
│ о │ │ │ │
│
1.4. Сопротивление изоляции
│ T │ МЭК 60227-2 │ 2.4
│
│при
70 °C
│ │ │ │
├───────────────────────────────────┼─────┼─────────────┼─────────────────┤
│2.
Требования к конструкции
│ │ │ │
│и
конструктивным размерам
│ │ │ │
│
2.1. Проверка соответствия │T,
S │ МЭК 60227-1 │Внешний осмотр и │
│требованиям
к конструкции │ │ │испытания вручную│
│
2.2. Измерение толщины изоляции
│T, S │ МЭК 60227-2 │ 1.9
│
│
2.3. Измерение толщины оболочки
│T, S │ МЭК 60227-2 │ 1.10
│
├───────────────────────────────────┼─────┼─────────────┼─────────────────┤
│3.
Механические характеристики
│ │ │ │
│изоляции │ │ │ │
│
3.1. Испытание на растяжение
│ T │МЭК 60811-1-1│ 9.1
│
│до
старения
│ │ │ │
│
3.2. Испытание на растяжение
│ T │МЭК 60811-1-2│ 8.1.3
│
│после
старения │ │ │ │
│
3.3. Испытание на потерю массы
│ T │МЭК 60811-3-2│ 8.1
│
├───────────────────────────────────┼─────┼─────────────┼─────────────────┤
│4.
Механические свойства оболочки
│ │ │ │
│
4.1. Испытание на растяжение
│ T │МЭК 60811-1-1│ 9.2
│
│до
старения
│ │ │ │
│
4.2. Испытание на растяжение
│ T │МЭК 60811-1-2│ 8.1.3
│
│после
старения │ │ │ │
│
4.3. Испытание на потерю массы
│ T │МЭК 60811-3-2│ 8.2
│
├───────────────────────────────────┼─────┼─────────────┼─────────────────┤
│5.
Испытание под давлением
│ │ │ │
│при
высокой температуре
│ │ │ │
│
5.1. Изоляция
│ T │МЭК 60811-3-1│ 8.1
│
│
5.2. Оболочка
│ T │МЭК 60811-3-1│ 8.2
│
├───────────────────────────────────┼─────┼─────────────┼─────────────────┤
│6.
Эластичность и стойкость к удару│
│ │ │
│при
низкой температуре
│ │ │ │
│
6.1. Испытание изоляции на изгиб
│ T │МЭК 60811-1-4│ 8.1
│
│
6.2. Испытание оболочки на изгиб
│ T │МЭК 60811-1-4│ 8.2
│
│
6.3. Испытание оболочки
│ T │МЭК 60811-1-4│ 8.4
│
│на
удлинение
│ │ │ │
│
6.4. Испытание кабеля на удар
│ T │МЭК 60811-1-4│ 8.5
│
├───────────────────────────────────┼─────┼─────────────┼─────────────────┤
│7.
Испытание на тепловой удар
│ │ │ │
│
7.1. Изоляция
│ T │МЭК 60811-3-1│ 9.1
│
│
7.2. Оболочка
│ T │МЭК 60811-3-1│ 9.2
│
├───────────────────────────────────┼─────┼─────────────┼─────────────────┤
│8.
Механическая прочность кабеля
│ │ │ │
│
8.1. Прочность при растяжении
│ T │ МЭК 60227-2 │ 3.6
│
│центрального
сердечника │ │ │ │
│с
упрочняющим элементом
│ │ │ │
│
8.2. Испытание на гибкость
│ T │
- │3.4.3 настоящего
│
│ │ │ │ стандарта
│
│
8.2.1. Лифтовые кабели
│ T │
- │4.4.1.1 настоя- │
│ │ │ │щего стандарта │
│
8.2.2. Кабели для гибких
│ T │ МЭК 60227-2 │ 3.1
│
│соединений │ │ -
│4.4.1.2 настоя- │
│ │ │
│щего стандарта │
│
8.3. Испытания на статическую
│ T │ МЭК 60227-2 │ 3.5
│
│гибкость │ │ -
│4.4.2 настоящего │
│ │ │ │ стандарта
│
├───────────────────────────────────┼─────┼─────────────┼─────────────────┤
│9.
Испытание на нераспространение
│ T │МЭК 60332-1-2│ -
│
│горения │ │МЭК 60332-1-3│ -
│
└───────────────────────────────────┴─────┴─────────────┴─────────────────┘
4.4.1.
Испытание на гибкость
4.4.1.1.
Испытание на гибкость лифтовых кабелей
4.4.1.1.1.
Испытательное устройство
Устройство для
испытания на гибкость состоит из двух кареток, установленных на одинаковой
высоте и совершающих простое гармоничное возвратно-поступательное движение по
отношению друг к другу с одинаковой скоростью. Относительное ускорение кареток
- до 4 м/с2, скорость - (1500 +/- 10) циклов в час (за цикл принимают
перемещение кареток из самых взаимно удаленных позиций до наиболее близких и
обратно).
На каретках на осях
вращения закреплены зажимы для кабеля, состоящие из двух деревянных зажимающих
блоков с конусной "вводной" секцией для кабеля. Для образцов кабеля,
имеющего упрочняющие элементы, зажимы должны иметь средства крепления этих
элементов.
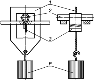
Расстояние между
осями вращения зажимов должно быть (1700 +/- 10) мм при расположении кареток в
самых взаимно удаленных позициях и (760 +/- 10) мм при расположении кареток в
наиболее близких позициях (см. рисунок 3).

1 - зажим для
кабеля; 2 - ось вращения зажима
Рисунок 3.
Устройство для испытания на гибкость
4.4.1.1.2.
Подготовка испытательного устройства
Каретки
испытательного устройства помещают в самые взаимно удаленные позиции. Отрезают
образец кабеля такой длины, чтобы при закреплении его концов статический прогиб
по центру образца составлял (40 +/- 5) мм (для обеспечения электрических
соединений по 4.4.1.1.3 на концах образца должны быть оставлены изолированные
жилы достаточной длины, см. рисунок 3).
Каретки
испытательного устройства помещают в наиболее близкие друг к другу позиции,
кабель зажимают в каретках; упрочняющие элементы также должны быть закреплены.
Затем конусную секцию зажимов заполняют эпоксидной или полиуретановой смолой.
Примечание.
Закрепление должно быть надежным с некоторой степенью эластичности, чтобы не
произошло преждевременного повреждения токопроводящих жил в местах зажима
кабеля.
4.4.1.1.3.
Электрические соединения
Изолированные жилы
кабеля должны быть соединены в непрерывную последовательную электрическую цепь.
Концы цепи должны быть соединены с источником постоянного тока напряжением 12
В. Должен быть обеспечен постоянный контроль непрерывности цепи жил кабеля. При
нарушении целостности цепи жил должно быть автоматическое отключение
испытательного устройства. Должно быть предусмотрено испытание кабеля высоким
напряжением (1,5 кВ переменного тока или 2,5 кВ постоянного тока в течение 5
мин) с интервалами в одну неделю.
4.4.1.1.4.
Требования к испытанию
После закрепления
образца в испытательном устройстве проводят испытание воздействием 3000000
циклов изгиба. Изгибы проводят непрерывно, за исключением перерывов раз в
неделю для проведения испытания высоким напряжением. Проверку целостности
электрической цепи жил проводят непрерывно в течение всего испытания.
При испытании на
изгиб не должно быть нарушения целостности электрической цепи жил, а при
испытании высоким напряжением не должно быть перекрытия или пробоя изоляции.
4.4.1.2.
Испытание на гибкость кабелей (для гибких соединений)
Испытание на
гибкость кабелей для гибких соединений проводят в соответствии с требованиями,
указанными в таблице 11.
Таблица 11
Испытание на
гибкость
┌──────────────────────────────────────────────────┬──────────┬───────────┐
│Номинальное
сечение жил круглого кабеля для гибких│
Масса │ Диаметр
│
│ соединений в поливинилхлоридной оболочке,
мм2 │груза, кг │роликов,
мм│
├──────────────────────────────────────────────────┼──────────┼───────────┤
│ До 1,00 включ. │ 1,0
│ 80 │
│ 1,50; 2,50 │ 1,50
│ 120 │
│ 4,00 │
2,0 │ 200
│
└──────────────────────────────────────────────────┴──────────┴───────────┘
4.4.2. Испытание на статическую гибкость
Испытание проводят
по МЭК 60227-2 (пункт 3.5).
Расстояние l,
подлежащее проверке, должно быть не более 30-кратного измеренного наружного
диаметра кабеля.
4.4.3.
Прочность при растяжении упрочняющего элемента
Если между
изготовителем и потребителем не обусловлено иное, прочность при растяжении
центрального сердечника, включая упрочняющий элемент, испытывают по МЭК 60227-2
(пункт 3.6).
При испытании не
должно быть обрыва центрального сердечника или упрочняющего элемента.
4.4.4.
Другие испытания
По согласованию
между изготовителем и потребителем могут быть предписаны другие испытания и
требования к их проведению.
4.5.
Указания по применению
Для лифтов и
подъемников кабели типа 60227 IEC 71c применяют, если длина свободно висящего
кабеля не превышает 45 м, а скорость перемещения не более 4,0 м/с.
При применении
кабелей вне указанных пределов в части требований к допустимой длине свободно
висящего кабеля и других требований следует руководствоваться местными
региональными, национальными и другими правилами.
Кабели по
настоящему стандарту не предназначены для эксплуатации при температуре ниже 0
°C.
Максимальная
температура токопроводящей жилы при нормальной эксплуатации составляет 70 °C.
Приложение
А
(обязательное)
МЕТОД ФИКТИВНОГО
РАСЧЕТА РАЗМЕРОВ ОБОЛОЧКИ
А.1. Общие
положения
Метод фиктивного
расчета размеров оболочки кабеля должен соответствовать приведенному в МЭК
60502-1 (приложение А) со следующими дополнениями.
А.2. Токопроводящие
жилы
Используют
значения, приведенные в МЭК 60502-1 [таблица А.1 (приложение А)], а также дополнительные
значения по таблице А.1 настоящего стандарта.
Таблица А.1
Расчетный диаметр
токопроводящей жилы
┌─────────────────────────────────────┬───────────────────────────────────┐
│ Номинальное сечение жилы, мм2 │ d , мм │
│
│ L │
├─────────────────────────────────────┼───────────────────────────────────┤
│ 0,75 │ 1,0 │
│ 1,00 │ 1,1 │
└─────────────────────────────────────┴───────────────────────────────────┘
А.3. Диаметр по
скрученным изолированным жилам
Используют
значения, приведенные в МЭК 60502-1 [таблица А.1 (приложение А)], а также
дополнительные значения по таблице А.2 настоящего стандарта.
Таблица А.2
Коэффициент скрутки
k изолированных жил
|
Число изолированных жил
|
Коэффициент скрутки k
|
|
24
|
6
|
|
24 <1>
|
9
|
|
30
|
7
|
|
30 <1>
|
11
|
|
<1> Пучковая скрутка изолированных
жил.
|
А.4. Внутренние
покрытия
Толщину
неметаллических покрытий по скрученным изолированным жилам при расчете не
учитывают.
А.5.
Концентрические жилы и металлические экраны
Увеличение диаметра
равно четырехкратному диаметру проволоки оплетки.
Приложение
ДА
(справочное)
СВЕДЕНИЯ О
СООТВЕТСТВИИ ССЫЛОЧНЫХ
МЕЖДУНАРОДНЫХ
СТАНДАРТОВ ССЫЛОЧНЫМ НАЦИОНАЛЬНЫМ СТАНДАРТАМ
РОССИЙСКОЙ
ФЕДЕРАЦИИ (И ДЕЙСТВУЮЩИМ В ЭТОМ КАЧЕСТВЕ
МЕЖГОСУДАРСТВЕННЫМ
СТАНДАРТАМ)
Таблица ДА.1
┌──────────────────┬────────┬─────────────────────────────────────────────┐
│ Обозначение │Степень │ Обозначение и
наименование соответствующего │
│ ссылочного │соответ-│ национального стандарта │
│ международного │ствия
│
│
│ стандарта │ │
│
├──────────────────┼────────┼─────────────────────────────────────────────┤
│МЭК
60096-0-1:1990│ - │ <*> │
├──────────────────┼────────┼─────────────────────────────────────────────┤
│МЭК
60227-1:1993 │ IDT
│ГОСТ Р МЭК 60227-1-2009 "Кабели │
│ │ │с поливинилхлоридной изоляцией
на номинальное│
│ │ │напряжение до 450/750 В
включительно. │
│ │ │Часть 1. Общие
требования"
│
├──────────────────┼────────┼─────────────────────────────────────────────┤
│МЭК
60227-2:1997 │ IDT
│ГОСТ Р МЭК 60227-2-99 "Кабели │
│ │ │с поливинилхлоридной изоляцией
на номинальное│
│ │ │напряжение до 450/750 В
включительно. Методы │
│ │ │испытаний" │
├──────────────────┼────────┼─────────────────────────────────────────────┤
│МЭК
60228:1978 │ MOD
│ГОСТ 22483-77 "Жилы токопроводящие медные и │
│ │ │алюминиевые для кабелей,
проводов и шнуров. │
│ │ │Основные параметры. Технические
требования" │
├──────────────────┼────────┼─────────────────────────────────────────────┤
│МЭК
60332-1:1993 │ IDT
│ГОСТ Р МЭК 60332-1-1-2007 "Испытания │
│ │ │электрических и оптических
кабелей в условиях│
│ │ │воздействия пламени. Часть 1-1.
Испытание │
│ │ │на нераспространение горения
одиночного │
│ │ │вертикально расположенного
изолированного │
│ │ │провода или кабеля.
Испытательное │
│ │ │оборудование" │
│
├────────┼─────────────────────────────────────────────┤
│ │ IDT
│ГОСТ Р МЭК 60332-1-2-2007 "Испытания │
│ │ │электрических и оптических
кабелей в условиях│
│ │ │воздействия пламени. Часть 1-2.
Испытание │
│ │ │на нераспространение горения
одиночного │
│ │ │вертикально расположенного
изолированного │
│ │ │провода или кабеля. Проведение
испытания │
│ │ │при воздействии пламенем газовой
горелки │
│ │ │мощностью 1 кВт с
предварительным смешением │
│ │ │газов" │
│ ├────────┼─────────────────────────────────────────────┤
│ │ IDT
│ГОСТ Р МЭК 60332-1-3-2007 "Испытания │
│ │ │электрических и оптических
кабелей в условиях│
│ │ │воздействия пламени. Часть 1-3.
Испытание │
│ │ │на нераспространение горения
одиночного │
│ │ │вертикально расположенного
изолированного │
│ │ │провода или кабеля. Проведение
испытания │
│ │ │на образование горящих
капелек/частиц" │
├──────────────────┼────────┼─────────────────────────────────────────────┤
│МЭК
60502-1 │ -
│
<*>
│
├──────────────────┼────────┼─────────────────────────────────────────────┤
│МЭК
60811-1-1:1993│ IDT │ГОСТ Р МЭК 60811-1-1-98 "Общие
методы │
│ │ │испытаний материалов изоляции и
оболочек │
│ │ │электрических кабелей. Измерение
толщины │
│ │ │и наружных размеров. Методы
определения │
│ │ │механических свойств" │
├──────────────────┼────────┼─────────────────────────────────────────────┤
│МЭК
60811-1-2:1985│ IDT │ГОСТ Р МЭК 60811-1-2-2006 "Общие
методы │
│ │ │испытаний материалов изоляции и
оболочек │
│ │ │электрических и оптических
кабелей. │
│ │ │Часть 1-2. Методы общего применения.
Методы │
│ │ │теплового старения" │
├──────────────────┼────────┼─────────────────────────────────────────────┤
│МЭК
60811-1-4:1985│ IDT │ГОСТ Р МЭК 60811-1-4-2008 "Общие
методы │
│ │ │испытаний материалов изоляции и
оболочек │
│ │ │электрических и оптических
кабелей. │
│ │ │Часть 1-4. Методы общего
применения. │
│ │ │Испытание при низкой
температуре" │
├──────────────────┼────────┼─────────────────────────────────────────────┤
│МЭК
60811-3-1:1985│ IDT │ГОСТ Р МЭК 60811-3-1-94
"Специальные методы │
│ │ │испытаний поливинилхлоридных
компаундов │
│ │ │изоляции и оболочек
электрических кабелей. │
│ │ │Испытание под давлением при
высокой │
│ │ │температуре. Испытание на
стойкость │
│ │ │к растрескиванию" │
├──────────────────┼────────┼─────────────────────────────────────────────┤
│МЭК
60811-3-2:1985│ IDT │ГОСТ Р МЭК 60811-3-2-94
"Специальные методы │
│ │ │испытаний поливинилхлоридных
компаундов │
│ │ │изоляции и оболочек
электрических кабелей. │
│ │ │Определение потери массы.
Испытание │
│ │ │на термическую
стабильность"
│
├──────────────────┴────────┴─────────────────────────────────────────────┤
│ Примечание.
В настоящей таблице
использованы следующие условные│
│обозначения
степени соответствия стандартов: │
│ - IDT - идентичные стандарты; │
│ - MOD - модифицированные стандарты. │
│
│
│
<*> Соответствующий национальный
стандарт отсутствует. До
его│
│утверждения
рекомендуется использовать перевод на
русский язык данного│
│международного стандарта.
Перевод данного международного стандарта│
│находится
в ОАО "ВНИИКП". │
└─────────────────────────────────────────────────────────────────────────┘