Утвержден и
введен в действие
Приказом
Ростехрегулирования
от 4 августа 2009
г. N 279-ст
НАЦИОНАЛЬНЫЙ СТАНДАРТ РОССИЙСКОЙ ФЕДЕРАЦИИ
СВАРКА
ТЕРМИНЫ МНОГОЯЗЫЧНЫЕ ДЛЯ СВАРНЫХ СОЕДИНЕНИЙ
Welding. Multilingual terms
for welded joints
ISO 17659:2002
Welding - Multilingual terms
for welded
joints with illustrations
(IDT)
ГОСТ Р ИСО 17659-2009
Группа В00
ОКС 25.160.40
Дата введения
1 июля 2010 года
Предисловие
Цели и принципы
стандартизации в Российской Федерации установлены Федеральным законом от 27
декабря 2002 г. N 184-ФЗ "О техническом регулировании", а правила
применения национальных стандартов Российской Федерации - ГОСТ Р 1.0-2004
"Стандартизация в Российской Федерации. Основные положения".
Сведения о
стандарте
1. Подготовлен
Федеральным государственным учреждением "Научно-учебный центр "Сварка
и контроль" при МГТУ им. Н.Э. Баумана (ФГУ НУЦСК при МГТУ им. Н.Э.
Баумана), Национальным агентством контроля и сварки (НАКС) и
Санкт-Петербургским государственным политехническим университетом (СПбГПУ) на
основе собственного аутентичного перевода стандарта, указанного в пункте 4.
2. Внесен
Техническим комитетом по стандартизации ТК 364 "Сварка и родственные
процессы".
3. Утвержден и
введен в действие Приказом Федерального агентства по техническому регулированию
и метрологии от 4 августа 2009 г. N 279-ст.
4. Настоящий
стандарт идентичен международному стандарту ИСО 17659:2002 "Сварка.
Многоязычные термины для сварных соединений с рисунками" (ISO 17659:2002 "Welding -
Multilingual terms for welded joints with illustrations").
Наименование
настоящего стандарта изменено относительно наименования указанного
международного стандарта для приведения в соответствие с ГОСТ Р 1.5-2004 (пункт
3.5).
При применении
настоящего стандарта рекомендуется использовать вместо ссылочных международных
стандартов соответствующие им национальные стандарты, сведения о которых
приведены в дополнительном Приложении В.
5. Введен впервые.
Информация об
изменениях к настоящему стандарту публикуется в ежегодно издаваемом
информационном указателе "Национальные стандарты", а текст изменений
и поправок - в ежемесячно издаваемых информационных указателях
"Национальные стандарты". В случае пересмотра (замены) или отмены
настоящего стандарта соответствующее уведомление будет опубликовано в
ежемесячно издаваемом информационном указателе "Национальные
стандарты". Соответствующая информация, уведомление и тексты размещаются
также в информационной системе общего пользования - на официальном сайте
Федерального агентства по техническому регулированию и метрологии в сети
Интернет.
Введение
Международный
стандарт ИСО 17659 разработан техническим комитетом ИСО/ТК 44 "Сварка и
родственные процессы", подкомитетом ПК 7 "Термины и
определения".
Тип соединения и
подготовка соединения под сварку являются важными составляющими сварных
конструкций и зависят от толщины деталей, материалов, процесса сварки и
положения сварного шва в пространстве. Поэтому при чтении на разных языках
необходимо, чтобы эквивалентные термины толковались однозначно; недоразумения
могут иметь серьезные и даже опасные последствия.
Цель данного
стандарта - дать однозначное представление сварочных терминов общего
употребления. Схематические изображения привязаны к русским, английским и
французским терминам, однако, при необходимости, их можно адаптировать,
добавляя соответствующие термины на других языках.
1. Область
применения
Настоящий стандарт
описывает с помощью графического изображения большинство наиболее
употребительных терминов на русском, английском и французском языках,
относящихся к типам соединений, их подготовке и сварным швам.
Настоящий стандарт
может использоваться самостоятельно или совместно с другими подобными
стандартами.
Примечания. 1.
Приведенные в настоящем стандарте рисунки являются лишь эскизами, служащими для
пояснения характерных особенностей различных типов соединения. Необязательно
изображать эти рисунки в таком же виде на проектных или технических чертежах
(например, согласно ИСО 2553).
2. В настоящем
стандарте приведены эквивалентные термины на трех официальных языках ИСО
(русском, английском и французском).
2.
Нормативные ссылки
Нижеследующие
нормативные ссылки содержат положения, которые посредством ссылок в данном
тексте составляют положения международного стандарта. Если ссылки датированы,
то последующие поправки к ним или их пересмотры не используют. Однако
участвующим сторонам соглашений на основе настоящего стандарта рекомендуется
выяснить возможность применения самых последних изданий нормативных документов,
указанных ниже. Поскольку ссылки не датированы, то используют последнее издание
документа, на который дается ссылка.
ИСО 857-1. Сварка и
родственные процессы. Словарь. Часть 1. Процессы сварки металлов
ИСО 2553.
Соединения сварные и паяные. Условные обозначения на чертежах.
3. Термины
и определения
В настоящем
стандарте применены следующие термины с соответствующими определениями.
3.1.
Соединение: сочленение деталей, которые уже соединены или должны быть
соединены.
3.1. Joint: the junction of workpieces or the edges of workpieces that
are to be joined or have been joined.
3.1. Assemblage: disposition relative des
ou des bords des
souder ou qui ont
.
3.2. Сварка
плавлением: сварка, осуществляемая оплавлением сопрягаемых поверхностей без
приложения внешней силы, обычно, но необязательно, добавляется расплавленный
присадочный металл.
3.2. Fusion welding: welding involving localized melting without the
application of external force in which the fusion surface(s) has (have) to be
melted.
NOTE. Filler metal may or may not be added.
3.2. Soudage par fusion: soudage avec fusion locale sans application
d'effort
, dans lequel les faces
souder sont fondues.
NOTE. Un
d'apport peut ou non
.
3.3. Сварка
давлением: сварка, осуществляемая приложением внешней силы и сопровождаемая
пластическим деформированием сопрягаемых поверхностей, обычно без присадочного
металла.
Примечание.
Сопрягаемые поверхности допускается нагревать, чтобы облегчить получение
соединения (ИСО 857-1).
3.3. Welding using pressure: welding in which sufficient external force
is applied to cause more or less plastic deformation of both the contact
surfaces, generally without the addition of filler metal.
NOTE. The faying surfaces may be heated to permit or facilitate joining.
[ISO 857-1].
3.3. Soudage avec pression:
de soudage dans lequel un effort
suffisant est
pour provoquer une
plastique plus ou moins forte des faces
souder, en
sans
d'apport.
NOTE. Les faces
souder peuvent
afin de permettre ou de faciliter la liaison.
3.4.
Сопрягаемая поверхность: поверхность одной детали, которая предназначена для
соединения с поверхностью другой детали для формирования соединения.
3.4. Faying surface: surface of one component that is intended to be in
contact with a surface of another component to form a joint.
3.4. Face
souder: surface de l'une des
mise en contact avec une surface d'une autre
pour constituer un assemblage.
3.5. Частичное
проплавление: проплавление, которое преднамеренно не является полным.
3.5. Partial penetration: penetration that is intentionally not full
penetration.
3.5.
partielle:
volontairement moindre qu'une pleine
.
3.6.
Неполное проплавление: проплавление, глубина которого менее установленной.
3.6. Incomplete penetration: penetration that is less than that required
or specified.
3.6. Manque de
:
moindre que celle
ou
.
3.7.
Стыковое соединение: тип соединения, при котором детали лежат в одной плоскости
и примыкают друг к друг торцовыми поверхностями.
3.7. Butt joint: type of joint where the parts lie approximately in the
same plane and abut against one another.
3.7. Assemblage bout
bout: type d'assemblage dans lequel les
sont
approximativement dans un
plan et sont en contact entre elles.
3.8.
Параллельное соединение: тип соединения, при котором детали параллельны друг
другу, например при плакировании взрывом.
3.8. Parallel joint: type of joint where the parts lie parallel to each
other, e.g. in explosive cladding.
3.8. Assemblage
recouvrement total: type d'assemblage dans
lequel les
sont
dans des plans
en se recouvrant totalement, par exemple en placage
par explosion.
3.9.
Нахлесточное соединение: тип соединения, при котором детали параллельны друг
другу и частично перекрывают друг друга.
3.9. Lap joint: type of joint where the parts lie parallel to each other
and overlap each other.
3.9. Assemblage
recouvrement: type d'assemblage dans lequel
les
sont
dans des plans
en se recouvrant partiellement.
3.10.
Тавровое соединение под прямым углом: тип соединения, при котором детали
сопрягаются под прямым углом (образуя Т-образную форму).
3.10. T-joint: type of joint where the parts meet each other at
approximately right angles (forming a T-shape).
3.10. Assemblage en T: type d'assemblage dans lequel les
sont approximativement perpendiculaires entre
elles, formant un T.
3.11. Крестообразное
соединение: тип соединения, при котором две детали, лежащие в одной плоскости,
примыкают под прямым углом к третьей детали, лежащей между ними (образуя
двойную Т-образную форму).
3.11. Cruciform joint: type of joint where two parts lying in the same
plane each meet, at right angles, a third part lying between them (forming a
double T-shape).
3.11. Assemblage en croix: type d'assemblage dans lequel deux
dans un meme plan sont perpendiculaires
une
, formant un double T.
3.12.
Тавровое соединение под острым углом: тип соединения, при котором одна деталь
примыкает к другой под острым углом.
3.12. Angle joint: type of joint where one part meets the other at an
acute angle.
3.12. Assemblage en angle
forte inclinaison: type d'assemblage dans
lequel les
forment entre elles un angle ouvert et un
angle
.
3.13.
Угловое соединение: тип соединения, при котором угол между поверхностями двух
деталей в месте примыкания кромок свыше 30°.
3.13. Corner joint: type of joint where two parts meet at their edges at
an angle greater than 30° to each other.
3.13. Assemblage en angle
: type d'assemblage dans
lequel deux
en contact par un chant ou par leurs
forment entre elles un angle
30°.
3.14.
Торцовое соединение: тип соединения, при котором угол между поверхностями двух
деталей в месте примыкания кромок составляет от 0° до 30°.
3.14. Edge joint: type of joint where two parts meet at their edges at
an angle of 0° to 30°.
3.14. Assemblage sur chant: type d'assemblage dans lequel deux
en contact par leurs
forment entre elles un angle compris entre 0°
et 30°.
3.15.
Соединение нескольких деталей: тип соединения, при котором не менее трех
деталей примыкают друг к другу под любым установленным углом.
3.15. Multiple joint: type of joint where three or more parts meet at
any required angle to each other.
3.15. Assemblage
joints multiples: type d'assemblage dans
lequel trios
ou plus forment entre elles des angles de
valeur quelconque.
3.16.
Перекрестное соединение: тип соединения, при котором две детали (например,
проволоки) лежат друг на друге пересекаясь.
3.16. Cross joint: type of joint where two parts (e.g. wires) lie
crossing over each other.
3.16. Assemblage de fils en croix assemblage de ronds en croix: type
d'assemblage dans lequel deux
, par exemple des fils ou
des ronds, forment une croix.
3.17.
Максимальная толщина шва: значение, измеряемое от самой глубокой точки
проплавления углового шва или крайней точки корня стыкового шва до наивысшей
точки выпуклости шва.
Примечание.
Измерение обычно проводят по поперечному сечению шва.
3.17. Maximum throat thickness: dimension measured from the deepest
point of the penetration in fillet welds or the extremity of the root run in
butt welds to the highest point of the excess weld metal.
NOTE. This is usually measured from a cross-section.
3.17. Gorge totale (soudures d'angle)
totale (soudures bout
bout): soudures d'angle distance
entre le point le plus bas de la
et le point le plus haut de la
soudures bout
bout distance
entre le point le plus bas de la passe de fond
et le point le plus haut de la
.
NOTE. Cette distance est habituellement
sur une coupe transversale.
3.18.
Проектная толщина шва: толщина шва, установленная проектировщиком.
3.18. Design throat thickness: throat thickness specified by the
designer.
3.18. Gorge
(soudures d'angle)
(soudures bout
bout): gorge
par le concepteur.
3.19.
Теоретическая толщина углового шва: высота наибольшего равнобедренного
треугольника, который можно вписать в сечение выполненного шва;
теоретическая
толщина стыкового шва: минимальное расстояние от поверхности детали до корня
шва (ИСО 2553).
3.19. Actual throat thickness: (fillet welds) the value of the height of
the largest isosceles triangle that can be inscribed in the section of the
finalized weld (butt welds), the minimum distance from the surface of the part
to the bottom of the penetration [ISO 2553].
3.19. Gorge
(soudures d'angle)
(soudures bout
bout): (soudures d'angle) hauteur duplus grand
triangle
pouvant
inscrit dans la soudure
(soudures bout
bout) distance minimale de la surface de la
la partie
de la penetration envers [ISO 2553].
3.20. Эффективная
толщина шва: размер, который определяет передачу нагрузки и зависит от формы и
глубины проплавления шва.
3.20. Effective throat thickness: dimension that is responsible for
carrying the load, dependent on the shape and penetration of the weld.
3.20. Gorge efficace (soudures d'angle)
efficace (soudures bout
bout): dimension qui transmet l'effort et qui
de la forme
et de la
de la soudure.
3.21. Катет
углового шва: сторона наибольшего равнобедренного треугольника, который можно
вписать в сечение шва.
3.21. Leg length: side of the largest isosceles triangle that can be
inscribed in the section.
3.21.
: soudures d'angle
du plus grand triangle
inscrit dans la section.
4. Использование эквивалентных терминов
Последующие таблицы
отображают общепринятое употребление терминов на разных языках, но термины,
показанные как эквивалентные, необязательно в точности соответствуют друг другу
по значению и определению. В частности, английский термин "fusion face"
("расплавляемая поверхность") относится к любой части поверхности
заготовки, расплавляемой во время сварки; в зависимости от контекста этот
термин может соответствовать французским терминам "face
souder" или "face du chanfrei".
Сравнимые термины,
применяемые в США, приведены в Приложении А.
5. Типы
соединений
Тип соединения
определяют количеством, размерами и относительной ориентацией соединяемых
деталей. На рисунке 1 схематично показаны примеры с соответствующими терминами
и пояснениями.

a) стыковое соединение
Butt joint
Assemblage bout
bout

b) параллельное соединение
Parallel joint
Assemblage
recouvrement total

c) нахлесточное соединение
Lap joint
Assemblage
recouvrement

d) тавровое
соединение под прямым углом
T-joint
Assemblage en T

e) крестообразное соединение
Cruciform joint
Assemblage en croix

f) тавровое
соединение под острым углом
Angle joint
Assemblage en angle
forte inclinaison

g) угловое соединение
Corner joint
Assemblage en angle


h) торцовое
соединение под острым углом
Edge joint
Assemblage sur
chant

i)
соединение нескольких деталей
Multiple joint
Assemblage a joints
multiples

j) перекрестное соединение
Cross joint
Assemblage de fils (ou de ronds) en croix
Рисунок 1. Типы соединений
Figure 1. Types of joints
Figure 1. Types d'assemblages
6. Типы подготовки соединений
под сварку и
геометрия соединений
Рисунки 2 - 11 и
таблицы 1 - 5 иллюстрируют термины, относящиеся к подготовке соединений и
геометрии соединений. Обозначения, показанные на рисунках, приведены перед
соответствующими терминами. Линейные размеры и углы показаны числами, а
поверхности - буквами. Рисунки приведены в описательных целях и не могут быть
основой для технических чертежей.

Рисунок 2.
Подготовка под сварку стыкового
соединения без
скоса кромок
Figure 2. Preparation for square butt weld
Figure 2.
pour soudure
bout
bout sur bords droits

Рисунок 3.
Подготовка под сварку стыкового соединения
со скосом одной
кромки с притуплением и с подкладкой
Figure 3. Preparation for single
bevel butt weld with backing
Figure 3.
pour soudure en demi-Y avec support

Рисунок 4.
Подготовка под сварку стыкового соединения
с V-образным скосом
кромок и с притуплением
Figure 4. Preparation for single V-butt weld
Figure 4.
en Y

Рисунок 5.
Подготовка под сварку стыкового
соединения с
U-образным скосом кромок
Figure 5. Preparation for single U-butt weld
Figure 5.
en U
Таблица 1
Термины,
относящиеся к подготовке стыковых соединений
───────┬───────────────────┬────────────────────────┬─────────────────────
Позиция│ Русский │ English │

───────┴───────────────────┴────────────────────────┴─────────────────────
A
Лицевая поверхность upper
workpiece surface face
de
детали la

───────────────────────────────────────────────────────────────────────────
B
Обратная сторона reverse
side face
de
детали la

───────────────────────────────────────────────────────────────────────────
C
Боковая кромка plate
edge chant de la

пластины
───────────────────────────────────────────────────────────────────────────
D <a>
Расплавляемая fusion
face face
souder
поверхность (unprepared)
(без скоса кромки)
───────────────────────────────────────────────────────────────────────────
E <a>
Расплавляемая fusion face
(prepared) face du chanfrein
поверхность
(со скосом кромки)
───────────────────────────────────────────────────────────────────────────
F
Поверхность root
face
,
talon
притупления кромки
───────────────────────────────────────────────────────────────────────────
X
Подкладка weld pool
backing latte-support
───────────────────────────────────────────────────────────────────────────
1
Толщина пластины plate
thickness
de la

───────────────────────────────────────────────────────────────────────────
3
Боковое ребро side edge of
workpiece
de
детали
la

───────────────────────────────────────────────────────────────────────────
4
<a>, Зазор между Root gap
des bords
11
<a> свариваемыми
поверхностями
───────────────────────────────────────────────────────────────────────────
5
Ребро стыкуемой Side of gap
face
longitudinale
поверхности du joint
───────────────────────────────────────────────────────────────────────────
6
Боковое ребро Side of
fusion face
du
расплавляемой joint
поверхности
───────────────────────────────────────────────────────────────────────────
7
Длина соединения Joint
length longueur du joint
───────────────────────────────────────────────────────────────────────────
8
Продольное ребро longitudinal
edge of
longitudinale
скошенной кромки preparation du chanfrein
───────────────────────────────────────────────────────────────────────────
9 Толщина соединения joint thickness profondeur du joint
───────────────────────────────────────────────────────────────────────────
10 Радиус при вершине root radius rayon
fond de
разделки
chanfrein
───────────────────────────────────────────────────────────────────────────
12 Притупление кромки depth of root face hauteur du talon
───────────────────────────────────────────────────────────────────────────
14 Боковое ребро side edge of root
face
faciale du
притупления кромки talon
───────────────────────────────────────────────────────────────────────────
15 Боковое ребро side edge of
faciale du
скошенной кромки preparation chanfrein
───────────────────────────────────────────────────────────────────────────
16 Ширина обработки width of preparation largeur du chanfrein
кромки
───────────────────────────────────────────────────────────────────────────
17 Угол скоса кромки angle of bevel angle du chanfrein
───────────────────────────────────────────────────────────────────────────
18 Глубина обработки depth of preparation profondeur du
кромки
chanfrein
───────────────────────────────────────────────────────────────────────────
19 Ширина скошенной width of prepared face largeur de la face du
поверхности кромки
chanfrein
───────────────────────────────────────────────────────────────────────────
20 Ширина разделки joint width largeur de l'ouverture
───────────────────────────────────────────────────────────────────────────
21 Угол разделки included angle angle d'ouverture
кромок
───────────────────────────────────────────────────────────────────────────
44 Выступ кромки
land

───────────────────────────────────────────────────────────────────────────
<a> См. раздел 4 <a> See Clause 4,
use <a> Voir article 4,
об использовании of equivalent terms. utilisation de termes
эквивалентных
.
терминов.
───────────────────────────────────────────────────────────────────────────

Рисунок 6.
Подготовка под сварку таврового соединения
Figure 6. Preparation for fillet weld (T-joint)
Figure 6.
pour soudures
d'angle sur assemblage en T

Рисунок 7.
Подготовка под сварку таврового
соединения с
двусторонним скосом кромки
Figure 7. Preparation for double-bevel T-butt welds
Figure 7.
pour soudures d'angle
sur assemblage en T avec double chanfrein
Таблица 2
Термины,
относящиеся к подготовке тавровых соединений
───────┬──────────────────┬─────────────────────────┬──────────────────────
Позиция│ Русский │ English │

───────┴──────────────────┴─────────────────────────┴──────────────────────
E
Расплавляемая fusion face
(prepared) face du chanfrein
поверхность
───────────────────────────────────────────────────────────────────────────
I <a>
Расплавляемая fusion face
(fillet face
souder
поверхность weld)
───────────────────────────────────────────────────────────────────────────
1
Толщина пластины plate thickness
de la

───────────────────────────────────────────────────────────────────────────
4,
Зазор между root gap
des bords
11
<a> свариваемыми
деталями
───────────────────────────────────────────────────────────────────────────
7 <a>
Длина соединения joint length longueur du joint
───────────────────────────────────────────────────────────────────────────
8
Продольное ребро longitudinal
edge of
longitudinale
скошенной кромки preparation du chanfrein
───────────────────────────────────────────────────────────────────────────
12 Притупление кромки depth of root face hauteur du talon
───────────────────────────────────────────────────────────────────────────
13 Продольное ребро longitudinal edge of
longitudinale
притупления
кромки root face du talon
───────────────────────────────────────────────────────────────────────────
14
Боковое ребро side edge of
root face
faciale du
притупления кромки talon
───────────────────────────────────────────────────────────────────────────
15
Боковое ребро side edge
of
faciale du
скошенной кромки preparation chanfrein
───────────────────────────────────────────────────────────────────────────
16
Ширина обработки width of
preparation largeur du chanfrein
кромки
───────────────────────────────────────────────────────────────────────────
17
Угол скоса кромки angle of
bevel angle du chanfrein
───────────────────────────────────────────────────────────────────────────
18
Глубина обработки depth of
preparation profondeur du
кромки
chanfrein
───────────────────────────────────────────────────────────────────────────
20
Ширина разделки joint
width largeur de l'ouverture
───────────────────────────────────────────────────────────────────────────
21
Угол разделки included
angle angle d'ouverture
кромок
───────────────────────────────────────────────────────────────────────────
<a> См. раздел 4
<a> See Clause 4, use
<a> Voir article 4,
об использовании of equivalent terms. utilisation de termes
эквивалентных
.
терминов.
───────────────────────────────────────────────────────────────────────────

Рисунок 8.
Подготовка под сварку стыкового
соединения с отбортовкой
кромок
Figure 8. Preparation for butt weld
between plates with raised edges
Figure 8.
Assemblage
bords

Таблица 3
Термины,
относящиеся к подготовке стыкового
соединения с отбортовкой
кромок
───────┬──────────────────┬──────────────────────┬─────────────────────────
Позиция│ Русский │ English │

───────┴──────────────────┴──────────────────────┴─────────────────────────
D <a>
Расплавляемая fusion
face face
souder
поверхность (без (unprepared)
скоса кромки)
───────────────────────────────────────────────────────────────────────────
1
Толщина пластины plate
thickness Epaisseur de la

───────────────────────────────────────────────────────────────────────────
22
Длина отбортовки length of
raised edge longueur du bord
кромок

───────────────────────────────────────────────────────────────────────────
23
Продольное ребро longitudinal
side of
longitudinale du
отбортованной raised edge bord

кромки
───────────────────────────────────────────────────────────────────────────
24 Стык отбортованных abutment of raised
longitudinale du
кромок edge joint
───────────────────────────────────────────────────────────────────────────
25 Высота отбортовки depth of raised edge hauteur du bord

кромки
───────────────────────────────────────────────────────────────────────────
26 Радиус отбортовки radius of raised edge rayon de pliage du bord
кромки
───────────────────────────────────────────────────────────────────────────
<a> См. раздел 4 <a> See Clause 4,
use <a> Voir article 4,
об использовании of equivalent terms. utilisation de termes
эквивалентных
.
терминов.
───────────────────────────────────────────────────────────────────────────

a) круглые выступы
Round projections
Bossages ronds

b) удлиненные выступы
Elongated projections
Bossages


c) кольцевые выступы
Annular projections
Bossages annulaires
Рисунок 9.
Формы соединений при рельефной сварке
Figure 9. Forms of projection welds
Figure 9. Formes de bossages
Таблица 4
Термины,
относящиеся к подготовке
соединения под
рельефную сварку
───────┬──────────────────┬───────────────────────┬────────────────────────
Позиция│ Русский │ English │

───────┴──────────────────┴───────────────────────┴────────────────────────
1
Толщина пластины plate
thickness
de la

───────────────────────────────────────────────────────────────────────────
27
Шаг выступа pitch (of
projections) entraxe (des bossages)
───────────────────────────────────────────────────────────────────────────
28
Высота выступа projection
height hauteur du bossage
───────────────────────────────────────────────────────────────────────────
29
Длина выступа projection
length longueur du bossage
───────────────────────────────────────────────────────────────────────────
30
Ширина выступа projection
width largeur du bossage
───────────────────────────────────────────────────────────────────────────
31
Диаметр выступа projection
diameter
du bossage
───────────────────────────────────────────────────────────────────────────
32
Диаметр кольцевого annular
projection
du bossage
выступа diameter annulaire
───────────────────────────────────────────────────────────────────────────
33
Расстояние до края edge
distance distance au bord
детали (de la
)
───────────────────────────────────────────────────────────────────────────

Рисунок 10.
Сборка под контактную точечную
и шовную сварки с
раздавливанием кромок
Figure 10. Configuration for spot, seam or mash welds
Figure 10. Configuration pour soudurepar
points,
la molette ou


Рисунок 11.
Сборка под шовную контактную
стыковую сварку по
фольге
Figure 11. Configuration for foil-seam-welds
Figure 11. Configuration pour soudure
la molette avec feuillard d'apport
Таблица 5
Термины,
относящиеся к сборке под сварку
давлением
нахлесточных соединений
───────┬────────────────────┬─────────────────────┬────────────────────────
Позиция│ Русский │ English │

───────┴────────────────────┴─────────────────────┴────────────────────────
G
Область нахлестки lapped
area surface de recouvrement
───────────────────────────────────────────────────────────────────────────
H
Поверхность контакта foil contact surface surface de contact du
с фольгой feuillard
───────────────────────────────────────────────────────────────────────────
1
Толщина пластины plate thickness
de la

───────────────────────────────────────────────────────────────────────────
2
Ширина детали
workpiece largeur de
la

───────────────────────────────────────────────────────────────────────────
5
Ребро стыкуемой side of gap
face
longitudinale du
поверхности joint
───────────────────────────────────────────────────────────────────────────
34
Длина нахлестки lap
length longueur de
recouvrement
───────────────────────────────────────────────────────────────────────────
35
Ширина нахлестки lap
width largeur de recouvrement
───────────────────────────────────────────────────────────────────────────
36
Длина фольги foil
length longueur du feuillard
───────────────────────────────────────────────────────────────────────────
37
Ширина фольги foil
width largeur du feuillard
───────────────────────────────────────────────────────────────────────────
38
Толщина фольги foil
thickness
du feuillard
───────────────────────────────────────────────────────────────────────────
Рисунки 2 - 8
относятся к типам подготовки соединений и геометрии соединений при сварке
плавлением, рисунки 9 - 11 - при сварке давлением.
В некоторых случаях
соответствующие цифровые обозначения на разных рисунках относятся к одним и тем
же терминам, однако это не всегда справедливо для всех рисунков, приведенных в
настоящем стандарте.
7. Швы при
сварке плавлением
Термины,
относящиеся к типовым швам, выполненным сваркой плавлением, приведены на
рисунке 12. На рисунке 13 схематично показаны элементы стыковых швов, на
рисунках 14 и 15 - элементы угловых швов различной формы, на рисунке 16 -
элементы многопроходных швов.

a) стыковой
шов с V-образной разделкой кромок
Single V-butt weld
Soudure bout
bout en V

b) угловой шов
Fillet weld
Soudure d'angle
Рисунок 12.
Примеры швов при сварке плавлением
Figure 12. Typical examples of fusion welds
Figure 12. Exemples types de soudures par fusion
Таблица 6
Термины,
относящиеся к сварным соединениям
при сварке
плавлением
───────┬─────────────────────┬─────────────────────┬───────────────────────
Позиция│ Русский │ English │

───────┴─────────────────────┴─────────────────────┴───────────────────────
1
Основной металл parent
metal
de base
───────────────────────────────────────────────────────────────────────────
2
Металл шва weld
metal
fondu
───────────────────────────────────────────────────────────────────────────
3 Зона термического heat-affected zone zone thermiquement
влияния

───────────────────────────────────────────────────────────────────────────
4 Зона сварного weld zone zone

соединения
───────────────────────────────────────────────────────────────────────────
5 Глубина проплавления fusion penetration

───────────────────────────────────────────────────────────────────────────
6 Граница шва fusion line zone de liaison
───────────────────────────────────────────────────────────────────────────
7 Корень шва root of weld racine (de la soudure)
───────────────────────────────────────────────────────────────────────────
8 Ширина шва weld width largeur de la soudure
───────────────────────────────────────────────────────────────────────────
9 Высота выпуклости шва excess weld metal

───────────────────────────────────────────────────────────────────────────
10 Катет углового шва leg
length

───────────────────────────────────────────────────────────────────────────
11 Высота выпуклости корня penetration bead
a la
шва
thickness racine
───────────────────────────────────────────────────────────────────────────
25 Глубина проплавления root penetration
a la
корня шва racine
───────────────────────────────────────────────────────────────────────────
26 Зона проплавления fusion zone zone de dilution
───────────────────────────────────────────────────────────────────────────

a) общий вид стыкового шва
General view of butt weld
Vue d'ensemble d'une soudure bout
bout

b) стыковой
шов с полным проплавлением
Full penetration butt weld
Soudure
pleine


c) стыковой
шов с неполным проплавлением
Incomplete penetration butt weld
Soudure avec manque de


d) стыковой
шов таврового соединения
Butt weld T-joint
Soudure en demi-V sur assemblage en T
Рисунок 13.
Примеры стыковых швов
Figure 13. Typical examples of butt
welds
Figure 13. Exemples types de soudures bout a bout
Таблица 7
Термины,
относящиеся к стыковым швам при сварке плавлением
───────┬────────────────────────┬──────────────────┬───────────────────────
Позиция│ Русский │ English │

───────┴────────────────────────┴──────────────────┴───────────────────────
12
<a> Максимальная толщина шва
maximum throat
totale
thickness
───────────────────────────────────────────────────────────────────────────
13
<a> Проектная толщина шва design
throat

thickness
───────────────────────────────────────────────────────────────────────────
14
<a> Теоретическая толщина actual
throat

шва thickness
───────────────────────────────────────────────────────────────────────────
15
<a> Эффективная толщина шва effective throat
efficace
thickness
───────────────────────────────────────────────────────────────────────────
16
Угол перехода шва к weld toe
angle angle de raccordement
основному металлу
───────────────────────────────────────────────────────────────────────────
17
Длина шва weld
length longueur de la
soudure
───────────────────────────────────────────────────────────────────────────
18
Чешуйчатая поверхность weld
surface with surface de la soudure
шва bead ripples avec vagues de
solidification
───────────────────────────────────────────────────────────────────────────
27 Ширина выпуклости корня root width largeur du cordon

шва la
racine
───────────────────────────────────────────────────────────────────────────
<a> См. раздел 4 <a> See Clause
4, <a> Voir article 4,
об использовании use of equivalent utilization de termes
эквивалентных терминов. terms.
.
───────────────────────────────────────────────────────────────────────────
8. Толщина угловых швов
В связи с тем, что
существуют различные формы угловых швов, необходимо учитывать различные
значения размеров их толщин (см. также рисунок 12 b).

a) (14) больше, чем (13)
(14) greater than (13)
(14) plus grand que
(13)

b) (14) меньше, чем (13)
(14) smaller than (13)
(14) plus petit que (13)
Рисунок 14. Толщины угловых швов
Figure 14. Throat thicknesses for fillet welds
Figure 14. Gorges des soudures d'angle
Таблица 8
Термины,
относящиеся к толщине угловых швов
───────┬────────────────────────┬────────────────────────┬─────────────────
Позиция│ Русский │ English │

───────┴────────────────────────┴────────────────────────┴─────────────────
12
Максимальная толщина шва maximum throat thickness gorge totale
───────────────────────────────────────────────────────────────────────────
13
Проектная толщина шва design
throat thickness gorge

───────────────────────────────────────────────────────────────────────────
14
Теоретическая толщина actual
throat thickness gorge

шва
───────────────────────────────────────────────────────────────────────────
15
Эффективная толщина шва effective
throat gorge efficace
thickness
───────────────────────────────────────────────────────────────────────────

a) угловой выпуклый шов
Convex fillet weld
Soudure d'angle
convexe

b) угловой вогнутый шов
Concave fillet weld
Soudure d'angle
concave

c) угловой шов с зазором
Fillet weld with gap
Soudure d'angle
avec jeu

d) угловой
шов с разными катетами
Fillet weld with unequal legs
Soudure d'angle


e) угловой
шов с неполным проплавлением
Fillet weld with incomplete penetration
Soudure d'angle avec manque de
partielle

f) угловой
шов с глубоким проплавлением
Fillet weld with deep penetration
Soudure d'angle
partielle
par un
forte

Рисунок 15.
Примеры угловых швов различной формы
Figure 15. Typical examples of fillet
welds with different shapes
Figure 15. Exemples types de soudures
d'angle avec
configurations

a) стыковой
шов с V-образной разделкой
кромок и с притуплением
Single V-butt weld with root face
Soudure en V
d'un seul

b) стыковой
шов таврового соединения
с односторонней
разделкой кромки
Single bevel T-butt weld
Soudure en demi-V sur assemblage en T

c) стыковой
шов с V-образной разделкой
кромок и с подварочным валиком
Single V-butt weld with sealing run
Soudure en V avec reprise
l'envers

d) стыковой
шов с X-образной разделкой кромок
Double V-butt weld
Soudure en X

e) многопроходный угловой шов
Multi-run fillet weld
Soudure d'angle multipasse
Рисунок 16.
Примеры многопроходных
швов при сварке
плавлением
Figure 16. Typical examples of multi-run fusion welds
Figure 16. Exemples types de soudures
par fusion multipasses
Таблица 9
Термины,
относящиеся к соединениям
с многопроходными
швами при сварке плавлением
───────┬───────────────────────┬────────────────────┬──────────────────────
Позиция│ Русский │ English │

───────┴───────────────────────┴────────────────────┴──────────────────────
5
Глубина проплавления fusion
penetration

───────────────────────────────────────────────────────────────────────────
10
Катет углового шва leg
length

───────────────────────────────────────────────────────────────────────────
11
Высота выпуклости корня
penetration bead
la
шва
thickness racine
───────────────────────────────────────────────────────────────────────────
19
Границы проходов на toe raccordement
наружной поверхности шва
───────────────────────────────────────────────────────────────────────────
20
Корневой проход root
run passe de fond
───────────────────────────────────────────────────────────────────────────
21
Слой заполняющих layers of
filling passes de remplissage
проходов runs
───────────────────────────────────────────────────────────────────────────
22
Слой облицовочных layer of
capping passe(s) terminale(s)
проходов runs
───────────────────────────────────────────────────────────────────────────
23
Подварочный валик sealing
run reprise a l'envers
───────────────────────────────────────────────────────────────────────────
24
Первый проход с обратной first run on the
passe
стороны second side l'envers
───────────────────────────────────────────────────────────────────────────
25
Глубина проплавления root
penetration
a la
корня шва racine
───────────────────────────────────────────────────────────────────────────
9. Швы при
сварке давлением
Термины,
относящиеся к типовым швам, которые выполнены сваркой давлением, приведены на
рисунке 17.

a) шов с
гратом при стыковой сварке сопротивлением
Butt weld with upset
Soudure avec bourrelet de refoulement

b) шов с
гратом при стыковой сварке оплавлением или трением
Butt weld with flash (flash or friction)
Soudure avec bavure
ou de friction

c) шов при
приварке шпильки
Arc stud weld
Soudure de goujon

d) шов при
точечной контактной сварке
Spot welds
Soudure par points

e) шов при
шовной контактной сварке
Seam weld
Soudure en ligne continue par points

f) двойной
ряд сварных точек,
расположенных в шахматном порядке
Double row of staggered, spaced spot welds
Double
de soudures par points en quinconce

g) шов при
точечной контактной сварке
Resistance spot weld
Soudure par
points

h) шов при рельефной сварке
Projection weld
Soudure par bossage
Рисунок 17.
Примеры швов при сварке давлением
Figure 17. Typical examples of welds made using pressure
Figure 17. Exemples types de soudures avec pression
Таблица 10
Термины,
относящиеся к швам при сварке давлением
───────┬──────────────────────┬─────────────────┬──────────────────────────
Позиция│ Русский │ English
│

───────┴──────────────────────┴─────────────────┴──────────────────────────
4
Зона сварного weld
zone zone

соединения
───────────────────────────────────────────────────────────────────────────
30
Выдавленный металл upset
metal bourrelet de refoulement
───────────────────────────────────────────────────────────────────────────
31
Грат flash bavure
───────────────────────────────────────────────────────────────────────────
32
Ядро сварной точки weld
nugget noyau de la soudure
───────────────────────────────────────────────────────────────────────────
33
Диаметр ядра сварной nugget
diameter diameter du noyau
точки
───────────────────────────────────────────────────────────────────────────
34
Толщина ядра сварной nugget
thickness
du noyau
точки
───────────────────────────────────────────────────────────────────────────
35
Вмятина
indentation indentation
───────────────────────────────────────────────────────────────────────────
36
Глубина вмятины
indentation depth profondeur
d'indentation
───────────────────────────────────────────────────────────────────────────
37
Зона контакта между weld
interface interface
свариваемыми деталями
───────────────────────────────────────────────────────────────────────────
38
Длина шва weld
length longueur de la soudure
───────────────────────────────────────────────────────────────────────────
39
Шаг сварных точек weld
pitch entraxe (des points de
soudure)
───────────────────────────────────────────────────────────────────────────
40
Перекрытие сварных nugget
overlap recouvrement des noyaux
точек
───────────────────────────────────────────────────────────────────────────
41
Продольное смещение
stagger
des noyaux
точек в соседних рядах
───────────────────────────────────────────────────────────────────────────
42
Расстояние между рядами row pitch
des

сварных точек
───────────────────────────────────────────────────────────────────────────
43
Расстояние до края edge
distance distance au bord (de la
детали
)
───────────────────────────────────────────────────────────────────────────
45
Шпилька stud goujon
───────────────────────────────────────────────────────────────────────────
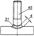
10. Примеры
швов при сварке плавлением соединений различных
типов и с различной
подготовкой деталей под сварку
Примеры типов
соединений и швов и подготовки деталей при сварке плавлением приведены на
рисунках 18.01 - 18.39 в таблице 11.
Таблица 11











───────────────────────────────────────────────────────────────────────────
<a> Может быть остающаяся или
неостающаяся подкладка.
<a> May be
temporary or permanent.
<a> La latte-support peut
permanent ou non.
P, E, F
- обозначение русского,
английского и французского
языков
соответственно.
───────────────────────────────────────────────────────────────────────────
Приложение
А
(справочное)
СРАВНЕНИЕ С
ТЕРМИНАМИ, ПРИМЕНЯЕМЫМИ В США
|
Пункт/
рисунок
|
Термин
на русском языке,
применяемый в настоящем
стандарте
|
Термин
на английском
языке, применяемый
в ИСО 17659
|
Термин,
применяемый
в США
|
|
3.8
|
Параллельное
соединение
|
parellel
joint
|
edge
joint
|
|
3.11
|
Крестообразное
соединение
|
cruciform
joint
|
double
T-joint
|
|
3.12
|
Тавровое
соединение
под острым углом
|
Angle
joint
|
skewed
T-joint
|
|
3.15
|
Соединение
нескольких
деталей
|
Multiple
joint
|
multiple
member
joint
|
|
2
|
Стыковое
соединение
без скоса кромок
|
Square
butt weld
|
single
square
groove weld
|
|
3
|
Стыковое
соединение
со скосом одной кромки
|
single
bevel butt
weld
|
single
bevel groove
weld
|
|
4
|
Стыковое
соединение
с V-образным скосом
кромок
|
Single
V-butt weld
|
single
V-groove
weld
|
|
5
|
Стыковое
соединение
с U-образным скосом
кромок
|
single
U-butt weld
|
single
U-groove
weld
|
|
8
|
Стыковое
соединение с
отбортовкой кромок
|
butt weld between
plates with raised
edges
|
edge
flanged weld
|
Алфавитный
указатель на русском языке
Рисунок/пункт
Позиция
В
Валик подварочный Рисунок 16 c) 23
Вид стыкового шва общий Рисунок 13 a)
Вмятина Рисунок 17
g) 35
Высота выпуклости корня шва Рисунок 12 a) и 16 a), b) 11
Высота выпуклости шва Рисунок 12 a), b) 9
Высота выступа Рисунок 9 a), b),
c) 28
Высота отбортовки кромок Рисунок 8 25
Выступ кольцевой Рисунок 9 c)
Выступ кромки Рисунок 5 44
Выступ круглый Рисунок 9 a)
Выступ удлиненный Рисунок 9 b)
Г
Глубина вмятины Рисунок 17 g) 36
Глубина обработки кромки Рисунки 4 и 7 18
Глубина проплавления Рисунок 12 a), b) и 16
e) 5
Глубина проплавления корня шва Рисунок 12 b) и 16 e) 25
Граница прохода наружной поверхности Рисунок 16 a) - e) 19
шва
Граница шва Рисунок 12 a), b) 6
Грат Рисунок 17
b), c) 31
Д
Диаметр выступа Рисунок 9 a) 31
Диаметр кольцевого выступа Рисунок 9 c) 32
Диаметр ядра сварной точки Рисунок 17 d), e), g), h) 33
Длина выступа Рисунок 9 b) 29
Длина нахлестки Рисунок 10 34
Длина отбортовки кромок Рисунок 8 22
Длина соединения Рисунки 2, 5 и 6 7
Длина фольги Рисунок 11 36
Длина шва Рисунки 13 a) и
17 e), f) 17, 38
З
Зазор между свариваемыми поверхностями Рисунки 2 - 7 4 и 11
Зона контакта между свариваемыми Рисунок 17 a), b) 37
деталями
Зона проплавления Рисунок 12 a), b) 26
Зона сварного соединения Рисунки 12 a), b) 4
и 17
a), b), c)
Зона термического влияния Рисунок 12 a), b) 3
К
Катет углового шва 3.21; Рисунки 12 b) 10
и 16 e)
Корень шва Рисунок 12 a),
b) 7
Кромка пластины боковая Рисунок 2 C
М
Металл выдавленный Рисунок 17 a) 30
Металл основной Рисунок 12 a), b) 1
Металл шва Рисунок 12 a),
b) 2
О
Область нахлестки Рисунок 10 G
П
Перекрытие сварных точек Рисунок 17 e) 40
Поверхность детали лицевая Рисунки 2 и 3 A
Поверхность контакта с фольгой Рисунок 11 H
Поверхность притупления кромки Рисунки 3 - 5 F
Поверхность расплавляемая Рисунки 6 и 7 I
Поверхность расплавляемая (без скоса Рисунки 2, 3 и 8 D
кромки)
Поверхность расплавляемая (со скосом Рисунки 3, 4, 5 и 7 E
кромки)
Поверхность сопрягаемая 3.4
Поверхность шва чешуйчатая Рисунок 13 a) 18
Подготовка под сварку стыкового Рисунок 2
соединения без скоса кромок
Подготовка под сварку стыкового Рисунок 3
соединения со скосом одной кромки с
притуплением и с подкладкой
Подготовка под сварку стыкового Рисунок 8
соединения с отбортовкой кромок
Подготовка под сварку стыкового Рисунок 5
соединения с U-образным скосом кромок
Подготовка под сварку стыкового Рисунок 4
соединения с V-образным скосом кромок
и притуплением
Подготовка под сварку таврового Рисунок 6
соединения
Подготовка под сварку таврового Рисунок 7
соединения с двухсторонним скосом
кромок
Подкладка Рисунок 3 X
Примеры стыковых швов Рисунок 13
Примеры швов при сварке плавлением Рисунок 12
Притупление кромки Рисунки 3, 4, 5 и 7 12
Проплавление неполное 3.6
Проход корневой Рисунок 16 a) -
d) 20
Проход с обратной стороны первый Рисунок 16 d) 24
Р
Радиус отбортовки кромки Рисунок 8 26
Радиус при вершине разделки Рисунок 5 10
Расстояние до края детали Рисунок 9 a), b), c) 33
Рисунок
17 f) 43
Расстояние между рядами сварных точек Рисунок 17 f) 42
Ребро детали боковое Рисунок 2 3
Ребро отбортованной кромки продольное Рисунок 8 23
Ребро притупления кромки боковое Рисунки 4, 5 и 7 14
Ребро притупления кромки продольное Рисунки 6 и 7 13
Ребро расплавляемой поверхности боковое Рисунок
2 6
Ребро скошенной кромки боковое Рисунки 4 и 7 15
Ребро скошенной кромки продольное Рисунки 5 и 7 8
Ребро стыкуемой поверхности Рисунки 2 и 10 5
Ряд двойной сварных точек, Рисунок 17 f)
расположенных в шахматном порядке
С
Сборка под контактную точечную и шовную Рисунок 10
сварки с раздавливанием кромок
Сборка под шовную контактную стыковую Рисунок 11
сварку по фольге
Сварка давлением 3.3
Сварка плавлением 3.2
Слой заполняющих проходов Рисунок 16 a) - d) 21
Слой облицовочных проходов Рисунок 16 a) - d) 22
Смещение точек в соседних рядах Рисунок 17 f) 41
продольное
Соединение 3.1
Соединение крестообразное 3.11; Рисунок 1 e)
Соединение нахлесточное 3.9; Рисунок 1 c)
Соединение нескольких деталей 3.15; Рисунок 1 i)
Соединение параллельное 3.8; Рисунок 1 b)
Соединение перекрестное 3.16; Рисунок 1 j)
Соединение стыковое 3.7; Рисунок 1 a)
Соединение с уступом Рисунок 18.39
Соединение тавровое под острым углом 3.12; Рисунок 1 f)
Соединение тавровое под прямым углом 3.10; Рисунок 1 d)
Соединение торцовое 3.14; Рисунок 1 h)
Соединение угловое 3.13; Рисунок 1 g)
Сторона детали обратная Рисунки 2 и 3 B
Стык отбортованных кромок Рисунок 8 24
Т
Толщина пластины Рисунки 2 - 6, 8, 9
a), 1
10, 11
Толщина соединения Рисунки 2 - 5 9
Толщина фольги Рисунок 11 38
Толщина шва максимальная 3.17; Рисунки 13 a) - d), 12
14 a), b) и
15 a), f)
Толщина шва проектная 3.18; Рисунки 13 a) -
d), 13
14 a),
b) и 15 a) - f)
Толщина шва теоретическая 3.19
Рисунки 14 a), b) 14
и 15 a) - f)
Толщина ядра сварной точки Рисунок 17 g), h) 34
Толщины угловых швов Рисунок 14
У
Угол перехода шва к основному металлу Рисунок 13 a) 16
Угол разделки кромок Рисунки 4, 5 21
Угол скоса кромки Рисунки 4, 5 и 7 17
Ф
Форма соединений при рельефной сварке Рисунок 9
Ш
Шаг выступа Рисунок 9 a), b),
c) 27
Шаг сварных точек Рисунок 17 d), f) 39
Ширина выпуклости корня шва Рисунок 13 a) 27
Ширина выступа Рисунок 9 b), c) 30
Ширина детали Рисунок 11 2
Ширина нахлестки Рисунок 10 35
Ширина обработки кромки Рисунки 4, 5 и 7 16
Ширина разделки соединения Рисунки 3 - 5, 7 20
Ширина скошенной поверхности Рисунок 4 19
Ширина фольги Рисунок 11 37
Ширина шва Рисунок 12
a) 8
Шов при приварке шпильки Рисунок 17 c)
Шов при рельефной сварке Рисунок 17 h)
Шов при стыковой сварке с гратом Рисунок 17 b)
Шов при стыковой сварке сопротивлением Рисунок 17 a)
Шов при точечной контактной сварке Рисунок 17 d), g)
Шов при шовной контактной сварке Рисунок 17 e)
Шов стыковой с неполным проплавлением Рисунок 13 c)
Шов стыковой с V-образной разделкой Рисунок 12 a)
кромок
Шов стыковой с V-образной разделкой Рисунок 16 c)
кромок и с подварочным валиком
Шов стыковой с V-образной разделкой Рисунок 16 a)
кромок и с притуплением
Шов стыковой с X-образной разделкой Рисунок 16 d)
кромок
Шов стыковой с полным проплавлением Рисунок 13 b)
Шов стыковой таврового соединения Рисунок 13 d)
Шов стыковой таврового соединения с Рисунок 16 b)
односторонней разделкой кромки
Шов угловой Рисунок 12 b)
Шов угловой вогнутый Рисунок 15 b)
Шов угловой выпуклый Рисунок 15 a)
Шов угловой многопроходный Рисунок 16 e)
Шов угловой с глубоким проплавлением Рисунок 15 f)
Шов угловой с зазором Рисунок 15 c)
Шов угловой с неполным проплавлением Рисунок 15 e)
Шов угловой с разными катетами Рисунок 15 d)
Шпилька Рисунок 17
c) 45
Я
Ядро точки сварной Рисунок 17 g), h) 32
Алфавитный указатель на английском языке
Figure/reference
Identification
A
abutment
of raised edge Figure 8 24
actual
throat thickness 3.19
Figures 14 a),
b) and 15 a) 14
to f)
angle
joint 3.12; Figure 1
f)
angle
of bevel Figures 4, 5
and 7 17
annular
projection diameter Figure 9 c) 32
annular
projections Figure 9 c)
arc
stud weld Figure 17 c)
B
butt
join 3.7; Figure 1
a)
butt
weld T-joint Figure 13 d)
butt
weld with flash Figure 17 b)
(flash
or friction)
butt
weld with upset Figure 17 a)
C
concave
fillet weld Figure 15 b)
configuration
for foil-seam- Figure 11
welds
configuration
for spot, Figure 10
seam
or mash welds
convex
fillet weld Figure 15 a)
corner
joint 3.13; Figure 1
g)
cross
joint 3.16; Figure 1
j)
cruciform
joint 3.11; Figure 1 e)
D
depth
of preparation Figures 4 and
7 18
depth
of raised edge Figure 8 25
depth
of root face Figures 3, 4, 5
and 7 12
design
throat thickness 3.18
Figures 13 a)
to d), 14 a), 13
b) and 15 a) to
f)
double
row of staggered, Figure 17 f)
spaced
spot welds
double
V-butt weld Figure 16 d)
E
edge
distance Figure 9 a),
b), c) 33
Figure 17
f) 43
edge
joint 3.14; Figure 1
h)
effective
throat thickness 3.20 15
Figures 13 b),
c), d),
14 a), b) and
15 a) to f)
elongated
projections Figure 9 b)
excess
weld metal Figure 12 a),
b) 9
F
faying
surface 3.4
fillet
weld Figure 12 b)
fillet
weld with deep Figure 15 f)
penetration
fillet
weld with gap Figure 15 c)
fillet
weld with incomplete Figure 15 e)
penetration
fillet
weld with unequal legs Figure 15 d)
first
run on the second side Figure 16
d) 24
flash Figure 17 b),
c) 31
foil
contact surface Figure 11 H
foil
length Figure 11 36
foil
thickness Figure 11 38
foil
width Figure 11 37
forms
of projection welds Figure 9
full
penetration butt weld Figure 13 b)
fusion
penetration Figure 16
e) 5
fusion
face (fillet weld) Figures 6 and
7 I
fusion
face (prepared) Figures 3, 4, 5
and 7 E
fusion
face (unprepared) Figures 2, 3 and
8 D
fusion
line Figure 12 a),
b) 6
fusion
penetration Figures 12 a),
b), 16 e) 5
fusion
welding 3.2
fusion
zone Figure 12 a),
b) 26
G
general
view of butt weld Figure 13 a)
H
heat-affected
zone Figure 12 a), b) 3
I
included
angle Figures 3 - 7 21
incomplete
penetration 3.6
incomplete
penetration butt Figure 13 c)
weld
indentation Figure 17 g) 35
indentation
depth Figure 17 g) 36
J
joggle
joint Figure 18.39
joint 3.1
joint
length Figures 2, 5
and 6 7
joint
thickness Figures 2 -
5 9
joint
width Figures 3 - 5
and 7 20
L
land Figure 5 44
lap
joint 3.9; Figure 1
c)
lap
length Figure
10 34
lapped
area Figure 10 G
lap
width Figure
10 35
layer
of capping runs Figure 16 a) to
d) 22
layers
of filling runs Figure 16 a) to
d) 21
leg
length 3.21 10
Figures 12 b)
and 16 e)
length
of raised edge Figure 8 22
longitudinal
edge of Figures 5 and 7 8
preparation
longitudinal
edge of root face Figures 6 and 7 13
longitudinal
side of raised Figure 8 23
edge
M
maximum
throat thickness 3.17
Figures 13 a) to d), 14
a), 12
b) and 15 a) to
f)
multiple
joint 3.15; Figure 1 i)
multi-run
fillet weld Figure 16 e)
N
nugget
diameter Figure 17 d),
e), g), h) 33
nugget
overlap Figure 17
e) 40
nugget
thickness Figure 17 g),
h) 34
P
parallel
joint 3.8; Figure 1
b) 1
parent
metal Figure 12 a), b)
partial
penetration 3.5 11
penetration
bead thickness Figures 12 a) and 16
a), b) 27
pitch
(of projections) Figure 9 a),
b), c) C
plate
edge Figure 2 1
plate
thickness Figures 2 - 6,
8, 9 a), 10,
11
preparation
for butt weld Figure 8
between
plates with raised
edges
preparation
for double-bevel Figure 7
T-butt
welds
preparation
for fillet weld Figure 6
(T-joint)
preparation
for single bevel Figure 3
butt
weld with backing
preparation
for single U-butt Figure 5
weld
preparation
for single V-butt Figure 4 31
weld
preparation
for square butt Figure 2 28
weld
projection
diameter Figure 9 a) 29
projection
height Figure 9 a), b), c)
projection
length Figure 9 b) 30
projection
weld Figure 17 h)
projection
width Figure 9 b), c)
R
radius
of raised edge Figure 8 26
resistance
spot weld Figure 17 g)
reverse
side Figures 2 and
3 B
root
face Figures 3 - 5 F
root
gap Figures 2 -
7 4 and 11
root
of weld Figure 12 a),
b) 7
root
penetration Figures 12 b)
and 16 e) 25
root
radius Figure 5 10
root
run Figure 16 a)
to d) 20
root
width Figure 13
a) 27
round
projections Figure 9 a)
row
pitch Figure 17
f) 42
S
sealing
run Figure 16 c) 23
seam
weld Figure 17 e)
side
edge of preparation Figures 4 and
7 15
side
edge of root face Figures 4, 5
and 7 14
side
edge of workpiece Figure 2 3
side
of fusion face Figure 2 6
side
of gap face Figures 2 and
10 5
single
bevel T-butt weld Figure 16 b)
single
V-butt weld Figure 12 a)
single
V-butt weld with root Figure 16 a)
face
single
V-butt weld with sealing Figure 16 c)
run
spot
welds Figure 17 d)
stagger Figure 17 f) 41
stud Figure 17 c) 45
T
throat
thicknesses for fillet Figure 14
welds
T-joint 3.10; Figure 1 d)
toe Figure 16 a) to
e) 19
typical
examples of butt welds Figure 13
typical
examples of fusion Figure 12
welds
U
upper
workpiece surface Figures 2 and
3 A
upset
metal Figure 17
a) 30
W
welding
using pressure 3.3
weld
interface Figure 17 a),
b) 37
weld
length Figure 13
a) 17
Figure 17 e),
f) 38
weld
metal Figure 12 a),
b) 2
weld
nugget Figure 17 g),
h) 32
weld
pitch Figure 17 d),
f) 39
weld
pool backing Figure 3 X
weld
surface with bead ripples Figure 13
a) 18
weld
toe angle Figure 13
a) 16
weld
width Figure 12
a) 8
weld
zone Figures 12 a),
b) and 4
17 a), b), c)
width
of preparation Figures 4, 5 and 7 16
width
of prepared face Figure 4 19
workpiece width Figure 11 2
Алфавитный
указатель на французском языке
Figure/Paragraphe Identification
A
angle
d'ouverture Figures 3
7 21
angle
de raccordement Figure 13
a) 16
angle
du chanfrein Figures 4, 5
et 7 17
faciale du chanfrein Figures 4 et 7 15
faciale du talon Figures 4, 5 et 7 14
de la
Figure 2 3
du joint
Figure 2 6
longitudinale du bord Figure 8 23

longitudinale du Figures 5, 7 8
chanfrein Figures 2, 10 5
longitudinale du joint Figure 8 24
longitudinale du talon Figure 7 13
assemblage Paragraphe 3.1
assemblage
bords
Figure 8
assemblage
joints multiples Paragraphe 3.15; Figure 1 i)
assemblage
recouvrement Paragraphe 3.9; Figure 1 c)
assemblage
recouvrement Paragraphe 3.8; Figure 1 b)
total
assemblage
bout
bout
Paragraphe 3.7; Figure 1 a)
assemblage
de fils (ou de Paragraphe 3.16;
Figure 1 j)
ronds)
en croix
assemblage
en angle
forte
Paragraphe 3.12; Figure 1 f)
inclinaison
assemblage
en angle
Paragraphe 3.13; Figure 1 g)
assemblage
en croix Paragraphe 3.11;
Figure 1 e)
assemblage
en T Paragraphe 3.10;
Figure 1 d)
assemblage
sur chant Paragraphe 3.14;
Figure 1 h)
B
bavure
Figure 17 b) et
c) 31
bossages
Figure 9 b)
bossages
annulaires Figure 9 c)
bossages
ronds Figure 9 a)
bourrelet
de refoulement Figure 17 a) 30
C
chant
de la
Figure 2 C
configuration
pour soudure
Figure 11
la
molette avec feuillard
d'apport
configuration
pour soudure par Figure 10
points,
la molette ou

Paragraphe
3.21; 10
Figures 12 b) et
16 e)
D
des noyaux Figure 17 f) 41
du bossage Figure 9 a) 31
du bossage annulaire Figure 9 c) 32
du noyau Figure 17 d), e), g) et h) 33
distance
au bord (de la
)
Figure 9 a), b) et c) 33
Figure 17
f) 43
double
de soudures Figure 17 f)
par
points en quinconce
E
la racine
Figures 3, 4, 5 et 7 11
des bords Figures 2 et 6 4
des
Figure 17 f) 42
entraxe
(des bossages) Figure 9 a), b)
et c) 27
entraxe
(des points de Figure 17 d) et
f) 39
soudure)
de la
Figures 2
6, 8, 9 a), 1
10 et 11
du feuillard Figure 11 38
du noyau Figure 17 g) et h) 34
efficace Paragraphe 3.20; 15
Figure 13 b)
d)
Paragraphe 3.19; 14
Figure 13 a)
d)
Paragraphe 3.18; 13
Figure 13 a)
d)
totale
Paragraphe 3.17; 12
Figure 13 a)
d)
exemples
types de soudures Figure 13
bout
bout
exemples
types de soudures par Figure 12
fusion
F
face
souder Paragraphe 3.4
Figures 2, 3,
et 8 D
Figure 6 I
face
du chanfrein Figures 3, 4,
5 et 7 E
face
de la
Figures 2 et 3 B
face
de la
Figures 2 et 3 A
formes
de bossages Figure 9
G
gorge
efficace Paragraphe
3.20; 15
Figures 13 b),
c) et d),
14 a) et b) et
15 a)
f)
gorge
Paragraphe 3.19;
Figures 14
14 a) et b) et
15 a)
f)
gorges
des soudures d'angle Figure 14 45
gorge
Paragraphe 3.18; Figures 13
13 a)
d), 14 a) et b) et
15 a)
f)
gorge
totale Paragraphe
3.17; Figures 12
13 a)
d), 14 a) et b)
et 15 a)
f)
goujon Figure 17 c) 45
H
hauteur
du bord
Figure 8 25
hauteur
du bossage Figure 9 a)
c)
28
hauteur
du talon Figures 3, 4, 5
et 7 12
I
indentation Figure 17 g) 35
interface Figure 17 a) et b) 37
L
largeur
de la face du Figure 4 19
chanfrein
largeur
de la
Figure 11 2
largeur
de la soudure Figure 12
a) 8
largeur
de l'ouverture Figures 3, 4, 5
et 7 20
largeur
de recouvrement Figure 10 35
largeur
du bossage Figure 9 b) et
c) 30
largeur
du chanfrein Figures 4, 5 et
7 16
largeur
du cordon
la racine
Figure 13 a) 27
largeur
du feuillard Figure 11 37
latte-support Figure 3 X
Figure 5 44
longueur
de la soudure Figure 13 a) 17
Figure 17 e)
et f) 38
longueur
de recouvrement Figure 10 34
longueur
du bord
Figure 8 22
longueur
du bossage Figure 9 b) 29
longueur
du feuillard Figure 11 36
longueur
du joint Figures 2, 5 et
6 7
M
manque
de
Paragraphe 3.6
, talon Figures 3, 4 et 5 F
de base Figure 12 a) et b) 1
fondu Figure 12 a) et b) 2
N
noyau
de la soudure Figure 17 g)
et h) 32
P
passe
de fond Figure 16 a)
d)
20
passes
de remplissage Figure 16 a)
d)
21
passe(s)
terminale(s) Figure 16 a)
d)
22
Figures 12 a) et b) et 16
e) 5
25
la racine
Figures 12 b) et 16 e) 24
partielle Paragraphe 3.5
passe
l'envers
Figure 16 d)
en U Figure 5
en Y Figure 4
pour soudure bout Figure 2
bout sur bords droits
pour soudure en Figure 3
demi-Y
avec support du bain
pour soudures Figure 6
d'angle
sur assemblage en T
pour soudures Figure 7
d'angle
sur assemblage
en
T avec double chanfrein
profondeur
d'indentation Figure 17 g) 36
profondeur
du chanfrein Figures 4 et 7 18
profondeur
du joint Figures 2, 3, 4 et
5 9
R
raccordement Figure 16 a)
e)
19
racine
(de la soudure) Figure 12 a) et
b) 7
rayon
fond de chanfrein Figure 5 10
rayon
de pliage du bord
Figure 8 26
recouvrement
des noyaux Figure 17 e) 40
reprise
l'envers Figure 16 c) 23
S
soudure
pleine
Figure 13 b)
soudure
avec bavure Figure 17 b)
ou de friction
soudure
avec bourrelet de Figure 17 a)
refoulement
soudure
avec manque de Figure 13 c)

soudage
avec pression Paragraphe 3.3
soudure
bout
bout en V Figure 12 a)
soudure
d'angle Figure 12 b)
soudure
d'angle
Figure 15 e)
partielle
soudure
d'angle
pleine
Figure 15 f)

soudure
d'angle
Figure 15 d)
soudure
d'angle avec jeu Figure 15 c)
soudure
d'angle concave Figure 15 b)
soudure
d'angle convexe Figure 15 a)
soudure
d'angle multipasse Figure 16 e)
soudure
de goujon Figure 17 c)
soudure
en demi-V sur Figures 13 d) et
16 b)
assemblage
en T
soudure
en ligne continue par Figure 17 e)
points
soudure
en V avec reprise
Figure 16 c)
l'envers
soudure
en V
d'un
Figure 16 a)
seul

soudure
en X Figure 16 d)
soudure
par bossage Figure 17 h)
soudage
par fusion Paragraphe 3.2
soudure
par points Figure 17 d)
soudure
par
points
Figure 17 g)
Figure 12 a) et b) 9
la racine
Figures 12 a) et 16 a) et b) 11
11
surface
de contact du Figure 11 H
feuillard
surface
de la soudure avec Figure 13 a) 18
vagues
de solidification
surface
de recouvrement Figure 10 G
T
talon Figures 3, 4 et
5 F
V
vue
d'ensemble d'une soudure Figure 13 a)
bout
bout
Z
zone
de dilution Figure 12 a)
et b) 26
zone
de liaison Figure 12 a)
et b) 6
zone
Figures 12 a) et b) et 4
17 a), b) et
c)
zone
thermiquement
Figure 12 a) et b) 3
Приложение
Б
(справочное)
СВЕДЕНИЯ О
СООТВЕТСТВИИ НАЦИОНАЛЬНЫХ СТАНДАРТОВ
РОССИЙСКОЙ
ФЕДЕРАЦИИ ССЫЛОЧНЫМ МЕЖДУНАРОДНЫМ СТАНДАРТАМ
Таблица А.1
|
Обозначение ссылочного
международного стандарта
|
Обозначение и наименование
соответствующего
национального
стандарта
|
|
ИСО
857-1
|
ГОСТ
Р ИСО 857-1-2009. Сварка и родственные
процессы. Словарь. Часть 1. Процессы сварки
металлов. Термины и определения
|
|
ИСО
2553
|
<*>
|
|
<*>
Соответствующий
национальный стандарт отсутствует. До
его
утверждения рекомендуется использовать перевод на русский
язык данного
международного стандарта. Перевод
данного международного стандарта
находится в Федеральном информационном фонде
технических регламентов и
стандартов.
|