Утвержден и введен в
действие
Приказом Ростехрегулирования
от 6 ноября 2008 г.
N 284-ст
НАЦИОНАЛЬНЫЙ СТАНДАРТ РОССИЙСКОЙ ФЕДЕРАЦИИ
ИЗДЕЛИЯ ТЕПЛОИЗОЛЯЦИОННЫЕ,
ПРИМЕНЯЕМЫЕ В СТРОИТЕЛЬСТВЕ
МЕТОД ОПРЕДЕЛЕНИЯ ХАРАКТЕРИСТИК ИЗГИБА
Thermal
insulating products for building applications.
Method for determination of
bending behaviour
EN 12089:1997
Thermal insulating products
for building applications -
Determination of bending behaviour
(IDT)
ГОСТ Р ЕН 12089-2008
Группа Ж19
ОКС 91.100.60
Дата введения
1 июля 2009 года
Предисловие
Цели и принципы
стандартизации в Российской Федерации установлены Федеральным законом от 27
декабря 2002 г. N 184-ФЗ "О техническом регулировании", а правила
применения национальных стандартов Российской Федерации - ГОСТ Р 1.0-2004 "Стандартизация в Российской Федерации.
Основные положения".
Сведения о
стандарте
1. Подготовлен Некоммерческим партнерством "Производители
современной минеральной изоляции "Росизол"
на основе выполненного Открытым акционерным обществом "Центр методологии
нормирования и стандартизации в строительстве" (ОАО "ЦНС")
аутентичного перевода регионального стандарта, указанного в пункте 4.
2. Внесен Техническим комитетом по стандартизации ТК 465
"Строительство".
3. Утвержден и
введен в действие Приказом Федерального агентства по техническому регулированию
и метрологии от 6 ноября 2008 г. N 284-ст.
4. Настоящий
стандарт идентичен региональному стандарту ЕН 12089:1997
"Теплоизоляционные изделия, применяемые в строительстве - Определение
характеристик изгиба" (EN 12089:1997 "Thermal
insulating products for building applications
- Determination of bending behaviour").
Наименование
настоящего стандарта изменено по отношению к наименованию регионального
стандарта для приведения в соответствие с ГОСТ Р
1.5-2004 (подраздел 3.5).
При применении настоящего
стандарта рекомендуется использовать вместо ссылочных международных
(региональных) стандартов соответствующие им национальные стандарты Российской
Федерации, сведения о которых приведены в дополнительном Приложении А.
5. Введен впервые.
Информация об
изменениях к настоящему стандарту публикуется в ежегодно издаваемом
информационном указателе "Национальные стандарты", а текст изменений
и поправок - в ежемесячно издаваемых информационных указателях
"Национальные стандарты". В случае пересмотра (замены) или отмены
настоящего стандарта соответствующее уведомление будет опубликовано в
ежемесячно издаваемом информационном указателе "Национальные
стандарты". Соответствующая информация, уведомление и тексты размещаются
также в информационной системе общего пользования - на официальном сайте
Федерального агентства по техническому регулированию и метрологии в сети
Интернет.
Введение
Применение
настоящего стандарта, устанавливающего метод определения характеристик изгиба,
позволяет получить адекватную оценку качества теплоизоляционных материалов,
производимых в Российской Федерации и странах ЕС; обеспечить
конкурентоспособность российской продукции на международном рынке;
активизировать участие Российской Федерации в работе по международной стандартизации.
Настоящий стандарт
не отменяет метод определения прочности при изгибе, установленный в ГОСТ
17177-94, который применяют, когда это технически и экономически целесообразно
и обосновано.
1. Область
применения
Настоящий стандарт
распространяется на теплоизоляционные изделия (далее - изделия), применяемые в
строительстве, и устанавливает требования к средствам испытания и методике
определения характеристик изгиба полноразмерных изделий (метод A) и образцов
(метод B) под действием сил, приложенных в трех точках.
При испытании в
соответствии с данным методом определяют прочность при изгибе и значение
прогиба изделий при заданной нагрузке.
Данный метод может
быть использован для определения сопротивления изделий напряжению изгиба при их
транспортировке и применении.
2.
Нормативные ссылки
В настоящем
стандарте использованы ссылки на следующие стандарты:
ЕН 822:1994.
Теплоизоляционные изделия, применяемые в строительстве. Определение длины и
ширины
ЕН 823:1994.
Теплоизоляционные изделия, применяемые в строительстве. Определение толщины
ИСО 5725-1.1994.
Точность (правильность и прецизионность) методов
измерения и результаты измерения. Часть 1: Общие принципы и определения
ИСО 5725-2.1994.
Точность (правильность и прецизионность) методов
измерения и результаты измерения. Часть 2: Основной метод определения
повторяемости и воспроизводимости стандартного метода
измерения
ЕН 12085:1997.
Теплоизоляционные изделия, применяемые в строительстве. Определение линейных
размеров образцов для испытаний.
3. Термины
и определения
В настоящем
стандарте применены следующие термины с соответствующими определениями:
3.1. Прочность при
изгибе (bending strength)
:
максимальное напряжение, возникающее в образце под действием максимальной силы
,
зарегистрированной при изгибе.
3.2. Напряжение при
изгибе (bending stress)
:
напряжение, возникающее в образце под действием силы
в момент прогиба X образца.
3.3. Прогиб (deflection) X: вертикальный прогиб образца в середине
пролета под действием силы
,
измеренный в точке приложения силы.
4. Сущность
метода
Метод испытания
заключается в приложении к поверхности прямоугольного образца, расположенного
на двух опорах, силы в осевом направлении при заданной скорости с помощью
нагружающего валика. Силу прикладывают к образцу в середине между опорами (см.
рисунок 1).

Рисунок 1. Общая
схема испытания на изгиб
5. Средства
испытаний
5.1. Испытательная
машина
Испытательная
машина с заданным диапазоном сил и перемещением подвижной части; машина должна
быть снабжена нагружающим валиком и регулируемыми опорами.
Скорость приложения
нагрузки к образцу должна быть постоянной.
5.1.1. Опоры
Опоры для образца
должны состоять из двух регулируемых цилиндрических валиков, расположенных в
одной горизонтальной плоскости параллельно друг другу. Диаметр опор должен быть
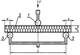
равен (80 +/- 3) мм или (30 +/- 3) мм (см. рисунок 2). Длина опор должна быть
равна ширине образца.

a = 50 мм - для
метода A; a = 25 мм - для метода B
1 - нагружающий
валик; 2 - образец толщиной d; 3 - опоры
Рисунок 2. Схема
испытания по определению
характеристик
изгиба
Расстояние L между
опорами (см. рисунок 2) должно регулироваться в диапазонах от 300 до 1200 мм
(метод A) и от 200 до 500 мм (метод B).
5.1.2. Нагружающий
валик
Форма и размеры
нагружающего валика должны быть одинаковыми с формой и размерами опор. Нагружающий
валик располагают в центре между опорами и параллельно им.
5.1.3. Пластины для
распределения нагрузки
Для изделий,
которые при испытании могут разрушиться в месте приложения нагрузки и в опорах,
следует применять стальные пластины толщиной не менее 1 мм для равномерного
распределения нагрузки. Ширина пластин должна быть (30 +/- 1) мм, длина - как
минимум равна ширине образца.
5.2. Приборы для
измерения прогиба и силы
5.2.1. Измерение
прогиба
Испытательная
машина должна быть снабжена прибором, позволяющим непрерывно измерять смещение
нагружающего валика с погрешностью +/- 5% или +/- 0,1 мм, при этом выбирают
меньшее значение. Измеренное смещение валика соответствует прогибу X образца.
5.2.2. Измерение
силы
Датчик для
измерения силы F, действующей на образец, расположенный на опорах во время
испытания, должен быть прикреплен к нагружающему валику. Датчик должен быть
таким, чтобы его собственная деформация, возникающая в процессе измерения, была
пренебрежимо мала по сравнению с измеряемой или могла
быть учтена при вычислении. Датчик должен обеспечивать непрерывное измерение
силы с погрешностью +/- 1%.
Датчик применяют
для одновременной записи силы F и прогиба X и построения кривой зависимости
прогиба от силы в соответствии с разделом 7.
6. Образцы для испытаний
6.1. Размеры
образцов
6.1.1. Метод A
В качестве образцов
применяют полноразмерные изделия. Образцы должны иметь прямоугольную форму и
следующие размеры:
- толщину, равную
толщине изделия;
- длину, равную
длине изделия, но не более 1300 мм;
- ширину, равную
ширине изделия. Если возможности испытательной машины не позволяют применять
образцы указанной ширины, то ширина образцов должна быть не менее 300 мм.
6.1.2. Метод B
Образцы должны
иметь прямоугольную форму и следующие размеры:
- толщину, равную
толщине изделия, но не более 100 мм;
- длину, в пять раз
превышающую номинальную толщину изделия, плюс 50 мм (но не более 550 мм);
- ширину - 150 мм.
Примечание. Размеры
образцов, отличные от указанных выше, могут быть
приведены в стандарте на конкретное изделие или установлены по договоренности
между заинтересованными сторонами.
6.2. Число образцов
Число образцов
должно быть указано в стандарте на конкретное изделие. При отсутствии стандарта
на конкретное изделие испытанию подвергают не менее трех образцов.
Примечание. При
отсутствии стандарта на конкретное изделие число образцов может быть
согласовано между заинтересованными сторонами.
Если направление
силы изгиба, действующей на изделие при его эксплуатации, неизвестно и/или на
двух лицевых поверхностях изделия имеются поверхностные слои, облицовка и/или
покрытия, то число образцов следует увеличить.
6.3. Подготовка
образцов к испытанию
При подготовке к
испытанию образцы должны сохранить структуру изделия, из которого их вырезают.
Любые поверхностные слои, облицовки и/или покрытия следует сохранить.
6.4.
Кондиционирование образцов
Образцы перед
испытанием выдерживают не менее 6 ч при температуре (23 +/- 5) °C. В случае
разногласий образцы выдерживают при температуре (23 +/- 2) °C и относительной влажности
воздуха (50 +/- 5)% в течение времени, указанного в стандарте на конкретное
изделие, но не менее 6 ч.
7. Методика проведения испытаний
7.1. Условия
испытаний
Испытания проводят
при температуре (23 +/- 5) °C. В случае разногласий испытание проводят при
температуре (23 +/- 2) °C и относительной влажности воздуха (50 +/- 5)%.
7.2. Проведение
испытаний
Измеряют длину и
ширину полноразмерных изделий (метод A) в соответствии с ЕН 822 и толщину в
соответствии с ЕН 823.
Измеряют длину,
ширину и толщину образцов с погрешностью +/- 1% в соответствии с ЕН 12085.
Расстояние L между
центрами опор измеряют с погрешностью +/- 0,5% от значений:
- длины
полноразмерного изделия минус 100 мм - для метода A;
- длины, в пять раз
превышающей номинальную толщину, - для метода B.
Примечание. Другие
значения расстояния между опорами L могут быть установлены в стандарте на
конкретное изделие или согласованы между заинтересованными сторонами.
Образец (изделие)
помещают симметрично относительно опор так, чтобы направление нагружения было перпендикулярно к продольной оси образца
(изделия).
Регулируют скорость
испытательной машины до 10 мм/мин с допуском +/- 10%.
Строят кривую
зависимости прогиба X от силы F и отмечают максимальную силу
(см. рисунок 3).
Отмечают характер
разрушения образца (изделия).

-
максимальная сила;
- сила, соответствующая
прогибу X;
- прогиб при максимальной силе
;
X - прогиб,
соответствующий силе

Рисунок 3.
Кривая зависимости прогиба от силы
8.
Обработка
и представление
результатов испытаний
8.1. Общие
положения
За результат
испытания принимают среднеарифметическое значение результатов отдельных
испытаний, выраженное тремя значащими цифрами.
Результаты
испытания не могут быть экстраполированы для изделий другой толщины.
8.2. Прочность при
изгибе
Прочность при
изгибе
, кПа,
вычисляют по формуле
, (1)
где
- приложенная максимальная сила, Н;
L - расстояние
между опорами, мм;
b - ширина образца,
мм;
d - толщина
образца, мм.
8.3. Напряжение при
изгибе и прогиб
Прогиб X и
соответствующую ему силу
определяют по кривой зависимости прогиба от
силы (см. рисунок 3).
Напряжение при
изгибе
, кПа,
вычисляют по формуле
, (2)
где
- сила, соответствующая прогибу X, Н;
L - расстояние
между опорами, мм;
b - ширина образца,
мм;
d - толщина
образца, мм.
Примечания. 1.
Настоящий метод не предназначен для определения модуля упругости при изгибе.
2. Напряжение
не является постоянной величиной, а зависит от
результатов испытания и параметров изделия. Данную характеристику не сравнивают
с другими механическими свойствами изделия.
9. Точность
метода
Приведенные ниже
характеристики точности определения прочности при изгибе установлены на основе
результатов "кругового испытания", при котором применялись
аналогичные средства испытания и проводилась
аналогичная подготовка образцов к испытанию:
- предел 95%-ной
повторяемости - ~= 5%,
- предел 95%-ной воспроизводимости - ~= 15%.
Приведенные
термины, относящиеся к характеристикам точности метода, соответствуют ИСО
5725-1 и ИСО 5725-2.
10. Отчет
об испытаниях
Отчет об испытаниях
должен содержать:
a) ссылку на
настоящий стандарт;
b) идентификацию
изделия:
1) наименование
изделия, предприятия-изготовителя или поставщика,
2) код маркировки,
3) вид изделия,
4) вид упаковки,
5) форму поставки
изделия в лабораторию,
6) наличие
облицовки или покрытия,
7) другую информацию,
например, номинальную толщину, номинальную плотность;
c) методику
проведения испытания:
1) подготовку к
испытанию и порядок отбора образцов, например, кто и в каком месте проводил
отбор образцов,
2) условия
кондиционирования образцов,
3) любые отклонения
от условий, указанных в разделах 6 и 7,
4) дату проведения
испытания,
5) общую информацию
об испытании:
5.1) метод A или B,
5.2) направление
приложения силы во время испытания,
5.3) размеры
испытуемых образцов,
5.4) расстояние
между опорами,
5.5) пластины для
распределения нагрузки (при их использовании),
5.6) расположение
облицовки (или покрытия) относительно нагружающего валика;
6) обстоятельства,
которые могли повлиять на результаты испытания;
Примечание.
Сведения об оборудовании и о лаборанте, проводившем испытания, должны
находиться в лаборатории, однако в отчете их не указывают.
d) результаты:
1) результаты
отдельных испытаний по определению прочности при изгибе; соответствующего
прогиба или напряжения при изгибе при заданном прогибе или при прогибе,
соответствующем данной нагрузке; среднеарифметические значения результатов
испытания,
2) кривые
зависимости значения прогиба от силы.
Приложение А
(справочное)
СВЕДЕНИЯ О
СООТВЕТСТВИИ
НАЦИОНАЛЬНЫХ
СТАНДАРТОВ РОССИЙСКОЙ ФЕДЕРАЦИИ
ССЫЛОЧНЫМ
МЕЖДУНАРОДНЫМ (РЕГИОНАЛЬНЫМ) СТАНДАРТАМ
Таблица А.1
|
Обозначение ссылочных
международных
(региональных) стандартов
|
Обозначение и наименование
соответствующего
национального
стандарта
|
|
ЕН
822:1994
|
ГОСТ
Р ЕН 822-2008. Изделия теплоизоляционные,
применяемые в строительстве. Методы измерения
длины и ширины
|
|
ЕН
823:1994
|
ГОСТ
Р ЕН 823-2008. Изделия теплоизоляционные,
применяемые в строительстве. Методы измерения
толщины
|
|
ЕН
12085:1997
|
ГОСТ
Р ЕН 12085-2008. Изделия
теплоизоляционные, применяемые в строительстве.
Методы измерения линейных размеров образцов,
предназначенных для испытаний
|
|
ИСО
5725-1:1994
|
ГОСТ
Р ИСО 5725-1-2002. Точность (правильность
и прецизионность) методов и результатов
измерений. Часть 1. Общие положения
и определения
|
|
ИСО
5725-2:1994
|
ГОСТ
Р ИСО 5725-2-2002. Точность (правильность
и прецизионность) методов и результатов
измерений. Часть 2. Основной метод определения
повторяемости и воспроизводимости стандартного
метода измерений
|