Утвержден и
введен в действие
Приказом
Ростехрегулирования
от 27 декабря 2007
г. N 493-ст
НАЦИОНАЛЬНЫЙ СТАНДАРТ РОССИЙСКОЙ ФЕДЕРАЦИИ
АВТОМОБИЛИ ГРУЗОВЫЕ
ОБМЕН ДАННЫМИ МЕЖДУ ИЗГОТОВИТЕЛЯМИ
ШАССИ И КУЗОВОВ (ПЛАТФОРМ). РАЗМЕРЫ ШАССИ,
НЕОБХОДИМЫЕ ДЛЯ ПРОЕКТИРОВАНИЯ КУЗОВОВ (ПЛАТФОРМ)
УСЛОВНЫЕ ОБОЗНАЧЕНИЯ
Commercial vehicles. Product
data exchange between chassis
and bodyworks manufacturers.
Dimensions of the chassis,
necessary for the development
of the bodyworks.
Reference designations
ISO 21308-2:2006
Road vehicles. Product data
exchange between chassis
and bodywork manufacturers
(BEP). Part 2.
Dimensional bodywork exchange
parameters
(MOD)
ГОСТ Р 52851-2007
(ИСО 21308-2:2006)
Группа Т51
ОКС 43.080.01;
ОКП 45 1100
Дата введения
1 января 2009 года
Предисловие
Цели и принципы
стандартизации в Российской Федерации установлены Федеральным законом от 27
декабря 2002 г. N 184-ФЗ "О техническом регулировании", а правила
применения национальных стандартов Российской Федерации - ГОСТ Р 1.0-2004
"Стандартизация в Российской Федерации. Основные положения".
Сведения о
стандарте
1. Подготовлен
Всероссийским научно-исследовательским институтом стандартизации и сертификации
в машиностроении (ВНИИНМАШ) на основе собственного аутентичного перевода
международного стандарта ИСО 21308-2:2006, указанного в пункте 4.
2. Внесен
Управлением технического регулирования и стандартизации Федерального агентства
по техническому регулированию и метрологии.
3. Утвержден и
введен в действие Приказом Федерального агентства по техническому регулированию
и метрологии от 27 декабря 2007 г. N 493-ст.
4.
Настоящий стандарт является модифицированным по отношению к международному
стандарту ИСО 21308-2:2006 "Транспорт дорожный. Обмен данными по продукции
между изготовителями шасси и кузова (BEP). Часть 2. Параметры обмена размерами
кузова". (ISO 21308:2006 "Road vehicles - Product data exchange
between chassis and bodywork manufacturers (BEP) - Part 2: Dimensional bodywork
exchange parameters") путем изменения отдельных фраз, которые выделены в
тексте курсивом.
Внесение указанных
изменений направлено на учет нормативно-правовых требований, установленных в
Российской Федерации.
При этом в
модифицированный стандарт не включены справочные приложения A и B примененного
международного стандарта, которые нецелесообразно использовать в национальной
стандартизации в связи с их низкой информативностью.
5. Введен впервые.
Информация об
изменениях к настоящему стандарту публикуется в ежегодно издаваемом
информационном указателе "Национальные стандарты", а текст изменений
и поправок - в ежемесячно издаваемых информационных указателях
"Национальные стандарты". В случае пересмотра (замены) или отмены настоящего
стандарта соответствующее уведомление будет опубликовано в ежемесячно
издаваемом информационном указателе "Национальные стандарты".
Соответствующая информация, уведомление и тексты размещаются также в
информационной системе общего пользования - на официальном сайте Федерального
агентства по техническому регулированию и метрологии в сети Интернет.
Введение
Эффективность
производства грузовых автомобилей в тех случаях, когда шасси и кузова
(платформы) выпускаются разными изготовителями, может быть в значительной
степени повышена за счет организации четкой и оперативной информации о
специфических особенностях шасси грузовых автомобилей, заблаговременно
передаваемой изготовителям кузовов (платформ). При этом наличие единого подхода
позволяет установить однозначную систему передаваемых данных и их условных
обозначений (кодов) для грузовых автомобилей. Условные обозначения данных, в
том числе размеров, полезны во многих случаях, например в конструировании и
производстве, при разработке технических требований, в схемах и чертежах,
технических описаниях и т.п. Эта информация должна быть однозначной и давать
изготовителю кузовов (платформ) грузовых автомобилей уверенность в правильности
принимаемых решений при конструировании и организации производства кузова
(платформы) или другой надстройки еще до начала поставок шасси.
Условные
обозначения размеров образуют основной информационный уровень, одновременно
являясь основными входными параметрами для системы обмена данными, базирующейся
на протоколе STEP <1> (см. комплекс ГОСТ Р ИСО 10303).
--------------------------------
<1> Standard
for the Exchange of Product model data - Стандарт по обмену основными данными о
продукции.
1. Область
применения
Настоящий стандарт
устанавливает номенклатуру и условные обозначения (коды) размеров шасси,
необходимые для проектирования кузовов/платформ (далее - надстроек) грузовых
автомобилей категорий
и
по ГОСТ Р 52051 и являющиеся объектом обмена
информацией между изготовителями автомобилей и устанавливаемых на них
надстроек.
В процессе обмена
упомянутой выше информацией, связанной с конкретным шасси, могут принимать
участие:
- изготовитель
шасси;
- импортер шасси;
- продавец шасси;
- один или
несколько изготовителей надстроек на данное шасси;
- поставщики
различных компонентов, составляющих надстройку (надстройки), а именно,
изготовители сменных кузовов, подъемных и погрузочно-разгрузочных устройств,
самосвального оборудования.
Положения
настоящего стандарта являются рекомендуемыми для всех ведомств, организаций и
предприятий Российской Федерации независимо от формы собственности,
осуществляющих проектирование и производство грузовых автомобилей, их шасси, а
также надстроек, предназначенных для установки на эти шасси.
2.
Нормативные ссылки
&В настоящем
стандарте использованы нормативные ссылки на следующие стандарты:
ГОСТ Р ИСО 10303
(Комплекс стандартов). Системы автоматизации производства и их интеграция.
Представление данных об изделии и обмен этими данными
ГОСТ Р 51980-2002.
Транспортные средства. Маркировка. Общие технические требования
ГОСТ Р 52051-2003.
Механические транспортные средства и прицепы. Классификация и определения
ГОСТ Р 52389-2005.
Транспортные средства колесные. Массы и размеры. Технические требования и
методы испытаний
ГОСТ Р 52852-2007
(ИСО 21308-3:2007). Автомобили грузовые. Обмен данными между изготовителем
шасси и кузовов (платформ). Общие данные, показатели масс, административная
информация. Условные обозначения
ГОСТ 28261-89 (ИСО
4130-78, ИСО 6549-80). Автотранспортные средства. Порядок определения положения
точки H и фактического угла наклона спинки сиденья посадочных мест водителя и
пассажиров&.
Примечание. При
пользовании настоящим стандартом целесообразно проверить действие ссылочных
стандартов на официальном сайте Федерального агентства по техническому
регулированию и метрологии в сети Интернет или по ежегодно издаваемому
информационному указателю "Национальные стандарты", который опубликован
по состоянию на 1 января текущего года, и по соответствующим ежемесячно
издаваемым информационным указателям, опубликованным в текущем году. Если
ссылочный стандарт заменен (изменен), то при пользовании настоящим стандартом
следует руководствоваться заменяющим (измененным) стандартом. Если ссылочный
стандарт отменен без замены, то положение, в котором дана ссылка на него,
применяется в части, не затрагивающей эту ссылку.
3. Термины
и определения
&В настоящем
стандарте применены следующие термины с соответствующими определениями:&
3.1. &BEP&
<1>-код (BEP-code): условное обозначение определенного параметра
грузового автомобиля, облегчающее обмен информацией между изготовителями шасси
и надстройки и обеспечивающее однозначное понимание передаваемой информации.
--------------------------------
<1> Bodywork
Exchange Parameter.
3.2. Левая/правая
сторона: сторона транспортного средства (ТС), располагающаяся слева/справа от
его продольной плоскости симметрии по направлению движения.
3.3. Ведущая ось:
ось, обозначаемая на схемах и чертежах как "X".
3.4. Ведомая ось:
ось (например, управляемая или вывешиваемая), обозначаемая на схемах и чертежах
как "O".
3.5. Передняя
кромка: наиболее выступающая вперед точка грузового автомобиля, декларируемая
изготовителем.
Примечание. Передняя
кромка определяется, как правило, по наружному контуру бампера.
3.6. Разрешенная
максимальная масса транспортного средства: максимальная масса транспортного
средства, допущенного к эксплуатации официальным органом, в соответствии с
ограничениями, установленными этим органом.
&3.7.
Технически допустимая максимальная масса транспортного средства: максимальная
масса транспортного средства, обусловленная его конструкцией и заданными
характеристиками, установленными изготовителем (см. ГОСТ Р 52389).
3.8. Масса
шасси в снаряженном состоянии: масса шасси с кабиной и сцепным устройством. Эта
масса включает в себя массы охлаждающей жидкости, масел, не менее 90% топлива,
100% других жидкостей, инструментов, водителя (75 кг), а также запасного
колеса.&
4. Система
кодирования размеров
4.1. Общие
положения
Каждому размеру,
приведенному в настоящем стандарте, соответствует код, состоящий из частей,
определяемых ниже.
4.2.
&BEP&-код
Аббревиатуру
"&BEP&", за которой следует дефис "-", следует
использовать для избежания смешивания с другими системами кодирования.
4.3. Типы
размеров
Коды размеров
применяют для обозначения измеренных значений длины, ширины и высоты по осям X,
Y и Z системы координат, соответственно (см. ГОСТ 28261). Коды также используют
для обозначения угловых размеров.
Типы размеров
обозначают прописными латинскими буквами следующим образом:
L - длина;
W - ширина;
H - высота.
Примечания. 1. За
начало отсчета при измерениях длины принимают центр первой (по направлению
движения) передней оси. В некоторых случаях, когда предпочтительнее использовать
заднюю ось, за начало отсчета принимают центр первой (по направлению движения)
задней ведущей оси.
2. За начало
отсчета при измерениях высоты элементов, связанных с рамой шасси, выбирают
наиболее высоко расположенную точку рамы.
3. За начало
отсчета при измерениях ширины выбирают продольную плоскость симметрии шасси.
4. В случае
необходимости идентификации размеров, расположенных с правой или левой стороны
по отношению к продольной плоскости симметрии шасси, к &BEP&-коду
должен быть добавлен индекс R или L, соответственно.
5. Размеры,
характеризующие высоту, если они зависят от размеров шин, следует относить к
конкретным шинам, установленным на шасси.
4.4. Нумерация
4.4.1. Общие
положения
Каждому размеру
присваивают уникальный &BEP&-код, состоящий из буквы, указывающей тип
размера (см. 4.3), и порядкового трехзначного номера, начинающегося с 001 (001,
002, 003 и т.д.).
Коды размеров для
повторяющихся элементов одного вида на одном ТС, например осей, поперечин,
элементов, установленных на раме, и т.п., различают за счет добавления к
основному номеру последовательных дополнительных номеров, начиная с 1, в
направлении от передней части автомобиля к задней. Дополнительный номер
отделяют от основного номера точкой.
Для кодов L,
обозначающих тип размера, положительное значение размера указывает на то, что
элемент расположен позади оси, принятой за начало отсчета. Отрицательное
значение указывает на то, что элемент расположен перед такой осью.
Для кодов H в
случае размеров, отсчитываемых от рамы шасси, положительное значение указывает
на то, что элемент расположен выше верхней точки рамы шасси. Отрицательное
значение указывает на то, что элемент расположен ниже верхней точки рамы шасси.
4.4.2.
Нумерация и обозначение типа элементов, установленных на раме
Для обозначения
длины, ширины и высоты каждого из повторяющихся элементов одного вида,
установленных на раме, применяют одно определенное сочетание основного и
дополнительного номеров с использованием соответствующих буквенных обозначений
типа размера L, H или W.
&Примеры.
1. Размещение 4-го
топливного бака (по порядку в направлении от передней оси к задней)
определяется размерами BEP-L030.4, BEP-H030.4 и BEP-W030.4.
2. Размещение 5-го
контейнера для аккумуляторной батареи (по порядку в направлении от передней оси
к задней) определяется размерами BEP-L030.5, BEP-H030.5 и BEP-W030.5.&
Для элементов,
установленных на раме, допускается добавлять к обозначениям размеров
дополнительный индекс "t" для идентификации вида установленного
элемента (объекта). Для идентификации видов таких объектов зарезервированы
следующие буквенные символы:
A - резервуар для
воздуха (ресивер);
B - контейнер
аккумуляторной батареи;
F - топливный бак;
H - бак для жидкости
гидросистемы;
M - глушитель
системы выпуска;
S - запасное
колесо;
T - ящик для
инструмента;
U - контейнер для
сбора жидких продуктов жизнедеятельности.
4.5. Размеры,
обозначаемые &BEP&-кодами, сведены в таблицах 1 - 5. В строке таблицы в
соответствующих графах указан &BEP&-код размера, наименование размера,
его описание, а также обозначения приоритета применения, условий нагрузки и
видов документов, в которых следует указывать данный размер.
4.6. Обозначение
приоритета
В графе
"Приоритет" указывают значимость соответствующего размера:
A - определяющий;
B - обычный.
4.7.
Обозначение условий нагрузки
В графе
"Условия нагрузки" указывают режим нагрузки шасси, при котором
определяется соответствующий размер:
1 - отсутствие
нагрузки - масса шасси в снаряженном состоянии (см. 3.8);
2 - полная нагрузка
- нагрузка, создаваемая технически допустимой максимальной массой ТС (см. 3.7).
Примечание. Прочерк
"-" (тире) означает, что на данный размер условия нагрузки не влияют.
4.8. Обозначение
вида документа
В графе "Вид
документа" указывают вид документа, в котором может быть указан данный
размер:
2D - двумерный
чертеж;
3D - трехмерная
модель;
TD - лист
технических данных.
Примечание.
Незаполненная ячейка в этой графе означает, что рекомендация относительно вида
документа, в котором может быть применен данный размер, отсутствует и размер
может быть использован в документе любого вида. Прочерк "-" (тире)
означает, что размер не может быть применен ни в одном из видов документов,
перечисленных выше.
5. Основные размеры
Таблица 1
┌────────────┬──────────────┬────────────────────┬─────┬───────┬──────────┐
│
&BEP&-код │ Наименование
│ Описание размера │Прио-│Условия│ Вид
│
│ │ размера
│
│ритет│нагруз-│документа │
│ │ │ │ │ки │ │
├────────────┼──────────────┼────────────────────┼─────┼───────┼──────────┤
│&BEP&-L001 │ Габаритная │ Расстояние от │
A │ -
│2D, 3D, TD│
│ │длина │передней до задней │
│ │ │
│ │транспортного │кромки
ТС с учетом │ │ │ │
│ │средства │дополнительного │
│ │ │
│ │ │оборудования, │ │ │ │
│ │ │расположенного │ │ │ │
│ │ │в передней и задней
│ │ │ │
│ │ │частях ТС. │ │ │ │
│ │ │ Примечание.
См.│ │ │ │
│ │ │[1] │ │ │ │
└────────────┴──────────────┴────────────────────┴─────┴───────┴──────────┘

┌────────────┬──────────────┬────────────────────┬─────┬───────┬──────────┐
│
&BEP&-код │ Наименование
│ Описание размера │Прио-│Условия│ Вид
│
│ │ размера
│
│ритет│нагруз-│документа │
│ │ │ │ │ки │ │
├────────────┼──────────────┼────────────────────┼─────┼───────┼──────────┤
│&BEP&-L002 │ Положение │ Расстояние от │
A │ -
│2D, 3D, TD│
│ │передней точки│центра
первой │ │ │ │
│ │начала
отсчета│передней оси до
│ │ │ │
│ │ │передней точки │ │ │ │
│ │ │начала отсчета. │
│ │ │
│ │ │ Примечания. │ │ │ │
│ │ │ 1.
Переднюю(ие)│
│ │ │
│ │ │точку(и) начала│ │ │ │
│ │ │отсчета определяет│ │ │ │
│ │ │изготовитель шасси.
│ │ │ │
│ │ │ 2. Если располо- │ │ │ │
│ │ │жение точек
начала│ │ │ │
│ │ │отсчета справа
и│ │ │ │
│ │ │слева от продольной│ │ │ │
│ │ │плоскости симметрии│ │ │ │
│ │ │различно, то│ │ │ │
│ │ │добавляют индекс
R│ │ │ │
│ │ │или L,
соответствен-│ │ │ │
│ │ │но. │ │ │ │
│ │ │ 3.
Если точка│ │ │ │
│ │ │начала отсчета│ │ │ │
│ │ │расположена перед│ │ │ │
│ │ │осью, то
значение│ │ │ │
│ │ │размера будет│ │ │ │
│ │ │отрицательным │ │ │ │
├────────────┼──────────────┼────────────────────┼─────┼───────┼──────────┤
│&BEP&-L003 │ Положение │ Расстояние от │
A │ -
│2D, 3D, TD│
│ │задней точки │центра первой │ │ │ │
│ │начала отсчета│ведущей
задней оси │ │ │ │
│ │ │до задней начальной
│ │ │ │
│ │ │точки отсчета. │ │ │ │
│ │ │
Примечания. │ │ │ │
│ │ │ 1.
Заднюю(ие)│ │ │ │
│ │ │точку(и) начала│ │ │ │
│ │ │отсчета определяет│ │
│ │
│ │ │изготовитель шасси.
│ │ │ │
│ │ │ 2. Если располо- │ │ │ │
│ │ │жение точек
начала│ │ │ │
│ │ │отсчета справа
и│ │ │ │
│ │ │слева от продольной│ │ │ │
│ │ │плоскости симметрии│ │ │ │
│ │ │различно, то│ │ │ │
│ │ │добавляют индекс
R│ │ │ │
│ │ │или L,
соответствен-│ │ │ │
│ │ │но. │ │
│ │
│ │ │ 3.
Если точка│ │ │ │
│ │ │начала отсчета│ │ │ │
│ │ │расположена перед│ │ │ │
│ │ │осью, то
значение│ │ │ │
│ │ │размера будет│ │ │ │
│ │ │отрицательным │ │ │ │
└────────────┴──────────────┴────────────────────┴─────┴───────┴──────────┘

┌────────────┬──────────────┬────────────────────┬─────┬───────┬──────────┐
│
&BEP&-код │ Наименование
│ Описание размера │Прио-│Условия│ Вид
│
│ │ размера
│ │ритет│нагруз-│документа
│
│ │ │ │ │ки │ │
├────────────┼──────────────┼────────────────────┼─────┼───────┼──────────┤
│&BEP&-H001 │ Максимальная │ Расстояние между
│
A │ 1
│2D, 3D, TD│
│ │высота шасси │опорной поверхностью│ │ │ │
│ │без нагрузки │и верхней точкой │
│ │ │
│ │ │кабины с учетом │
│ │ │
│ │ │элементов, │ │ │ │
│ │ │смонтированных на │
│ │ │
│ │ │кабине шасси, при │
│ │ │
│ │ │отсутствии нагрузки │ │ │ │
│ │ │(см. 4.7). │ │ │ │
│ │ │ Примечания. │ │ │ │
│ │ │ 1. Если на
крыше│ │ │ │
│ │ │кабины имеется люк,│ │ │ │
│ │ │то он
должен быть│ │ │ │
│ │ │закрыт. │ │ │ │
│ │ │ 2. Для пневмати- │ │ │ │
│ │ │ческой подвески│ │ │ │
│ │ │должен быть включен│ │ │ │
│ │ │режим движения │ │ │ │
├────────────┼──────────────┼────────────────────┼─────┼───────┼──────────┤
│&BEP&-H002 │ Максимальная │ Расстояние
между │ A
│ 2 │2D, 3D, TD│
│ │высота шасси │опорной поверхностью│ │ │ │
│ │с нагрузкой │и верхней точкой │
│ │ │
│ │ │кабины при шасси в │
│ │ │
│ │ │состоянии
"Полная │ │ │ │
│ │ │нагрузка" (см. 4.7)
│ │ │ │
│ │ │с учетом элементов,
│ │ │ │
│ │ │смонтированных │ │ │ │
│ │ │на кабине шасси. │
│ │ │
│ │ │ Примечания. │ │ │ │
│ │ │ 1. Если на
крыше│ │ │ │
│ │ │кабины имеется люк,│ │
│ │
│ │ │то он
должен быть│ │ │ │
│ │ │закрыт. │ │ │ │
│ │ │ 2. Для пневмати- │ │ │ │
│ │ │ческой подвески│ │
│ │
│ │ │должен быть включен│ │ │ │
│ │ │режим движения. │
│ │ │
│ │ │ 3.
Должна быть│ │ │ │
│ │ │учтена дополнитель-
│ │ │ │
│ │ │ная деформация шин │
│ │ │
└────────────┴──────────────┴────────────────────┴─────┴───────┴──────────┘

┌────────────┬──────────────┬────────────────────┬─────┬───────┬──────────┐
│
&BEP&-код │ Наименование
│ Описание размера │Прио-│Условия│ Вид
│
│ │ размера
│
│ритет│нагруз-│документа │
│ │ │ │ │ки │ │
├────────────┼──────────────┼────────────────────┼─────┼───────┼──────────┤
│&BEP&-H003 │ Максимальная │ Расстояние
между │ A
│ 1 │2D, 3D, TD│
│ │высота │опорной поверхностью│ │ │ │
│ │транспортного │и самой
верхней │ │ │ │
│ │средства без │точкой ТС с учетом │
│ │ │
│ │нагрузки │надстройки │ │ │ │
└────────────┴──────────────┴────────────────────┴─────┴───────┴──────────┘

┌────────────┬──────────────┬────────────────────┬─────┬───────┬──────────┐
│
&BEP&-код │ Наименование
│ Описание размера │Прио-│Условия│ Вид
│
│ │ размера
│
│ритет│нагруз-│документа │
│ │ │ │ │ки │ │
├────────────┼──────────────┼────────────────────┼─────┼───────┼──────────┤
│&BEP&-W001 │ Габаритная │ Максимальная ширина│ A
│ - │2D, 3D, TD│
│ │ширина шасси с│шасси
ТС. │ │ │ │
│ │кабиной │
Примечание. │ │
│ │
│ │ │ Учитывают наружные│ │ │ │
│ │ │зеркала в
максималь-│ │ │ │
│ │ │но отклоненной│ │ │ │
│ │ │наружу позиции,│ │
│ │
│ │ │осветительное
обору-│ │ │ │
│ │ │дование, эластичные│ │ │ │
│ │ │грязевые щитки,│ │ │ │
│ │ │выпуклости шин
в│ │ │ │
│ │ │зоне контакта
с│ │ │ │
│ │ │дорогой и
цепи│ │ │
│
│ │ │противоскольжения. │
│ │ │
│ │ │Надстройку не│ │ │ │
│ │ │учитывают │ │ │ │
├────────────┼──────────────┼────────────────────┼─────┼───────┼──────────┤
│&BEP&-W002 │ Ширина кабины│ Максимальная
ширина│ A │
- │2D, 3D, TD│
│ │в поперечном │кабины. │ │ │ │
│ │сечении │
Примечание. │ │ │ │
│ │ │ Грязевые щитки и│
│ │ │
│ │ │зеркала заднего
вида│ │ │ │
│ │ │не учитывают │ │ │ │
├────────────┼──────────────┼────────────────────┼─────┼───────┼──────────┤
│&BEP&-W003.n│ Ширина по │ Ширина в поперечной│ A
│ - │2D, 3D, TD│
│ │колесам n-й │плоскости, │ │ │ │
│ │оси │проходящей через │
│ │ │
│ │ │колеса n-й оси. │
│ │ │
│ │ │ Примечание. │ │ │ │
│ │ │ Проекции
втулок│ │ │ │
│ │ │осей и
выпуклостей│
│ │ │
│ │ │шин в зоне контакта│ │ │ │
│ │ │с дорогой
не│ │ │ │
│ │ │учитывают │ │ │ │
└────────────┴──────────────┴────────────────────┴─────┴───────┴──────────┘

6. Размеры,
относящиеся к шасси
6.1. Размеры, относящиеся
к осям и колесам, приведены в таблице 2.
Таблица 2
|
&BEP&-код
|
Наименование
размера
|
Описание размера
|
Прио-
ритет
|
Усло-
вия
на-
грузки
|
Вид
документа
|
|
&BEP&-L010
|
Полная
колесная база
|
Расстояние между
центром первой
передней оси и центром
последней задней оси
|
A
|
2
|
2D, 3D,
TD
|

┌────────────┬──────────────┬──────────────────────┬─────┬──────┬─────────┐
│
&BEP&-код │ Наименование
│ Описание размера │Прио-│Усло- │ Вид
│
│ │ размера
│
│ритет│вия │документа│
│ │ │ │ │на- │ │
│ │ │ │ │грузки│ │
├────────────┼──────────────┼──────────────────────┼─────┼──────┼─────────┤
│&BEP&-L011 │ Структурная │ Расстояние между │
A │ 2
│2D, 3D,│
│ │колесная база │центром
первой │ │ │TD │
│ │ │передней оси и
центром│ │ │ │
│ │ │первой ведущей задней
│ │ │ │
│ │ │оси. │ │ │ │
│ │ │ Примечание. Если ТС│ │ │ │
│ │ │несимметричное и│ │
│ │
│ │ │правая и левая
стороны│ │ │ │
│ │ │характеризуются │ │ │ │
│ │ │разными значениями│ │ │ │
│ │ │размера, то к размеру│ │ │ │
│ │ │добавляют R
или L,│ │ │ │
│ │ │соответственно. │ │ │ │
│ │ │ │ │ │ │
│ │ │ &Пример.
BEP&-L011.L │ │ │ │
└────────────┴──────────────┴──────────────────────┴─────┴──────┴─────────┘

|
&BEP&-код
|
Наименование
размера
|
Описание размера
|
Прио-
ритет
|
Усло-
вия
на-
грузки
|
Вид
документа
|
|
&BEP&-L012.n
|
Расстояние
между колесами
n-й и n + 1-й
осей
|
Расстояние между
центрами колес n-й
и n + 1-й осей,
расположенными с одной
стороны ТС
|
A
|
2
|
2D, 3D,
TD
|

┌────────────┬──────────────┬──────────────────────┬─────┬──────┬─────────┐
│
&BEP&-код │ Наименование
│ Описание размера │Прио-│Усло- │ Вид
│
│ │ размера
│
│ритет│вия │документа│
│ │ │ │ │на- │ │
│ │ │ │ │грузки│ │
├────────────┼──────────────┼──────────────────────┼─────┼──────┼─────────┤
│&BEP&-L013 │ Теоретический│ Продольное
расстояние│ A │
2 │2D, 3D,│
│ │центр колесной│между
первой передней │ │ │TD │
│ │базы │осью и расчетной │ │ │ │
│ │комбинации │точкой приложения │
│ │ │
│ │передних осей
│равнодействующей │ │ │ │
│ │ │вертикальных реакций │
│ │ │
│ │ │на колесах комбинации
│ │ │
│
│ │ │передних осей │ │ │ │
├────────────┼──────────────┼──────────────────────┼─────┼──────┼─────────┤
│&BEP&-L014 │ Теоретический│ Продольное
расстояние│ A │
2 │2D, 3D,│
│ │центр колесной│между
первой ведущей │ │ │TD │
│ │базы │задней осью и расчет-
│ │ │ │
│ │комбинации │ной точкой приложения │ │ │ │
│ │задних осей │равнодействующей │ │ │ │
│ │ │вертикальных реакций │
│ │ │
│ │ │на колесах комбинации
│ │ │ │
│ │ │задних осей │ │ │ │
├────────────┼──────────────┼──────────────────────┼─────┼──────┼─────────┤
│&BEP&-L015 │ Теоретическая│ Продольное
расстояние│ A │
2 │2D, 3D,│
│ │колесная база │между
теоретическими │ │ │TD │
│ │транспортного
│центрами комбинаций │ │ │ │
│ │средства │передних и задних │
│ │ │
│ │ │осей. │ │ │ │
│ │ │
Примечания. 1. Для│ │ │ │
│ │ │одиночных осей,
как│ │ │ │
│ │ │передних, так
и│ │ │ │
│ │ │задних, теоретические│ │
│ │
│ │ │центры колесных
баз│ │ │ │
│ │ │совпадают с централь-
│ │ │ │
│ │ │ными линиями соответ-
│ │ │ │
│ │ │ствующих осей. │ │ │ │
│ │ │ 2. Для пневматичес-│ │ │ │
│ │ │кой подвески с│
│ │ │
│ │ │электронным управле- │
│ │ │
│ │ │нием теоретические│ │ │ │
│ │ │центры комбинаций
осей│ │ │ │
│ │ │смещаются во
время│ │ │
│
│ │ │движения │ │ │ │
│ │ │ │ │ │ │
│ │ │ &Пример. │ │ │ │
│ │ │Распределение
нагрузки│ │ │ │
│ │ │по осям A, B, C, D │
│ │ │
│ │ │может быть следующим:
│ │ │ │
│ │ │A = 50%, B = 50%, │
│ │ │
│ │ │C = 60%, D = 40%. │
│ │ │
│ │ │Тогда теоретический │
│ │ │
│ │ │центр комбинации │ │ │ │
│ │ │передних осей │ │ │ │
│ │ │располагается на │ │ │ │
│ │ │равном расстоянии │
│ │ │
│ │ │между осями A и B, а │
│ │ │
│ │ │теоретический центр │
│ │ │
│ │ │комбинации задних
осей│ │ │ │
│ │ │смещен к оси C, так │
│ │ │
│ │ │что на расстояние до │
│ │ │
│ │ │оси C приходится 40% │
│ │ │
│ │ │расстояния между
осями│ │ │ │
│ │ │C и D& │ │ │ │
└────────────┴──────────────┴──────────────────────┴─────┴──────┴─────────┘

|
&BEP&-код
|
Наименование
размера
|
Описание размера
|
Прио-
ритет
|
Усло-
вия
на-
грузки
|
Вид
документа
|
|
&BEP&-L016
|
Передний свес
транспортного
средства
|
Расстояние между
вертикальной
плоскостью, проходящей
через центр первой
передней оси, и
передней кромкой ТС
с учетом всех жестко
закрепленных деталей
(буксирного крюка,
номерного знака
и т.д.)
|
A
|
2
|
2D, 3D,
TD
|
|
&BEP&-L017
|
Задний свес
транспортного
средства
|
Расстояние между
вертикальной
плоскостью, проходящей
через центр последней
задней оси, и задней
кромкой автомобиля с
учетом всех жестко
закрепленных деталей
(буксирного
устройства, номерного
знака и т.д.)
|
A
|
2
|
2D, 3D,
TD
|
|
&BEP&-L018
|
Передний свес
рамы
|
Расстояние между
вертикальной
плоскостью, проходящей
через центр первой
передней оси, и
передней кромкой рамы
|
A
|
-
|
2D, 3D,
TD
|
|
&BEP&-L019
|
Задний свес
рамы
|
Расстояние между
вертикальной
плоскостью, проходящей
через центр последней
задней оси, и задней
кромкой рамы
|
A
|
-
|
2D, 3D,
TD
|
|
&BEP&-L020
|
Задний свес
рамы от первой
ведущей задней
оси
|
Расстояние между
вертикальной
плоскостью, проходящей
через центр первой
ведущей задней оси,
и задней кромкой рамы
|
A
|
-
|
2D, 3D,
TD
|
|
&BEP&-L021
|
Теоретический
задний свес
транспортного
средства
|
Расстояние между
теоретическим центром
комбинации задних осей
и задней кромкой ТС
|
B
|
-
|
2D, 3D,
TD
|

┌────────────┬──────────────┬──────────────────────┬─────┬──────┬─────────┐
│
&BEP&-код │ Наименование
│ Описание размера │Прио-│Усло- │ Вид
│
│ │ размера
│
│ритет│вия │документа│
│ │ │ │ │на- │ │
│ │ │ │ │грузки│ │
├────────────┼──────────────┼──────────────────────┼─────┼──────┼─────────┤
│&BEP&-H010 │ Угол въезда │ Наибольший угол между│ B
│ 2 │2D,
3D,│
│ │ │горизонтальной │ │ │TD │
│ │ │плоскостью и │ │ │ │
│ │ │плоскостью, │ │ │ │
│ │ │касательной к
передним│ │ │ │
│ │ │колесам, очерченным │
│ │ │
│ │ │статическим радиусом,
│ │ │
│
│ │ │и проведенной таким │
│ │ │
│ │ │образом, что ни одна │
│ │ │
│ │ │деталь ТС, │ │ │ │
│ │ │расположенная в его │
│ │ │
│ │ │передней части │ │ │ │
│ │ │и жестко связанная │
│ │ │
│ │ │с ним, не находится │
│ │ │
│ │ │ниже этой касательной
│ │ │ │
│ │ │плоскости. │ │ │ │
│ │ │ Примечания. │ │ │ │
│ │ │ 1. Шасси должно быть│ │ │ │
│ │ │нагружено так,
чтобы│ │ │ │
│ │ │на оси
действовали│
│ │ │
│ │ │вертикальные нагрузки,│ │ │ │
│ │ │эквивалентные │ │ │ │
│ │ │технически допустимым│ │ │ │
│ │ │максимальным массам,│ │ │ │
│ │ │приходящимся на│ │ │ │
│ │ │соответствующие оси│ │ │ │
│ │ │(см. ГОСТ Р 52389). │
│ │ │
│ │ │ 2. Для пневматичес-│ │ │ │
│ │ │кой подвески
должен│ │ │ │
│ │ │быть включен
режим│ │ │ │
│ │ │движения. │ │ │ │
│ │ │ 3.
Должна быть│ │ │ │
│ │ │учтена дополнительная│ │ │ │
│ │ │деформация шин │ │ │ │
├────────────┼──────────────┼──────────────────────┼─────┼──────┼─────────┤
│&BEP&-H011 │ Угол съезда │ Наибольший угол между│ B
│ 2 │2D,
3D,│
│ │ │горизонтальной │ │ │TD │
│ │ │плоскостью и │ │ │ │
│ │ │плоскостью, │ │ │ │
│ │ │касательной к задним │
│ │ │
│ │ │колесам, очерченным │
│ │ │
│ │ │статическим радиусом,
│ │ │ │
│ │ │и проведенной таким │
│ │ │
│ │ │образом, что ни одна │
│ │ │
│ │ │деталь ТС, │ │ │ │
│ │ │расположенная в его │
│ │ │
│ │ │задней части и жестко
│ │ │ │
│ │ │связанная с ним, │ │ │ │
│ │ │не находится ниже
этой│ │ │ │
│ │ │касательной
плоскости.│ │ │ │
│ │ │ Примечания. │ │ │ │
│ │ │ 1. Шасси должно быть│ │ │ │
│ │ │нагружено так,
чтобы│ │ │ │
│ │ │на оси
действовали│
│ │
│
│ │ │вертикальные
нагрузки,│ │ │ │
│ │ │эквивалентные │ │ │ │
│ │ │технически допустимым│ │ │ │
│ │ │максимальным массам,│ │ │ │
│ │ │приходящимся на│ │ │ │
│ │ │соответствующие оси│ │ │ │
│ │ │(см. ГОСТ Р 52389). │
│ │ │
│ │ │ 2. Для пневматичес-│ │ │ │
│ │ │кой подвески
должен│ │ │ │
│ │ │быть включен
режим│ │ │ │
│ │ │движения. │ │ │ │
│ │ │ 3.
Должна быть│ │ │ │
│ │ │учтена дополнительная│ │ │ │
│ │ │деформация шин │ │ │ │
├────────────┼──────────────┼──────────────────────┼─────┼──────┼─────────┤
│&BEP&-H012 │ Угол │ Наименьший острый │
B │ 2
│2D, 3D,│
│ │продольной │угол между двумя │ │ │TD │
│ │проходимости │плоскостями, │ │ │ │
│ │ │перпендикулярными к │
│ │ │
│ │ │продольной плоскости │
│ │ │
│ │ │симметрии ТС и │ │ │ │
│ │ │касательными к шинам │
│ │ │
│ │ │передней и задней
оси,│ │ │ │
│ │ │соответственно, линия
│ │ │ │
│ │ │пересечения которых │
│ │ │
│ │ │касается наиболее │
│ │ │
│ │ │низко расположенной │
│ │ │
│ │ │части между этими │
│ │ │
│ │ │осями ТС. │ │ │ │
│ │ │ Этот угол определяет
│ │ │ │
│ │ │наибольший угол │ │ │ │
│ │ │перелома опорной │ │ │ │
│ │ │поверхности, через │
│ │ │
│ │ │который может │ │ │ │
│ │ │переехать ТС │ │ │ │
└────────────┴──────────────┴──────────────────────┴─────┴──────┴─────────┘

┌────────────┬──────────────┬──────────────────────┬─────┬──────┬─────────┐
│
&BEP&-код │ Наименование
│ Описание размера │Прио-│Усло- │ Вид
│
│ │ размера
│
│ритет│вия
│документа│
│ │ │ │ │на- │ │
│ │ │ │ │грузки│ │
├────────────┼──────────────┼──────────────────────┼─────┼──────┼─────────┤
│&BEP&-H013 │ Дорожный │ Расстояние между │
A │ 2
│2D, 3D,│
│ │просвет под │опорной поверхностью │
│ │TD │
│ │задней частью │и самой
нижней точкой │ │ │ │
│ │шасси │задней части шасси. │
│ │ │
│ │ │ Примечания. │ │
│ │
│ │ │ 1.
Задней частью│ │ │ │
│ │ │шасси считают│ │ │ │
│ │ │пространство от
центра│ │ │ │
│ │ │последней передней
оси│ │ │ │
│ │ │до задней
кромки│ │ │ │
│ │ │шасси. │ │ │
│
│ │ │ 2.
Шасси должно│ │ │ │
│ │ │быть нагружено
так,│ │ │ │
│ │ │чтобы на
оси│ │ │ │
│ │ │действовали нагрузки,│ │ │
│
│ │ │эквивалентные │ │ │ │
│ │ │технически допустимым│ │ │ │
│ │ │максимальным массам,│ │ │ │
│ │ │приходящимся на
эти│ │ │ │
│ │ │оси │ │ │ │
│ │ │(см. ГОСТ Р 52389). │
│ │ │
│ │ │ 3. Для пневматичес-│ │ │ │
│ │ │кой подвески
должен│ │ │ │
│ │ │быть включен
режим│ │ │ │
│ │ │движения. │ │ │ │
│ │ │ 4.
Должна быть│ │ │ │
│ │ │учтена дополнительная│ │ │ │
│ │ │деформация шин │ │ │ │
└────────────┴──────────────┴──────────────────────┴─────┴──────┴─────────┘

┌────────────┬──────────────┬──────────────────────┬─────┬──────┬─────────┐
│
&BEP&-код │ Наименование
│ Описание размера │Прио-│Усло- │ Вид
│
│ │ размера
│
│ритет│вия
│документа│
│ │ │ │ │на- │ │
│ │ │ │ │грузки│ │
├────────────┼──────────────┼──────────────────────┼─────┼──────┼─────────┤
│&BEP&-H014 │ Дорожный │ Расстояние между │
A │ 2
│2D, 3D,│
│ │просвет под │опорной поверхностью и│ │ │TD │
│ │передней │самой нижней точкой │
│ │ │
│ │частью шасси │передней части шасси. │ │ │ │
│ │ │ Примечания. │ │ │ │
│ │ │ 1. Передней
частью│ │ │ │
│ │ │шасси считается│ │ │ │
│ │ │пространство от
центра│ │ │ │
│ │ │последней передней
оси│ │ │ │
│ │ │до передней
кромки│ │ │ │
│ │ │шасси. │ │ │ │
│ │ │ 2.
Шасси должно│ │ │ │
│ │ │быть нагружено
так,│ │ │ │
│ │ │чтобы на
оси│ │ │ │
│ │ │действовали нагрузки,│ │ │ │
│ │ │эквивалентные │ │ │ │
│ │ │технически допустимым│ │ │ │
│ │ │максимальным массам,│ │ │ │
│ │ │приходящимся на
эти│ │ │ │
│ │ │оси │ │ │ │
│ │ │(см. ГОСТ Р 52389). │
│ │ │
│ │ │ 3. Для пневматичес-│ │ │ │
│ │ │кой подвески
должен│ │ │ │
│ │ │быть включен
режим│ │ │ │
│ │ │движения. │ │ │ │
│ │ │ 4.
Должна быть│ │ │ │
│ │ │учтена дополнительная│ │ │ │
│ │ │деформация шин │ │ │ │
└────────────┴──────────────┴──────────────────────┴─────┴──────┴─────────┘

┌────────────┬──────────────┬──────────────────────┬─────┬──────┬─────────┐
│
&BEP&-код │ Наименование
│ Описание размера │Прио-│Усло- │ Вид
│
│ │ размера
│
│ритет│вия
│документа│
│ │ │ │ │на- │ │
│ │ │ │ │грузки│ │
├────────────┼──────────────┼──────────────────────┼─────┼──────┼─────────┤
│&BEP&-H015.n│ Дорожный │ Наименьшее расстояние│ A
│ 2 │2D,
3D,│
│ │просвет под │между n-й передней │
│ │TD │
│ │n-й передней │осью ТС и опорной │
│ │ │
│ │осью │поверхностью. │ │ │ │
│ │ │ Примечания. │ │ │ │
│ │ │ 1. Шасси должно быть│ │ │ │
│ │ │нагружено так,
чтобы│ │ │ │
│ │ │на ось
действовала│
│ │ │
│ │ │нагрузка, эквивалент-
│ │ │ │
│ │ │ная технически допус-
│ │ │ │
│ │ │тимой максимальной│ │ │ │
│ │ │массе, приходящейся
на│ │ │ │
│ │ │эту ось │ │ │ │
│ │ │(см. ГОСТ Р 52389). │ │
│ │
│ │ │ 2. Для пневматичес-│ │ │ │
│ │ │кой подвески
должен│ │ │ │
│ │ │быть включен
режим│ │ │ │
│ │ │движения. │ │ │ │
│ │ │ 3.
Должна быть│ │ │ │
│ │ │учтена дополнительная│ │ │ │
│ │ │деформация шин │ │ │ │
└────────────┴──────────────┴──────────────────────┴─────┴──────┴─────────┘

┌────────────┬──────────────┬──────────────────────┬─────┬──────┬─────────┐
│
&BEP&-код │ Наименование
│ Описание размера │Прио-│Усло- │ Вид
│
│ │ размера
│
│ритет│вия
│документа│
│ │ │ │ │на- │ │
│ │ │ │ │грузки│ │
├────────────┼──────────────┼──────────────────────┼─────┼──────┼─────────┤
│&BEP&-H016.n│ Дорожный │ Наименьшее расстояние│ A
│ 2 │2D,
3D,│
│ │просвет под │между n-й задней осью │ │ │TD │
│ │n-й задней │ТС и опорной │ │ │ │
│ │осью │поверхностью. │ │ │ │
│ │ │ Примечания. │ │ │ │
│ │ │ 1. Шасси должно быть│ │ │
│
│ │ │нагружено так,
чтобы│ │ │ │
│ │ │на ось
действовала│
│ │ │
│ │ │нагрузка, эквивалент-
│ │ │ │
│ │ │ная технически│ │ │ │
│ │ │допустимой максималь-
│ │ │ │
│ │ │ной массе,
приходящей-│ │ │ │
│ │ │ся на эту ось │ │ │ │
│ │ │(см. ГОСТ Р 52389). │
│ │ │
│ │ │ 2. Для пневматичес-│ │ │ │
│ │ │кой
подвески должен│ │ │ │
│ │ │быть включен
режим│ │ │ │
│ │ │движения. │ │ │ │
│ │ │ 3.
Должна быть│ │
│ │
│ │ │учтена дополнительная│ │ │ │
│ │ │деформация шин │ │ │ │
└────────────┴──────────────┴──────────────────────┴─────┴──────┴─────────┘

┌────────────┬──────────────┬──────────────────────┬─────┬──────┬─────────┐
│
&BEP&-код │ Наименование
│ Описание размера │Прио-│Усло- │ Вид
│
│ │ размера
│
│ритет│вия
│документа│
│ │ │ │ │на- │ │
│ │ │ │ │грузки│ │
├────────────┼──────────────┼──────────────────────┼─────┼──────┼─────────┤
│&BEP&-H017 │ Переднее про-│ Расстояние
между │ A
│ 1 │2D,
3D,│
│ │тивоподкатное │опорной
поверхностью │ │ │TD │
│ │устройство, │и верхней точкой │ │ │ │
│ │верхняя
кромка│переднего противо-
│ │ │ │
│ │ │подкатного устройства
│ │ │ │
├────────────┼──────────────┼──────────────────────┼─────┼──────┼─────────┤
│&BEP&-H018 │ Переднее про-│ Расстояние
между │ A │ 1
│2D, 3D,│
│ │тивоподкатное │опорной
поверхностью │ │ │TD │
│ │устройство, │и нижней точкой │ │ │ │
│ │нижняя кромка
│переднего противо- │ │ │ │
│ │ │подкатного устройства
│ │ │ │
├────────────┼──────────────┼──────────────────────┼─────┼──────┼─────────┤
│&BEP&-H019.n│ n-е боковое │ Расстояние между │
A │ 1
│2D, 3D,│
│ │противо- │опорной поверхностью │
│ │TD │
│ │подкатное │и верхней точкой │ │ │ │
│ │устройство, │n-го бокового │ │ │ │
│ │верхняя
кромка│противоподкатного
│ │ │ │
│ │ │устройства. │ │ │ │
│ │ │ Примечание. │ │ │ │
│ │ │ Измерение
проводят│ │ │ │
│ │ │в средней
части│ │ │ │
│ │ │бокового противопод- │
│ │ │
│ │ │катного устройства │
│ │ │
├────────────┼──────────────┼──────────────────────┼─────┼──────┼─────────┤
│&BEP&-H020.n│ n-е боковое │ Расстояние между │
A │ 1
│2D, 3D,│
│ │противо- │опорной поверхностью и│ │ │TD │
│ │подкатное │нижней точкой n-го │
│ │ │
│ │устройство, │бокового противо- │
│ │ │
│ │нижняя кромка
│подкатного устройства.│
│ │ │
│ │ │ Примечание. │ │ │ │
│ │ │ Измерение
проводят│ │ │ │
│ │ │в средней
части│ │ │ │
│ │ │бокового противопод- │
│ │ │
│ │ │катного устройства │
│ │ │
├────────────┼──────────────┼──────────────────────┼─────┼──────┼─────────┤
│&BEP&-H021 │ Заднее │ Расстояние между │
A │ 1
│2D, 3D,│
│ │противо- │опорной поверхностью и│ │ │TD │
│ │подкатное │верхней точкой заднего│ │ │ │
│ │устройство, │противоподкатного │
│ │ │
│ │верхняя
кромка│устройства
│ │ │ │
├────────────┼──────────────┼──────────────────────┼─────┼──────┼─────────┤
│&BEP&-H022 │ Заднее │ Расстояние между │
A │ 1
│2D, 3D,│
│ │противо- │опорной поверхностью и│ │ │TD │
│ │подкатное │нижней точкой заднего │ │ │ │
│ │устройство, │противоподкатного │
│ │ │
│ │нижняя кромка
│устройства │ │ │ │
└────────────┴──────────────┴──────────────────────┴─────┴──────┴─────────┘

┌────────────┬──────────────┬──────────────────────┬─────┬──────┬─────────┐
│
&BEP&-код │ Наименование
│ Описание размера │Прио-│Усло- │ Вид
│
│ │ размера
│ │ритет│вия │документа│
│ │ │ │ │на- │ │
│ │ │ │ │грузки│ │
├────────────┼──────────────┼──────────────────────┼─────┼──────┼─────────┤
│&BEP&-W010.n│ Угол
поворота│ Максимальный угол
│ B │
1 │2D, 3D,│
│ │колес │поворота управляемого
│ │ │TD │
│ │ │колеса. │ │ │ │
│ │ │ Примечание. │ │ │ │
│ │ │ L
или R -
для│ │ │ │
│ │ │колеса с
левой или│ │ │ │
│ │ │правой стороны ТС, n -│ │ │ │
│ │ │для n-й
управляемой│
│ │ │
│ │ │оси, It
или rt для│
│ │ │
│ │ │поворота колеса влево│
│ │ │
│ │ │или вправо,│ │ │ │
│ │ │соответственно. │ │ │ │
│ │ │ │ │ │ │
│ │ │ &Пример. │ │ │ │
│ │ │BEP&-W010.R.2.rt │ │ │ │
│ │ │&означает: │ │ │ │
│ │ │угол поворота колеса,
│ │ │ │
│ │ │расположенного с │ │ │ │
│ │ │правой стороны ТС на │
│ │ │
│ │ │второй управляемой │
│ │
│
│ │ │оси, при повороте │
│ │ │
│ │ │вправо& │ │ │ │
└────────────┴──────────────┴──────────────────────┴─────┴──────┴─────────┘

┌────────────┬──────────────┬──────────────────────┬─────┬──────┬─────────┐
│
&BEP&-код │ Наименование
│ Описание размера │Прио-│Усло- │ Вид
│
│ │ размера
│
│ритет│вия
│документа│
│ │ │ │ │на- │ │
│ │ │ │ │рузки │ │
├────────────┼──────────────┼──────────────────────┼─────┼──────┼─────────┤
│&BEP&-W011 │ Диаметр │ Диаметр окружности, │
A │ 2
│ TD │
│ │окружности │описываемой центром │
│ │ │
│ │поворота │пятна контакта │ │ │ │
│ │ │внешнего управляемого
│ │ │ │
│ │ │колеса первой оси ТС │
│ │ │
│ │ │при максимальном угле
│ │ │ │
│ │ │поворота рулевого │
│ │ │
│ │ │колеса. │ │ │ │
│ │ │ Примечание. При│ │ │ │
│ │ │различии между│ │ │ │
│ │ │диаметрами
окружностей│ │ │ │
│ │ │при повороте вправо и│
│ │ │
│ │ │влево эти
размеры│ │ │ │
│ │ │кодируют как│ │ │ │
│ │ │&BEP&-W011.R и│ │ │ │
│ │ │&BEP&-W011.L, │ │ │ │
│ │ │соответственно │ │ │ │
├────────────┼──────────────┼──────────────────────┼─────┼──────┼─────────┤
│&BEP&-W012 │ Наружный │ Диаметр окружности, │
A │ 2
│ TD │
│ │габаритный │описываемой наиболее │
│ │ │
│ │диаметр │удаленной от центра │
│ │ │
│ │окружности │поворота точкой ТС при│ │ │ │
│ │поворота │максимальном угле │
│ │ │
│ │ │поворота рулевого │ │
│ │
│ │ │колеса. │ │ │ │
│ │ │ Примечания. │ │ │ │
│ │ │ 1. Учитывают уста- │ │ │ │
│ │ │новленное на
ТС│ │ │ │
│ │ │оборудование,
например│ │ │ │
│ │ │зеркала заднего вида.
│ │ │ │
│ │ │ 2.
При различии│ │ │ │
│ │ │между диаметрами│ │ │ │
│ │ │окружностей при│ │ │ │
│ │ │повороте вправо
и│ │ │ │
│ │ │влево эти
размеры│ │ │ │
│ │ │кодируют как│ │ │ │
│ │ │&BEP&-W011.R и│ │ │ │
│ │ │&BEP&-W011.L, │ │ │ │
│ │ │соответственно │ │ │ │
└────────────┴──────────────┴──────────────────────┴─────┴──────┴─────────┘

┌────────────┬──────────────┬──────────────────────┬─────┬──────┬─────────┐
│
&BEP&-код │ Наименование
│ Описание размера │Прио-│Усло- │ Вид
│
│ │ размера
│
│ритет│вия
│документа│
│ │ │ │ │на- │ │
│ │ │ │ │грузки│ │
├────────────┼──────────────┼──────────────────────┼─────┼──────┼─────────┤
│&BEP&-W013.n│ Колея │ Расстояние между │
A │ 1
│2D, 3D,│
│ │ │продольными │ │ │TD │
│ │ │плоскостями симметрии
│ │ │ │
│ │ │шин n-й оси. │ │ │ │
│ │ │ Примечание. Если│ │ │ │
│ │ │ось укомплектована│ │ │ │
│ │ │сдвоенными колесами,│ │ │ │
│ │ │измеряют расстояние│ │ │ │
│ │ │между продольными│ │ │ │
│ │ │плоскостями,
разделяю-│ │ │ │
│ │ │щими сдвоенные шины с│
│ │ │
│ │ │каждой стороны ТС │
│ │ │
└────────────┴──────────────┴──────────────────────┴─────┴──────┴─────────┘

|
&BEP&-код
|
Наименование
размера
|
Описание размера
|
Прио-
ритет
|
Усло-
вия
на-
грузки
|
Вид
документа
|
|
&BEP&-W014.n
|
Расстояние
между
сдвоенными
колесами
|
Расстояние между
продольными
плоскостями симметрии
сдвоенных шин с одной
стороны n-й оси ТС
|
B
|
1
|
2D, 3D,
TD
|

|
&BEP&-код
|
Наименование
размера
|
Описание размера
|
Прио-
ритет
|
Усло-
вия
на-
грузки
|
Вид
документа
|
|
&BEP&-W015.n
|
Рессорная
колея
|
Расстояние между
упругими элементами
подвески (или фланцами
крепления рессор к
шасси) n-й оси
|
B
|
1
|
2D, 3D,
TD
|

6.2. Размеры,
относящиеся к раме шасси, приведены в таблице 3.
Таблица 3
┌──────────────┬──────────────┬────────────────────┬─────┬──────┬─────────┐
│ &BEP&-код │ Наименование │ Описание размера │Прио-│Усло- │ Вид
│
│ │ размера
│
│ритет│вия
│документа│
│ │ │ │ │на- │ │
│ │ │ │ │грузки│ │
├──────────────┼──────────────┼────────────────────┼─────┼──────┼─────────┤
│&BEP&-L030.n.t│ Продольное │ Расстояние между │
A │ -
│2D, 3D,│
│ │расположение │центром первой │ │ │TD │
│ │передней точки│передней
оси и │ │ │ │
│ │объекта, │передней точкой n-го│ │ │ │
│
│установленного│объекта, установлен-│ │ │ │
│ │на шасси │ного на шасси. │ │ │ │
│ │ │ Примечания. │ │ │ │
│ │ │ 1. Если располо- │ │ │ │
│ │ │жение передних
точек│ │ │ │
│ │ │объектов справа
и│ │ │ │
│ │ │слева от продольной│ │ │ │
│ │ │плоскости симметрии│ │ │ │
│ │ │различно, то│ │ │ │
│ │ │добавляют индекс
R│ │ │ │
│ │ │или L,
соответствен-│ │ │ │
│ │ │но. │ │ │ │
│ │ │ 2. Такая струк- │
│ │ │
│ │ │тура кода
размера│ │ │ │
│ │ │применима к│ │ │ │
│ │ │объектам, располо- │
│ │ │
│ │ │женным как
внутри,│ │ │ │
│ │ │так и снаружи
рамы│ │ │ │
│ │ │шасси. │ │ │ │
│ │ │ 3. Дополнительное│ │ │ │
│ │ │кодирование типа│ │ │ │
│ │ │объекта индексом t
-│ │ │ │
│ │ │см. 4.4.2. │ │ │ │
│ │ │ │ │ │ │
│ │ │ &Пример.
Ресивер, │ │ │ │
│ │ │топливный бак, │ │ │ │
│ │ │контейнер │ │ │ │
│ │ │для аккумуляторов, │
│ │ │
│ │ │разъемы │ │
│ │
│ │ │электрических │ │ │ │
│ │ │и электронных │ │ │ │
│ │ │устройств, │ │ │ │
│ │ │пневматических │ │
│ │
│ │ │магистралей, │ │ │ │
│ │ │элементы системы │
│ │ │
│ │ │выпуска, боковое │
│ │ │
│ │ │противоподкатное │
│ │ │
│ │ │устройство и
т.п.& │ │ │ │
├──────────────┼──────────────┼────────────────────┼─────┼──────┼─────────┤
│&BEP&-L031.n.t│ Продольное │ Расстояние между │
A │ -
│2D, 3D,│
│ │расположение │центром первой │ │ │TD │
│ │задней точки │передней оси и │ │ │ │
│ │объекта, │задней точкой n-го │
│ │ │
│
│установленного│объекта, │ │ │ │
│ │на шасси │установленного │ │ │ │
│ │ │на шасси. │ │ │ │
│ │ │ Примечания. │ │ │ │
│ │ │ 1. Если располо- │ │ │ │
│ │ │жение задних
точек│ │ │ │
│ │ │объектов справа
и│ │ │ │
│ │ │слева от продольной│ │ │ │
│ │ │плоскости симметрии│ │ │ │
│ │ │различно, то│ │
│ │
│ │ │добавляют индекс
R│ │ │ │
│ │ │или L,
соответствен-│ │ │ │
│ │ │но. │ │ │ │
│ │ │ 2.
Такая│ │ │ │
│ │ │структура кода│ │ │ │
│ │ │размера применима к│
│ │ │
│ │ │объектам, располо- │
│ │ │
│ │ │женным как
внутри,│ │ │ │
│ │ │так и снаружи
рамы│ │ │ │
│ │ │шасси. │ │ │ │
│ │ │ 3. Дополнительное│ │ │ │
│ │ │кодирование типа│ │ │ │
│ │ │объекта индексом t -│ │ │ │
│ │ │см. 4.4.2. │ │ │ │
│ │ │ │ │ │ │
│ │ │ &Пример.
Ресивер, │ │ │ │
│
│ │топливный бак, │ │ │ │
│ │ │контейнер для │ │ │ │
│ │ │аккумуляторов, │ │ │ │
│ │ │разъемы │ │ │ │
│ │ │электрических │ │ │ │
│ │ │и электронных │ │ │ │
│ │ │устройств, │ │ │ │
│ │ │пневматических │ │ │ │
│ │ │магистралей, │ │ │ │
│ │ │элементы системы │
│ │ │
│ │ │выпуска, боковое │
│ │ │
│ │ │противоподкатное │
│ │ │
│ │ │устройство и
т.п.& │ │ │ │
├──────────────┼──────────────┼────────────────────┼─────┼──────┼─────────┤
│&BEP&-H030.n.t│ Расположение
│ Вертикальное │ A
│ - │2D,
3D,│
│ │верхней точки
│расстояние от │ │ │TD │
│ │объекта, │верхней кромки рамы │ │ │ │
│ │установленного│до
наиболее высоко │ │ │ │
│ │на шасси, │расположенной точки │ │ │ │
│ │высота │n-го объекта, │ │ │ │
│ │ │установленного │ │ │ │
│ │ │на шасси. │ │ │ │
│ │ │ Примечания. │ │ │ │
│ │ │ 1. Если располо- │ │ │ │
│ │ │жение точек справа
и│ │ │ │
│ │ │слева от продольной│ │ │ │
│ │ │плоскости симметрии│ │
│ │
│ │ │различно, то│ │ │ │
│ │ │добавляют индекс
R│ │ │ │
│ │ │или L,
соответствен-│ │ │ │
│ │ │но. │ │
│ │
│ │ │ 2. Такая структу-│ │ │ │
│ │ │ра кода
размера│ │ │ │
│ │ │применима к объек- │
│ │ │
│ │ │там, расположенным│ │ │ │
│ │ │как внутри,
так и│ │ │ │
│ │ │снаружи рамы шасси.
│ │ │
│
│ │ │ 3. Дополнительное│ │ │ │
│ │ │кодирование типа│ │ │ │
│ │ │объекта индексом t
-│ │ │ │
│ │ │см. 4.4.2. │ │ │
│
│ │ │ 4.
Положительные│
│ │ │
│ │ │значения размера
-│ │ │ │
│ │ │для объектов,│ │ │ │
│ │ │расположенных над│ │ │ │
│ │ │верхней кромкой│ │ │ │
│ │ │шасси, отрицатель-│ │ │ │
│ │ │ные - для объектов,│ │ │ │
│ │ │расположенных ниже│ │ │ │
│ │ │этой кромки. │ │ │ │
│ │ │ │ │ │ │
│ │ │ &Пример.
Ресивер, │ │ │ │
│ │ │топливный бак, │ │ │ │
│ │ │контейнер для │ │
│ │
│ │ │аккумуляторов, │ │ │ │
│ │ │разъемы │ │ │ │
│ │ │электрических │ │ │ │
│ │ │и электронных │ │ │ │
│ │ │устройств, │ │ │ │
│ │ │пневматических │ │ │ │
│ │ │магистралей, │ │ │ │
│ │ │элементы системы │
│ │ │
│ │ │выпуска, боковое │
│ │ │
│ │ │противоподкатное │
│ │ │
│ │ │устройство и
т.п.& │ │ │ │
├──────────────┼──────────────┼────────────────────┼─────┼──────┼─────────┤
│&BEP&-H031.n.t│ Расположение
│ Вертикальное │ A
│ - │2D,
3D,│
│
│нижней точки │расстояние от │ │ │TD │
│ │объекта, │верхней кромки рамы │ │ │ │
│ │установленного│до
наиболее высоко │ │ │ │
│ │на шасси, │расположенной точки │ │ │ │
│ │высота │n-го объекта, │ │ │ │
│ │ │установленного │ │ │ │
│ │ │на шасси. │ │ │ │
│ │ │ Примечания. │ │ │ │
│ │ │ 1. Если располо- │ │ │ │
│ │ │жение точек справа
и│ │ │ │
│ │ │слева от продольной│ │ │ │
│ │ │плоскости симметрии│ │ │ │
│ │ │различно, то│ │ │ │
│ │ │добавляют индекс
R│ │ │ │
│ │ │или L,
соответствен-│ │ │ │
│ │ │но. │ │ │ │
│ │ │ 2. Такая структу-│ │ │ │
│ │ │ра кода
размера│ │ │ │
│ │ │применима к объек- │
│ │ │
│ │ │там, расположенным│ │ │ │
│ │ │как внутри,
так и│ │ │ │
│ │ │снаружи рамы шасси.
│ │ │ │
│ │ │ 3. Дополнительное│ │ │ │
│ │ │кодирование типа│
│ │ │
│ │ │объекта индексом t
-│ │ │ │
│ │ │см. 4.4.2. │ │ │ │
│ │ │ 4.
Положительные│
│ │ │
│ │ │значения размера
-│ │ │ │
│ │ │для объектов,│ │ │ │
│ │ │расположенных над│ │ │ │
│ │ │верхней кромкой│ │ │ │
│ │ │шасси, отрицатель-│ │ │ │
│ │ │ные - для объектов,│ │ │ │
│ │ │расположенных ниже│
│ │ │
│ │ │этой кромки. │ │ │ │
│ │ │ │ │ │ │
│ │ │ &Пример.
Ресивер, │ │ │ │
│ │ │топливный бак, │ │ │ │
│ │ │контейнер для │ │ │ │
│ │ │аккумуляторов, │ │ │ │
│ │ │разъемы │ │ │ │
│ │ │электрических │ │ │ │
│ │ │и электронных │ │ │ │
│ │ │устройств, │ │
│ │
│ │ │пневматических │ │ │ │
│ │ │магистралей, │ │ │ │
│ │ │элементы системы │
│ │ │
│ │ │выпуска, боковое │
│ │ │
│ │ │противоподкатное │
│ │ │
│ │ │устройство и
т.п.& │ │ │ │
├──────────────┼──────────────┼────────────────────┼─────┼──────┼─────────┤
│&BEP&-W030.n.t│ Поперечное │ Расстояние от │
A │ -
│2D, 3D,│
│ │расстояние до
│продольной плоскости│
│ │TD │
│ │ближайшей │симметрии шасси │
│ │ │
│ │точки объекта,│до
параллельной │ │ │ │
│
│установленного│плоскости, │ │ │ │
│ │на шасси │касательной к │ │ │ │
│ │ │ближайшей точке │
│ │ │
│ │ │n-го объекта, │ │ │ │
│ │ │установленного │ │ │ │
│ │ │на шасси. │ │ │ │
│ │ │ Примечания. │ │ │ │
│ │ │ 1. Если располо- │ │ │ │
│ │ │жение точек справа
и│ │ │ │
│ │ │слева от продольной│ │ │ │
│ │ │плоскости симметрии│ │ │ │
│ │ │различно, то│ │ │ │
│ │ │добавляют индекс
R│ │ │ │
│ │ │или L,
соответствен-│ │ │ │
│ │ │но. │ │ │ │
│ │ │ 2. Такая структу-│ │ │ │
│ │ │ра кода
размера│ │ │ │
│ │ │применима к объек- │
│ │ │
│ │ │там, расположенным│ │ │ │
│ │ │как внутри,
так и│ │ │ │
│ │ │снаружи рамы шасси.
│ │ │ │
│ │ │ 3. Дополнительное│ │ │ │
│ │ │кодирование типа│ │ │ │
│ │ │объекта индексом t
-│ │ │ │
│ │ │см. 4.4.2. │ │ │ │
│ │ │ │ │ │ │
│ │ │ &Пример.
Ресивер, │ │ │ │
│ │ │топливный бак, │ │ │ │
│ │ │контейнер для │ │ │ │
│ │ │аккумуляторов, │ │ │ │
│ │ │разъемы │ │ │ │
│ │ │электрических │ │ │ │
│ │ │и электронных │ │ │ │
│ │ │устройств, │ │ │ │
│ │ │пневматических │ │ │ │
│ │ │магистралей, │ │
│ │
│ │ │элементы системы │
│ │ │
│ │ │выпуска, боковое │
│ │ │
│ │ │противоподкатное │
│ │ │
│ │ │устройство и
т.п.& │ │ │ │
├──────────────┼──────────────┼────────────────────┼─────┼──────┼─────────┤
│&BEP&-W031.n.t│ Поперечное │ Расстояние от │
A │ -
│2D, 3D,│
│ │расстояние до
│продольной плоскости│
│ │TD │
│ │наиболее │симметрии шасси │
│ │ │
│ │удаленной │до параллельной │
│ │ │
│ │точки
объекта,│плоскости,
│ │
│ │
│
│установленного│касательной к │ │ │ │
│ │на шасси │наиболее удаленной │
│ │ │
│ │ │точке n-го объекта,
│ │ │ │
│ │ │установленного │ │ │ │
│ │ │на шасси. │ │ │ │
│ │ │ Примечания. │ │ │ │
│ │ │ 1. Если располо- │ │ │ │
│ │ │жение точек справа
и│ │ │ │
│ │ │слева от продольной│ │ │ │
│ │ │плоскости симметрии│ │
│ │
│ │ │различно, то│ │ │ │
│ │ │добавляют индекс
R│ │ │ │
│ │ │или L,
соответствен-│ │ │ │
│ │ │но. │ │
│ │
│ │ │ 2. Такая структу-│ │ │ │
│ │ │ра кода
размера│ │ │ │
│ │ │применима к объек- │
│ │ │
│ │ │там, расположенным│ │ │ │
│ │ │как внутри,
так и│ │ │ │
│ │ │снаружи рамы шасси.
│ │ │ │
│ │ │ 3. Дополнительное│ │ │ │
│ │ │кодирование типа│ │ │ │
│ │ │объекта индексом t
-│ │ │ │
│ │ │см. 4.4.2. │ │ │ │
│ │ │ │ │ │ │
│ │ │ &Пример.
Ресивер, │ │ │ │
│ │ │топливный бак, │
│ │ │
│ │ │контейнер для │ │ │ │
│ │ │аккумуляторов, │ │ │ │
│ │ │разъемы │ │ │ │
│
│ │электрических │ │ │ │
│ │ │и электронных │ │ │ │
│ │ │устройств, │ │ │ │
│ │ │пневматических │ │ │ │
│ │ │магистралей, │ │ │ │
│ │ │элементы системы │
│ │ │
│ │ │выпуска, боковое │
│ │ │
│ │ │противоподкатное │
│ │ │
│ │ │устройство и
т.п.& │ │ │ │
└──────────────┴──────────────┴────────────────────┴─────┴──────┴─────────┘

┌──────────────┬──────────────┬────────────────────┬─────┬──────┬─────────┐
│ &BEP&-код │ Наименование │ Описание размера │Прио-│Усло- │ Вид
│
│ │ размера
│
│ритет│вия
│документа│
│ │ │ │ │на- │ │
│ │ │ │ │грузки│ │
├──────────────┼──────────────┼────────────────────┼─────┼──────┼─────────┤
│&BEP&-L032 │ Длина рамы от│ Расстояние
от │ B
│ - │
TD │
│ │центра первой
│центра первой │ │ │ │
│ │передней оси │передней оси до │
│ │ │
│ │ │задней кромки шасси
│ │ │ │
├──────────────┼──────────────┼────────────────────┼─────┼──────┼─────────┤
│&BEP&-L033 │ Минимальная │ Минимальное │
B │ -
│ TD │
│ │длина рамы от
│расстояние от центра│ │
│ │
│ │центра первой
│первой передней оси │
│ │ │
│ │передней оси │до задней кромки │
│ │ │
│ │ │шасси. │ │ │ │
│ │ │ Примечание. │ │ │ │
│ │ │ Расстояние, опре-│ │ │ │
│ │ │деляющее минимально│ │ │ │
│ │ │допустимый задний│ │ │ │
│ │ │свес рамы, рекомен-
│ │ │ │
│ │ │дуемый
изготовителем│ │ │ │
│ │ │шасси. Это
позволяет│ │ │
│
│ │ │изготовителям над- │
│ │ │
│ │ │стройки определять│ │ │ │
│ │ │положение крайней│ │ │ │
│ │ │задней точки шасси,│ │ │ │
│ │ │при котором
остается│ │ │ │
│ │ │достаточное про- │
│ │ │
│ │ │странство для уста-
│ │ │ │
│ │ │новки поперечного│ │ │ │
│ │ │бруса надстройки. │
│ │ │
│ │ │ │ │ │ │
│ │ │ &Пример.
Расстояние│ │ │ │
│ │ │до задней кромки │
│ │ │
│ │ │рамы после обрезки │
│ │ │
│ │ │задней части рамы за│ │ │ │
│ │ │кронштейнами │ │ │ │
│ │ │крепления рессор& │
│ │ │
└──────────────┴──────────────┴────────────────────┴─────┴──────┴─────────┘

┌──────────────┬──────────────┬────────────────────┬─────┬──────┬─────────┐
│ &BEP&-код │ Наименование │ Описание размера │Прио-│Усло- │ Вид
│
│ │ размера
│ │ритет│вия │документа│
│ │ │ │ │на- │ │
│ │ │ │ │грузки│ │
├──────────────┼──────────────┼────────────────────┼─────┼──────┼─────────┤
│&BEP&-L034 │ Расположение │ Расстояние
между │ A
│ - │2D,
3D,│
│ │передней │передней кромкой │
│ │TD │
│ │кромки │передней поперечины │ │ │ │
│ │передней │рамы и центром │ │ │ │
│ │поперечины │первой передней оси │ │ │ │
│ │рамы │ │ │ │ │
├──────────────┼──────────────┼────────────────────┼─────┼──────┼─────────┤
│&BEP&-L035 │ Расположение │ Расстояние
между │ A
│ - │2D,
3D,│
│ │задней кромки
│центром первой│ │ │TD │
│ │задней │ведущей оси и задней│ │ │ │
│ │поперечины │кромкой задней│ │ │ │
│ │рамы │поперечины рамы. │
│ │ │
│ │ │ Примечание. │ │ │ │
│ │ │ Несколько
задних│ │ │ │
│ │ │поперечин рамы (при│ │ │ │
│ │ │их наличии)
допуска-│ │ │ │
│ │ │ется маркировать как│ │ │ │
│ │ │&BEP&-L035.1, │ │ │ │
│ │ │&BEP&-L035.2 и
т.д. │ │ │ │
└──────────────┴──────────────┴────────────────────┴─────┴──────┴─────────┘

┌──────────────┬──────────────┬────────────────────┬─────┬──────┬─────────┐
│ &BEP&-код │ Наименование │ Описание размера │Прио-│Усло- │ Вид
│
│ │ размера
│ │ритет│вия │документа│
│ │ │ │ │на- │ │
│ │ │ │ │грузки│ │
├──────────────┼──────────────┼────────────────────┼─────┼──────┼─────────┤
│&BEP&-H032.n │ Высота │ Высота профиля │
A │ -
│2D, 3D,│
│ │профиля │n-го бокового │ │ │TD │
│ │бокового │лонжерона рамы │ │ │ │
│ │лонжерона рамы│ │ │ │ │
├──────────────┼──────────────┼────────────────────┼─────┼──────┼─────────┤
│&BEP&-H033.n │ Толщина │ Толщина нижней │
A │ -
│2D, 3D,│
│ │нижней полки │полки n-го бокового │ │ │TD │
│ │бокового │лонжерона рамы │ │ │ │
│ │лонжерона рамы│ │ │ │ │
├──────────────┼──────────────┼────────────────────┼─────┼──────┼─────────┤
│&BEP&-H034.n │ Толщина │ Толщина верхней │
A │ -
│2D, 3D,│
│ │верхней полки │полки
n-го бокового │ │ │TD │
│ │бокового │лонжерона рамы │ │ │
│
│ │лонжерона рамы│ │ │ │ │
├──────────────┼──────────────┼────────────────────┼─────┼──────┼─────────┤
│&BEP&-W032.n │ Ширина нижней│ Ширина нижней
полки│ A │
- │2D, 3D,│
│ │полки бокового│n-го
бокового │ │ │TD │
│ │лонжерона
рамы│лонжерона рамы
│ │ │ │
├──────────────┼──────────────┼────────────────────┼─────┼──────┼─────────┤
│&BEP&-W033.n │ Ширина │ Ширина верхней │
A │ -
│2D, 3D,│
│ │верхней полки │полки
n-го бокового │ │ │TD │
│ │бокового │лонжерона рамы │ │ │ │
│ │лонжерона рамы│ │
│ │ │
├──────────────┼──────────────┼────────────────────┼─────┼──────┼─────────┤
│&BEP&-W034.n │ Толщина │ Толщина стенки │
A │ -
│2D, 3D,│
│ │стенки │n-го бокового │ │
│TD │
│ │бокового │лонжерона рамы │ │ │ │
│ │лонжерона рамы│ │ │ │ │
├──────────────┴──────────────┴────────────────────┴─────┴──────┴─────────┤
│ Примечания. 1. Некоторые
типовые профили показаны
ниже. Профили│
│других
форм могут определяться изготовителями шасси и надстроек. │
│ 2. Позиционирование элементов
профилей рамы -
см. &BEP&-L048 и│
│соответствующие
коды далее. │
│ 3. Усиливающие элементы рамы
могут рассматриваться как
отдельные│
│объекты
- см. &BEP&-H052 и соответствующие коды далее. │
└─────────────────────────────────────────────────────────────────────────┘

┌──────────────┬──────────────┬────────────────────┬─────┬──────┬─────────┐
│ &BEP&-код │ Наименование │ Описание размера │Прио-│Усло- │ Вид
│
│ │ размера
│
│ритет│вия
│документа│
│ │ │ │ │на- │ │
│ │ │ │ │грузки│ │
├──────────────┼──────────────┼────────────────────┼─────┼──────┼─────────┤
│&BEP&-L036.n.t│ Расстояние │ Расстояние от │
A │ -
│2D, 3D,│
│ │до передней │центра первой │ │ │TD │
│ │кромки n-й │передней оси до │
│ │ │
│ │передней │передней кромки n-й │ │ │ │
│ │промежуточной
│промежуточной │ │ │ │
│ │поперечины │поперечины рамы. │
│ │ │
│ │рамы │ Примечания. │
│ │ │
│ │ │ 1. Каждой попере-│ │ │ │
│ │ │чине присваивают│ │ │ │
│ │ │индивидуальный │ │ │ │
│ │ │порядковый номер n.
│ │ │ │
│ │ │ 2. Если попере- │
│ │ │
│ │ │чина расположена│ │ │ │
│ │ │перед осью,
то│ │ │ │
│ │ │значение размера│ │ │ │
│ │ │отрицательное, если│ │ │ │
│ │ │за осью
-│ │ │
│
│ │ │положительное. │ │ │ │
│ │ │ 3.
Поперечины│ │ │ │
│ │ │различают по
типу,│ │ │ │
│ │ │маркированному │ │ │ │
│ │ │индексом t,
и│ │ │ │
│ │ │обозначают
символами│ │ │ │
│ │ │A, B,
C и т.д.│ │ │ │
│ │ │Определение типа│ │ │ │
│ │ │включает в
себя│ │ │ │
│ │ │описание точного│ │ │ │
│ │ │положения и профиля│ │ │ │
│ │ │каждой поперечины. │
│ │ │
│ │ │ │ │ │ │
│ │ │ &Пример. │ │ │
│
│ │ │BEP&-L036.2.A │ │ │ │
│ │ │&означает вторую │
│ │ │
│ │ │поперечину, тип
A& │ │ │ │
├──────────────┼──────────────┼────────────────────┼─────┼──────┼─────────┤
│&BEP&-L037.n.t│ Расстояние │ Расстояние от │
A │ -
│2D, 3D,│
│ │до передней │центра первой задней│ │ │TD │
│ │кромки n-й │ведущей оси до │ │ │ │
│ │задней │передней кромки n-й │ │ │ │
│ │промежуточной
│промежуточной │ │ │ │
│ │поперечины │поперечины рамы. │
│ │ │
│ │рамы │ Примечания. │ │ │ │
│ │ │ 1. Каждой попере-│ │ │ │
│ │ │чине присваивают│ │ │ │
│ │ │индивидуальный │ │ │ │
│ │ │порядковый номер n.
│ │ │ │
│ │ │ 2. Если попере- │
│ │ │
│ │ │чина расположена│ │ │ │
│ │ │перед осью,
то│ │ │ │
│ │ │значение размера│ │ │ │
│ │ │отрицательное, если│ │ │ │
│ │ │за осью
-│ │ │ │
│ │ │положительное. │ │ │ │
│ │ │ 3.
Поперечины│ │ │ │
│ │ │различают по
типу,│ │ │ │
│ │ │маркированному │ │ │ │
│ │ │индексом t,
и│ │ │ │
│ │ │обозначают
символами│ │ │ │
│ │ │A, B,
C и т.д.│ │ │ │
│ │ │Определение типа│ │ │ │
│ │ │включает в
себя│ │ │ │
│ │ │описание точного│ │ │ │
│ │ │положения и профиля│ │ │ │
│ │ │каждой поперечины. │
│ │ │
│ │ │ │ │ │ │
│ │ │ &Пример. │ │ │ │
│ │ │BEP&-L037.5.C │ │ │ │
│ │ │&означает пятую │
│ │ │
│ │ │поперечину, тип
C& │ │ │ │
└──────────────┴──────────────┴────────────────────┴─────┴──────┴─────────┘

┌──────────────┬──────────────┬────────────────────┬─────┬──────┬─────────┐
│ &BEP&-код │ Наименование │ Описание размера │Прио-│Усло- │ Вид
│
│ │ размера
│
│ритет│вия │документа│
│ │ │ │ │на- │ │
│ │ │ │ │грузки│ │
├──────────────┼──────────────┼────────────────────┼─────┼──────┼─────────┤
│&BEP&-L038.n.t│ Расстояние │ Расстояние от │
A │ -
│2D, 3D,│
│ │до группы │центра первой │ │ │TD │
│ │отверстий в │передней оси до │
│ │ │
│ │передней части│точки
отсчета │ │ │ │
│ │рамы │положения n-й
группы│ │ │ │
│ │ │отверстий в раме. │
│ │ │
│ │ │ Примечания. │ │
│ │
│ │ │ 1. Если располо- │ │ │ │
│ │ │жение точек отсчета│ │ │ │
│ │ │на правом
и левом│ │ │ │
│ │ │боковых лонжеронах│ │
│ │
│ │ │различно, то│ │ │ │
│ │ │добавляют индекс
R│ │ │ │
│ │ │или L, соответствен-│ │ │ │
│ │ │но. │ │ │ │
│ │ │ 2.
Отрицательное│
│ │ │
│ │ │значение указывает,│ │ │
│
│ │ │что точка
отсчета│ │ │ │
│ │ │расположена перед│ │ │ │
│ │ │осью. Положительное│ │ │ │
│ │ │значение указывает,│ │ │
│
│ │ │что она расположена│ │ │ │
│ │ │позади оси. │ │ │ │
│ │ │ 3.
Каждой точке│ │ │ │
│ │ │отсчета присваивают│ │ │ │
│ │ │свой уникальный│ │ │ │
│ │ │номер (n). │ │ │ │
│ │ │ 4. Группы отверс-│ │ │ │
│ │ │тий распределяются│ │ │ │
│ │ │по типам
(t),│ │ │ │
│ │ │каждому
из которых│ │ │ │
│ │ │присваивается свое│ │ │ │
│ │ │обозначение, │ │ │ │
│ │ │например, A, B, C │
│ │ │
│ │ │и т.д.
Определение│
│ │ │
│ │ │каждого типа│ │ │ │
│ │ │включает в
себя│ │ │ │
│ │ │описание: │ │ │ │
│ │ │ - положения
точки│ │ │ │
│ │ │отсчета данной│ │ │ │
│ │ │группы отверстий; │
│ │ │
│ │ │ - размера │ │ │ │
│ │ │отверстий; │ │ │ │
│ │ │ - формы
отверстий│ │ │ │
│ │ │(цилиндрические, │
│ │ │
│ │ │овальные и т.д.); │
│ │ │
│ │ │ - типа отверстий │
│ │ │
│ │ │(сверленые, │ │ │ │
│ │ │штампованные │ │ │ │
│ │ │и т.д.); │ │ │ │
│ │ │ - относительного │
│ │ │
│ │ │расположения │ │ │ │
│ │ │отверстий; │ │ │ │
│ │ │ - координат x, y, │
│ │ │
│ │ │z -
относительно│
│ │ │
│ │ │заданной точки│ │ │ │
│ │ │отсчета и
их│ │ │ │
│ │ │допусков. │ │ │ │
│ │ │ │ │ │ │
│ │ │ &Пример - │ │ │ │
│ │ │BEP&-038.L.2.A │ │
│ │
│ │ │&означает левый │
│ │ │
│ │ │боковой лонжерон, │
│ │ │
│ │ │группа отверстий │
│ │ │
│ │ │N 2, тип A& │ │ │ │
├──────────────┼──────────────┼────────────────────┼─────┼──────┼─────────┤
│&BEP&-L039.n.t│ Расстояние │ Расстояние от │
A │ -
│2D, 3D,│
│ │до группы │центра первой задней│ │ │TD │
│ │отверстий в │ведущей оси до точки│ │ │ │
│ │задней части │отсчета положения │
│ │ │
│ │рамы │n-й группы отверстий│ │ │ │
│ │ │в раме. │ │ │ │
│ │ │ Примечания. │ │ │ │
│ │ │ 1. Если располо- │ │ │ │
│ │ │жение точек отсчета│ │ │ │
│ │ │на правом
и левом│ │ │ │
│ │ │боковых лонжеронах│ │ │ │
│ │ │различно, то│ │ │ │
│ │ │добавляют индекс
R│ │ │ │
│ │ │или L,
соответствен-│ │ │ │
│ │ │но. │ │
│ │
│ │ │ 2.
Отрицательное│
│ │ │
│ │ │значение указывает,│ │ │ │
│ │ │что точка
отсчета│ │ │ │
│ │ │расположена перед│ │ │ │
│ │ │осью. Положительное│ │ │ │
│ │ │значение указывает,│ │ │ │
│ │ │что она расположена│ │ │ │
│ │ │позади оси. │ │ │ │
│ │ │ 3.
Каждой точке│ │ │ │
│ │ │отсчета присваивают│ │
│ │
│ │ │свой уникальный│ │ │ │
│ │ │номер (n). │ │ │ │
│ │ │ 4. Группы отверс-│ │ │ │
│ │ │тий распределяются│ │ │ │
│ │ │по типам
(t),│ │ │ │
│ │ │каждому из
которых│ │ │ │
│ │ │присваивается свое│ │ │ │
│ │ │обозначение, │ │ │ │
│ │ │например A, B, C │
│ │ │
│ │ │и т.д.
Определение│
│ │ │
│ │ │каждого типа│ │ │ │
│ │ │включает в
себя│ │ │ │
│ │ │описание: │ │ │ │
│ │ │ - положения
точки│ │ │ │
│ │ │отсчета данной│ │ │ │
│ │ │группы отверстий; │
│ │ │
│ │ │ - размера │ │ │ │
│ │ │отверстий; │ │ │ │
│ │ │ - формы отверстий │
│ │ │
│ │ │(цилиндрические, │
│ │ │
│ │ │овальные и т.д.); │
│ │ │
│ │ │ - типа отверстий │
│ │ │
│ │ │(сверленые, │ │ │ │
│ │ │штампованные │ │ │ │
│ │ │и т.д.); │ │ │ │
│ │ │ - относительного │
│ │ │
│ │ │расположения │ │ │ │
│ │ │отверстий; │ │ │ │
│ │ │ - координат x, y, │
│ │ │
│ │ │z -
относительно│
│ │ │
│ │ │заданной точки│ │ │ │
│ │ │отсчета и
их│ │ │ │
│ │ │допусков. │ │ │ │
│ │ │ │ │ │ │
│ │ │ &Пример. │ │ │ │
│ │ │BEP&-039.L.4.C. │
│ │ │
│ │ │&Левый боковой │ │ │
│
│ │ │лонжерон, группа │
│ │ │
│ │ │отверстий N 4 │ │ │ │
│ │ │в задней части
рамы,│ │ │ │
│ │ │тип C& │ │ │ │
└──────────────┴──────────────┴────────────────────┴─────┴──────┴─────────┘

┌──────────────┬──────────────┬────────────────────┬─────┬──────┬─────────┐
│ &BEP&-код │ Наименование │ Описание размера │Прио-│Усло- │ Вид
│
│ │ размера
│
│ритет│вия │документа│
│ │ │ │ │на- │ │
│ │ │ │ │грузки│ │
├──────────────┼──────────────┼────────────────────┼─────┼──────┼─────────┤
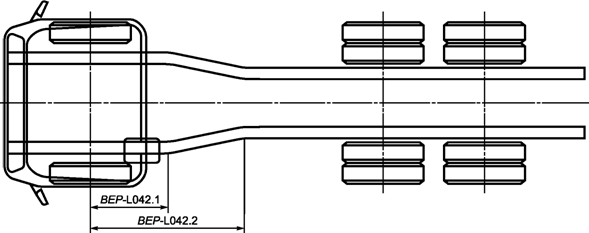
│&BEP&-L040.n │ Начало │ Расстояние между │
A │ -
│ TD │
│ │запретной
зоны│центром первой
│ │ │ │
│ │на раме │передней оси и │ │ │ │
│ │ │началом n-й │ │ │ │
│ │ │запретной зоны в │
│ │ │
│ │ │пределах рамы. │ │ │ │
│ │ │ Примечание. │ │
│ │
│ │ │ Запретная зона -│
│ │ │
│ │ │зона, в
которой│ │ │ │
│ │ │возможно
нежелатель-│ │ │ │
│ │ │ное воздействие
на│ │ │ │
│ │ │чувствительное │ │ │ │
│ │ │оборудование │ │ │ │
├──────────────┼──────────────┼────────────────────┼─────┼──────┼─────────┤
│&BEP&-L041.n │ Окончание │ Расстояние между │
A │ -
│ TD │
│ │запретной
зоны│центром первой
│ │ │ │
│ │на раме │передней оси и │
│ │ │
│ │ │окончанием n-й │ │ │ │
│ │ │запретной зоны │ │ │ │
│ │ │в пределах рамы. │
│ │ │
│ │ │ Примечание. │ │ │ │
│ │ │ Запретная зона -│
│ │ │
│ │ │зона, в
которой│ │ │ │
│ │ │возможно
нежелатель-│ │ │ │
│ │ │ное воздействие
на│ │ │ │
│ │ │чувствительное │ │ │ │
│ │ │оборудование │ │
│ │
└──────────────┴──────────────┴────────────────────┴─────┴──────┴─────────┘

|
&BEP&-код
|
Наименование
размера
|
Описание размера
|
Прио-
ритет
|
Усло-
вия
на-
грузки
|
Вид
документа
|
|
&BEP&-L042.n
|
Расстояние от
центра первой
передней оси
до n-го изгиба
рамы
|
Расстояние между
центром колеса
первой передней оси
и n-м изгибом рамы
(позади кабины)
|
A
|
-
|
2D, 3D,
TD
|

|
&BEP&-код
|
Наименование
размера
|
Описание размера
|
Прио-
ритет
|
Усло-
вия
на-
грузки
|
Вид
документа
|
|
&BEP&-W035
|
Ширина рамы в
передней части
транспортного
средства
|
Ширина рамы
(по наружным
поверхностям боковых
лонжеронов) в
передней части ТС
|
A
|
-
|
2D, 3D,
TD
|
|
&BEP&-W036
|
Ширина рамы в
задней части
транспортного
средства
|
Ширина рамы
(по наружным
поверхностям боковых
лонжеронов) в
передней части ТС
|
A
|
-
|
2D, 3D,
TD
|

┌──────────────┬──────────────┬────────────────────┬─────┬──────┬─────────┐
│ &BEP&-код │ Наименование │ Описание размера │Прио-│Усло- │ Вид
│
│ │
размера │ │ритет│вия │документа│
│ │ │ │ │на- │ │
│ │ │ │ │грузки│ │
├──────────────┼──────────────┼────────────────────┼─────┼──────┼─────────┤
│&BEP&-H035 │ Высота рамы │ Расстояние от │
A │ 1
│2D, 3D, D│
│ │над первой │верхней кромки рамы │ │ │ │
│ │передней осью │в
плоскости, │ │ │ │
│ │(без
нагрузки)│проходящей через
│ │ │ │
│ │ │первую переднюю ось
│ │ │ │
│ │ │и перпендикулярной │
│ │ │
│ │ │к опорной │ │ │ │
│ │ │поверхности, до │
│ │ │
│ │ │опорной поверхности
│ │ │ │
│ │ │при отсутствии │ │ │ │
│ │ │нагрузки. │ │ │ │
│ │ │ Примечания. │ │ │ │
│ │ │ 1.
Подрамник не│ │ │ │
│ │ │учитывают. │ │ │ │
│ │ │ 2. Под отсутстви-│ │ │ │
│ │ │ем нагрузки
понимают│ │ │ │
│ │ │воздействие массы│ │ │ │
│ │ │ненагруженного │ │ │ │
│ │ │шасси. │ │ │ │
│ │ │ 3. Для пневмати- │ │ │ │
│ │ │ческой подвески│ │ │ │
│ │ │должен быть включен│ │ │ │
│ │ │режим движения │ │ │
│
├──────────────┼──────────────┼────────────────────┼─────┼──────┼─────────┤
│&BEP&-H036 │ Высота рамы │ Расстояние от │
A │ 2
│2D, 3D,│
│ │над первой │верхней кромки рамы │ │ │TD │
│ │передней осью │в
плоскости, │ │ │ │
│ │(под │проходящей через │
│ │ │
│ │нагрузкой) │первую переднюю ось │ │ │ │
│ │ │и перпендикулярной │
│ │ │
│ │ │к опорной │ │ │ │
│ │ │поверхности, до │
│ │ │
│ │ │опорной поверхности
│ │ │ │
│ │ │под нагрузкой. │ │ │ │
│ │ │ Примечания. │ │ │ │
│ │ │ 1.
Подрамник не│ │ │ │
│ │ │учитывают. │ │
│ │
│ │ │ 2. Под
нагрузкой│ │ │ │
│ │ │понимают
воздействие│ │ │ │
│ │ │полной массы ТС
(см.│ │ │ │
│ │ │3.7). │ │ │ │
│ │ │ 3. Для пневмати- │ │ │ │
│ │ │ческой подвески│ │ │
│
│ │ │должен быть включен│ │ │ │
│ │ │режим движения. │
│ │ │
│ │ │ 4.
Должна быть│ │ │ │
│ │ │учтена дополнитель-
│ │ │ │
│ │ │ная деформация
шин│ │ │ │
│ │ │ближайшей оси │ │ │ │
└──────────────┴──────────────┴────────────────────┴─────┴──────┴─────────┘

┌──────────────┬──────────────┬────────────────────┬─────┬──────┬─────────┐
│ &BEP&-код │ Наименование │ Описание размера │Прио-│Усло- │ Вид
│
│ │ размера
│ │ритет│вия │документа│
│ │ │ │ │на- │ │
│ │ │ │ │грузки│ │
├──────────────┼──────────────┼────────────────────┼─────┼──────┼─────────┤
│&BEP&-H037 │ Высота рамы │ Расстояние от │
A │ 1
│2D, 3D,│
│ │над первой │верхней кромки рамы │ │ │TD │
│ │задней ведущей│в
плоскости, │ │ │ │
│ │осью (без │проходящей через │
│ │ │
│ │нагрузки) │первую заднюю │ │ │ │
│ │ │ведущую ось │ │ │ │
│ │ │и перпендикулярной │
│ │ │
│ │ │к опорной │ │ │ │
│ │ │поверхности, │ │ │ │
│ │ │до опорной │ │
│ │
│ │ │поверхности при │
│ │ │
│ │ │отсутствии
нагрузки.│ │ │ │
│ │ │ Примечания. │ │ │ │
│ │ │ 1.
Подрамник не│ │ │ │
│ │ │учитывают. │ │ │ │
│ │ │ 2. Под отсутст- │
│ │ │
│ │ │вием нагрузки│ │ │ │
│ │ │понимают
воздействие│ │ │ │
│ │ │массы
ненагруженного│ │ │ │
│ │ │шасси. │ │ │
│
│ │ │ 3. Для пневмати- │ │ │ │
│ │ │ческой подвески│ │ │ │
│ │ │должен быть включен│ │ │ │
│ │ │режим движения │ │ │
│
├──────────────┼──────────────┼────────────────────┼─────┼──────┼─────────┤
│&BEP&-H038 │ Высота рамы │ Расстояние от │
A │ 2
│2D, 3D,│
│ │над первой │верхней кромки рамы │ │ │TD │
│ │задней ведущей│в
плоскости, │ │ │ │
│ │осью (под │проходящей через │
│ │ │
│ │нагрузкой) │первую заднюю │ │
│ │
│ │ │ведущую ось и │ │ │ │
│ │ │перпендикулярной │
│ │ │
│ │ │к опорной │ │ │ │
│ │ │поверхности, до │
│ │ │
│ │ │опорной поверхности
│ │ │ │
│ │ │под нагрузкой. │ │ │ │
│ │ │ Примечания. │ │ │ │
│ │ │ 1.
Подрамник не│ │ │ │
│ │ │учитывают. │ │ │ │
│ │ │ 2. Под
нагрузкой│ │ │ │
│ │ │понимают
воздействие│ │ │ │
│ │ │полной массы ТС
(см.│ │ │ │
│ │ │3.7). │ │ │ │
│ │ │
3. Для пневмати- │
│ │ │
│ │ │ческой подвески│ │ │ │
│ │ │должен быть включен│ │ │ │
│ │ │режим движения. │
│ │ │
│ │ │ 4.
Должна быть│ │ │ │
│ │ │учтена дополнитель-
│ │ │ │
│ │ │ная деформация
шин│ │ │ │
│ │ │ближайшей оси │ │ │ │
├──────────────┼──────────────┼────────────────────┼─────┼──────┼─────────┤
│&BEP&-H039 │ Высота рамы │ Расстояние от │
A │ 1
│2D, 3D,│
│ │над │верхней кромки рамы
│ │ │TD │
│ │теоретическим │в
поперечной │ │ │ │
│ │центром │плоскости, │ │ │ │
│ │комбинации │проходящей через │
│ │ │
│ │задних осей │теоретический центр │ │ │ │
│ │(без
нагрузки)│комбинации задних
│ │ │ │
│ │ │осей и │ │ │ │
│ │ │перпендикулярной │
│ │ │
│ │ │к опорной │ │ │ │
│ │ │поверхности, │ │ │ │
│ │ │до опорной │ │ │ │
│ │ │поверхности при │
│ │ │
│ │ │отсутствии
нагрузки.│ │ │ │
│ │ │ Примечания. │ │
│ │
│ │ │ 1.
Подрамник не│ │ │ │
│ │ │учитывают. │ │ │ │
│ │ │ 2. Под отсутст- │
│ │ │
│ │ │вием нагрузки│ │ │ │
│ │ │понимают
воздействие│ │ │ │
│ │ │массы
ненагруженного│ │ │ │
│ │ │шасси. │ │ │ │
│ │ │ 3. Для пневмати- │ │ │ │
│ │ │ческой подвески│ │ │ │
│ │ │должен быть включен│ │
│ │
│ │ │режим движения │ │ │ │
├──────────────┼──────────────┼────────────────────┼─────┼──────┼─────────┤
│&BEP&-H040 │ Высота рамы │ Расстояние от │
A │ 2
│2D, 3D,│
│ │над │верхней кромки рамы
│ │ │TD │
│ │теоретическим │в
поперечной │ │ │ │
│ │центром │плоскости, │ │ │ │
│ │комбинации │проходящей через │
│ │ │
│ │задних осей │теоретический центр │ │ │ │
│ │(под │комбинации задних │
│ │ │
│ │нагрузкой) │осей и │ │
│ │
│ │ │перпендикулярной │
│ │ │
│ │ │к опорной │ │ │ │
│ │ │поверхности, │ │ │ │
│ │ │до опорной │ │ │ │
│ │ │поверхности под │
│ │ │
│ │ │нагрузкой. │ │ │ │
│ │ │ Примечания. │ │ │ │
│ │ │ 1.
Подрамник не│ │ │ │
│ │ │учитывают. │ │ │ │
│ │ │ 2. Под
нагрузкой│ │ │
│
│ │ │понимают
воздействие│ │ │ │
│ │ │полной массы ТС
(см.│ │ │ │
│ │ │3.7). │ │ │ │
│ │ │ 3. Для пневмати- │ │ │ │
│ │ │ческой подвески│ │ │ │
│ │ │должен быть включен│ │ │ │
│ │ │режим движения. │
│ │ │
│ │ │ 4.
Учитывают│ │ │ │
│ │ │дополнительную │ │ │ │
│ │ │деформацию шин│ │ │ │
│ │ │ближайшей оси │ │ │ │
└──────────────┴──────────────┴────────────────────┴─────┴──────┴─────────┘

┌──────────────┬──────────────┬────────────────────┬─────┬──────┬─────────┐
│ &BEP&-код │ Наименование │ Описание размера │Прио-│Усло- │ Вид
│
│ │ размера
│
│ритет│вия │документа│
│ │ │ │ │на- │ │
│ │ │ │ │грузки│ │
├──────────────┼──────────────┼────────────────────┼─────┼──────┼─────────┤
│&BEP&-H041.n │ Расстояние от│ Расстояние
от │ A
│ 2 │2D,
3D,│
│ │центра колеса
│центра колеса n-й │ │ │TD │
│ │до рамы │оси до верхней │ │ │ │
│ │ │кромки рамы над
этой│ │ │ │
│ │ │осью под нагрузкой.
│ │ │ │
│ │ │ Примечания. │ │ │ │
│ │ │ 1. Под
нагрузкой│ │ │ │
│ │ │понимают
воздействие│ │ │ │
│ │ │полной массы ТС
(см.│ │ │ │
│ │ │3.7). │ │ │ │
│ │ │ 2. Для пневмати- │ │
│ │
│ │ │ческой подвески│ │ │ │
│ │ │должен быть включен│ │ │ │
│ │ │режим движения. │
│ │ │
│ │ │ 3.
Учитывают│ │ │ │
│ │ │дополнительную │ │ │ │
│ │ │деформацию шин│ │ │
│
│ │ │ближайшей оси │ │ │ │
├──────────────┼──────────────┼────────────────────┼─────┼──────┼─────────┤
│&BEP&-H042.n │ Расстояние от│ Расстояние
от │ A
│ - │2D,
3D,│
│ │верхней точки │верхней
точки колеса│ │ │TD │
│ │подрессорен- │n-й оси до верхней │
│ │ │
│ │ного колеса │кромки рамы при │
│ │ │
│ │до рамы │максимальном ходе │
│ │ │
│ │ │подвески этого │ │ │ │
│ │ │колеса вверх. │ │ │ │
│ │ │ Примечания. │ │
│ │
│ │ │ 1.
Этот размер│ │ │ │
│ │ │используют для│ │ │ │
│ │ │определения
дорожно-│ │ │ │
│ │ │го просвета
в│ │ │ │
│ │ │наиболее
неблагопри-│ │ │ │
│ │ │ятных условиях. │
│ │ │
│ │ │ 2.
Положительные│
│ │ │
│ │ │значения размера│ │ │ │
│ │ │применяют при│ │ │ │
│ │ │расположении
верхней│ │ │ │
│ │ │точки колеса
выше│ │ │ │
│ │ │верхней кромки
рамы,│ │ │ │
│ │ │отрицательные - при│
│ │ │
│ │ │ее расположении ниже│ │ │ │
│ │ │верхней кромки
рамы.│ │ │ │
│ │ │ 3. При
различных│ │ │ │
│ │ │значениях размера│ │ │ │
│ │ │для правых и
левых│ │ │ │
│ │ │колес добавляют│ │ │ │
│ │ │символы R
или L,│ │ │ │
│ │ │соответственно │ │ │ │
└──────────────┴──────────────┴────────────────────┴─────┴──────┴─────────┘

┌──────────────┬──────────────┬────────────────────┬─────┬──────┬─────────┐
│ &BEP&-код │ Наименование │ Описание размера │Прио-│Усло- │ Вид
│
│ │ размера
│
│ритет│вия
│документа│
│ │ │ │ │на- │ │
│ │ │ │ │грузки│ │
├──────────────┼──────────────┼────────────────────┼─────┼──────┼─────────┤
│&BEP&-L043.n │ Продольное │ Расстояние между │
A │ -
│2D, 3D,│
│ │расположение │центром первой │ │ │TD │
│ │механизма │передней оси │ │ │ │
│ │отбора │и контрольной точкой│ │ │ │
│ │мощности │n-го механизма │ │
│ │
│ │ │отбора мощности. │
│ │ │
│ │ │ Примечание. │ │ │ │
│ │ │ Расположение │
│ │ │
│ │ │контрольной точки│ │ │ │
│ │ │зависит от
типа│ │ │ │
│ │ │механизма отбора│ │ │ │
│ │ │мощности │ │ │ │
├──────────────┼──────────────┼────────────────────┼─────┼──────┼─────────┤
│&BEP&-H043.n │ Вертикальное │ Расстояние
между │ A
│ - │2D,
3D,│
│ │расположение │верхней кромкой рамы│ │ │TD │
│ │механизма │и контрольной точкой│ │ │ │
│ │отбора │n-го механизма │ │ │ │
│ │мощности │отбора мощности. │
│ │ │
│ │ │ Примечания. │ │ │ │
│ │ │ 1.
Расположение│
│ │ │
│ │ │контрольной точки│ │ │ │
│ │ │зависит от
типа│ │ │ │
│ │ │механизма отбора│ │ │ │
│ │ │мощности. │ │ │ │
│ │ │ 2.
Положительные│
│ │ │
│ │ │значения размера│ │ │ │
│ │ │применяют при│ │ │ │
│ │ │расположении │ │ │ │
│ │ │контрольной точки│ │ │ │
│ │ │выше верхней кромки│ │ │ │
│ │ │рамы, отрицатель-│ │ │ │
│ │ │ные -
при ее│ │ │ │
│ │ │расположении выше│ │ │ │
│ │ │верхней кромки рамы
│ │ │ │
├──────────────┼──────────────┼────────────────────┼─────┼──────┼─────────┤
│&BEP&-W043.n │ Расположение │ Расстояние
между │ A
│ - │2D,
3D,│
│ │механизма │продольной │ │ │TD │
│ │отбора │плоскостью симметрии│ │ │ │
│ │мощности по │рамы и контрольной │
│ │ │
│ │ширине │точкой n-го │ │ │ │
│ │ │механизма отбора │
│ │ │
│ │ │мощности. │ │ │ │
│ │ │ Примечания. │ │ │ │
│ │ │ 1.
Расположение│
│ │ │
│ │ │контрольной точки│ │ │
│
│ │ │зависит от
типа│ │ │ │
│ │ │механизма отбора│ │ │ │
│ │ │мощности. │ │ │ │
│ │ │ 2. Для обозначе- │ │ │
│
│ │ │ния размещения│ │ │ │
│ │ │механизма отбора│ │ │ │
│ │ │мощности по отноше-
│ │ │ │
│ │ │нию к
продольной│ │ │ │
│ │ │плоскости симметрии│ │ │ │
│ │ │рамы добавляют│ │ │ │
│ │ │символы R
(справа)│ │ │ │
│ │ │или L
(слева),│ │ │ │
│ │ │соответственно │ │ │ │
└──────────────┴──────────────┴────────────────────┴─────┴──────┴─────────┘

|
&BEP&-код
|
Наименование
размера
|
Описание размера
|
Прио-
ритет
|
Усло-
вия
на-
грузки
|
Вид
документа
|
|
&BEP&-L044
|
Центр масс
шасси,
продольное
расположение
|
Теоретически
рассчитанное
продольное
расположение центра
масс шасси
относительно центра
первой передней оси
|
A
|
-
|
2D, 3D,
TD
|
|
&BEP&-H044
|
Центр масс
шасси, высота
расположения
|
Теоретически
рассчитанная высота
расположения центра
масс шасси
относительно опорной
поверхности
|
A
|
-
|
2D, 3D,
TD
|
|
&BEP&-W044
|
Центр масс
шасси, боковое
расположение
|
Теоретически
рассчитанное
поперечное
расположение центра
масс шасси
относительно
продольной оси
симметрии ТС
|
A
|
-
|
2D, 3D,
TD
|

┌──────────────┬──────────────┬────────────────────┬─────┬──────┬─────────┐
│ &BEP&-код │ Наименование │ Описание размера │Прио-│Усло- │ Вид
│
│ │ размера
│
│ритет│вия
│документа│
│ │ │ │ │на- │ │
│ │ │ │ │грузки│ │
├──────────────┼──────────────┼────────────────────┼─────┼──────┼─────────┤
│&BEP&-L045 │ Продольное │ Расстояние от │
A │ -
│2D, 3D,│
│ │расположение │центра первой │ │ │TD │
│ │шкворня │передней оси │ │ │ │
│ │сцепного │до оси шкворня │ │ │ │
│ │устройства │сцепного устройства,│ │ │ │
│ │ │расположенного │ │ │ │
│ │ │на прицепе. │ │ │ │
│ │ │ Примечание.
Для│ │ │ │
│ │ │нескольких сцепных│ │ │ │
│ │ │устройств данный│ │ │ │
│ │ │размер последова-
│ │ │ │
│ │ │тельно кодируют как│
│ │ │
│ │ │&BEP&-L045.1, │ │ │ │
│ │ │&BEP&-L045.2 и
т.д. │ │ │ │
├──────────────┼──────────────┼────────────────────┼─────┼──────┼─────────┤
│&BEP&-H045 │ Вертикальное │ Расстояние
от │ A
│ - │2D,
3D,│
│ │расположение │верхней кромки рамы │ │ │TD │
│ │шкворня │до средней точки оси│ │ │ │
│ │сцепного │шкворня сцепного │
│ │ │
│ │устройства │устройства, │ │ │ │
│ │ │расположенного на │
│ │ │
│ │ │прицепе. │ │ │ │
│ │ │ Примечание.
Для│ │ │ │
│ │ │нескольких сцепных│ │ │ │
│ │ │устройств данный│ │ │ │
│ │ │размер последова- │
│ │ │
│ │ │тельно кодируют как│
│ │ │
│ │ │&BEP&-H045.1, │ │ │ │
│ │ │&BEP&-H045.2 и
т.д. │ │ │ │
└──────────────┴──────────────┴────────────────────┴─────┴──────┴─────────┘

|
&BEP&-код
|
Наименование
размера
|
Описание размера
|
Прио-
ритет
|
Усло-
вия
на-
грузки
|
Вид
документа
|
|
&BEP&-H046
|
Ход сжатия
переднего
колеса
|
Разность по
вертикали между
положением колеса
первой передней оси
при движении и его
положением при
максимальном ходе
сжатия подвески
|
A
|
-
|
2D, 3D,
TD
|
|
&BEP&-H047
|
Ход отбоя
переднего
колеса
|
Разность по
вертикали между
положением колеса
первой передней оси
при движении и его
положением при
максимальном ходе
отбоя подвески
|
A
|
-
|
2D, 3D,
TD
|
|
&BEP&-H048
|
Ход сжатия
заднего колеса
|
Разность по
вертикали между
положением колеса
первой задней оси
при движении и его
положением при
максимальном ходе
сжатия подвески
|
A
|
-
|
2D, 3D,
TD
|
|
&BEP&-H049
|
Ход отбоя
заднего колеса
|
Разность по
вертикали между
положением колеса
первой задней оси
при движении и его
положением при
максимальном ходе
отбоя подвески
|
A
|
-
|
2D, 3D,
TD
|

┌──────────────┬──────────────┬────────────────────┬─────┬──────┬─────────┐
│ &BEP&-код │ Наименование │ Описание размера │Прио-│Усло- │ Вид
│
│ │ размера
│
│ритет│вия
│документа│
│ │ │ │ │на-
│ │
│ │ │ │ │грузки│ │
├──────────────┼──────────────┼────────────────────┼─────┼──────┼─────────┤
│&BEP&-L046.n │ Продольное │ Продольное │ A
│ - │2D,
3D,│
│ │расстояние до
│расстояние, │ │ │TD │
│ │начала зоны │измеренное от центра│ │ │ │
│ │доступности │первой передней оси │ │ │ │
│ │ │до начала n-й зоны │
│ │ │
│ │ │доступности, │ │ │ │
│ │ │расположенной вне │
│ │ │
│ │ │рамы шасси и │
│ │ │
│ │ │предназначенной для
│ │ │ │
│ │ │использования │ │ │ │
│ │ │изготовителем
шасси.│ │ │ │
│ │ │ Примечание. Длина│ │ │ │
│ │ │зоны доступности│ │ │ │
│ │ │должна быть не
менее│ │ │ │
│ │ │500 мм │ │ │ │
├──────────────┼──────────────┼────────────────────┼─────┼──────┼─────────┤
│&BEP&-L047.n │ Продольное │ Продольное │ A
│ - │2D,
3D,│
│ │расстояние до
│расстояние, │ │ │TD │
│ │конца зоны │измеренное от центра│ │ │ │
│ │доступности │первой передней оси │ │ │ │
│ │ │до конца n-й зоны │
│ │ │
│ │ │доступности, │ │ │ │
│ │ │расположенной вне │
│ │ │
│ │ │рамы шасси и │ │ │ │
│ │ │предназначенной для
│ │ │ │
│ │ │использования │ │ │ │
│ │ │изготовителем
шасси.│ │ │ │
│ │ │ Примечание. Длина│ │ │ │
│ │ │зоны доступности│ │ │ │
│ │ │должна быть не
менее│ │ │ │
│ │ │500 мм │ │ │ │
└──────────────┴──────────────┴────────────────────┴─────┴──────┴─────────┘

┌──────────────┬──────────────┬────────────────────┬─────┬──────┬─────────┐
│ &BEP&-код │ Наименование │ Описание размера │Прио-│Усло- │ Вид
│
│ │ размера
│
│ритет│вия
│документа│
│ │ │ │ │на- │ │
│ │ │ │ │грузки│ │
├──────────────┼──────────────┼────────────────────┼─────┼──────┼─────────┤
│&BEP&-L048.n │ Начало n-го │ Расстояние от │
A │ -
│2D, 3D,│
│ │бокового │центра первой │ │ │TD │
│ │лонжерона рамы│передней
оси до │ │ │ │
│ │ │начала n-го
бокового│ │ │ │
│ │ │лонжерона рамы. │
│ │ │
│ │ │ Примечание.
Коды│ │ │ │
│ │ │размеров боковых│ │ │ │
│ │ │лонжеронов рамы
-│ │ │ │
│ │ │см. &BEP&-H032 и│
│ │ │
│ │ │далее │ │
│ │
├──────────────┼──────────────┼────────────────────┼─────┼──────┼─────────┤
│&BEP&-L049.n │Конец n-го │ Расстояние от │
A │ -
│2D, 3D,│
│ │бокового │центра первой │ │ │TD │
│ │лонжерона
рамы│передней оси до
│ │ │ │
│ │ │конца n-го бокового
│ │ │ │
│ │ │лонжерона рамы. │
│ │ │
│ │ │ Примечание.
Коды│ │ │ │
│ │ │размеров боковых│ │ │ │
│ │ │лонжеронов рамы
-│ │ │ │
│ │ │см. &BEP&-H032 и│
│ │ │
│ │ │далее │ │ │ │
└──────────────┴──────────────┴────────────────────┴─────┴──────┴─────────┘

┌──────────────┬──────────────┬────────────────────┬─────┬──────┬─────────┐
│ &BEP&-код │ Наименование │ Описание размера │Прио-│Усло- │ Вид
│
│ │ размера
│
│ритет│вия
│документа│
│ │ │ │ │на- │ │
│ │ │ │ │грузки│ │
├──────────────┼──────────────┼────────────────────┼─────┼──────┼─────────┤
│&BEP&-L050.n │ Начало n-го │ Расстояние от │
A │ -
│2D, 3D,│
│ │усиливающего │центра первой │ │ │TD │
│ │элемента рамы
│передней оси до │ │ │ │
│ │ │начала n-го │ │ │
│
│ │ │усиливающего │ │ │ │
│ │ │элемента рамы. │ │ │ │
│ │ │ Примечание.
Коды│ │ │ │
│ │ │размеров
усиливающих│ │ │ │
│ │ │элементов рамы -
см.│ │ │ │
│ │ │&BEP&-H052 и
далее │ │ │ │
├──────────────┼──────────────┼────────────────────┼─────┼──────┼─────────┤
│&BEP&-L051.n │ Конец n-го │ Расстояние от │
A │ -
│2D, 3D,│
│ │усиливающего │центра первой │ │ │TD │
│ │элемента рамы
│передней оси до │ │
│ │
│ │ │конца n-го │ │ │ │
│ │ │усиливающего │ │ │ │
│ │ │элемента рамы. │ │ │ │
│ │ │ Примечание.
Коды│ │ │ │
│ │ │размеров
усиливающих│ │ │ │
│ │ │элементов рамы -
см.│ │ │ │
│ │ │&BEP&-H052 и
далее │ │ │ │
└──────────────┴──────────────┴────────────────────┴─────┴──────┴─────────┘

┌──────────────┬──────────────┬────────────────────┬─────┬──────┬─────────┐
│ &BEP&-код │ Наименование │ Описание размера │Прио-│Усло- │ Вид
│
│ │ размера
│
│ритет│вия
│документа│
│ │ │ │ │на- │ │
│ │ │ │ │грузки│ │
├──────────────┼──────────────┼────────────────────┼─────┼──────┼─────────┤
│&BEP&-H052.n │ Высота │ Высота профиля │
A │ -
│2D, 3D,│
│ │профиля │n-го усиливающего │
│ │TD │
│ │усиливающего │элемента рамы │ │ │ │
│ │элемента рамы │ │ │ │ │
├──────────────┼──────────────┼────────────────────┼─────┼──────┼─────────┤
│&BEP&-H053.n │ Толщина │ Толщина нижней │
A │ -
│2D, 3D,│
│ │нижней полки │полки профиля n-го │
│ │TD │
│ │профиля │усиливающего │ │ │ │
│ │усиливающего │элемента рамы │ │ │ │
│ │элемента рамы │ │ │ │ │
├──────────────┼──────────────┼────────────────────┼─────┼──────┼─────────┤
│&BEP&-H054.n │ Толщина │ Толщина верхней │ A
│ - │2D,
3D,│
│ │верхней полки │полки
профиля n-го │ │ │TD │
│ │профиля │усиливающего │ │ │ │
│ │усиливающего │элемента рамы │ │ │ │
│ │элемента рамы │ │ │ │ │
├──────────────┼──────────────┼────────────────────┼─────┼──────┼─────────┤
│&BEP&-H055.n │ Расстояние по│ Расстояние
по │ A
│ - │2D,
3D,│
│ │вертикали от │вертикали от нижней │ │ │TD │
│ │усиливающего │поверхности │ │ │ │
│ │элемента рамы
│усиливающего │ │ │ │
│ │до нижней │элемента рамы до │
│ │ │
│ │кромки рамы │нижней поверхности │
│ │ │
│ │ │рамы │ │ │ │
├──────────────┼──────────────┼────────────────────┼─────┼──────┼─────────┤
│&BEP&-W052.n │ Ширина нижней│ Ширина нижней
полки│ A │
- │2D, 3D,│
│ │полки профиля
│профиля n-го │ │ │TD │
│ │усиливающего │усиливающего │ │ │ │
│ │элемента рамы │элемента
рамы │ │ │ │
├──────────────┼──────────────┼────────────────────┼─────┼──────┼─────────┤
│&BEP&-W053.n │ Ширина │ Ширина верхней │
A │ -
│2D, 3D,│
│ │верхней полки │полки
профиля n-го │ │ │TD │
│ │профиля │усиливающего │ │ │ │
│ │усиливающего │элемента рамы │ │ │ │
│ │элемента рамы │ │ │
│ │
├──────────────┼──────────────┼────────────────────┼─────┼──────┼─────────┤
│&BEP&-W054.n │ Толщина │ Толщина стойки │
A │ -
│2D, 3D,│
│ │стойки
профиля│профиля n-го
│ │ │TD
│
│ │усиливающего │усиливающего │ │ │ │
│ │элемента рамы
│элемента рамы │ │ │ │
├──────────────┴──────────────┴────────────────────┴─────┴──────┴─────────┤
│ Примечание.
Кодирование усиливающих элементов рамы в зависимости от│
│расположения
- см. &BEP&-L050 и далее. │
└─────────────────────────────────────────────────────────────────────────┘

6.3. Размеры,
относящиеся к кабине, приведены в таблице 4.
Таблица 4
┌────────────┬───────────────┬─────────────────────┬─────┬──────┬─────────┐
│
&BEP&-код │
Наименование │ Описание размера │Прио-│Усло- │ Вид
│
│ │ размера
│ │ритет│вия │документа│
│ │ │ │ │на- │ │
│ │ │ │ │грузки│ │
├────────────┼───────────────┼─────────────────────┼─────┼──────┼─────────┤
│&BEP&-L060 │ Угол │ Максимальный угол │
A │ -
│2D, 3D,│
│ │откидывания │откидывания кабины │
│ │TD │
│ │кабины │от нормального │ │ │ │
│ │ │положения. │ │ │ │
│ │ │ Примечание. │ │ │ │
│ │ │ Применимо только к│ │ │ │
│ │ │бескапотной
компонов-│ │ │ │
│ │ │ке шасси │ │ │ │
└────────────┴───────────────┴─────────────────────┴─────┴──────┴─────────┘

┌────────────┬───────────────┬─────────────────────┬─────┬──────┬─────────┐
│
&BEP&-код │
Наименование │ Описание размера │Прио-│Усло- │ Вид
│
│ │ размера
│
│ритет│вия
│документа│
│ │ │ │ │на-
│ │
│ │ │ │ │грузки│ │
├────────────┼───────────────┼─────────────────────┼─────┼──────┼─────────┤
│&BEP&-L061 │ Расстояние от │ Расстояние от
центра│ B │
- │2D, 3D,│
│ │первой передней│первой
передней оси │ │ │TD │
│ │оси до передней│до
плоскости, │ │ │ │
│ │точки кабины, │перпендикулярной │
│ │ │
│ │находящейся в │к оси X и касающейся │ │ │ │
│ │откинутом │передней крайней │
│ │ │
│ │положении │точки максимально │
│ │ │
│ │ │наклоненной вперед │
│ │ │
│ │ │кабины │ │ │ │
├────────────┼───────────────┼─────────────────────┼─────┼──────┼─────────┤
│&BEP&-L062 │ Продольное │ Продольное │ A
│ - │2D,
3D,│
│ │расположение │расстояние от центра │ │ │TD │
│ │оси шарнира │первой передней оси │
│ │ │
│ │откидывания │до оси шарнира │ │ │ │
│ │кабины │откидывания кабины │
│ │ │
├────────────┼───────────────┼─────────────────────┼─────┼──────┼─────────┤
│&BEP&-H060 │ Вертикальное │ Расстояние, │ A
│ - │2D,
3D,│
│ │расположение │измеренное в │ │ │TD │
│ │оси шарнира │вертикальной │ │ │ │
│ │откидывания │плоскости от верхней │ │ │ │
│ │кабины │кромки рамы до оси │
│ │ │
│ │ │шарнира откидывания │
│ │ │
│ │ │кабины. │ │ │ │
│ │ │ Примечание.
Если│ │ │ │
│ │ │ось шарнира│ │ │ │
│ │ │расположена над│ │ │ │
│ │ │верхней кромкой
рамы,│ │ │ │
│ │ │то размер
имеет│ │ │ │
│ │ │положительное │ │ │ │
│ │ │значение, если
под│ │ │ │
│ │ │верхней кромкой
-│ │ │ │
│ │ │отрицательное │ │ │ │
├────────────┼───────────────┼─────────────────────┼─────┼──────┼─────────┤
│&BEP&-H061 │ Максимальная │ Расстояние, │ B
│ 1 │2D,
3D,│
│ │высота шасси │измеренное в │ │ │TD │
│ │при откинутой │вертикальной │ │ │ │
│ │кабине │плоскости, от
опорной│ │ │ │
│ │ │поверхности до │ │ │ │
│ │ │верхней крайней
точки│ │ │ │
│ │ │кабины в откинутом │
│ │ │
│ │ │положении. │ │ │ │
│ │ │ Примечания. 1. Люк│ │ │ │
│ │ │в крыше
(при его│ │ │ │
│ │ │наличии) должен быть│ │ │ │
│ │ │закрыт. │ │ │ │
│ │ │ 2. Для пневмати- │
│ │ │
│ │ │ческой подвески│ │ │ │
│ │ │должен быть
включен│ │ │ │
│ │ │режим движения │ │ │ │
├────────────┼───────────────┼─────────────────────┼─────┼──────┼─────────┤
│&BEP&-H062 │ Радиус │ Радиус окружности, │ A
│ - │2D,
3D,│
│ │откидывания │описываемой внешним │
│ │TD │
│ │кабины │контуром кабины в │
│ │ │
│ │ │процессе откидывания
│ │ │ │
│ │ │относительно оси │
│ │ │
│ │ │шарнира кабины │ │ │ │
├────────────┼───────────────┼─────────────────────┼─────┼──────┼─────────┤
│&BEP&-H063 │ Высота от │ Расстояние от │
A │ -
│2D, 3D,│
│ │верхней кромки
│верхней кромки рамы │ │ │TD │
│ │рамы до верхней│до
верхней точки │ │ │ │
│ │точки кабины │крыши кабины. │
│ │ │
│ │ │ Примечание. Кабина│ │ │ │
│ │ │находится в
рабочем│ │ │ │
│ │ │положении │ │ │ │
└────────────┴───────────────┴─────────────────────┴─────┴──────┴─────────┘

┌────────────┬───────────────┬─────────────────────┬─────┬──────┬─────────┐
│
&BEP&-код │
Наименование │ Описание размера │Прио-│Усло- │ Вид
│
│ │ размера
│
│ритет│вия
│документа│
│ │ │ │ │на- │ │
│ │ │ │ │грузки│ │
├────────────┼───────────────┼─────────────────────┼─────┼──────┼─────────┤
│&BEP&-L063 │ Окончание │ Расстояние между │
A │ -
│2D, 3D,│
│ │кабины │центром первой │ │ │TD │
│ │ │передней оси и
задней│ │ │ │
│ │ │крайней точкой
кабины│ │ │ │
├────────────┼───────────────┼─────────────────────┼─────┼──────┼─────────┤
│&BEP&-L064.n│ Окончание │ Расстояние между │
A │ -
│2D, 3D,│
│ │элемента, │центром первой │ │ │TD │
│ │соединенного │передней оси и задней│ │ │ │
│ │с кабиной │крайней точкой n-го │
│ │ │
│ │ │элемента, соединен- │
│ │ │
│ │ │ного с кабиной. │ │ │ │
│ │ │ Примечание.
Если│ │ │ │
│ │ │расположение элемен- │ │ │ │
│ │ │тов справа и слева
от│ │ │ │
│ │ │продольной плоскости│ │ │ │
│ │ │симметрии ТС различ-
│ │ │ │
│ │ │но, то
добавляют│ │ │ │
│ │ │индекс R
или L,│ │ │ │
│ │ │соответственно. │ │ │ │
│ │ │ │ │ │ │
│ │ │ &Пример.
Световые │ │ │ │
│ │ │приборы, дефлекторы,
│ │ │ │
│ │ │впускное отверстие │
│ │ │
│ │ │для воздуха& │ │ │ │
└────────────┴───────────────┴─────────────────────┴─────┴──────┴─────────┘

7. Размеры, относящиеся к надстройке
7.1. Размеры,
относящиеся к подрамнику, приведены в таблице 5.
Таблица 5
┌──────────────┬─────────────┬─────────────────────┬─────┬──────┬─────────┐
│ &BEP&-код │Наименование │ Описание размера │Прио-│Усло- │ Вид
│
│ │ размера
│
│ритет│вия
│документа│
│ │ │ │ │на- │ │
│ │ │ │ │грузки│ │
├──────────────┼─────────────┼─────────────────────┼─────┼──────┼─────────┤
│&BEP&-L070.n.t│ Расстояние │ Расстояние от центра│ B
│ - │2D,
3D,│
│ │до n-й │первой передней оси │
│ │TD │
│ │передней │до передней кромки │
│ │ │
│ │поперечины │n-й поперечины │ │ │ │
│ │подрамника │подрамника. │ │ │ │
│ │ │ Примечания. │ │
│ │
│ │ │ 1. Каждой попере- │ │ │ │
│ │ │чине присваивается│ │ │ │
│ │ │индивидуальный
поряд-│ │ │ │
│ │ │ковый номер n. │ │ │ │
│ │ │ 2. Если поперечина│ │ │ │
│ │ │находится перед
осью,│ │ │ │
│ │ │то значение
размера│ │ │ │
│ │ │отрицательное, если│ │ │ │
│ │ │за осью -│ │ │ │
│ │ │положительное. │ │ │ │
│ │ │ 3. Поперечины раз-│ │ │ │
│ │ │личают по типу
t и│ │ │ │
│ │ │обозначают символами│ │ │ │
│ │ │A, B,
C и т.д.│ │ │ │
│ │ │Определение типа│ │ │ │
│ │ │включает в
себя│ │ │ │
│ │ │описание точного│ │ │ │
│ │ │положения и
профиля│ │ │ │
│ │ │каждой поперечины. │
│ │ │
│ │ │ │ │ │ │
│ │ │ &Пример. │ │ │ │
│ │ │BEP&-L070.2.A │ │ │ │
│ │ │&означает вторую │
│ │ │
│ │ │поперечину, тип A& │
│ │ │
├──────────────┼─────────────┼─────────────────────┼─────┼──────┼─────────┤
│&BEP&-L071.n.t│ Расстояние │ Расстояние от центра│ B
│ - │2D,
3D,│
│ │до n-й задней│первой
ведущей задней│ │ │TD │
│ │поперечины │оси до передней │ │ │ │
│ │подрамника │кромки n-й поперечины│ │ │ │
│ │ │подрамника. │ │ │ │
│ │ │ Примечания. │ │ │ │
│ │ │ 1. Каждой попере- │ │ │ │
│ │ │чине присваивается│ │ │ │
│ │ │индивидуальный
поряд-│ │ │ │
│ │ │ковый номер n. │ │ │ │
│ │ │ 2. Если поперечина│ │ │ │
│ │ │находится перед осью,│ │ │ │
│ │ │то значение
размера│ │ │ │
│ │ │отрицательное, если│ │ │ │
│ │ │за осью -│ │ │ │
│ │ │положительное. │ │ │ │
│ │ │ 3. Поперечины раз-│ │ │ │
│ │ │личаются по типу t и│
│ │ │
│ │ │обозначаются симво- │
│ │ │
│ │ │лами A, B, C и
т.д.│ │ │ │
│ │ │Определение типа│ │ │ │
│ │ │включает в
себя│ │
│ │
│ │ │описание точного│ │ │ │
│ │ │положения и
профиля│ │ │ │
│ │ │каждой поперечины. │
│ │ │
│ │ │ │ │ │ │
│ │ │ &Пример. │ │ │ │
│ │ │BEP&-L071.5.A │ │ │ │
│ │ │&означает пятую │ │ │ │
│ │ │поперечину, тип A& │
│ │ │
└──────────────┴─────────────┴─────────────────────┴─────┴──────┴─────────┘

|
&BEP&-код
|
Наименование
размера
|
Описание размера
|
Прио-
ритет
|
Усло-
вия
на-
грузки
|
Вид
документа
|
|
&BEP&-H070
|
Высота
подрамника
|
Высота профиля
подрамника
|
A
|
-
|
2D, 3D,
TD
|

|
&BEP&-код
|
Наименование
размера
|
Описание размера
|
Прио-
ритет
|
Усло-
вия
на-
грузки
|
Вид
документа
|
|
&BEP&-L072
|
Расстояние
от передней
оси до центра
седельно-
сцепного
устройства
в переднем
положении
|
Расстояние от центра
первой передней оси
автомобиля до центра
шкворня седельно-
сцепного устройства
(ССУ) в крайнем
переднем положении
|
A
|
-
|
2D, 3D,
TD
|
|
&BEP&-L073
|
Расстояние
от передней
оси до центра
седельно-
сцепного
устройства,
номинальное
|
Расстояние от центра
первой передней оси
автомобиля до центра
шкворня ССУ,
номинальное
|
A
|
-
|
2D, 3D,
TD
|
|
&BEP&-L074
|
Расстояние
от передней
оси до центра
седельно-
сцепного
устройства
в заднем
положении
|
Расстояние от центра
первой передней оси
автомобиля до центра
шкворня ССУ в крайнем
заднем положении
|
A
|
-
|
2D, 3D,
TD
|
|
&BEP&-L075
|
Расстояние
от задней оси
до центра
седельно-
сцепного
устройства
в переднем
положении
|
Расстояние от центра
первой задней ведущей
оси автомобиля до
центра шкворня ССУ
в крайнем переднем
положении
|
A
|
-
|
2D, 3D,
TD
|
|
&BEP&-L076
|
Расстояние
от задней оси
до центра
седельно-
сцепного
устройства,
номинальное
|
Расстояние от центра
первой задней ведущей
оси автомобиля до
центра шкворня ССУ,
номинальное
|
A
|
-
|
2D, 3D,
TD
|
|
&BEP&-L077
|
Расстояние
от задней оси
до центра
седельно-
сцепного
устройства в
заднем
положении
|
Расстояние от центра
первой задней ведущей
оси автомобиля до
центра шкворня ССУ
в крайнем заднем
положении
|
A
|
-
|
2D, 3D,
TD
|

|
&BEP&-код
|
Наименование
размера
|
Описание размера
|
Прио-
ритет
|
Усло-
вия
на-
грузки
|
Вид
документа
|
|
&BEP&-H071
|
Высота
подрамника
седельно-
сцепного
устройства
|
Высота подрамника
ССУ, измеренная от
верхней кромки рамы
до верхней кромки
подрамника
|
A
|
-
|
2D, 3D,
TD
|
|
&BEP&-H072
|
Высота
подрамника
седельно-
сцепного
устройства
над опорной
поверхностью
без нагрузки
|
Высота, измеренная
от опорной
поверхности до
верхней кромки
подрамника ССУ на ТС
при отсутствии
нагрузки на ССУ
|
A
|
1
|
2D, 3D,
TD
|
|
&BEP&-H073
|
Высота
подрамника
седельно-
сцепного
устройства
над опорной
поверхностью
под нагрузкой
|
Высота, измеренная
от опорной
поверхности до
верхней кромки
подрамника ССУ на ТС
воздействием нагрузки
на ССУ
|
A
|
2
|
2D, 3D,
TD
|
|
&BEP&-H074
|
Максимальная
высота
седельно-
сцепного
устройства
|
Максимальная высота
ССУ над верхней
кромкой подрамника
|
A
|
-
|
2D, 3D,
TD
|
|
&BEP&-H075
|
Минимальная
высота
седельно-
сцепного
устройства
|
Минимальная высота
ССУ над верхней
кромкой подрамника
|
A
|
-
|
2D, 3D,
TD
|

|
&BEP&-код
|
Наименование
размера
|
Описание размера
|
Прио-
ритет
|
Усло-
вия
на-
грузки
|
Вид
документа
|
|
&BEP&-H076
|
Максимальная
высота седла
над опорной
поверхностью
без нагрузки
|
Расстояние от
верхней кромки ССУ в
наиболее высоком его
положении без
нагрузки до опорной
поверхности
|
B
|
1
|
TD
|
|
&BEP&-H077
|
Минимальная
высота седла
над опорной
поверхностью
без нагрузки
|
Расстояние от
верхней кромки ССУ в
наиболее низком его
положении без
нагрузки до опорной
поверхности
|
B
|
1
|
TD
|
|
&BEP&-H078
|
Максимальная
высота седла
над опорной
поверхностью
с нагрузкой
|
Расстояние от
верхней кромки ССУ в
наиболее высоком его
положении под
воздействием нагрузки
на ССУ до опорной
поверхности
|
B
|
2
|
TD
|
|
&BEP&-H079
|
Минимальная
высота седла
над опорной
поверхностью
с нагрузкой
|
Расстояние от
верхней кромки ССУ в
наиболее низком его
положении под
воздействием нагрузки
на ССУ до опорной
поверхности
|
B
|
2
|
TD
|

┌──────────────┬─────────────┬─────────────────────┬─────┬──────┬─────────┐
│ &BEP&-код │Наименование │ Описание размера │Прио-│Усло- │ Вид
│
│ │ размера
│
│ритет│вия │документа│
│ │ │ │ │на- │ │
│ │ │ │ │грузки│ │
├──────────────┼─────────────┼─────────────────────┼─────┼──────┼─────────┤
│&BEP&-L078 │ Расстояние │ Расстояние между │
A │ -
│ TD │
│ │от оси │осью шкворня ССУ │
│ │ │
│ │сцепного │и ближайшим к нему │
│ │ │
│ │шкворня до │объектом, примыкающим│ │ │ │
│ │кабины │к задней части │ │ │ │
│ │ │кабины, измеренное │
│ │ │
│ │ │как радиус │ │
│ │
│ │ │окружности, │ │ │ │
│ │ │касательной к этому │
│ │ │
│ │ │объекту. │ │ │ │
│ │ │ Примечание. В│ │ │ │
│ │ │случае регулируемого│ │ │ │
│ │ │положения седла
его│ │ │ │
│ │ │устанавливают в
самое│ │ │ │
│ │ │переднее положение│ │ │ │
│ │ │(&BEP&-L072) │ │ │ │
└──────────────┴─────────────┴─────────────────────┴─────┴──────┴─────────┘

┌──────────────┬─────────────┬─────────────────────┬─────┬──────┬─────────┐
│ &BEP&-код │Наименование │ Описание размера │Прио-│Усло- │ Вид
│
│ │ размера
│
│ритет│вия
│документа│
│ │ │ │ │на- │ │
│ │ │ │ │грузки│ │
├──────────────┼─────────────┼─────────────────────┼─────┼──────┼─────────┤
│&BEP&-L079 │ Расстояние │ Расстояние между │
A │ -
│ TD │
│ │от оси │осью шкворня ССУ и │
│ │ │
│ │сцепного │наиболее удаленной от│ │ │ │
│ │шкворня ССУ │нее задней точкой │
│ │ │
│ │до наиболее │буксирующего ТС, │
│ │ │
│ │удаленной от
│измеренное как радиус│
│ │ │
│ │нее задней │окружности, │ │
│ │
│ │точки тягача
│проходящей через эту │
│ │ │
│ │ │точку. │ │ │ │
│ │ │ Примечания. │ │ │ │
│ │ │ 1.
Этот радиус│ │ │ │
│ │ │определяет │ │ │ │
│ │ │необходимое
свободное│ │ │ │
│ │ │пространство для│ │ │ │
│ │ │полуприцепа. │ │ │ │
│ │ │ 2.
В случае│ │ │ │
│ │ │регулируемого
положе-│ │ │ │
│ │ │ния седла
его│ │ │ │
│ │ │устанавливают в
самое│ │ │ │
│ │ │переднее его│ │ │ │
│ │ │положение │ │
│ │
│ │ │(&BEP&-L072). │ │ │ │
└──────────────┴─────────────┴─────────────────────┴─────┴──────┴─────────┘

7.2. Размеры
надстройки приведены в таблице 6.
Таблица 6
|
&BEP&-код
|
Наименование
размера
|
Описание размера
|
Прио-
ритет
|
Усло-
вия
на-
грузки
|
Вид
документа
|
|
&BEP&-L100
|
Длина
надстройки
|
Расстояние между
передней и задней
крайними точками
надстройки
|
A
|
-
|
2D, 3D,
TD
|

|
&BEP&-код
|
Наименование
размера
|
Описание размера
|
Прио-
ритет
|
Усло-
вия
на-
грузки
|
Вид
документа
|
|
&BEP&-L101
|
Внутренняя
длина
надстройки
|
Расстояние между
внутренними
поверхностями переднего
и заднего бортов
надстройки
|
A
|
-
|
2D, 3D,
TD
|

┌────────────┬─────────────┬───────────────────────┬─────┬──────┬─────────┐
│
&BEP&-код │Наименование
│ Описание размера │Прио-│Усло- │ Вид
│
│ │ размера
│
│ритет│вия │документа│
│ │ │ │ │на- │ │
│ │ │ │ │грузки│ │
├────────────┼─────────────┼───────────────────────┼─────┼──────┼─────────┤
│&BEP&-L102 │ Расстояние │ Минимальное расстояние│ A
│ - │2D,
3D,│
│ │от первой │от центра первой │ │ │TD │
│ │передней оси │передней
оси до │ │ │ │
│ │до надстройки│передней
кромки │ │ │ │
│ │ │надстройки. │ │ │ │
│ │ │ Примечание.
Должно│ │ │ │
│ │ │быть учтено продольное│ │
│ │
│ │ │перемещение
надстройки,│ │ │ │
│ │ │если оно предусмотрено│ │ │ │
│ │ │конструкцией │ │ │ │
└────────────┴─────────────┴───────────────────────┴─────┴──────┴─────────┘

|
&BEP&-код
|
Наименование
размера
|
Описание размера
|
Прио-
ритет
|
Усло-
вия
на-
грузки
|
Вид
документа
|
|
&BEP&-H100
|
Высота пола
надстройки
над верхней
кромкой шасси
|
Расстояние от верхней
кромки рамы до уровня
пола (настила)
надстройки
|
B
|
-
|
TD
|

┌────────────┬─────────────┬───────────────────────┬─────┬──────┬─────────┐
│
&BEP&-код │Наименование
│ Описание размера │Прио-│Усло- │ Вид
│
│ │ размера
│
│ритет│вия │документа│
│ │ │ │ │на- │ │
│ │ │ │ │грузки│ │
├────────────┼─────────────┼───────────────────────┼─────┼──────┼─────────┤
│&BEP&-W100 │ Наружная │ Расстояние между левой│ A
│ - │2D,
3D,│
│ │ширина │и правой крайними │ │ │TD │
│ │надстройки │точками надстройки. │
│ │ │
│ │ │ &Пример.
Подъемный │ │ │ │
│ │ │кран, самосвал, любые │
│ │ │
│ │ │фургоны& │ │ │ │
├────────────┼─────────────┼───────────────────────┼─────┼──────┼─────────┤
│&BEP&-W101 │ Внутренняя │ Расстояние между │
B │ -
│ TD │
│ │ширина │внутренними боковыми │
│ │ │
│ │надстройки │поверхностями │ │ │ │
│ │ │надстройки │ │ │ │
├────────────┼─────────────┼───────────────────────┼─────┼──────┼─────────┤
│&BEP&-W102.n│ Ширина │ Внутренняя ширина │
B │ -
│ TD │
│ │доступа в │проема, открывающего │
│ │ │
│ │грузовое │доступ внутрь │ │ │ │
│ │помещение │надстройки. │ │ │ │
│ │ │ Примечания.
1. При│ │ │ │
│ │ │наличии нескольких│ │ │ │
│ │ │проемов их
ширину│ │ │ │
│ │ │кодируют как│ │ │
│
│ │ │&BEP&-W102.1, │ │ │ │
│ │ │&BEP&-W102.2 и
т.д. │ │ │ │
│ │ │ 2. Аналогичное коди-│ │ │ │
│ │ │рование применяют
также│ │ │ │
│ │ │к боковым
проемам и│ │ │ │
│ │ │люкам на
крыше│ │ │ │
│ │ │надстройки │
│ │ │
└────────────┴─────────────┴───────────────────────┴─────┴──────┴─────────┘

┌────────────┬─────────────┬───────────────────────┬─────┬──────┬─────────┐
│
&BEP&-код │Наименование
│ Описание размера │Прио-│Усло- │ Вид
│
│ │ размера
│
│ритет│вия
│документа│
│ │ │ │ │на- │ │
│ │ │ │ │грузки│ │
├────────────┼─────────────┼───────────────────────┼─────┼──────┼─────────┤
│&BEP&-H101 │ Внутренняя │ Вертикальное │ B
│ - │
TD │
│ │высота │расстояние от пола до │
│ │ │
│ │надстройки │потолка надстройки │
│ │ │
├────────────┼─────────────┼───────────────────────┼─────┼──────┼─────────┤
│&BEP&-H102.n│ Высота │ Внутренняя высота │
B │ -
│ TD │
│ │прохода в │проема, открывающего │
│ │ │
│ │грузовое │доступ внутрь │ │ │ │
│ │помещение │надстройки. │ │ │ │
│ │ │ Примечания.
1. При│ │ │ │
│ │ │наличии нескольких│ │ │ │
│ │ │проемов их
высоту│ │ │ │
│ │ │кодируют как│ │ │ │
│ │ │&BEP&-H102.1, │ │ │ │
│ │ │&BEP&-H102.2 и
т.д. │ │ │ │
│ │ │ 2. Аналогичное коди-│ │ │ │
│ │ │рование применяют
также│ │ │ │
│ │ │к боковым проемам │ │ │ │
└────────────┴─────────────┴───────────────────────┴─────┴──────┴─────────┘

┌────────────┬─────────────┬───────────────────────┬─────┬──────┬─────────┐
│
&BEP&-код │Наименование
│ Описание размера │Прио-│Усло- │ Вид
│
│ │ размера
│
│ритет│вия
│документа│
│ │ │ │ │на- │ │
│ │ │ │ │грузки│ │
├────────────┼─────────────┼───────────────────────┼─────┼──────┼─────────┤
│&BEP&-H103 │ Центр масс │ Теоретически │ B
│ - │
TD │
│ │надстройки, │рассчитанное наименьшее│ │ │ │
│ │наиболее │расстояние от центра │
│ │ │
│ │низкое │масс надстройки до │
│ │ │
│ │положение │опорной поверхности. │
│ │ │
│ │ │ Примечание. При│ │ │ │
│ │ │расчете положения│ │ │ │
│ │ │центра масс надстройки│ │ │ │
│ │ │должны быть приняты во│
│ │ │
│ │ │внимание технически│ │ │ │
│ │ │допустимые
максимальные│ │ │
│
│ │ │масса ТС и нагрузки на│
│ │ │
│ │ │оси │ │ │ │
├────────────┼─────────────┼───────────────────────┼─────┼──────┼─────────┤
│&BEP&-H104 │ Центр масс │ Теоретически │ B
│ - │
TD │
│ │надстройки, │рассчитанное наибольшее│ │ │ │
│ │наиболее │расстояние от центра │
│ │ │
│ │высокое │масс надстройки до │
│ │ │
│ │положение │опорной поверхности. │
│ │ │
│ │ │ Примечание. При│ │ │ │
│ │ │расчете положения│ │
│ │
│ │ │центра масс надстройки│ │ │ │
│ │ │должны быть приняты во│
│ │ │
│ │ │внимание технически│ │ │ │
│ │ │допустимые
максимальные│ │ │ │
│ │ │масса ТС и нагрузки на│
│ │ │
│ │ │оси │ │ │ │
├────────────┼─────────────┼───────────────────────┼─────┼──────┼─────────┤
│&BEP&-L103 │ Центр масс │ Теоретически │ B
│ - │
TD │
│ │надстройки, │рассчитанное наименьшее│ │ │ │
│ │самое │расстояние от центра │
│ │ │
│ │переднее │первой передней оси до │ │ │ │
│ │положение │центра масс надстройки.│ │ │ │
│ │ │ Примечание. При│ │ │ │
│ │ │расчете положения│ │ │ │
│ │ │центра масс надстройки│ │ │ │
│ │ │должны быть приняты во│
│ │ │
│ │ │внимание технически│ │ │ │
│ │ │допустимые
максимальные│ │ │ │
│ │ │масса ТС и нагрузки на│
│ │ │
│ │ │оси │ │
│ │
├────────────┼─────────────┼───────────────────────┼─────┼──────┼─────────┤
│&BEP&-L104 │ Центр масс │ Теоретически │ B
│ - │
TD │
│ │надстройки, │рассчитанное наибольшее│ │ │ │
│ │самое заднее
│расстояние от центра
│ │ │ │
│ │положение │первой передней оси до │ │ │ │
│ │ │центра масс
надстройки.│ │ │ │
│ │ │ Примечание. При│ │ │ │
│ │ │расчете положения│ │ │ │
│ │ │центра масс надстройки│ │ │ │
│ │ │должны быть приняты во│
│ │ │
│ │ │внимание технически│ │ │ │
│ │ │допустимые
максимальные│ │ │ │
│ │ │масса ТС и нагрузки на│
│ │ │
│ │ │оси │ │ │ │
└────────────┴─────────────┴───────────────────────┴─────┴──────┴─────────┘

┌────────────┬─────────────┬───────────────────────┬─────┬──────┬─────────┐
│
&BEP&-код │Наименование
│ Описание размера │Прио-│Усло- │ Вид
│
│ │ размера
│
│ритет│вия
│документа│
│ │ │ │ │на- │ │
│ │ │ │ │грузки│ │
├────────────┼─────────────┼───────────────────────┼─────┼──────┼─────────┤
│&BEP&-L105 │ Максимальная│ Максимальная
длина │ B
│ - │
TD │
│ │длина │надстройки. │ │ │ │
│ │надстройки │
Примечание. │ │ │ │
│ │ │ Продольное располо- │ │ │ │
│ │ │жение центра
масс│ │ │
│
│ │ │надстройки показано
для│ │ │ │
│ │ │идеальных условий│ │ │ │
│ │ │равномерного распреде-
│ │ │ │
│ │ │ления нагрузки │ │ │
│
└────────────┴─────────────┴───────────────────────┴─────┴──────┴─────────┘

┌────────────┬─────────────┬───────────────────────┬─────┬──────┬─────────┐
│
&BEP&-код │Наименование
│ Описание размера │Прио-│Усло- │ Вид
│
│ │ размера
│
│ритет│вия
│документа│
│ │ │ │ │на- │ │
│ │ │ │ │грузки│ │
├────────────┼─────────────┼───────────────────────┼─────┼──────┼─────────┤
│&BEP&-L106.n│ Положение │ Расстояние между │
B │ -
│2D, 3D,│
│ │центра масс │центром первой передней│ │
│TD │
│ │элемента │оси и центром масс n-го│ │ │ │
│
│оборудования,│основного элемента │
│ │ │
│ │входящего в │оборудования, │ │ │ │
│ │надстройку │являющегося частью │
│ │ │
│ │ │надстройки. │ │ │ │
│ │ │ &Пример.
Кран-балка; │ │ │ │
│ │ │гидравлическая
емкость;│ │ │ │
│ │ │подъемник, │ │ │ │
│ │ │расположенный в задней
│ │ │ │
│ │ │части платформы; │ │
│ │
│ │ │опрокидывающие │ │ │ │
│ │ │механизмы самосвальной
│ │ │ │
│ │ │платформы; охлаждающее
│ │ │ │
│ │ │и нагревательное │ │ │ │
│ │ │оборудование;
седельно-│ │ │ │
│ │ │сцепное
устройство& │ │ │ │
└────────────┴─────────────┴───────────────────────┴─────┴──────┴─────────┘

Приложение
A
(справочное)
ПЕРЕЧЕНЬ
УСЛОВНЫХ
ОБОЗНАЧЕНИЙ (&BEP&-КОДОВ) РАЗМЕРОВ,
ВХОДЯЩИХ В РАЗДЕЛЫ
5 - 7 (ТАБЛИЦЫ 1 - 6)
НАСТОЯЩЕГО
СТАНДАРТА
|
&BEP&-код
|
Наименование размера
|
Номер
таблицы
|
|
&BEP&-L001
|
Габаритная длина транспортного средства
|
1
|
|
&BEP&-L002
|
Положение передней точки начала отсчета
|
1
|
|
&BEP&-L003
|
Положение задней точки начала отсчета
|
1
|
|
&BEP&-H001
|
Максимальная высота шасси без нагрузки
|
1
|
|
&BEP&-H002
|
Максимальная высота шасси с нагрузкой
|
1
|
|
&BEP&-H003
|
Максимальная высота транспортного
средства
без нагрузки
|
1
|
|
&BEP&-W001
|
Габаритная ширина шасси с кабиной
|
1
|
|
&BEP&-W002
|
Ширина кабины в поперечном сечении
|
1
|
|
&BEP&-W003.n
|
Ширина по колесам n-й оси
|
1
|
|
&BEP&-L010
|
Полная колесная база
|
2
|
|
&BEP&-L011
|
Структурная колесная база
|
2
|
|
&BEP&-L012.n
|
Расстояние между колесами n-й и n + 1-й осей
|
2
|
|
&BEP&-L013
|
Теоретический центр колесной базы
комбинации
передних осей
|
2
|
|
&BEP&-L014
|
Теоретический центр колесной базы
комбинации
задних осей
|
2
|
|
&BEP&-L015
|
Теоретическая колесная база
транспортного
средства
|
2
|
|
&BEP&-L016
|
Передний свес транспортного средства
|
2
|
|
&BEP&-L017
|
Задний свес транспортного средства
|
2
|
|
&BEP&-L018
|
Передний свес рамы
|
2
|
|
&BEP&-L019
|
Задний свес рамы
|
2
|
|
&BEP&-L020
|
Задний свес рамы от первой ведущей задней оси
|
2
|
|
&BEP&-L021
|
Теоретический задний свес транспортного
средства
|
2
|
|
&BEP&-H010
|
Угол въезда
|
2
|
|
&BEP&-H011
|
Угол съезда
|
2
|
|
&BEP&-H012
|
Угол продольной проходимости
|
2
|
|
&BEP&-H013
|
Дорожный просвет под задней частью
шасси
|
2
|
|
&BEP&-H014
|
Дорожный просвет под передней частью
шасси
|
2
|
|
&BEP&-H015.n
|
Дорожный просвет под n-й передней осью
|
2
|
|
&BEP&-H016.n
|
Дорожный просвет под n-й задней осью
|
2
|
|
&BEP&-H017
|
Переднее противоподкатное устройство,
верхняя
кромка
|
2
|
|
&BEP&-H018
|
Переднее противоподкатное устройство,
нижняя
кромка
|
2
|
|
&BEP&-H019.n
|
n-е боковое противоподкатное устройство,
верхняя
кромка
|
2
|
|
&BEP&-H020.n
|
n-е боковое противоподкатное устройство,
нижняя
кромка
|
2
|
|
&BEP&-H021
|
Заднее противоподкатное устройство,
верхняя
кромка
|
2
|
|
&BEP&-H022
|
Заднее противоподкатное устройство, нижняя
кромка
|
2
|
|
&BEP&-W010.n
|
Угол поворота колес
|
2
|
|
&BEP&-W011
|
Диаметр окружности поворота
|
2
|
|
&BEP&-W012
|
Наружный габаритный диаметр окружности
поворота
|
2
|
|
&BEP&-W013.n
|
Колея
|
2
|
|
&BEP&-W014.n
|
Расстояние между сдвоенными колесами
|
2
|
|
&BEP&-W015.n
|
Рессорная колея
|
2
|
|
&BEP&-L030.n.t
|
Продольное расположение ближней точки
объекта,
установленного на шасси
|
3
|
|
&BEP&-L031.n.t
|
Продольное расположение дальней точки
объекта,
установленного на шасси
|
3
|
|
&BEP&-H030.n.t
|
Расположение верхней точки объекта,
установленного на шасси, высота
|
3
|
|
&BEP&-H031.n.t
|
Расположение нижней точки объекта,
установленного
на шасси, высота
|
3
|
|
&BEP&-W030.n.t
|
Поперечное расстояние до ближайшей точки
объекта,
установленного на шасси
|
3
|
|
&BEP&-W031.n.t
|
Поперечное расстояние до наиболее удаленной
точки
объекта, установленного на шасси
|
3
|
|
&BEP&-L032
|
Длина рамы от центра первой передней
оси
|
3
|
|
&BEP&-L033
|
Минимальная длина рамы от центра первой
передней
оси
|
3
|
|
&BEP&-L034
|
Расположение передней кромки передней
поперечины
рамы
|
3
|
|
&BEP&-L035
|
Расположение задней кромки задней поперечины
рамы
|
3
|
|
&BEP&-H032.n
|
Высота профиля бокового лонжерона рамы
|
3
|
|
&BEP&-H033.n
|
Толщина нижней полки бокового лонжерона
|
3
|
|
&BEP&-H034.n
|
Толщина верхней полки бокового
лонжерона
|
3
|
|
&BEP&-W032.n
|
Ширина нижней полки бокового лонжерона
|
3
|
|
&BEP&-W033.n
|
Ширина верхней полки бокового лонжерона
|
3
|
|
&BEP&-W034.n
|
Толщина стенки бокового лонжерона
|
3
|
|
&BEP&-L036.n.t
|
Расстояние до передней кромки n-й
передней
промежуточной поперечины рамы
|
3
|
|
&BEP&-L037.n.t
|
Расстояние до передней кромки n-й
задней
промежуточной поперечины рамы
|
3
|
|
&BEP&-L038.n.t
|
Расстояние до группы отверстий в передней
части
рамы
|
3
|
|
&BEP&-L039.n.t
|
Расстояние до группы отверстий в задней
части
рамы
|
3
|
|
&BEP&-L040.n
|
Начало запретной зоны на раме
|
3
|
|
&BEP&-L041.n
|
Окончание запретной зоны на раме
|
3
|
|
&BEP&-L042.n
|
Расстояние от центра первой передней оси до
n-го
изгиба рамы
|
3
|
|
&BEP&-W035
|
Ширина рамы в передней части
транспортного
средства
|
3
|
|
&BEP&-W036
|
Ширина рамы в задней части транспортного
средства
|
3
|
|
&BEP&-H035
|
Высота рамы над первой передней осью
(без нагрузки)
|
3
|
|
&BEP&-H036
|
Высота рамы над первой передней осью
(под нагрузкой)
|
3
|
|
&BEP&-H037
|
Высота рамы над первой задней ведущей
осью
(без нагрузки)
|
3
|
|
&BEP&-H038
|
Высота рамы над первой задней ведущей
осью
(под нагрузкой)
|
3
|
|
&BEP&-H039
|
Высота рамы над теоретическим центром
комбинации
задних осей (без нагрузки)
|
3
|
|
&BEP&-H040
|
Высота рамы над теоретическим центром
комбинации
задних осей (под нагрузкой)
|
3
|
|
&BEP&-H041.n
|
Расстояние от центра колеса до рамы
|
3
|
|
&BEP&-H042.n
|
Расстояние от верхней точки
подрессоренного
колеса до рамы
|
3
|
|
&BEP&-L043.n
|
Продольное расположение механизма отбора
мощности
|
3
|
|
&BEP&-H043.n
|
Вертикальное расположение отбора
мощности
|
3
|
|
&BEP&-W043.n
|
Расположение механизма отбора мощности по
ширине
|
3
|
|
&BEP&-L044
|
Центр масс шасси, продольное
расположение
|
3
|
|
&BEP&-H044
|
Центр масс шасси, высота расположения
|
3
|
|
&BEP&-W044
|
Центр масс шасси, боковое расположение
|
3
|
|
&BEP&-L045
|
Продольное расположение шкворня
сцепного
устройства
|
3
|
|
&BEP&-H045
|
Вертикальное расположение шкворня
сцепного
устройства
|
3
|
|
&BEP&-H046
|
Ход сжатия переднего колеса
|
3
|
|
&BEP&-H047
|
Ход отбоя переднего колеса
|
3
|
|
&BEP&-H048
|
Ход сжатия заднего колеса
|
3
|
|
&BEP&-H049
|
Ход отбоя заднего колеса
|
3
|
|
&BEP&-L046.n
|
Продольное расстояние до начала зоны
доступности
|
3
|
|
&BEP&-L047.n
|
Продольное расстояние до конца зоны
доступности
|
3
|
|
&BEP&-L048.n
|
Начало n-го бокового лонжерона рамы
|
3
|
|
&BEP&-L049.n
|
Конец n-го бокового лонжерона рамы
|
3
|
|
&BEP&-L050.n
|
Начало n-го усиливающего элемента рамы
|
3
|
|
&BEP&-L051.n
|
Конец n-го усиливающего элемента рамы
|
3
|
|
&BEP&-H052.n
|
Высота профиля усиливающего элемента
рамы
|
3
|
|
&BEP&-H053.n
|
Толщина нижней полки профиля
усиливающего
элемента рамы
|
3
|
|
&BEP&-H054.n
|
Толщина верхней полки профиля
усиливающего
элемента рамы
|
3
|
|
&BEP&-H055.n
|
Расстояние по вертикали от усиливающего
элемента
рамы до нижней кромки рамы
|
3
|
|
&BEP&-W052.n
|
Ширина нижней полки профиля усиливающего
элемента
рамы
|
3
|
|
&BEP&-W053.n
|
Ширина верхней полки профиля
усиливающего
элемента рамы
|
3
|
|
&BEP&-W054.n
|
Толщина стойки профиля усиливающего элемента
рамы
|
3
|
|
&BEP&-L060
|
Угол откидывания кабины
|
3
|
|
&BEP&-L061
|
Расстояние от первой передней оси до
передней
точки кабины, находящейся в откинутом положении
|
3
|
|
&BEP&-L062
|
Продольное расположение оси шарнира
откидывания
кабины
|
3
|
|
&BEP&-H060
|
Вертикальное расположение оси шарнира
откидывания
кабины
|
3
|
|
&BEP&-H061
|
Максимальная высота шасси при откинутой
кабине
|
3
|
|
&BEP&-H062
|
Радиус откидывания кабины
|
3
|
|
&BEP&-H063
|
Высота от верхней кромки рамы до верхней
точки
кабины
|
3
|
|
&BEP&-L063
|
Окончание кабины
|
3
|
|
&BEP&-L064.n
|
Окончание элемента, соединенного с
кабиной
|
3
|
|
&BEP&-L070.n.t
|
Расстояние до n-й передней поперечины
подрамника
|
4
|
|
&BEP&-L071.n.t
|
Расстояние до n-й задней поперечины
подрамника
|
4
|
|
&BEP&-H070
|
Высота подрамника
|
4
|
|
&BEP&-L072
|
Расстояние от передней оси до центра
седельно-
сцепного устройства в переднем положении
|
4
|
|
&BEP&-L073
|
Расстояние от передней оси до центра
седельно-
сцепного устройства, номинальное
|
4
|
|
&BEP&-L074
|
Расстояние от передней оси до центра
седельно-
сцепного устройства в заднем положении
|
4
|
|
&BEP&-L075
|
Расстояние от задней оси до центра
седельно-
сцепного устройства в переднем положении
|
4
|
|
&BEP&-L076
|
Расстояние от задней оси до центра
седельно-
сцепного устройства, номинальное
|
4
|
|
&BEP&-L077
|
Расстояние от задней оси до центра
седельно-
сцепного устройства в заднем положении
|
4
|
|
&BEP&-H071
|
Высота подрамника седельно-сцепного
устройства
|
4
|
|
&BEP&-H072
|
Высота подрамника седельно-сцепного
устройства
над опорной поверхностью без нагрузки
|
4
|
|
&BEP&-H073
|
Высота подрамника седельно-сцепного
устройства
над опорной поверхностью под нагрузкой
|
4
|
|
&BEP&-H074
|
Максимальная высота седельно-сцепного
устройства
|
4
|
|
&BEP&-H075
|
Минимальная высота седельно-сцепного
устройства
|
4
|
|
&BEP&-H076
|
Максимальная высота седла над опорной
поверхностью без нагрузки
|
4
|
|
&BEP&-H077
|
Минимальная высота седла над опорной
поверхностью
без нагрузки
|
4
|
|
&BEP&-H078
|
Максимальная высота седла над опорной
поверхностью с нагрузкой
|
4
|
|
&BEP&-H079
|
Минимальная высота седла над опорной
поверхностью
с нагрузкой
|
4
|
|
&BEP&-L078
|
Расстояние от оси сцепного шкворня
седла
до кабины
|
4
|
|
&BEP&-L079
|
Расстояние от оси сцепного шкворня
седла
до наиболее удаленной от нее задней точки тягача
|
4
|
|
&BEP&-L100
|
Длина надстройки
|
5
|
|
&BEP&-L101
|
Внутренняя длина надстройки
|
5
|
|
&BEP&-L102
|
Расстояние от первой передней оси до
надстройки
|
5
|
|
&BEP&-H100
|
Высота пола надстройки над верхней кромкой
шасси
|
5
|
|
&BEP&-W100
|
Наружная ширина надстройки
|
5
|
|
&BEP&-W101
|
Внутренняя ширина надстройки
|
5
|
|
&BEP&-W102.n
|
Ширина доступа в грузовое помещение
|
5
|
|
&BEP&-H101
|
Внутренняя высота надстройки
|
5
|
|
&BEP&-H102.n
|
Высота доступа в грузовое помещение
|
5
|
|
&BEP&-H103
|
Центр масс надстройки, наиболее низкое
положение
|
5
|
|
&BEP&-H104
|
Центр масс надстройки, наиболее высокое положение
|
5
|
|
&BEP&-L103
|
Центр масс надстройки, самое переднее
положение
|
5
|
|
&BEP&-L104
|
Центр масс надстройки, самое заднее
положение
|
5
|
|
&BEP&-L105
|
Максимальная длина надстройки
|
5
|
|
&BEP&-L06.n
|
Положение центра масс элемента
оборудования,
входящего в надстройку
|
5
|
БИБЛИОГРАФИЯ
[1]
Международный стандарт ИСО 612:1978. Транспорт дорожный. Размеры автомобилей и
тягачей с прицепами. Термины и определения
Road vehicles; Dimensions of motor vehicles and towed vehicles; Terms
and definitions.