Поиск по базе документов:

Бесплатное обучение по алготрейдингу на Python и Backtrader

 

Утвержден и введен в действие

Приказом Ростехрегулирования

от 30 ноября 2007 г. N 349-ст

 

НАЦИОНАЛЬНЫЙ СТАНДАРТ РОССИЙСКОЙ ФЕДЕРАЦИИ

 

ИНСТРУМЕНТ ШАРНИРНО-ГУБЦЕВЫЙ

 

ТРЕБОВАНИЯ БЕЗОПАСНОСТИ И МЕТОДЫ ИСПЫТАНИЙ

 

Hinge and pliers tools.

Safety requirements and methods of test

 

ГОСТ Р 52786-2007

 

Группа Г24

 

ОКС 25.140.30;

ОКП 39 2640

 

Дата введения

1 января 2009 года

 

Предисловие

 

Цели и принципы стандартизации в Российской Федерации установлены Федеральным законом от 27 декабря 2002 г. N 184-ФЗ "О техническом регулировании", а правила применения национальных стандартов Российской Федерации - ГОСТ Р 1.0-2004 "Стандартизация в Российской Федерации. Основные положения".

 

Сведения о стандарте

 

1. Разработан Открытым акционерным обществом "ВНИИИНСТРУМЕНТ" (ОАО "ВНИИИНСТРУМЕНТ").

2. Внесен Техническим комитетом по стандартизации ТК 95 "Инструмент".

3. Утвержден и введен в действие Приказом Федерального агентства по техническому регулированию и метрологии от 30 ноября 2007 г. N 349-ст.

4. В настоящем стандарте учтены основные нормативные положения международных стандартов:

ИСО 5744:2004 "Плоскогубцы и острогубцы. Методы испытаний" (ISO 5744-2004 "Pliers and nippers - Methods of test", NEQ);

ИСО 5745:2004 "Плоскогубцы и острогубцы. Плоскогубцы для зажима и манипулирования. Размеры и величины нагрузок при испытаниях" (ISO 5745-2004 "Pliers and nippers - Pliers for gripping and manipulation - Dimensions and test values", NEQ).

5. Введен впервые.

 

1. Область применения

 

Настоящий стандарт распространяется на шарнирно-губцевый инструмент, предназначенный для захвата, зажима, манипулирования деталей разных форм и перекусывания проволоки, и устанавливает требования безопасности и методы испытаний.

Стандарт не распространяется на переставные, комбинированные, регулируемые плоскогубцы и кусачки, а также на шарнирно-губцевый инструмент, изготовляемый из материалов, предназначенных для работы во взрывоопасных условиях, и не определяет изоляционные или антистатические характеристики покрытий рукояток.

 

2. Нормативные ссылки

 

В настоящем стандарте использованы нормативные ссылки на следующие стандарты:

ГОСТ 9.032-74. Единая система защиты от коррозии и старения. Покрытия лакокрасочные. Группы, технические требования и обозначения

ГОСТ 9.301-86. Единая система защиты от коррозии и старения. Покрытия металлические и неметаллические неорганические. Общие требования

ГОСТ 9.302-88. Единая система защиты от коррозии и старения. Покрытия лакокрасочные. Покрытия металлические и неметаллические неорганические. Методы контроля

ГОСТ 1050-88. Прокат сортовой, калиброванный, со специальной отделкой поверхности из углеродистой качественной конструкционной стали. Общие технические условия

ГОСТ 3282-74. Проволока стальная низкоуглеродистая общего назначения. Технические условия

ГОСТ 9013-59 (ИСО 6508-86). Металлы. Метод измерения твердости по Роквеллу

ГОСТ 9378-93 (ИСО 2632-1-85, ИСО 2632-2-85). Образцы шероховатости поверхности (сравнения). Общие технические условия

ГОСТ 17305-91. Проволока из углеродистой конструкционной стали. Технические условия.

Примечание. При пользовании настоящим стандартом целесообразно проверить действие ссылочных стандартов в информационной системе общего пользования - на официальном сайте Федерального агентства по техническому регулированию и метрологии в сети Интернет или по ежегодно издаваемому информационному указателю "Национальные стандарты", который опубликован по состоянию на 1 января текущего года, и по соответствующим ежемесячно издаваемым информационным указателям, опубликованным в текущем году. Если ссылочный стандарт заменен (изменен), то при пользовании настоящим стандартом следует руководствоваться заменяющим (измененным) стандартом. Если ссылочный стандарт отменен без замены, то положение, в котором дана ссылка на него, применяется в части, не затрагивающей эту ссылку.

 

3. Методы контроля

 

3.1. Размеры шарнирно-губцевого инструмента проверяют универсальными или специальными средствами измерения.

3.2. Шероховатость поверхностей проверяют сравнением с образцами шероховатости по ГОСТ 9378 или профилометрами (профилографами).

3.3. Проверка твердости - по ГОСТ 9013.

3.4. Качество гальванических покрытий проверяют по ГОСТ 9.301 и ГОСТ 9.302, лакокрасочных покрытий - по ГОСТ 9.032.

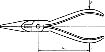
3.5. Усилие F для раскрытия губок шарнирно-губцевого инструмента проверяют приложением нагрузки 9,8 Н к рукояткам в местах наибольшего расстояния между ними, определяемым размером , приведенным на рисунке 1.

 

 

Рисунок 1

 

4. Методы испытаний

 

4.1. Шарнирно-губцевый инструмент испытывают:

- на прочность рукояток;

- кручение;

- перекусывание.

4.2. Испытания на прочность рукояток

4.2.1. Испытания шарнирно-губцевого инструмента на прочность рукояток проводят приложением нагрузки F в местах наибольшего расстояния между рукоятками на расстоянии  от оси шарнира.

4.2.2. Для испытаний между вершинами губок шарнирно-губцевого инструмента вставляют образец, обеспечивающий зазор (3 +/- 1) мм. Размеры и профиль образца должны обеспечивать контакт на длине (8 +/- 1) мм от вершины губок. Образец для испытаний должен иметь твердость 30 - 40 HRC.

4.2.3. Первоначально к рукояткам прикладывают нагрузку 50 Н и измеряют расстояние между рукоятками , увеличивают нагрузку до усилия F, затем уменьшают до 50 Н. Нагрузка должна быть приложена 4 раза. После этого повторно измеряют расстояние между рукоятками  на том же расстоянии . Разница между первым и вторым измерениями не должна превышать максимального значения остаточной деформации

 

.

 

Примечание. Если испытание рукояток на прочность невозможно проводить на расстоянии  от оси шарнира, выбирают другое расстояние  и пересчитывают прилагаемую нагрузку F' по формуле

 

,

 

где F и  - из таблиц 1 - 3 на соответствующий инструмент.

 

Таблица 1

 

Плоскогубцы, круглогубцы

 

                                             Размеры в миллиметрах

┌───────────┬───────┬───────┬──────────────┬─────────────────────┐

    Тип       L      L   │Нагрузка F, Н,│Остаточная деформация│

                      1     не более        S, не более    

├───────────┼───────┼───────┼──────────────┼─────────────────────┤

│С короткими│  125     63       630               0,5        

│губками    ├───────┼───────┼──────────────┼─────────────────────┤

             140     71       710               1,0        

           ├───────┼───────┼──────────────┤                    

             160     80       800                          

           ├───────┼───────┼──────────────┤                    

             180     90       900                          

├───────────┼───────┼───────┼──────────────┤                    

│С длинными │  140     63       630                          

│губками    ├───────┼───────┼──────────────┤                    

             160     71       710                          

           ├───────┼───────┼──────────────┤                    

             180     80       800                          

└───────────┴───────┴───────┴──────────────┴─────────────────────┘

 

Таблица 2

 

Плоскогубцы с полукруглыми губками

 

                                             Размеры в миллиметрах

┌───────┬────────┬──────────────────────┬────────────────────────┐

   L      L        Нагрузка F, Н,    │Остаточная деформация S,│

           1          не более               не более       

├───────┼────────┼──────────────────────┼────────────────────────┤

  125     56            560                     1           

├───────┼────────┼──────────────────────┤                       

 140     63            630                                 

├───────┼────────┼──────────────────────┤                       

  160     71            710                                 

├───────┼────────┼──────────────────────┤                        

  180     80            800                                 

├───────┼────────┼──────────────────────┤                       

  200     90            900                                 

└───────┴────────┴──────────────────────┴────────────────────────┘

 

Таблица 3

 

Пассатижи

 

                                             Размеры в миллиметрах

┌───────┬────────┬──────────────────────┬────────────────────────┐

   L      L        Нагрузка F, Н,    │Остаточная деформация S,│

           1          не более               не более       

├───────┼────────┼──────────────────────┼────────────────────────┤

  160     80            1120                    1           

├───────┼────────┼──────────────────────┤                        

  180     90            1260                                

├───────┼────────┼──────────────────────┤                       

  200    100            1400                                

├───────┼────────┼──────────────────────┤                       

  250    125            1550                                

├───────┼────────┼──────────────────────┤                       

  300    150            1550                                

└───────┴────────┴──────────────────────┴────────────────────────┘

 

4.2.4. Размеры , значения нагрузок F и остаточной деформации S должны соответствовать указанным на рисунке 2 и в таблицах 1 - 3.

 

 

1 - образец для испытания; 2 - ось шарнира

 

Рисунок 2

 

4.2.5. После испытания не должно быть деформации инструмента, влияющей на его использование по назначению.

4.3. Испытания на кручение

4.3.1. Испытаниям на кручение подвергают плоскогубцы, пассатижи и круглогубцы.

4.3.2. При испытаниях на кручение плоскогубцев и пассатижей плоской зажимной поверхностью захватывают образец - пластину толщиной (3,0 +/- 0,1) мм, шириной (12 +/- 1) мм, при испытаниях круглогубцев вершинами губок захватывают образец с двумя отверстиями диаметром (4,0 +/- 0,1) мм, глубиной (3,0 +/- 0,1) мм, имеющий плоское дно.

Образцы должны иметь твердость 45 - 50 HRC.

4.3.3. К рукояткам прикладывают сжимающую нагрузку 50 Н на расстоянии  от оси шарнира для того, чтобы противодействовать крутящему моменту. Крутящий момент T прикладывают в обоих направлениях.

4.3.4. Значения крутящего момента и допустимого угла поворота  приведены для плоскогубцев и пассатижей - на рисунке 3 и в таблицах 4 и 5; для круглогубцев - на рисунке 4 и в таблице 6.

 

 

1 - образец для испытания; 2 - ось шарнира

 

Рисунок 3

 

Таблица 4

 

Плоскогубцы

 

                                             Размеры в миллиметрах

┌───────────┬───┬────┬──────────────────┬────────────────────────┐

    Тип    │ L │ L  │Крутящий момент T,│Допустимый угол поворота│

                1 │ Н x м, не более      альфа, не более    

├───────────┼───┼────┼──────────────────┼────────────────────────┤

│С короткими│125│ 63 │        4                 +/- 20°        

│губками    ├───┼────┼──────────────────┤                       

           │140│ 71 │        5                                

           ├───┼────┼──────────────────┤                       

           │160│ 80 │        6                                

           ├───┼────┼──────────────────┤                       

           │180│ 90 │        7                                

├───────────┼───┼────┼──────────────────┤                       

│С длинными │140│ 63 │        -                                

│губками    ├───┼────┼──────────────────┤                       

           │160│ 71 │        -                                

           ├───┼────┼──────────────────┤                       

           │180│ 80 │        -                                

└───────────┴───┴────┴──────────────────┴────────────────────────┘

 

Таблица 5

 

Пассатижи

 

                                             Размеры в миллиметрах

┌─────────┬──────────┬──────────────────┬────────────────────────┐

    L        L     │Крутящий момент T,│Допустимый угол поворота│

              1    │ Н x м, не более      альфа, не более    

├─────────┼──────────┼──────────────────┼────────────────────────┤

   160       80            20                +/- 15°        

├─────────┼──────────┼──────────────────┤                       

   180       90            25                               

├─────────┼──────────┤                                         

   200      100                                             

├─────────┼──────────┤                                          

   250      125                                             

├─────────┼──────────┤                                         

   300      150                                             

└─────────┴──────────┴──────────────────┴────────────────────────┘

 

 

1 - образец для испытаний; 2 - ось шарнира

 

Рисунок 4

 

Таблица 6

 

Круглогубцы

 

                                             Размеры в миллиметрах

┌───────────┬───┬────┬──────────────────┬────────────────────────┐

    Тип    │ L │ L  │Крутящий момент T,│Допустимый угол поворота│

                1 │ Н x м, не более      альфа, не более    

├───────────┼───┼────┼──────────────────┼────────────────────────┤

│С короткими│125│ 63 │       0,5                +/- 20°        

│губками    ├───┼────┼──────────────────┤                       

           │140│ 71 │       1                                 

           ├───┼────┼──────────────────┤                       

           │160│ 80 │       1,25                              

├───────────┼───┼────┼──────────────────┼────────────────────────┤

│С длинными │140│ 63 │       0,25               +/- 25°        

│губками    ├───┼────┼──────────────────┤                        

           │160│ 71 │       0,5                               

           ├───┼────┼──────────────────┤                       

           │180│ 80 │       1                                 

└───────────┴───┴────┴──────────────────┴────────────────────────┘

 

4.3.5. Любое ослабление шарнира или остаточная деформация губок, являющиеся результатом испытаний, не должны влиять на использование инструмента по назначению.

4.4. Испытания на перекусывание

4.4.1. Испытанию на перекусывание подвергают плоскогубцы с полукруглыми губками с режущими кромками.

4.4.2. Испытания на перекусывание проводят на проволоке средней твердости диаметром 1,6 мм и прочностью на растяжение 1600 МПа.

4.4.3. Перед испытанием необходимо провести калибровку проволоки, схема которой приведена на рисунке 5.

 

 

1 - калибруемая проволока; 2 - твердосплавный резец

 

Рисунок 5

 

Для этого устанавливают в испытательное оборудование два твердосплавных резца, кромки которых заточены под углом (60° +/- 1°), с радиусом закругления при вершине 0,3 мм, причем режущие кромки должны быть параллельны друг другу и расположены под прямым углом к проволоке для испытаний, и фиксируют силу, необходимую для перекусывания.

Среднее значение трех измерений должно соответствовать значению .

4.4.4. Для испытания на перекусывание проволоку вставляют в губки плоскогубцев с полукруглыми губками на расстоянии  от оси шарнира и прикладывают силу  к рукояткам в точках на расстоянии , приведенным на рисунке 6. При этом сила  не должна превышать значений, указанных в таблице 7.

 

 

Рисунок 6

 

Таблица 7

 

                                             Размеры в миллиметрах

┌──────────┬──────────┬──────────┬─────────────────┬─────────────┐

    L          L         L    │Диаметр проволоки│ Нагрузка F ,│

                1         2      D, не более              1 │

                                               │ Н, не более │

├──────────┼──────────┼──────────┼─────────────────┼─────────────┤

   125        56       10,5          1,6           550     

├──────────┼──────────┼──────────┤                 ├─────────────┤

   140        63       12,5                        570     

├──────────┼──────────┼──────────┤                             

   160        71        14                                 

├──────────┼──────────┼──────────┤                             

   180        80        16                                 

├──────────┼──────────┼──────────┤                             

   200        90        18                                 

└──────────┴──────────┴──────────┴─────────────────┴─────────────┘

 

4.4.5. После испытаний на режущих кромках не должно быть зазубривания и других дефектов, влияющих на работоспособность.

Примечание. Для плоскогубцев, имеющих другое соотношение рычагов ( и ), отличающееся от данных, приведенных в таблице 7, проводится пересчет наибольшей нагрузки перекусывания  по формуле

 

,

 

где A - поправочный коэффициент, равный 1,6 для проволоки средней твердости;

- нагрузка, равная (1800 +/- 90) Н.

 

4.4.6. После испытаний шарнирно-губцевый инструмент должен быть способен перекусывать мягкую медную, медно-оловянную или бронзовую проволоку с прочностью на растяжение от 740 до 830 МПа диаметром 1 мм и длиной 25 мм.

Проволока должна быть расположена перпендикулярно к режущим кромкам плоскогубцев, должна поддерживаться только губками и перекусываться усилием руки полностью без смятия и изгиба.

 

5. Требования безопасности

 

5.1. Шарнирно-губцевый инструмент не должен иметь острых кромок (кроме режущих) в зонах захвата и рядом с ними.

5.2. Шарнирно-губцевый инструмент с видимыми трещинами использовать в работе не допускается.

5.3. Конструкцией шарнирно-губцевого инструмента должен быть исключен риск защемления отдельных частей тела при применении инструмента.

5.4. Шарнирно-губцевый инструмент считается безопасным, если он выдерживает испытания на прочность рукояток, на кручение и перекусывание, регламентированные настоящим стандартом.

 

 





ТЕХНОРМАТИВЫ ДЛЯ СТРОИТЕЛЕЙ И ПРОЕКТИРОВЩИКОВ

Яндекс цитирования


Copyright © www.docstroika.ru, 2013 - 2026