Утвержден и введен в
действие
Приказом Ростехрегулирования
от 28 декабря 2005
г. N 433-ст
НАЦИОНАЛЬНЫЙ СТАНДАРТ РОССИЙСКОЙ ФЕДЕРАЦИИ
ЭЛЕКТРООБОРУДОВАНИЕ ДЛЯ ВЗРЫВООПАСНЫХ ГАЗОВЫХ СРЕД
ЧАСТЬ 1
ВЗРЫВОНЕПРОНИЦАЕМЫЕ ОБОЛОЧКИ "d"
IEC 60079-1:2003
Electrical
apparatus for explosive gas atmospheres.
Part 1: Flameproof enclosures
"d"
(IDT)
ГОСТ Р 52350.1-2005
(МЭК 60079-1:2003)
Группа Е02
ОКС 29.260.20;
ОКСТУ 3402
Дата введения
1 января 2007 года
Предисловие
Цели и принципы
стандартизации в Российской Федерации установлены Федеральным законом от 27
декабря 2002 г. N 184-ФЗ "О техническом регулировании", а правила
применения национальных стандартов Российской Федерации - ГОСТ 1.0-2004
"Стандартизация в Российской Федерации. Основные положения".
Сведения о
стандарте
1. Подготовлен Автономной некоммерческой национальной
организацией "Ex-стандарт" (АННО "Ex-стандарт").
2. Внесен Техническим комитетом по стандартизации ТК 403
"Взрывозащищенное и рудничное электрооборудование".
3. Утвержден и
введен в действие Приказом Федерального агентства по техническому регулированию
и метрологии от 28 декабря 2005 г. N 433-ст.
4. Настоящий
стандарт идентичен международному стандарту МЭК 60079-1:2003
"Электрооборудование для взрывоопасных газовых сред. Часть 1. Взрывонепроницаемые оболочки "d" (IEC
60079-1:2003 "Electrical apparatus for explosive gas atmospheres - Part 1: Flameproof enclosures
"d").
При применении
настоящего стандарта рекомендуется использовать вместо ссылочных международных
стандартов соответствующие им национальные стандарты Российской Федерации,
сведения о которых приведены в Приложении F.
5. Введен впервые.
Введение
Стандарт разработан
для обеспечения Федерального закона "О промышленной безопасности опасных
производственных объектов".
Стандарт МЭК
60079-1 (пятое издание), на основе которого разработан настоящий стандарт,
включен в международную систему сертификации МЭК Ex и
европейскую систему сертификации на основе Директивы 94/9 ЕС.
Настоящий стандарт
полностью повторяет нумерацию и наименования пунктов, а также гарнитуру текста
стандарта МЭК 60079-1.
Для нормативного
обеспечения данного вида взрывозащиты следует использовать
совместно ГОСТ Р 51330.1-99 (МЭК 60079-1:98) и
настоящий стандарт.
1. Область
применения
Настоящий стандарт
устанавливает специальные требования к созданию и испытанию электрооборудования
с видом взрывозащиты "Взрывонепроницаемые
оболочки "d", предназначенного для использования во взрывоопасных
газовых средах.
Стандарт является
одним из серии стандартов, устанавливающих требования к видам взрывозащиты. Требования стандарта распространяются на
электрооборудование, применяемое во взрывоопасных средах с видом взрывозащиты "Взрывонепроницаемые оболочки
"d", в которых смеси воздуха и газов, паров или туманов могут
образовывать взрывоопасную газовую среду при нормальных атмосферных условиях.
Стандарт
предназначен для нормативного обеспечения обязательной сертификации и
испытаний.
Установленные
стандартом требования обеспечивают безопасность применения взрывозащищенного
электрооборудования с видом взрывозащиты
"Взрывонепроницаемые оболочки "d" на опасных производственных
объектах в угольной, газовой, нефтяной, нефтеперерабатывающей и других отраслях
промышленности.
2.
Нормативные ссылки
Документы, на
которые сделаны ссылки, обязательны при использовании настоящего стандарта. Для
датированных ссылок применяют только указанное издание. Для недатированных ссылок
применяют последнее издание указанного документа (со всеми поправками).
МЭК 60034-1:1996.
Вращающиеся электрические машины - Часть 1: Номинальные и рабочие
характеристики
МЭК 60061 (все
части). Ламповые цоколи и патроны, а также калибры для проверки их
взаимозаменяемости и надежности
МЭК 60079-0:1998.
Электрооборудование для взрывоопасных газовых сред - Часть 0: Общие требования
МЭК 60079-1-1:2002.
Электрооборудование для взрывоопасных газовых сред - Часть 1-1:
Взрывонепроницаемые оболочки "d" - Метод испытания для определения
безопасного экспериментального максимального зазора
МЭК 60079-7:2001.
Электрооборудование для взрывоопасных газовых сред - Часть 7: Повышенная защита
вида "е"
МЭК 60079-11:1999.
Электрооборудование для взрывоопасных газовых сред - Часть 11: Искробезопасная
электрическая цепь "i"
МЭК 60086-1:2000.
Батареи первичные - Часть 1: Общие положения
МЭК 60112:1979.
Материалы электроизоляционные твердые. Методы определения нормативного и
сравнительного индексов трекингостойкости
МЭК 60127 (все
части). Предохранители плавкие миниатюрные
МЭК 60529:1989.
Степени защиты, обеспечиваемые оболочками (Код IP)
МЭК 60707:1981.
Материалы твердые неметаллические. Перечень методов определения горючести под
воздействием источника воспламенения
ИСО 185:1988. Серый
чугун - Классификация
ИСО 965-1:1998.
Резьбы ИСО метрические общего назначения. Допуски. Часть 1. Принципы и основные
данные
ИСО 965-3:1998.
Резьбы ИСО метрические общего назначения. Допуски. Часть 3. Отклонения для конструкционных резьб
ИСО 1210:1982.
Пластмассы. Определение характеристик горения горизонтально и вертикально
расположенных образцов, находящихся в контакте с небольшим пламенем
ИСО 2738:1999.
Материалы металлокерамические, кроме твердых сплавов. Проницаемые
металлокерамические материалы. Определение плотности, содержания масла и
открытой пористости
ИСО 4003:1977.
Материалы металлокерамические проницаемые. Определение размера пор путем
пропускания газа и замера пузырьков в жидкости
ИСО 4022:1987.
Материалы металлокерамические проницаемые. Определение проницаемости для
жидкостей
ИСО 6892:1998.
Материалы металлические. Испытания на растяжение при температуре окружающей
среды
ANSI/ASME
B1.20.1-1983 (R2001). Трубные резьбы (дюймовые) общего назначения.
3. Термины
и определения
В настоящем
стандарте применены термины по МЭК 60079-0, а также следующие термины с
соответствующими определениями:
3.1.
Взрывонепроницаемая оболочка "d" (flameproof
enclosure "d"): оболочка, в которой
заключенные в нее части способны воспламенять взрывоопасную газовую среду и
которая способна выдерживать давление внутреннего взрыва воспламенившейся смеси
без повреждения и передачи воспламенения в окружающую взрывоопасную газовую
среду.
3.2. Объем оболочки
(volume): общий внутренний объем оболочки.
Примечания. 1. Для
светильников объем определяют без лампы светильника.
2. Если оболочка
содержит встроенные элементы, то объемом оболочки считается оставшийся
свободным объем.
3.3.
Взрывонепроницаемое соединение (flameproof joint): соединение поверхностей двух частей оболочки или
соединение оболочек, выполненное таким образом, что оно предотвращает
распространение внутреннего взрыва во взрывоопасную газовую среду, окружающую
оболочку.
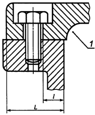
3.4. Длина
взрывонепроницаемого соединения L (width of flameproof joint
L): кратчайшее расстояние по взрывонепроницаемому соединению от внутренней
части взрывонепроницаемой оболочки до ее наружной части.
3.5. Длина до
отверстия l (distance l): кратчайшее расстояние по
взрывонепроницаемому соединению до отверстия, прерывающего длину соединения L,
и предназначенное для крепежных деталей для сборки частей взрывонепроницаемой
оболочки.
3.6. Зазор
взрывонепроницаемого соединения i (gap of flameproof joint
i): расстояние между соответствующими поверхностями взрывонепроницаемого
соединения.
Примечание. Для
цилиндрических поверхностей, образующих цилиндрические соединения, зазор - это
разность между двумя диаметрами (диаметральный зазор).
3.7. Безопасный
экспериментальный максимальный зазор (для взрывоопасной смеси) БЭМЗ (maximum experimental safe gap (for
explosive mixture) MESG):
максимальный зазор соединения длиной 25 мм, предотвращающий передачу взрыва,
при проведении десяти испытаний в условиях, указанных в МЭК 60079-1-1.
3.8. Вал (shaft): деталь круглого поперечного сечения, применяемая для
передачи вращательного движения.
3.9. Тяга или валик
управления (operating rod):
деталь, применяемая для передачи движений управления, которые могут быть
вращательными или поступательными, или сочетанием обоих.
3.10. Поджатие (pressure-piling): повышение давления газовой смеси в отсеке
или отделении оболочки, в результате ее первоначального воспламенения в другом
отсеке или отделении оболочки.
3.11. Быстрооткрываемая крышка или дверь (quick-acting
door or cover):
крышка или дверь, снабженная устройством для открывания и закрывания простым
действием (движение рычага или вращение колеса).
Примечание.
Устройство сконструировано таким образом, что действие происходит в две стадии:
запирание или отпирание, открывание или закрывание.
3.12. Крышка или
дверь, зафиксированная резьбовыми крепежными деталями (door
or cover fixed by threaded
fasteners): крышка или дверь, при открытии или
закрытии которой используют одну или несколько резьбовых крепежных деталей
(винтов, шпилек, болтов или гаек).
3.13. Резьбовая
крышка или дверь (threaded door
or cover): крышка или
дверь, которая монтируется во взрывонепроницаемой оболочке с помощью резьбового
взрывонепроницаемого соединения.
3.14. Разгрузочное
(дыхательное) устройство (breathing device): составная или отделяемая часть взрывонепроницаемой
оболочки, сконструированная таким образом, чтобы обеспечить обмен между средой
внутри оболочки и окружающей средой.
3.15. Дренажное
(сливное) устройство (draining device):
составная или отделяемая часть взрывонепроницаемой оболочки, обеспечивающая
вытекание водяного конденсата из оболочки.
3.16. Ex-заглушка (Ex blanking element): резьбовая
заглушка, испытываемая отдельно от оболочки электрооборудования, но
сертифицируемая в составе оборудования.
Примечания. 1. Это
не исключает сертификацию заглушек как Ex-компонентов,
в соответствии с МЭК 60079-0. Примеры Ex-заглушек
приведены на рисунке 22.
2. Нерезьбовые заглушки не являются Ex-заглушками.
3.17. Ex-резьбовой переходник (Ex thread adapter): резьбовой
переходник, испытываемый отдельно от оболочки электрооборудования, но
сертифицируемый в составе оборудования.
Примечание. Это не
исключает сертификацию резьбовых переходников как Ex-компонентов,
в соответствии с МЭК 60079-0. Примеры резьбовых Ex-переходников приведены на рисунке С.2.
4. Классификация
электрооборудования
по группам и
температурным классам
Классификация
электрооборудования по группам и температурным классам, принятая в МЭК 60079-0
для применения взрывозащищенного электрооборудования во взрывоопасных газовых
средах, применима к взрывозащищенным оболочкам. Также применимы подгруппы А, В и С для электрооборудования группы II.
5. Взрывонепроницаемые соединения
5.1. Общие
требования
Все
взрывонепроницаемые соединения, как постоянно закрытые, так и сконструированные
для периодического открывания, в отсутствие избыточного давления должны
удовлетворять следующим требованиям.
Конструкция
взрывонепроницаемых соединений должна соответствовать применяемым к ней
механическим требованиям.
Параметры
взрывонепроницаемых соединений, указанные в таблицах 1, 2, 3 и 4, составляют
минимально необходимые условия для взрывонепроницаемости
соединений. Согласно требованиям п. 15.2 при проведении испытаний на взрывонепроницаемость эти параметры могут быть изменены.
Поверхности
взрывонепроницаемых соединений могут иметь антикоррозийное покрытие.
Покрытие поверхностей,
образующих взрывонепроницаемые соединения, краской или лаком не допускается.
Может быть использован другой материал, если материал и применяемая процедура
покрытия не нарушают вид взрывозащиты соединений.
Поверхности
взрывонепроницаемых соединений до их сборки могут быть покрыты консистентной
смазкой, препятствующей образованию коррозии. Если такую смазку применяют, то
она не должна быть затвердевающей вследствие старения, содержать испаряемые
растворители и вызывать коррозию поверхностей соединений.
Поверхности
взрывонепроницаемых соединений могут иметь гальванические покрытия. Толщина
покрытия металла должна быть не более 0,008 мм.
5.2. Нерезьбовые соединения
5.2.1.
Длина соединения (L)
Длина соединения
должна быть не менее минимальных значений, указанных в
таблицах 1 и 2. Длина соединения для цилиндрических металлических деталей,
впрессованных в стенки металлических взрывонепроницаемых оболочек объемом не
более 2000 см3, может быть снижена до 5 мм, если:
- конструкция
зависит не только от посадки, которая предотвращает смещение детали во время
типовых испытаний по разделу 15;
- сборка
выдерживает испытания на удар по МЭК 60079-0, учитывая наихудший (по допускам)
вариант посадки;
- наружный диаметр
запрессованной детали, где измеряют длину соединения, не превышает 60 мм.
Таблица 1
Минимальная
длина соединения и максимальный зазор
для оболочек группы
I, подгрупп IIA и IIB
┌──────────────┬──────┬───────────────────────────────────────────────────────────────┐
│Вид
соединения│Мини- │
Максимальный зазор, мм │
│ │маль-
├──────────────┬────────────────┬────────────────┬──────────────┤
│ │ная │ для объема, │для объема, см3,│для объема,
см3,│ для объема, │
│ │длина │ см3, V <=
100│100 < V <= 500
│500 < V <= 2000 │ см3, V > 2000│
│
│соеди-├────┬────┬────┼─────┬────┬─────┼────┬────┬──────┼────┬────┬────┤
│ │нения │ I │IIA │IIB │ I
│IIA │IIB │
I │IIA │ IIB │ I
│IIA │IIB │
│ │L, мм │ │
│ │ │
│ │ │
│ │ │
│ │
├──────────────┼──────┼────┼────┼────┼─────┼────┼─────┼────┼────┼──────┼────┼────┼────┤
│Плоские,
ци-
│ 6
│0,30│0,30│0,20│
- │ - │ -
│ - │ - │
- │ - │ -
│ - │
│линдрические │
9,5
│0,35│0,30│0,20│0,35 │0,30│0,20
│ - │ - │
- │ - │ -
│ - │
│или
плоско- │ 12,5
│0,40│0,30│0,20│0,40 │0,30│0,20
│0,40│0,30│ 0,20 │0,40│0,20│0,15│
│цилиндрические│ 25
│0,50│0,40│0,20│0,50 │0,40│0,20 │0,50│0,40│
0,20 │0,50│0,40│0,20│
│соединения │
│ │ │
│ │ │
│ │ │
│ │ │
│
├───────┬──────┼──────┼────┼────┼────┼─────┼────┼─────┼────┼────┼──────┼────┼────┼────┤
│Цилинд-│с
под-│ 6
│0,30│0,30│0,20│
- │ - │ -
│ - │ - │
- │ - │ -
│ - │
│ричес-
│шипни-│ 9,5 │0,35│0,30│0,20│0,35
│0,30│0,20 │ - │
- │ -
│ - │ - │ -
│
│кие
со-│ками │ 12,5
│0,40│0,35│0,25│0,40 │0,30│0,20
│0,40│0,30│ 0,20 │0,40│0,20│ - │
│едине-
│сколь-│ 25 │0,50│0,40│0,30│0,50
│0,40│0,25 │0,50│0,40│ 0,25
│0,50│0,40│0,20│
│ния для│жения │ 40
│0,60│0,50│0,40│0,60 │0,50│0,30
│0,60│0,50│ 0,30 │0,60│0,50│0,25│
│валов
├──────┼──────┼────┼────┼────┼─────┼────┼─────┼────┼────┼──────┼────┼────┼────┤
│вращаю-│с
под-│ 6 │0,45│0,45│0,30│ -
│ - │ - │ -
│ - │ -
│ - │ - │ -
│
│щихся │шипни-│ 9,5
│0,50│0,45│0,35│0,50 │0,40│0,25
│ - │ - │
- │ - │ -
│ - │
│элект-
│ками
│ 12,5 │0,60│0,50│0,40│0,60
│0,45│0,30 │0,60│0,45│ 0,30
│0,60│0,30│0,20│
│ричес-
│каче- │
25 │0,75│0,60│0,45│0,75
│0,60│0,40 │0,75│0,60│ 0,40
│0,75│0,60│0,30│
│ких │ния │
40
│0,80│0,75│0,60│0,80 │0,75│0,45
│0,80│0,75│ 0,45 │0,80│0,75│0,40│
│машин │
│ │ │
│ │ │
│ │ │
│ │ │
│ │
├───────┴──────┴──────┴────┴────┴────┴─────┴────┴─────┴────┴────┴──────┴────┴────┴────┤
│ Примечание.
При определении максимального
зазора следует │
│использовать
конструкционные значения, округленные по [2]. │
└─────────────────────────────────────────────────────────────────────────────────────┘
Таблица 2
Минимальная
длина соединения и максимальный зазор
для оболочек
подгруппы IIC
┌─────────────────┬───────┬────────────────────────────────────────────────┐
│
Вид соединения │Мини- │ Максимальный зазор, мм │
│ │мальная├────────┬──────────────┬───────────────┬────────┤
│ │длина │
для │ для
объема, │ для объема,
│ для │
│ │соеди- │объема,
│ см3, │
см3, │объема, │
│ │нения │
см3, │100 < V <=
500│500 < V <= 2000│
см3, │
│ │L, мм │V <= 100│ │ │V > 2000│
├─────────────────┼───────┼────────┼──────────────┼───────────────┼────────┤
│Плоские │ 6
│ 0,10 │
- │ -
│ - │
│соединения
<*> │ 9,5
│ 0,10 │
0,10 │ -
│ - │
│ │ 15,8 │
0,10 │ 0,10
│ 0,04 │
- │
│ │ 25
│ 0,10 │
0,10 │ 0,04
│ 0,04 │
├───────┬─────────┼───────┼────────┼──────────────┼───────────────┼────────┤
│Плоско-│c
>= 6 мм│ 12,5 │ 0,15
│ 0,15 │
0,15 │ -
│
│цилинд-│d >= 0,5L│ 25
│ 0,18 │
0,18 <**> │ 0,18 <**> │0,18 <*>│
│ричес- │L = c + d│ 40
│ <**> │
0,20 <***> │ 0,20 <***> │0,20
│
│кие со-│f <= 1 мм│ │
0,20 │ │ │<***> │
│едине- │
│ │
<***> │ │ │ │
│ния │ │ │ │ │ │ │
│(см.
│ │ │ │ │ │ │
│рисунок│ │ │ │ │ │ │
│2а)
│ │ │ │ │ │ │
├───────┴─────────┼───────┼────────┼──────────────┼───────────────┼────────┤
│Цилиндрические │
6 │ 0,10
│ - │ -
│ - │
│соединения │
│ │ │ │ │
│Плоскоцилиндри-
│ 9,5 │
0,10 │ 0,10
│ - │
- │
│ческие соединения│ 12,5 │
0,15 │ 0,15
│ 0,15 │
- │
│(см.
рисунок 2b) │ 25 │
0,15 │ 0,15
│ 0,15 │
0,15 │
│ │ 40
│ 0,20 │
0,20 │ 0,20
│ 0,20 │
├─────────────────┼───────┼────────┼──────────────┼───────────────┼────────┤
│Цилиндрические │
6 │ 0,15
│ - │ -
│ - │
│соединения
валов │ 9,5 │
0,15 │ 0,15
│ - │
- │
│с
подшипниковыми │ 12,5 │ 0,25
│ 0,25 │
0,25 │ -
│
│щитами
вращающих-│
25 │ 0,25
│ 0,25 │
0,25 │ 0,25
│
│ся электрических │
40 │ 0,30
│ 0,30 │
0,30 │ 0,30
│
│машин
с подшипни-│ │ │ │ │ │
│ками качения
│ │ │ │ │ │
├─────────────────┴───────┴────────┴──────────────┴───────────────┴────────┤
│
<*> Для взрывоопасных смесей
ацетилена с воздухом плоские
│
│соединения
не допускаются.
│
│
<**> Если размер фаски f <= 0,5 мм, то допускается
увеличение │
│максимального
зазора цилиндрической части до 0,20 мм. │
│
<***> Если размер
фаски f <= 0,5 мм, то
допускается │
│увеличение
максимального зазора цилиндрической части до 0,25 мм. │
│
│
│ Примечание.
При определении максимального
зазора следует │
│использовать
конструкционные значения, округленные по [2]. │
└──────────────────────────────────────────────────────────────────────────┘
5.2.2.
Зазор (i)
Зазор, если таковой
имеется между поверхностями соединения, не должен превышать максимальные
значения, указанные в таблицах 1 и 2.
Если значение максимального
конструкционного зазора (
) менее
указанного в таблицах 1 или 2, то оно должно быть указано в сертификате,
инструкциях изготовителя, и электрооборудование должно иметь маркировку
согласно МЭК 60079-0 (перечисление i) 27.2).
Поверхности
взрывонепроницаемых соединений должны быть обработаны так, чтобы средняя
шероховатость Ra не превышала 6,3 мкм по [1].
В плоских
соединениях не допускается преднамеренное увеличение зазора за исключением быстрооткрываемых крышек и дверей.
В
электрооборудовании группы I должна быть предусмотрена возможность прямой или
косвенной проверки зазора плоских соединений крышек и дверей, предназначенных
для периодического открывания. На рисунке 1 приведен пример конструкции для
косвенной проверки параметров взрывонепроницаемого соединения.

Рисунок 1.
Конструкция для косвенной проверки плоского
взрывонепроницаемого
соединения группы I
Зубчатые соединения
должны удовлетворять требованиям испытаний по 15.2 с испытательным зазором
между сопряженными зубцами, указанным в
15.2.1.1, исходя из максимального конструкционного зазора
,
указанного изготовителем.
Если значение
максимального конструкционного зазора, установленное изготовителем, отличается
от указанного в таблицах 1 или 2 для плоских соединений той же длины (определяемый как произведение шага на число зубцов), то оно
должно быть приведено в сертификате и инструкциях изготовителя, и
электрооборудование должно иметь маркировку согласно МЭК 60079-0 (перечисление
i) 27.2). Пример зубчатого соединения приведен на рисунке 9b.
5.2.3.
Плоскоцилиндрические соединения
Для определения
длины L учитывают конструкционные особенности плоскоцилиндрических соединений.
Если соединение
состоит из цилиндрической и плоской частей (см. рисунок 2а), то зазор в нем не
должен превышать максимальных значений, указанных в таблицах 1 и 2.

Рисунок 2а.
Цилиндрическая часть и плоская часть

Рисунок 2b.
Только цилиндрическая часть
L = с + d (I, IIA,
IIB, IIC); с >= 6,0 мм (IIC);
>= 3,0 мм (I, IIA, IIB); d >=
50L (IIC);
f <= 1,0 мм (I,
IIA, IIB, IIC); 1 - внутренняя часть
оболочки
Рисунок 2.
Плоскоцилиндрические соединения
Если соединение
состоит только из цилиндрической части (см. рисунок 2b), то параметры плоской
части могут не соответствовать указанным значениям (см. таблицы 1 и 2).
Примечание.
Требования к установке прокладок - по 5.4.
5.2.4. Отверстия во
взрывонепроницаемых соединениях
Если плоское
соединение или плоская часть, или частично цилиндрическая часть поверхности
соединения (см. 5.2.6) прерывается отверстиями, предназначенными для сборки
частей взрывонепроницаемой оболочки резьбовыми крепежными деталями, то длина до
отверстия l должна быть равна или более:
- 6 мм - при длине
соединения L менее 12,5 мм;
- 8 мм - при длине
соединения L, равной или более 12,5 мм, но менее 25 мм;
- 9 мм - при длине
соединения L, равной или более 25 мм.
Определение длины
до отверстия l - в соответствии со следующими требованиями.
5.2.4.1. Плоские
соединения с отверстиями снаружи оболочки (см. рисунки 3 и 5).
Длину до отверстия
l следует измерять между каждым отверстием и внутренней частью оболочки.
5.2.4.2. Плоские
соединения с отверстиями внутри оболочки (см. рисунок 4).
Длину до отверстия
l следует измерять между каждым отверстием и наружной частью оболочки.

Рисунок 3

Рисунок 4

Рисунок 5
1 - внутренняя
часть оболочки, i <= 0,20 мм (I, IIA);
i <= 0,15 мм (IIB); i <= 0,10 мм (IIC)
Рисунки 3, 4, 5.
Отверстия на поверхностях плоских соединений
5.2.4.3.
Плоскоцилиндрические соединения, где на участке до отверстия соединение состоит
из цилиндрической и плоской частей (см. рисунок 6).
Длину до отверстия
l следует определять как:
- сумму длин
цилиндрической а и плоской b частей соединения, если размер фаски f менее или
равен 1 мм и если зазор i цилиндрической части менее или равен 0,2 мм для
электрооборудования группы I и подгруппы IIA, 0,15 мм - для подгруппы IIB или
0,1 мм - для подгруппы IIC (уменьшенный зазор);
длину b только
плоской части, если одно из указанных условий не выполняется.
5.2.4.4.
Плоскоцилиндрические соединения, у которых на участке до отверстия соединение
состоит только из плоской части.
Длиной до отверстия
l является длина плоской части между внутренней частью оболочки и отверстия,
если отверстие находится снаружи оболочки (см. рисунок 7), или между отверстием
и наружной частью оболочки, если отверстие находится внутри оболочки (см.
рисунок 8). Дополнительные требования - по 5.2.7.

Рисунок 6

Рисунок 7

Рисунок 8
1 - внутренняя
часть оболочки, i <= 0,20 мм (I, IIA);
i <= 0,15 мм (IIB); i <= 0,10 мм (IIC)
Рисунки 6, 7, 8.
Отверстия на поверхностях
плоскоцилиндрических
соединений
5.2.5. Конические
соединения
Если соединения
включают в себя конические поверхности, то длина соединения и зазор, измеренный
по нормали к поверхности, должны соответствовать значениям, указанным в
таблицах 1 и 2. Зазор должен быть единообразным по всей конической части. Для
электрооборудования подгруппы IIC угол конуса не должен превышать 5°.
Примечание. Углом
конуса является угол между вертикальной осью и поверхностью конуса.
5.2.6.
Соединения с частично цилиндрическими поверхностями (для подгруппы IIC - не
допускаются)
Не допускается
преднамеренное увеличение зазора между двумя поверхностями (см. рисунок 9а).

Рисунок 9а. Пример
соединения
с частично
цилиндрическими поверхностями
Длина соединения
должна соответствовать значениям, указанным в таблице 1.
Диаметры
цилиндрических поверхностей двух частей, образующих взрывонепроницаемое
соединение, и их допуски должны соответствовать значениям зазоров
цилиндрических соединений, указанным в таблице 1.
5.2.7.
Дополнительные требования к соединениям электрооборудования подгруппы IIC
Для
электрооборудования подгруппы IIC, предназначенного для использования во
взрывоопасных газовых средах, содержащих ацетилен, применение плоских
соединений не допускается за исключением, если зазор <= 0,04 мм, L >= 9,5
мм и объем оболочек не превышает 500 см3.
5.2.8. Зубчатые
соединения
Параметры зубчатых
соединений могут не соответствовать требованиям, указанным в таблицах 1 и 2.
Зубчатое соединение должно иметь:
a) не менее пяти
зубцов, имеющих полное зацепление;
b) шаг зубчатого
соединения, равный или более 1,25 мм;
c) угол профиля (60
+/- 5)°.
Зубчатые соединения
не должны использоваться для движущихся частей.

Y >= 5T;
испытательная длина =
, Т
>= 1,25 мм;
= (60
+/- 5)°
Рисунок 9b.
Пример зубчатого соединения
5.3. Резьбовые соединения
Резьбовые
соединения должны соответствовать значениям, указанным в таблицах 3 и 4.
Таблица 3
Цилиндрические
резьбовые соединения
┌────────────────────────────────────────────────┬───────────────┐
│ Наименование показателя │ Значение
│
├────────────────────────────────────────────────┼───────────────┤
│Шаг
резьбы, мм <*> │ 0,7
│
│Вид
резьбы и класс точности (с полем допуска │По ИСО 965-1 и │
│точный
или хороший) <**> │ИСО 965-3 │
│Число
полных непрерывных ниток резьбы
│ 5 │
│Осевая
длина резьбы, мм, для оболочек объемом: │ │
│V
< 100 см3
│ 5 │
│V
> 100 см3 │ 8
│
├────────────────────────────────────────────────┴───────────────┤
│
<*> Если шаг резьбы превышает 2 мм, то изготовителем должны│
│быть предприняты специальные меры
предосторожности (например,│
│увеличение числа
полных непрерывных ниток
резьбы), чтобы│
│электрооборудование
выдержало испытания на взрывонепроницаемость│
│по
15.2.
│
│
<**> Допускаются цилиндрические резьбовые
соединения,│
│которые не
соответствуют ИСО 965-3, в
части вида резьбы и│
│класса точности,
если они выдерживают испытания
на│
│взрывонепроницаемость по 15.2, при условии, что длина
резьбового│
│соединения, указанная изготовителем, уменьшена
до значения,│
│указанного в таблице 6.
│
└────────────────────────────────────────────────────────────────┘
Таблица 4
Конические
резьбовые соединения
┌──────────────────────────────────────────────────────┬─────────┐
│ Наименование показателя │Значение │
├──────────────────────────────────────────────────────┼─────────┤
│Шаг
резьбы, мм <*>
│ 0,9 │
│Число
ниток резьбы на каждой части <**> │ 5
│
│Число
полных непрерывных ниток резьбы <***> │ -
│
├──────────────────────────────────────────────────────┴─────────┤
│ <*> Внутренняя и наружная резьбы
должны иметь один и тот же│
│номинальный
размер, угол конуса и вид резьбы. │
│ <**> Резьбы должны
соответствовать требованиям NPT по│
│ANSI/ASME
В1.20.1 и иметь
профиль, обеспечивающий плотную│
│затяжку. │
│
<***> Резьбы, изготовленные в
соответствии с данной│
│таблицей,
должны обеспечивать эффективное
зацепление более 3,5│
│непрерывных
ниток резьбы. │
└────────────────────────────────────────────────────────────────┘
5.4. Уплотнительные прокладки и О-образные
кольца
Если применяется
прокладка из пластичного или эластичного материала (например, для защиты от
доступа влаги, пыли или утечки жидкостей), то она должна применяться как
дополнение, то есть она не должна приниматься во внимание при определении длины
взрывонепроницаемого соединения и прерывать ее.
Прокладку следует
устанавливать таким образом, чтобы она обеспечивала:
- допустимый зазор
и длину плоских соединений или плоской части плоскоцилиндрических соединений;
- минимальную длину
цилиндрического соединения или цилиндрической части плоскоцилиндрического
соединения до и после сжатия.
Эти требования не
применяют к кабельным вводам (см. 13.1) или к соединениям, содержащим
металлическую прокладку или прокладку из негорючего пластичного материала с
металлической обшивкой. Такая уплотнительная прокладка способствует защите от
взрыва, и зазор между каждой поверхностью плоской части следует измерять после
сжатия. Минимальная длина цилиндрической части должна быть обеспечена до и
после сжатия. Примеры установки прокладок приведены на рисунках 10 - 16.

Рисунок 10

Рисунок 11

Рисунок 12

Рисунок 13

Рисунок 14

Рисунок 15

Рисунок 16
1 - внутренняя
часть оболочки; 2 - О-образное кольцо;
3 - прокладка; 4 -
металлическая прокладка
или прокладка с
металлической обшивкой
Рисунки 10 - 16.
Примеры установки прокладок
5.5.
Капилляры, используемые в электрооборудовании
Размеры зазоров
капилляров должны соответствовать значениям, указанным в таблицах 1 или 2 для
цилиндрических соединений (цифра 0 обозначает диаметр внутренней части). Если
капилляры по размерам зазоров не соответствуют данным значениям, то оценку
электрооборудования следует проводить испытанием оболочки на взрывонепроницаемость по 15.2.
6. Герметизированные соединения
6.1. Общие
требования
Части
взрывонепроницаемой оболочки могут быть заделаны герметично или непосредственно
в стенку оболочки, составляя с последней
неразделимое целое, или загерметизированы в
металлическую оправу так, чтобы весь узел можно было заменить целиком без
повреждения герметика.
Если
герметизированное соединение не отвечает требованиям раздела 5, при отсутствии
герметизации оно должно подвергаться испытаниям по МЭК 60079-0 (подпункты
23.4.7.3 и 23.4.7.4).
6.2. Механическая
прочность
Герметизированные
соединения применяют только для обеспечения герметизации взрывонепроницаемой
оболочки, частью которой они являются. Конструкция должна быть такой, чтобы
механическая прочность сборки не зависела только от сцепления герметика.
Испытания герметизированных соединений - по Приложению С
с соответствующими условиями для испытаний на взрывоустойчивость по 15.1.3.
6.3. Длина
герметизированных соединений
Кратчайшее
расстояние по герметизированному соединению из внутренней в наружную часть
взрывонепроницаемой оболочки, объемом V, должна быть:
- 3 мм - если V
<= 10 см3;
- 6 мм - если 10
см3 < V <= 100см3;
- 10 мм - если V
> 100 см3.
7. Тяги и
валики управления
Там, где тяги или
валики управления проходят сквозь стенку взрывонепроницаемой оболочки, следует
соблюдать следующие требования.
7.1. Если диаметр
тяги или валика управления превышает минимальную длину соединения, указанную в
таблицах 1 и 2, то длина соединения должна быть не менее диаметра тяги или
валика управления. Однако это требование не распространяется на
взрывонепроницаемые соединения длиной более 25 мм.
7.2. Если
существует вероятность увеличения диаметрального зазора вследствие износа при
нормальной эксплуатации, то следует предусматривать меры для облегчения
восстановления первоначального состояния, например, с помощью сменной втулки.
Альтернативой предотвращению увеличения зазора вследствие износа может быть
применение подшипников согласно разделу 8.
8.
Дополнительные требования к валам и подшипникам
8.1.
Соединения валов
Взрывонепроницаемые
соединения вращающихся электрических машин должны быть сконструированы так,
чтобы не подвергаться износу при нормальной эксплуатации.
Взрывонепроницаемые
соединения могут быть:
- цилиндрическими (см. рисунок 17);
- лабиринтными (см. рисунок 18);
- с плавающими
втулками (см. рисунок 19).

Рисунок 17.
Цилиндрическое соединение для валов
вращающихся
электрических машин

Рисунок 18.
Лабиринтное соединение для валов вращающихся
электрических машин

1 - зазор; 2 -
стопор для предотвращения
проворачивания
втулки
Рисунок 19.
Соединение с плавающими втулками для валов
8.1.1.
Цилиндрические соединения
Если цилиндрические
соединения содержат маслоулавливающие канавки,
участок с канавками не следует учитывать при определении длины
взрывонепроницаемого соединения или прерывать ее (см. рисунок 17).
Минимальный
радиальный зазор k (см. рисунок 20) взрывонепроницаемого соединения вала с
подшипниковым щитом вращающихся электрических машин должен быть не менее 0,05
мм.

k - минимальный
радиальный зазор;
m - максимальный
радиальный зазор с учетом k;
D, d -
диаметральные зазоры
Рисунок 20.
Соединение вала с подшипниковым щитом
вращающихся
электрических машин
8.1.2. Лабиринтные
соединения
Лабиринтные
соединения, параметры которых не соответствуют указанным в таблицах 1 и 2,
могут считаться удовлетворяющими требованиям настоящего стандарта, если они
выдерживают испытания в соответствии с разделами 14 - 16.
Минимальный
радиальный зазор k (см. рисунок 20) взрывонепроницаемого соединения вала с
подшипниковым щитом вращающихся электрических машин должен быть не менее 0,05
мм.
8.1.3. Соединения с
плавающими втулками
При определении
возможного смещения втулки следует принимать в расчет зазор в подшипнике и
допустимый износ подшипника, указанные изготовителем. Втулка может двигаться
свободно по радиусу с валом и по оси на валу, вместе с тем оставаясь с ним
концентричной. Соответствующее устройство должно предотвращать проворачивание
или выталкивание втулки (см. рисунок 19).
Использование
плавающих втулок для электрооборудования подгруппы IIC не допускается.
8.2.
Подшипники
8.2.1. Подшипники
скольжения
Должно быть
обеспечено взрывонепроницаемое соединение не только самого подшипника
скольжения, но и подшипника скольжения с подшипниковым щитом. При этом длина
взрывонепроницаемого соединения должна быть не менее диаметра вала, но не более
25 мм.
При использовании
цилиндрических или лабиринтных соединений во вращающихся электрических машинах
с подшипниками скольжения по меньшей мере одна из
поверхностей должна быть выполнена из металла, не образующего искр трения
(например латуни), если воздушный зазор между статором и ротором больше
минимального радиального зазора k (см. рисунок 20), указанного изготовителем.
Минимальная толщина не образующего искр металла должна быть более воздушного
зазора.
Применение
подшипников скольжения во вращающихся электрических машинах подгруппы IIC не
допускается.
8.2.2. Подшипники
качения
В подшипниковых
щитах с подшипниками качения максимальный радиальный зазор m (см. рисунок 20)
должен быть не более двух третьих значения максимального зазора, указанного в
таблицах 1 и 2.
9. Светопропускающие части
Светопропускающие части световых приборов и смотровые окна из стекла или пластиковых
материалов взрывонепроницаемых оболочек должны удовлетворять требованиям МЭК
60079-0.
Примечание. Должны
быть приняты меры предосторожности, чтобы монтаж светопропускающих
частей не создавал нежелательные внутренние механические напряжения в них.
10.
Дыхательные и дренажные устройства
как составляющие
части взрывонепроницаемой оболочки
Дыхательные и
дренажные устройства должны включать воздухо- и водопропускающие
элементы, выдерживающие давление внутреннего взрыва в оболочке, в которой они
установлены, и предотвращающие передачу взрыва во взрывоопасную среду,
окружающую оболочку.
Данные устройства
должны также противостоять динамическим нагрузкам вследствие взрыва внутри взрывонепроницаемой
оболочки без остаточных деформаций или повреждений, которые могли бы ухудшать
их пламягасящие свойства.
Они не
предназначены для того, чтобы выдерживать непрерывное горение на их
поверхностях.
Эти требования
также применяют к устройствам для передачи звука, но они не распространяются на
устройства:
- для разгрузки
давления в случае внутреннего взрыва;
- использования с
нагнетательными трубопроводами, содержащими газ, способный образовывать
взрывчатую смесь с воздухом, при давлении, превышающем в 1,1 раза атмосферное.
10.1. Дыхательные и дренажные отверстия
Дыхательные и
дренажные отверстия не должны создаваться за счет преднамеренного увеличения
зазора плоских взрывонепроницаемых соединений.
Примечание.
Дыхательные и дренажные устройства, если они необходимы по техническим
соображениям, должны быть сконструированы так, чтобы не создавалась опасность
их отказа в условиях эксплуатации (например, вследствие накопления грязи или
краски).
10.2. Предельный состав материалов
Предельные
содержания материалов, используемых в устройстве, должны быть определены либо
непосредственно, либо со ссылкой на представленную изготовителем спецификацию.
Элементы
дыхательных и дренажных устройств, используемые во взрывчатой газовой среде,
содержащей ацетилен, должны содержать меди не более 60% массы, чтобы ограничить
образование ацетиленида.
10.3.
Размеры
Размеры дыхательных
и дренажных устройств и их составных частей должны быть указаны в технических
условиях.
10.4.
Элементы с измеримыми параметрами соединений
Параметры
соединений могут не соответствовать значениям, указанным в таблицах 1 и 2, при
условии, что элементы выдерживают испытания в соответствии с разделами 14 - 16.
Дополнительные
требования для гофрированных ленточных элементов приведены в Приложении А.
10.5.
Элементы с неизмеримыми параметрами соединений
Там, где параметры
соединений не могут быть измерены (например, спеченная металлокерамика),
элемент должен удовлетворять соответствующим требованиям, приведенным в
Приложении В.
Элементы
классифицируют согласно их плотности и размеру пор в соответствии со
стандартными методами для данного материала и методами изготовителя (см.
Приложение В).
Примечание. По
функциональным соображениям может быть необходимым определение открытой
пористости и проницаемости материала для жидкости в соответствии со
стандартными методами для данного материала и методами изготовителя (см.
Приложение В).
10.6. Съемные устройства
Если устройство
может быть демонтировано, то оно должно быть сконструировано так, чтобы
избежать уменьшения или расширения отверстий при повторной сборке.
10.7.
Установка элементов
Дыхательные или
дренажные элементы должны быть прикреплены одним из следующих способов:
- непосредственно к
оболочке, образовав с ней неотъемлемую часть;
- подходящим
крепежным устройством, которое заделано или ввинчено в оболочку так, чтобы его возможно было заменить как модуль.
Альтернативой
установки элемента может быть, например, его впрессовывание
(см. 5.2.1) таким образом, чтобы обеспечивалось взрывонепроницаемое соединение,
соответствующее требованиям раздела 5. Шероховатость поверхности элемента может
не отвечать требованиям 5.2.2, если монтаж элемента выдерживает типовые
испытания в соответствии с разделами 14 - 16.
В случае
необходимости используют зажимное кольцо или подобные средства, чтобы
обеспечить целостность оболочки. Дыхательные или дренажные элементы могут быть
установлены:
- внутри оболочки,
когда доступность винтов и зажимных колец будет возможна только изнутри;
- снаружи оболочки,
при этом крепежные детали должны удовлетворять требованиям раздела 11.
10.8. Механическая прочность
Устройство и его защитное
приспособление, если таковое имеется, установленные нормальной сборкой, должны
выдерживать испытание на стойкость к удару по МЭК 60079-0 (подпункт 23.4.7.7).
10.9. Дыхательные и дренажные устройства,
используемые в качестве Ex-компонентов
Дыхательные и
дренажные устройства в качестве Ex-компонентов
устанавливают на взрывонепроницаемых оболочках объемом 3000 см3 или менее.
Примечание.
Дыхательные и дренажные устройства могут быть использованы как неотъемлемая
часть взрывонепроницаемой оболочки объемом более 3000 см3 при условии, что они
будут испытаны с рассматриваемой оболочкой в соответствии с 15.4.
Совместно с
требованиями 10.1 - 10.6 включительно к дыхательным и дренажным устройствам,
которые рассматриваются как Ex-компоненты, следует
применять следующие требования.
10.9.1. Установка
элементов и узлов
Дыхательные или
дренажные элементы должны быть припаяны или герметизированы в соответствии с
разделом 6 или прикреплены другими методами к монтажной детали так, чтобы
образовывать монтажный узел.
Монтажный узел
должен закрепляться зажимом или крепежными деталями или ввинчиваться в оболочку
как заменяемый модуль и соответствовать требованиям разделов 5, 6 и 11.
10.9.2. Типовые
испытания для дыхательных и дренажных устройств, используемых в качестве Ex-компонентов
Устройство,
выбранное для испытания, закрепляют на торце испытательной оболочки так же, как
его обычно устанавливают на взрывонепроницаемой оболочке. Испытание проводят на
образце, прошедшем испытания на удар (см. 10.8) в соответствии с 10.9.2.1 -
10.9.2.3.
Примечание.
Испытание образца на удар может быть проведено отдельно от испытательной
оболочки, когда он установлен на пластине, которая образует торцевую часть
испытательной оболочки.
Для устройств с
неизмеримыми параметрами максимальный размер пор образца должен быть не менее
85% указанного максимального размера в соответствии с В.1.2 (Приложение В).
10.9.2.1.
Испытание дыхательных и дренажных устройств на давление
10.9.2.1.1.
Методика испытания
Испытательные
давления взрыва для каждой группы и подгруппы следующие:
- 1200 кПа - для
группы I;
- 1350 кПа - для
группы IIA;
- 2500 кПа - для
группы IIB;
- 4000 кПа - для
группы IIC.
Для проведения
испытания на внутренних поверхностях дыхательных и дренажных устройств прикрепляют тонкую гибкую мембрану. Давление взрыва
определяют в соответствии с группой газов, для которой компонент предназначен.
Проводят одно из
следующих испытаний на взрывоустойчивость:
- с 1,5-кратным
давлением взрыва длительностью 1 мин. После чего каждый компонент подвергают
контрольному испытанию;
- с 4-кратным
эталонным давлением длительностью 1 мин. При положительном результате испытания
изготовитель может не проводить контрольные испытания всех последующих компонентов
проверенного типа.
10.9.2.1.2.
Критерии оценки
После испытания на взрывоустойчивость устройство не должно иметь остаточных
деформаций и повреждений, нарушающих вид взрывозащиты.
Его используют как
испытуемый образец при последующих типовых испытаниях.
10.9.2.2. Тепловые
испытания
Дыхательные и
дренажные устройства, предназначенные для многократного использования с любой
отдельной взрывонепроницаемой оболочкой, должны быть испытаны дополнительно
вместе с оболочкой.
10.9.2.2.1. Порядок
проведения испытаний
Для проведения
испытаний должна быть применена испытательная установка, собранная из четырех
секций, как показано на рисунке 21. При проведении испытаний учитывают
следующее:
- источник
воспламенения должен находиться у входного отверстия оболочки и на расстоянии
50 мм от внутренней торцевой части пластины, закрывающей устройство;
- испытательные
смеси выбирают в соответствии с 15.4.2.1;
- температуру
внешней поверхности устройства контролируют в процессе всего испытания;
- любое устройство
должно функционировать так, как это определено документацией изготовителя. После каждого из пяти испытаний взрывоопасная смесь должна
присутствовать на внешней части устройства в течение достаточного времени,
чтобы любое непрерывное горение на лицевой стороне устройства стало очевидным в
течение, по меньшей мере, 10 мин для того, чтобы увеличить температуру внешней
поверхности устройства или сделать передачу температуры на внешнюю поверхность
устройства возможным;
- испытания следует
проводить пять раз для каждой газовой смеси для групп и подгрупп, в которых
устройство предназначено для применения.

TS - местоположение
испытуемого образца;
I - входное
отверстие; Exh - выходное отверстие;
IG - источник
воспламенения; РТ - датчик давления
Рисунок 21.
Установка
для испытаний
дыхательных и дренажных устройств
10.9.2.2.2.
Критерии оценки
В процессе тепловых
испытаний не должна произойти передача пламени наружу и не должно наблюдаться
непрерывное горение. Не должно быть никаких признаков теплового или
механического повреждения устройства или деформаций, которые могли бы ухудшать
их пламягасящие свойства.
Измеренное
повышение температуры внешней поверхности устройства должно быть умножено на
коэффициент безопасности 1,2 для определения температурного класса
электрооборудования.
Примечание.
Дыхательные и дренажные устройства, которые не выдерживают хотя бы одно из
испытаний по 10.9, не используют в качестве Ex-компонентов
устройства. Однако их можно использовать в качестве неотъемлемой части
взрывонепроницаемой оболочки при условии, что они будут испытаны с рассматриваемой
оболочкой в соответствии с 15.4.
10.9.2.3.
Испытание на взрывонепроницаемость
Испытание следует
проводить на стандартной установке, как показано на рисунке 21, в соответствии
с 15.4.3 со следующими дополнениями и изменениями.
10.9.2.3.1. Порядок
проведения испытания
Источник
воспламенения размещают (см. рисунок 21):
- в конце входного
отверстия;
- на расстоянии 50
мм от внутренней торцевой части пластины, закрывающей устройство.
Испытательная
установка должна быть собрана для каждой группы газов согласно рисунку 21 и
иметь следующее число секций:
- одну секцию
испытательной установки - для группы I и подгруппы IIA;
- четыре секции
испытательной установки - для подгруппы IIB и подгруппы IIC.
Газовую смесь
воспламеняют внутри оболочки испытательной установки, и испытания проводят пять
раз в каждой точке воспламенения.
Для дыхательных и
дренажных устройств группы I, подгрупп IIA и IIB,
имеющих измеряемые или неизмеряемые параметры
соединений, проводят испытания на взрывонепроницаемость
по 15.2.1.
Для дыхательных и
дренажных устройств подгруппы IIC, имеющих измеряемые параметры соединений,
следует проводить испытания на взрывонепроницаемость
по 15.2.2, а также применять испытания по 15.4.3.2.1 или 15.4.3.2.2.
Для дыхательных и
дренажных устройств подгруппы IIC, имеющих неизмеряемые
параметры соединений, следует проводить испытания по 15.4.3.2.1 (Метод А) или
15.4.3.2.2 (Метод В).
10.9.2.3.2.
Критерии оценки
В процессе
испытания воспламенение не должно распространяться в окружающую испытательную
камеру.
10.9.3.
Маркирование
Маркирование
дыхательных и дренажных устройств, используемых в качестве Ex-компонентов,
должно быть следующим:
- все дыхательные и
дренажные устройства должны быть сертифицированы по образцу, представленному
изготовителем, и изготовитель должен гарантировать, что все последующие изделия
будут изготовлены в соответствии с сертифицированным образцом;
- каждое устройство
должно быть промаркировано в соответствии с МЭК 60079-0. Кроме того, каждое устройство
или пакет устройств должны сопровождаться сертификатом на Ex-компонент,
в котором должно быть указано предельное давление взрыва устройства.
10.9.4. Сертификат Ex-компонента
Сертификат на Ex-компонент (см. Приложение D) должен содержать информацию,
позволяющую правильно выбрать дыхательные и дренажные устройства, для
прикрепления к взрывонепроницаемой оболочке, прошедшей типовые испытания. В
сертификате на Ex-компонент должны быть указаны:
a) наименование
изготовителя и идентифицирующие чертежи и спецификации;
b) предельное
давление взрыв;
Примечание. Выбор
устройства, применяемого в качестве Ex-компонента,
должен проводиться таким образом, чтобы предельное давление взрыва устройства
было не меньше, чем давление взрыва взрывозащищенной оболочки (испытанной с
дыхательными и дренажными устройствами с заглушенными входами), к которой
устройство прикреплено.
c) максимальная
зарегистрированная температура поверхности, полученная при типовых испытаниях,
скорректированная для температуры окружающей среды 40 °C или свыше;
d) группа или
подгруппа электрооборудования (I, IIA, IIB или IIC).
Кроме того, в
сертификате на Ex-компонент должно быть указано, что
каждый Ex-компонент или пакет Ex-компонентов
сопровождается копией сертификата вместе с декларацией изготовителя, в которой заявляется:
- о соответствии Ex-компонента сертификату;
- соответствии материала и максимальном размере пор,
определенных замером пузырьков, и минимальной плотности (при необходимости);
- специальных инструкциях по установке, если таковые имеются.
11. Крепежные детали, отверстия и заглушки
11.1.
Крепежные детали, доступные снаружи и необходимые для сборки частей
взрывонепроницаемой оболочки, должны:
- представлять
собой специальные крепежные детали (с утопленными головками или головками с
охранными кольцами) и отвечать требованиям МЭК 60079-0 (для электрооборудования
группы I);
- отвечать
требованиям МЭК 60079-0 (подраздел 9.2) в части резьбы и головок крепежных
деталей (для электрооборудования группы II).
11.2. Крепежные
детали из пластического материала или легких сплавов не допускаются.
11.3. Минимальное
значение предела текучести для винтов и гаек должно быть не менее 240 Н/мм2 согласно ИСО 6892.
При проведении
типовых испытаний по разделу 15 испытательная организация должна требовать
замены указанных изготовителем всех или части винтов и гаек, если они не
отвечают требованиям к нормам предела текучести, за исключением случаев, когда
расчет с 1,5-кратным давлением взрыва показывает необходимость применения более
высоких значений предела текучести.
При необходимости
применения винтов и гаек с пределом текучести более 240 Н/мм2
требуемое его значение должно быть:
- промаркировано на
электрооборудовании;
- указано в
соответствующем сертификате, и электрооборудование должно быть промаркировано
знаком "X" в соответствии с МЭК 60079-0 (перечисление i) 27.2).
Затем проводят
типовые испытания для винтов и гаек, указанных изготовителем.
11.4.
Шпильки должны быть надежно закреплены, то есть они должны быть сварены или
заклепаны, или наглухо закреплены к оболочке другим, не менее эффективным
способом.
Если есть
необходимость применения шпилек с пределом текучести более чем 240 Н/мм2, то требуемое его значение должно быть:
- промаркировано на
электрооборудовании;
- указано в
соответствующем сертификате, и электрооборудование промаркировано знаком
"X" в соответствии с МЭК 60079-0 (перечисление i) 27.2).
Затем проводят
типовые испытания шпилек, указанных изготовителем.
11.5. Крепежные
детали не должны проходить через стенку взрывонепроницаемой оболочки, если они
не образуют взрывонепроницаемое соединение со стенкой, и единое целое с
оболочкой, например, с помощью сварки, заклепки или другого не менее
эффективного способа.
11.6. При наличии
отверстий под винты или шпильки, которые не проходят через стенки
взрывонепроницаемой оболочки, толщина стенки оболочки, окружающей отверстие под
крепежный винт или шпильку, должна быть равна не менее одной трети номинального
диаметра винта или шпильки, но не менее 3 мм.
11.7. В глухих
отверстиях в стенках оболочки, после полной затяжки винтов без шайб, должен
оставаться запас резьбы не менее одного полного витка резьбы на дне отверстия.
11.8. Отверстия,
просверленные сквозь стенку оболочки по технологическим причинам, должны быть
заглушены с помощью устройств так, чтобы взрывонепроницаемые свойства оболочки
не нарушались. Такие устройства должны быть надежно зафиксированы в
соответствии с требованиями для шпилек по 11.4.
11.9.
Неиспользованные отверстия (например, для кабельных или трубных вводов) на
стенке оболочки должны быть закрыты так, чтобы обеспечивались
взрывонепроницаемые свойства оболочки. Примеры заглушек для неиспользуемых
отверстий приведены на рисунках 22а - 22с.

Рисунок 22.
Примеры заглушек для неиспользованных отверстий
Конструкция
заглушки должна быть такой, чтобы их можно было устанавливать или удалять либо
с наружной, либо с внутренней стороны стенки взрывонепроницаемой оболочки.
Заглушки,
вставленные механическим способом или с помощью запрессовки, должны отвечать
требованиям 11.9.1 - 11.9.3.
11.9.1.
Если заглушающее устройство удаляется снаружи, то это должно быть возможным
только после разблокировки стопорного устройства внутри оболочки (см. рисунок
22а).
11.9.2.
Заглушающее устройство должно быть сконструировано в соответствии с требованиями
МЭК 60079-0 (подраздел 9.2) так, чтобы оно могло быть зафиксировано или удалено
только при помощи инструмента (см. рисунок 22b).
11.9.3.
Заглушающее устройство может быть специальной конструкции, и его установка
выполняется другим способом, отличным от указанных в
11.9.1 или 11.9.2, или по специальной методике (см. рисунок 22c).
11.10. Отдельные
случаи крепления, которые требуют использования определенного вида инструмента
согласно МЭК 60079-0 (подраздел 9.2) или другого не менее эффективного способа,
должны обеспечить закрывание и открывание резьбовых крышек и дверей.
12.
Материалы и механическая прочность оболочек.
Материалы внутри
оболочек
12.1.
Взрывонепроницаемые оболочки должны выдерживать испытания в соответствии с
разделами 14 - 16.
12.2. При
объединении нескольких взрывонепроницаемых оболочек каждая из них отдельно, а
также разделяющие их перегородки, проходные изоляторы, тяги и валики
управления, которые проходят через перегородки, должны отвечать требованиям
настоящего стандарта.
12.3. Если оболочка
содержит несколько сообщающихся отсеков, или имеется особое расположение ее
внутренних частей, то возникающее давление или скорость его повышения может
превысить его нормальное значение.
Такие явления
должны быть устранены конструкцией оболочки, насколько это возможно, или при
конструировании оболочки должны быть приняты во внимание возникающие в ней
высокие напряжения.
12.4. Применяемый
чугун должен быть не ниже марки 150 по ИСО 185.
12.5. Жидкости не
должны использоваться во взрывонепроницаемых оболочках, если при их разложении
есть опасность образования кислорода или взрывоопасной смеси более опасной, чем
рассчитанная для оболочки. Тем не менее они могут быть
использованы, если оболочка выдерживает испытания по разделами 14 - 16 для той
взрывоопасной смеси, которая в ней может образовываться. Однако окружающая
взрывоопасная газовая среда должна соответствовать группе, для которой
электрооборудование было сконструировано.
12.6. Во
взрывонепроницаемых оболочках группы I электроизоляционные материалы,
находящиеся под электрическим напряжением, способным вызвать дуговые разряды в
воздухе при номинальных токах нагрузки, превышающих 16 А
(в коммутационных аппаратах, таких как автоматические выключатели, контакторы,
разъединители), должны иметь сравнительный индекс трекингостойкости,
равный или более СИТ 400 М согласно МЭК 60112.
Изоляционные
материалы, которые не выдержали испытания на трекингостойкость,
могут быть использованы, если их объем - менее 1% общего объема пустой
оболочки, или питание, подаваемое в оболочку, отключается соответствующим
устройством до того, как возможное разрушение изоляционного материала может
привести к опасным ситуациям. Присутствие и эффективность такого устройства
должны быть проверены испытательной организацией.
13. Вводы
взрывонепроницаемых оболочек
Взрывонепроницаемые
свойства оболочек не нарушаются, если вводы отвечают соответствующим
требованиям настоящего раздела. Кроме того, метрические резьбовые отверстия
должны иметь поля допусков не более 6Н согласно ИСО 965-1 и ИСО 965-3.
Для резьбовых
отверстий в оболочках, чтобы облегчить подключение кабельных или трубных
вводов, необходимо обозначить тип резьбы и размер, например, М25 или 1/2 NTP.
Для облегчения установки кабельных и трубных вводов используют один из
следующих способов:
- маркируют
конкретный тип и размер резьбы рядом с отверстием;
- обозначают
конкретный тип и размер резьбы на маркировочной табличке;
- определяют
конкретный тип и размер резьбы в инструкции по установке со ссылкой на
маркировочной табличке (словами или обозначениями) на инструкцию по установке.
Для присоединения
внутренних электрических цепей во взрывонепроницаемой оболочке к внешним цепям
или другому электрооборудованию применяют различные средства. Изготовитель в
документах на электрооборудование должен указывать средства для присоединения,
место установки и максимально разрешенное количество этих средств.
13.1. Кабельные вводы
Кабельные вводы,
составляющие одно целое с оболочкой или являющиеся отдельными частями, должны
соответствовать требованиям Приложения С и
образовывать с оболочкой взрывонепроницаемые соединения с длинами и зазорами в
соответствии с разделом 5.
Если кабельные
вводы являются неотъемлемой частью оболочки или имеют специфичный вид крепления
к корпусу, то они должны быть испытаны как часть рассматриваемой оболочки.
Если кабельные
вводы являются отдельными частями, то:
- резьбовые Ex-кабельные вводы могут быть сертифицированы в составе электрооборудования.
Такие кабельные вводы могут не подвергаться испытаниям по 15.1 и контрольным
испытаниям по разделу 16;
- другие кабельные
вводы могут быть сертифицированы только как Ex-компоненты.
13.2.
Трубные герметизированные устройства
Трубные герметизированные
устройства, составляющие одно целое с оболочкой или являющиеся отдельными
частями, должны отвечать требованиям С.2.1.2 и С.3.1.2 (Приложение С) с заменой
в названиях пунктов "кабельный ввод" на "трубное
герметизированное устройство" и образовывать с оболочкой
взрывонепроницаемые соединения с соответствующими длинами и зазорами,
приведенными в разделе 5.
Примечание.
Поскольку такие конструкции не допускаются для повторного использования, то
требование С.2.1.2 для них не применяют.
Если трубные
герметизированные устройства являются неотъемлемой частью оболочки или имеют
специфичный вид крепления к оболочке, то они должны быть испытаны как часть
рассматриваемой оболочки.
Если трубные
герметизированные устройства являются отдельными частями, то:
- резьбовые Ex-трубные герметизированные устройства могут быть
сертифицированы в составе электрооборудования. Такие трубные герметизированные
устройства могут не подвергаться испытаниям по 15.1 и контрольным испытаниям по
разделу 16;
- другие трубные
герметизированные устройства могут быть сертифицированы только как Ex-компоненты.
13.2.1. Применение
трубных вводов разрешается только для электрооборудования группы II.
13.2.2.
Герметизирующее устройство, такое как вводная коробка, залитая герметиком, должно быть выполнено как часть оболочки или
присоединяться к ней. Оно должно выдерживать типовые испытания для герметика (см. Приложение С).
Сертифицированное герметизированное устройство может устанавливать пользователь
электрооборудования согласно инструкциям изготовителя.
Примечание.
Считается, что герметизированное устройство установлено непосредственно на
входе во взрывонепроницаемую оболочку, если оно прикреплено непосредственно к
оболочке либо через вспомогательное устройство, необходимое для соединения.
Герметик и метод
его применения должны быть указаны в сертификате, на вводной коробке или на
взрывозащищенном электрооборудовании. Часть вводной коробки между герметиком и взрывонепроницаемой оболочкой должна
рассматриваться как взрывонепроницаемая оболочка, то есть соединения должны
удовлетворять требованиям раздела 5, и такая сборка должна подвергаться
испытаниям на взрывонепроницаемость по 15.2.
Расстояние между герметиком и внешней стенкой оболочки должно быть
минимальным, но должно быть не более размера трубного ввода либо 50 мм.
13.3. Вилки и розетки, кабельные соединители
13.3.1. Вилки и розетки должны быть сконструированы и установлены так,
чтобы ни в соединенном их состоянии, ни в разъединенном не нарушалась взрывонепроницаемость оболочки, на которой они установлены.
13.3.2.
Параметры взрывонепроницаемых соединений (см. раздел 5) взрывонепроницаемых
оболочек вилок и розеток, а также кабельных соединителей следует выбирать
исходя из объема оболочки на момент размыкания силовых контактов, за
исключением контактов заземления или зануления, или
контактов, являющихся частями цепей, соответствующих требованиям МЭК 60079-11.
13.3.3. Для
вилок и розеток, а также кабельных соединителей взрывонепроницаемые свойства
оболочки должны обеспечиваться в случае внутреннего взрыва, когда кабельные
соединители, а также вилка с розеткой соединены, и в момент размыкания
контактов, за исключением контактов заземления или зануления,
или контактов, являющихся частями цепей, соответствующих требованиям МЭК
60079-11.
13.3.4. Требования
13.3.2 и 13.3.3 не распространяются на вилки и розетки, а также кабельные
соединители, соединенные и зафиксированные вместе посредством специальных
крепежных деталей в соответствии с 11.1 и имеющие маркировочную табличку с
предупреждением:
"НЕ
ОТСОЕДИНЯТЬ ПОД НАПРЯЖЕНИЕМ".
13.4.
Проходные изоляторы
13.4.1. Проходные
изоляторы могут содержать один или несколько проводников. Собранные и
установленные в стенках оболочки соединения, длины, зазоры или
герметизированные соединения должны соответствовать требованиям разделов 5 и 6.
Если проходной
изолятор выполнен из формовочного изоляционного материала на металлических
частях, то требования 5.2, 5.3 и 5.4 не применяют. Прочность материала самой
изоляции может учитываться при испытаниях механической прочности оболочки.
Если проходной
изолятор содержит склеенные части, то клей может рассматриваться как герметик,
если его свойства соответствуют требованиям раздела 6. В ином случае следует
применять требования 5.2, 5.3 и 5.4.
13.4.2. Части
проходных изоляторов, находящиеся на наружной стороне взрывонепроницаемой
оболочки, должны быть защищены в соответствии с одним из видов взрывозащиты, указанных в МЭК 60079-0.
13.4.3. Проходные
изоляторы, специфичные для взрывонепроницаемой оболочки, должны выдерживать
типовые и контрольные испытания для такой оболочки.
13.4.4.
Проходные изоляторы, предназначенные для различных взрывонепроницаемых
оболочек, следует подвергать типовому испытанию на стойкость к статическому
давлению согласно 15.1.3.1 при следующих значениях давления:
- 2000 кПа - для
электрооборудования группы I;
- 3000 кПа - для
электрооборудования группы II.
Такие проходные
изоляторы следует подвергать контрольным испытаниям на стойкость к давлению по
16.1. Если используемая процедура сборки описана в документации изготовителя и
гарантируется постоянство характеристик выпускаемых изделий, то испытания не
проводят.
14. Проверки и испытания
Требования МЭК
60079-0 к проверкам и испытаниям для вида взрывозащиты
"d" дополняют в соответствии со следующими требованиями.
Определение
максимальной температуры поверхности по МЭК 60079-0 (подпункт 23.4.6.1) следует
проводить при условиях, указанных в таблице 5.
Таблица 5
Условия испытаний
для определения
максимальной
температуры поверхности
┌─────────────────┬────────────────┬─────────────────────────────┐
│Вид
электрообору-│ Испытательное
│ Перегрузки или неисправности│
│дования
│ напряжение │ │
├─────────────────┼────────────────┼─────────────────────────────┤
│Световые
приборы │U + 10% │ Нет │
│(без
балласта) │ n │ │
├─────────────────┼────────────────┼─────────────────────────────┤
│Балласты │U + 10%
│ U + 10%
│
│ │ n │ n │
│ │ │ Эффект выпрямления, │
│ │ │ имитированный
диодом <*> │
├─────────────────┼────────────────┼─────────────────────────────┤
│Двигатели │U +/- 10%
<***>│ Нет │
│ │ n │ │
├─────────────────┼────────────────┼─────────────────────────────┤
│Резисторы │U + 10% │ Нет │
│ │ n │ │
├─────────────────┼────────────────┼─────────────────────────────┤
│Электромагниты │U
+ 10% │ U и
случай наихудшего
│
│ │ n │ n │
│ │ │ воздушного зазора │
├─────────────────┼────────────────┼─────────────────────────────┤
│Другое
электро- │U +/- 10%
│ <**> │
│оборудование │ n │ │
├─────────────────┴────────────────┴─────────────────────────────┤
│
<*> Эффект
выпрямления должен имитироваться
только для│
│балластов
трубчатых люминесцентных ламп. │
│ <**>
Должны быть согласованы
между изготовителем и│
│испытательной организацией в
зависимости от вида│
│электрооборудования.
│
│
<***> Альтернативное
определение максимальной температуры│
│поверхности может
проводиться только при
U + 5%│
│ n │
│(по
МЭК 60034-1). В этом случае
данный диапазон должен
быть│
│маркирован на электрооборудовании или
указан в инструкции│
│изготовителя.
│
│ │
│ Примечание. U - номинальное напряжение
электрооборудования.│
│ n
│
└────────────────────────────────────────────────────────────────┘
15. Типовые испытания
Типовые испытания
следует выполнять в следующей последовательности на образце, подвергнутом
механическим испытаниям согласно МЭК 60079-0 (пункт 23.4.3):
a) определение
давления взрыва в соответствии с 15.1.2;
b) испытание на взрывоустойчивость в соответствии с 15.1.3;
c) испытание на взрывонепроницаемость в соответствии с 15.2.
Испытательная
организация может отклониться от такой последовательности испытаний.
Статическое или динамическое испытание на взрывоустойчивость
может быть выполнено после испытания на взрывонепроницаемость
или на другом образце, который также был подвергнут
испытаниям на механическую прочность. После испытания на взрывоустойчивость
остаточные деформации и повреждения взрывонепроницаемых соединений оболочек,
нарушающие вид взрывозащиты, не допускаются.
Оболочка должна
быть испытана со всеми находящимися внутри частями или их эквивалентами (по
согласованию с испытательной организацией). Но если она сконструирована так,
что в нее может встраиваться различное электрооборудование или его компоненты,
то испытания должны быть проведены на пустой оболочке, как в наиболее жестких
условиях испытаний, а также подтверждено соответствие другим требованиям
безопасности по МЭК 60079-0.
Если оболочка
сконструирована так, что она может быть использована при отсутствии части
находящихся внутри компонентов, то испытания должны быть проведены в самых
жестких условиях, указанных испытательной организацией. В обоих случаях
испытательная организация должна в сертификате указывать, на основании
представленной изготовителем информации, виды возможного для применения внутри
оболочки различного электрооборудования или его компонентов, а также
мероприятия по их установке.
Съемные части
соединений взрывонепроницаемых оболочек должны быть испытаны в наихудших
условиях сборки.
15.1. Испытание оболочки давлением
15.1.1.
Общие требования
Целью этих
испытаний является проверка способности оболочки выдерживать давление
внутреннего взрыва.
Оболочка должна
быть подвергнута испытаниям в соответствии с 15.1.2 и 15.1.3.
Результаты
испытаний считают положительными, если остаточные деформации и повреждения
оболочки, нарушающие вид взрывозащиты, отсутствуют.
Кроме того, в соединениях не должно наблюдаться остаточных расширений, ведущих
к изменению параметров взрывонепроницаемого соединения до значений, превышающих
допустимые.
15.1.2.
Определение давления взрыва
За давление взрыва
принимают максимальное значение сглаженного избыточного давления в проведенных
опытах. Для сглаживания давления должен быть использован низкочастотный фильтр
со снижением амплитудно-частотной характеристики на 3 дБ при частоте 5 кГц +/-
10%.
Для
электрооборудования, предназначенного для применения при температуре окружающей
среды ниже минус 20 °C, давление взрыва следует определять при температуре не
выше минимального значения температуры окружающей среды.
В качестве
альтернативы, для электрооборудования:
- группы I,
подгрупп IIA или IIB;
- подгруппы IIC
внутренним свободным объемом менее 2000 см3,
кроме вращающихся
электрических машин (таких, как электрические двигатели, генераторы и
тахометры), оболочки которых имеют простую внутреннюю геометрию, вследствие
чего возникновение поджатия маловероятно, давление взрыва может быть определено
при нормальной температуре окружающей среды и определенных испытательных
смесях, но при увеличенном начальном давлении взрывоопасной смеси.
Абсолютное давление
испытательной смеси Р, кПа, рассчитывают по формуле, в
которой
(минимальная температура окружающей среды)
выражена в °C:
P = [293/(
+
273)].
15.1.2.1.
Каждое испытание состоит из воспламенения взрывчатой смеси внутри оболочки и
измерения давления, развиваемого взрывом.
Взрывоопасная смесь
внутри оболочки должна быть воспламенена одним или большим числом источников
воспламенения. Если оболочка имеет встроенное коммутирующее устройство, то оно
может быть использовано в качестве источника воспламенения (при этом возможно
действие коммутирующего устройства при неполной нагрузке).
Давление взрыва
должно быть измерено и зарегистрировано в процессе каждого испытания.
Местоположение источников воспламенения и приборов для измерения давления
определяет испытательная организация для определения комбинаций, при которых
развивается наибольшее давление. Если в оболочке предусмотрены уплотнительные
прокладки, то при испытаниях они должны быть смонтированы.
Число проводимых
испытаний и применяемые взрывоопасные испытательные смеси в объемном соотношении
с воздухом при атмосферном давлении следующие для электрооборудования:
- группы I - три
испытания, содержание метана (9,8 +/- 0,5)%;
- подгруппы IIA -
три испытания, содержание пропана (4,6 +/- 0,3)%;
- подгруппы IIB -
три испытания, содержание этилена (8 +/- 0,5)%;
- подгруппы IIC -
три испытания, содержание ацетилена (14 +/- 1)% и три испытания, содержание
водорода (31 +/- 1)%.
15.1.2.2.
Вращающиеся электрические машины должны быть испытаны в состоянии покоя или на
ходу (если испытательная организация считает испытания на ходу необходимыми).
При испытаниях на ходу вращающиеся электрические машины могут быть приведены в
действие собственным включением или вспомогательным двигателем. Скорость
вращения электрической машины должна быть от 90% до 100% номинальной.
Давление взрыва
должно быть измерено как со стороны источника воспламенения, так и с
противоположной стороны, а также во всех точках, где вероятно возникновение
более высоких давлений.
15.1.2.3. При
испытаниях взрывонепроницаемых оболочек, в которых при взрыве происходит
поджатие взрывоопасной смеси, должно быть проведено не менее пяти испытаний на
каждой смеси, указанных в 15.1.2.1 для соответствующей группы. Для оболочек
электрооборудования подгруппы IIB проводят впоследствии повторно не менее пяти
испытаний на газовоздушной смеси, содержащей
водород-метан (24 +/- 1)% (85% водорода и 15% метана).
Примечание.
Считается, что возникновение поджатия происходит в одном из следующих случаев:
- значения
давления, полученные в процессе ряда испытаний, отличаются друг от друга более
чем в 1,5 раза;
- время нарастания
давления менее 5 мс.
15.1.2.4.
Электрооборудование, предназначенное для применения в среде определенного газа,
может быть испытано этим газом в смеси с воздухом в соотношении, образующем наиболее
высокое давление взрыва при атмосферном давлении. Такое электрооборудование
должно быть сертифицировано только для данного газа. Соответственно, на
электрооборудовании должны быть указаны ограничения по применению, оговоренные
в МЭК 60079-0 (перечисление e) 27.2).
Если указано, что
оборудование не может применяться в среде определенного газа или газов, то
электрооборудование маркируют согласно МЭК 60079-0 (перечисление i) 27.2), и
это должно быть указано в сертификате.
Может быть
применена двойная маркировка для определенного газа и группы газов нижних групп
по отношению к этому газу (например, IIB +
),
если электрооборудование было подвергнуто испытаниям не только для
определенного газа, но также и для необходимых газов нижней группы.
15.1.3.
Испытание на взрывоустойчивость
Данное испытание
следует проводить по любому из следующих методов, которые рассматриваются как
эквивалентные.
Для
электрооборудования, предназначенного для использования при температуре
окружающей среды ниже минус 20 °C, испытание на взрывоустойчивость
следует проводить при температуре не выше минимального значения температуры
окружающей среды. Если свойства применяемых материалов (предел прочности и
предел текучести), указанные в спецификации материалов, не ухудшаются при
низких температурах, то испытания на взрывоустойчивость
могут быть проведены при нормальной комнатной температуре.
15.1.3.1.
Испытание на взрывоустойчивость. Статистический метод
(метод 1)
За испытательное
давление принимают:
- 1,5-кратное
значение давления взрыва, но не менее 350 кПа;
- 4-кратное
значение давления взрыва для оболочек, которые не подвергаются контрольным
испытаниям на взрывоустойчивость;
- следующие
значения давлений, если определение давления взрыва является затруднительным:
Давление,
кПа Объем, см3 Группа и подгруппа
1000 Менее или
равен 10 I, IIA, IIB, IIC
1000 Более
10 I
1500 Более 10 IIA, IIB
2000 Более
10 IIC
Продолжительность
выдержки давления - не менее 10 с, но не более 60 с.
Испытание проводят
один раз.
Оболочку считают
выдержавшей испытания на взрывоустойчивость, если
удовлетворяются требования 15.1.1 и не была нарушена непроницаемость стенок
оболочки.
15.1.3.2.
Испытание на взрывоустойчивость. Динамический метод
(метод 2)
Динамические
испытания должны быть выполнены таким способом, чтобы максимальное давление,
которому подвергают оболочку, составляло 1,5-кратное значение давления взрыва,
но не менее 350 кПа.
При проведении
испытаний со смесями, указанными в 15.1.2.1, для создания 1,5-кратного давления
взрыва, может быть использован способ предварительного увеличения начального
давления в оболочке.
Испытания следует
проводить один раз, за исключением оболочек электрооборудования подгруппы IIC,
испытания которых следует проводить три раза для каждой взрывоопасной смеси.
Оболочку считают
выдержавшей испытания на взрывоустойчивость, если
удовлетворяются требования 15.1.1.
15.2. Испытание на взрывонепроницаемость
Уплотнительные
прокладки (см. 5.4) должны быть удалены. Оболочку помещают в испытательную
камеру и заполняют той же взрывоопасной смесью, которой заполняют испытательную
камеру, при атмосферном давлении.
Длина резьбовых
взрывонепроницаемых соединений испытуемых образцов должна быть уменьшена на
значения, указанные в таблице 6.
Таблица 6
Уменьшение
длины резьбовых соединений
при испытаниях на взрывонепроницаемость
┌────────────────────────┬───────────────────────────────────────┐
│Вид
взрывонепроницаемого│
Значение уменьшения длины
│
│
резьбового соединения │ для групп соединений │
│
├───────────────────┬───────────────────┤
│ │группа I,
подгруппы│ подгруппа IIC │
│ │IIA и IIB
(15.2.1) │ (15.2.2) │
│
├──────────┬────────┼────────┬──────────┤
│ │ 15.2.1.1
│15.2.1.2│15.2.2.1│ 15.2.2.2 │
├────────────────────────┼──────────┼────────┼────────┼──────────┤
│
Цилиндрические (по ИСО │Нет умень-│ 1/3
│ 1/3 │Нет умень-│
│965)
с полем допуска │шения
│ │ │шения │
│точный
или хороший │ │ │ │ │
├────────────────────────┼──────────┼────────┼────────┼──────────┤
│
Цилиндрические с │ 1/3
│ 1/2 │
1/2 │ 1/3
│
│большими
допусками, чем │
│ │ │ │
│разрешено
выше │ │ │ │ │
├────────────────────────┼──────────┼────────┼────────┼──────────┤
│
Конические
│Нет умень-│ 1/3
│ 1/3 │Нет умень-│
│ │шения
│ │ │шения │
├────────────────────────┴──────────┴────────┴────────┴──────────┤
│ Примечание. Конические
резьбы взрывонепроницаемых соединений│
│следует испытывать
при минимальном числе витков резьбы,│
│находящихся в зацеплении при ручном завинчивании,
определенном в│
│соответствующем стандарте на
резьбу при крайних
значениях│
│допусков.
│
│ Пример уменьшения витков конических резьб в зацеплении:
│
│ После обозначения позиции резьбы,
завинченной вручную, длину│
│резьбового
соединения уменьшают срезанием винта или
увеличением│
│размера
отверстия. Затем части повторно собирают до
обозначенной│
│позиции. │
└────────────────────────────────────────────────────────────────┘
Длина плоских,
цилиндрических и плоскоцилиндрических соединений испытуемых образцов должна
быть не более 115% минимальных длин, указанных изготовителем.
Зазоры плоских
частей плоскоцилиндрических соединений, при которых длина L
взрывонепроницаемого соединения состоит только из цилиндрической части (см.
рисунок 2b), должны быть увеличены до значений:
- 1 мм - для группы
I и подгруппы IIA;
- 0,5 мм - для
подгруппы IIB;
- 0,3 мм - для
подгруппы IIC.
Примечание.
Требования для зазоров испытуемых образцов указаны в 15.2.1 (для группы I,
подгрупп IIA и IIB) и 15.2.2 (для подгруппы IIC).
Электрооборудование
с взрывонепроницаемыми соединениями, кроме резьбовых, предназначенное для
применения при температуре окружающей среды более 60 °C, должно проходить
испытание на взрывонепроницаемость при одном из
следующих условий:
- при температуре
не менее указанной максимальной температуры окружающей
среды;
- при нормальной
температуре окружающей среды с применением заданных взрывоопасных испытательных
смесей при повышенном давлении с учетом коэффициентов, указанных в таблице 7;
- при нормальном
атмосферном давлении и температуре, но с испытательными зазорами
,
увеличенными учетом коэффициентов, указанных в таблице 7.
Таблица 7
Коэффициенты
для увеличения давления
или испытательного
зазора (
)
|
Температура,
°C, не более
|
Группа
I
12,5%
метана/
водорода
|
Подгруппа
IIA
55% водорода
|
Подгруппа
IIB
37% водорода
|
Подгруппа
IIC
27,5% водорода
(150 кПа)
7,5% ацетилена
(150 кПа)
|
|
60
|
1,00
|
1,00
|
1,00
|
1,00
|
|
70
|
1,06
|
1,05
|
1,04
|
1,11
|
|
80
|
1,07
|
1,06
|
1,05
|
1,13
|
|
90
|
1,08
|
1,07
|
1,06
|
1,15
|
|
100
|
1,09
|
1,08
|
1,06
|
1,16
|
Если части оболочек
изготовлены из разных материалов, с разными температурными коэффициентами
расширения, и это влияет на размеры зазоров (например, при образовании
цилиндрического зазора между смотровым окном и металлической оправой), то
испытания на взрывонепроницаемость должны проходить
при одном из следующих условий:
- расчетный
максимальный зазор
, с
учетом максимального конструкционного зазора при 20 °C и увеличения зазора при
указанной максимальной температуре окружающей среды
,
должен быть проверен увеличением испытательного зазора
, по
меньшей мере, на 90% расчетного максимального зазора, при
;
- расчетный
максимальный зазор
, с
учетом максимального конструкционного зазора при 20 °C и увеличения зазора при
указанной максимальной температуре окружающей среды
,
должен быть проверен применением заданной взрывоопасной испытательной смеси при
повышенном давлении, рассчитанном по формуле
.
15.2.1.
Электрооборудование группы I, подгрупп IIA и IIB
15.2.1.1.
Зазоры
оболочки должны быть, по крайней мере, равны
90% максимального конструкционного зазора
, как
указано в чертежах изготовителя (0,9
<=
<=
).
Применяемые в оболочке взрывоопасные испытательные смеси в объемном соотношении
с воздухом при атмосферном давлении следующие для электрооборудования:
- группы I
содержание метана-водорода (12,5 +/- 0,5)% [(58 +/- 1)% метана и (42 +/- 1)%
водорода] (БЭМЗ = 0,8 мм);
- подгруппы IIA
содержание водорода (55 +/- 0,5)% (БЭМЗ = 0,65 мм);
- подгруппы IIB
содержание водорода (37 +/- 0,5)% (БЭМЗ = 0,35 мм).
Примечание. Для
проведения данного испытания при выбранных взрывоопасных смесях гарантируется,
что соединения, при известном коэффициенте безопасности, обеспечивают взрывонепроницаемость. Коэффициент безопасности K есть
отношение безопасного экспериментального максимального зазора представительного
газа группы к безопасному экспериментальному максимальному зазору выбранного
испытательного газа.
- группы I K =
= 1,42 (метан);
- подгруппы IIA K =
= 1,42 (пропан);
- подгруппы IIB K =
= 1,85 (этилен).
Если зазоры
испытуемого образца не удовлетворяют установленным условиям, то по согласованию
с испытательной организацией может быть использован один из следующих
альтернативных методов испытания на взрывонепроницаемость:
- применение газовоздушной смеси с меньшим значением БЭМЗ:
i /i Смесь
E C
Группа
I равно или более 0,75 55% H
+/- 0,5
2
равно или более 0,60 50%
H +/- 0,5
2
Группа
II равно или более 0,75 50% H
+/- 0,5
2
равно или более 0,60 45%
H +/- 0,5
2
Группа
IIC равно или более 0,75 28% H
+/- 1,0
2
равно или более 0,60 28% H
+/- 1,0
2
при 140 кПа
- предварительное
сжатие обычных испытательных смесей, коэффициент предварительного сжатия
рассчитывают по формуле
,
где
- коэффициент предварительного сжатия.
15.2.1.2.
Если оболочки подгрупп IIA и IIB при испытаниях по 15.2.1.1 могут быть
разрушены или повреждены, то разрешается, чтобы испытания проводились с
увеличенными зазорами выше максимальных, указанных изготовителем. Коэффициент
увеличения зазора равен 1,42 для подгруппы электрооборудования IIA и 1,85 - для
подгруппы электрооборудования IIB. Применяемые в оболочках
взрывоопасные смеси в объемном соотношении с воздухом при атмосферном давлении
следующие для электрооборудования:
- подгруппы IIA
содержание пропана (4,2 +/- 0,1)%;
- подгруппы IIB
содержание этилена (6,5 +/- 0,5)%.
15.2.1.3. Испытания
по 15.2.1.1 или 15.2.1.2 следует проводить пять раз. Результаты испытаний
считаются положительными, если воспламенение не передалось в испытательную
камеру.
15.2.2.
Электрооборудование подгруппы IIC
Испытания следует
проводить одним из следующих методов.
15.2.2.1.
Метод 1
Все зазоры
взрывонепроницаемых соединений, кроме резьбовых,
должны быть увеличены до значения, рассчитываемого по формуле
= 1,5
х
,
где
- испытательный зазор;
-
максимальный конструкционный зазор, указанный на чертежах изготовителя, мм.
Для плоских
соединений минимальное значение равно 0,1 мм.
Применяемые в
оболочках и испытательной камере взрывоопасные испытательные смеси в объемных
соотношениях с воздухом при атмосферном давлении следующие:
- водорода (27,5
+/- 1,5)%;
- ацетилена (7,5
+/- 1)%.
Должны быть
проведены пять испытаний с каждой смесью. Если электрооборудование
предназначено для использования в среде только с водородом или только с
ацетиленом, испытания следует проводить только с соответствующей газовой
смесью.
15.2.2.2.
Метод 2
Оболочку следует
испытывать с испытательным зазором
согласно условию:
0,9
<=
<=
.
Испытуемую оболочку
и испытательную камеру заполняют одной из газовых смесей, указанных в методе 1,
при давлении, равном 1,5-кратному значению атмосферного.
Испытания следует
проводить пять раз с каждой взрывоопасной смесью.
Если зазоры
испытуемого образца не выполняют вышеупомянутые условия, то по согласованию
испытательной организацией может быть использован следующий альтернативный
метод.
Коэффициент
предварительного сжатия
рассчитывают по формуле
.
15.2.2.3.
Электрооборудование, имеющее законченную конструкцию, должно быть испытано пять
раз с неизменными зазорами и с каждой взрывоопасной смесью из
указанных в 15.2.2.1 при атмосферном давлении.
15.3. (Зарезервировано)
15.4. Испытания взрывонепроницаемых оболочек
с дыхательными и
дренажными устройствами
Испытания в
соответствии с 15.4.1 - 15.4.3 должны быть выполнены на образце после испытания
на стойкость к удару по 10.8.
Для устройств, в
которых параметры взрывонепроницаемых соединений не могут быть измерены,
максимальный размер пор образца, определенный замером пузырьков, должен быть не
менее 85% указанного значения (см. Приложение В).
15.4.1.
Испытание оболочки на стойкость к давлению
Испытания должны
быть проведены в соответствии с 15.1 со следующими дополнениями и изменениями.
15.4.1.1. Для
определения давления взрыва в соответствии с 15.1.2 дыхательные и дренажные
устройства должны быть заменены плотными заглушками.
15.4.1.2. Для
испытания на взрывоустойчивость в соответствии с
15.1.3 внутренние поверхности дыхательных и дренажных устройств должны быть
закрыты тонкой гибкой мембраной (например, тонкой полимерной пленкой). После
испытания на взрывоустойчивость в устройстве не
должны наблюдаться остаточные деформации и повреждения, нарушающие вид взрывозащиты.
15.4.2. Тепловые
испытания
15.4.2.1.
Порядок проведения испытаний
Оболочка с
прикрепленным устройством или устройствами должна быть испытана в соответствии
с 15.4.3.1 с источником воспламенения, установленным в положение, при котором
ожидаются самые неблагоприятные результаты тепловых испытаний.
В процессе
испытания контролируют температуру внешней поверхности устройства. Испытание
проводят пять раз. Применяемая испытательная смесь должна содержать пропана
(4,2 +/- 0,1)% в объемном соотношении с воздухом при атмосферном давлении.
Кроме того, для устройств, предназначенных для использования в среде ацетилена,
должна применяться испытательная смесь ацетилена (7,5 +/- 0,1)% в объемном
соотношении с воздухом при атмосферном давлении.
Если в оболочке
возможно возникновение принудительного или наведенного потока потенциально
взрывоопасного газа, то она должна быть размещена во время испытаний так, чтобы
газ мог проходить через устройство и оболочку.
Вентиляционные и пробоотборные системы следует приводить в действие согласно
указаниям в документации изготовителя. После каждого из пяти испытаний внешняя
взрывоопасная смесь должна присутствовать в течение еще достаточного времени,
чтобы любое непрерывное горение на лицевой стороне устройства становилось
очевидным (например, в течение не менее 10 минут для увеличения температуры
внешней поверхности устройства или для возможности передачи температуры на
внешнюю поверхность устройства).
15.4.2.2. Критерии
оценки
Во время испытаний не
должно наблюдаться непрерывного горения на лицевой стороне устройства и
передачи пламени в испытательную камеру. Для определения температурного класса
электрооборудования измеренное значение повышения температуры внешней
поверхности устройства должно быть умножено на значение коэффициента
безопасности, равное 1,2.
15.4.3.
Испытание на взрывонепроницаемость
Данное испытание
должно быть проведено в соответствии с 15.2 со следующими дополнениями и
изменениями.
15.4.3.1.
Порядок проведения испытаний
Источник
воспламенения должен быть установлен сначала близко к внутренней поверхности
разгрузочного или дренажного устройства, а затем в нескольких местах, если
существует вероятность возникновения давления взрыва с высоким пиковым значением
или с высокой скоростью нарастания давления на внутренней поверхности
устройства. Если оболочка имеет несколько идентичных устройств, то следует
испытывать устройство с худшими результатами. Испытательную смесь внутри
оболочки воспламеняют. Проводят пять испытаний для каждого положения источника
воспламенения.
15.4.3.2. Испытание
на взрывонепроницаемость для дыхательных и дренажных
устройств
Для дыхательных и
дренажных устройств группы I, подгрупп IIA и IIB
проводят испытания на взрывонепроницаемость по
15.2.1.
Для дыхательных и
дренажных устройств подгруппы IIC с параметрами взрывонепроницаемых соединений,
которые могут быть измерены, должны быть проведены испытания по 15.2.2 и
15.4.3.2.1 или 15.4.3.2.2, а для устройств с параметрами соединений, которые не
могут быть измерены, - по 16.4.3.2.1 или 15.4.3.2.2.
15.4.3.2.1.
Метод А
Для устройств,
предназначенных для использования только в среде водорода, испытания следует
проводить только с водородно-воздушной смесью. Испытания проводят пять раз с
каждой испытательной смесью. Испытания проводятся согласно 15.2.2.2 и 15.4.3.1.
15.4.3.2.2.
Метод В
Использование
данного метода накладывает ограничения для перечня газов подгруппы IIC.
Ограничения по применению должны быть указаны согласно МЭК 60079-0
(перечисление e) 27.2).
Если указано, что
электрооборудование не может применяться в среде определенного газа или газов,
то оно должно быть промаркировано согласно МЭК 60079-0 (перечисление i) 27.2),
и это должно быть указано в сертификате.
Применение
дисульфида углерода для оболочек объемом более 100 см3 не допускается.
Применяемые
взрывоопасные испытательные смеси в объемном соотношении с воздухом при
атмосферном давлении следующие:
a) водород (40 +/-
1)%, кислород (20 +/- 1)%, остальное азот;
b) ацетилен (10 +/-
1)%, кислород (24 +/- 1)%, остальное азот.
Испытания следует
проводить пять раз с каждой испытательной смесью в соответствии с 15.4.3.1.
Для устройств,
предназначенных для использования только в среде водорода, следует применять только
испытательную смесь a).
15.4.3.3. Критерии
оценки
Результаты
испытаний считают положительными, если воспламенение не передалось в
испытательную камеру.
16. Контрольные испытания
16.1.
Контрольные испытания предназначены для подтверждения того, что оболочка
выдерживает давление без нарушения вида взрывозащиты.
Контрольные
испытания включают в себя испытания на взрывоустойчивость
по одному из методов, описанных в типовых испытаниях по 15.1.3. Для
электрооборудования, предназначенного для использования при температуре
окружающей среды ниже минус 20 °C, достаточно испытания давлением при
нормальной температуре окружающей среды.
16.1.1. Контрольные
испытания на взрывоустойчивость могут быть проведены
с помощью метода 1 (см. 15.2.2.1), даже если типовые испытания на взрывоустойчивость были проведены с помощью метода 2 (см.
15.2.2.2).
Если определение
давления взрыва затруднено, или проведение динамического испытания является
опасным для встроенных компонентов (например, обмотки и т.д.), то применяемые
значения давлений при статическом испытании следующие:
Давление,
кПа Объем, см3 Группа или подгруппа
1000 Менее или
равно 10 I, IIA, IIB, IIC
1000 более 10 I
1500 более 10 IIA, IIB
2000 более 10 IIC
16.1.2.
Контрольные испытания, проводимые по методу 2 (см. 15.2.2.2), включают:
- испытания на взрывоустойчивость с соответствующей испытательной смесью,
указанной в 15.1.2 (для определения давления взрыва), при давлении внутри и
снаружи оболочки, в 1,5 раза превышающем атмосферное;
- динамическое
испытание на взрывоустойчивость по 15.1.3.2 для
типовых испытаний с последующим проведением испытаний на взрывонепроницаемость
по 15.2.1.2 или 15.2.2.1 (испытание на взрывонепроницаемость
с увеличенными зазорами) внутри и снаружи оболочки при атмосферном давлении;
- динамическое
испытание на взрывоустойчивость по 15.1.3.2 для
типовых испытаний с последующим статическим испытанием и давлением не менее 200
кПа.
16.1.3. Для
контрольных испытаний является достаточным проведение испытаний на пустой
оболочке. Однако если контрольные испытания являются динамическими и встроенные
в оболочку компоненты или электрооборудование подвергают воздействию давления
во время внутреннего взрыва, то условия испытаний должны быть согласованы между
изготовителем и испытательной организацией.
Отдельные части взрывонепроницаемой
оболочки (например, крышки и днища) могут быть испытаны отдельно. Условия
испытаний должны быть такими, чтобы возникающие напряжения были сопоставимыми с
теми, которым подвергаются эти части в собранной окончательно оболочке.
16.2. Контрольные
испытания не проводят для оболочек с объемом менее или равным 10 см3. Это
исключение распространяется также на оболочки с объемом более 10 см3, если были
проведены предписанные типовые статические испытания с давлением, в четыре раза
превышающим давление взрыва. Однако оболочки со сварными конструкциями должны в
каждом случае подвергаться контрольным испытаниям.
Контрольные
испытания проводят также и для оболочек, где определение давления взрыва
представляется затруднительным.
Контрольные
испытания не проводят для проходных изоляторов, неспецифичных для конкретной
оболочки, если процедура сборки оговорена в документации (см. 13.4.4).
16.3. Контрольные
испытания считают положительными, если:
- оболочка
выдерживает давление без остаточных деформаций взрывонепроницаемых соединений и
повреждений оболочки;
- при статических
испытаниях по 16.1.2 (после проведения динамических испытаний) отсутствует
утечка сквозь стенки оболочки или при динамических испытаниях отсутствует
передача внутреннего воспламенения.
17.
Коммутационные аппараты группы I
Взрывонепроницаемые
оболочки группы I, периодически открывающиеся на месте эксплуатации (например,
в целях настройки или для переустановки реле защиты) и содержащие дистанционно
управляемые коммутационные контакты, которые могут быть замкнуты или разомкнуты
не вручную, а с помощью каких-либо воздействий (например, механических,
электрических, электрооптических, пневматических, акустических, магнитных или
тепловых) и которые при эксплуатации воспроизводят дуги или искры, способные
воспламенять взрывоопасные смеси, должны удовлетворять следующим требованиям.
17.1.
Средства защиты
Все доступные
проводники, кроме проводников для искробезопасных цепей, в соответствии с МЭК
60079-11, а также заземления или зануления не должны
оставаться под напряжением после открывания взрывонепроницаемых оболочек.
Средства защиты
этих взрывонепроницаемых оболочек должны удовлетворять требованиям 17.1.1,
17.1.2 или 17.1.3.
17.1.1. Средства
защиты следует устанавливать внутри взрывонепроницаемой оболочки. При этом
части средств защиты, остающиеся под напряжением после открытия средств защиты,
должны:
- быть защищенными
одним из стандартных видов взрывозащиты по МЭК
60079-0;
- иметь
электрические зазоры и пути утечки между фазами и по отношению к земле в
соответствии с требованиями МЭК 60079-7 и быть защищенными дополнительной
внутренней оболочкой со степенью защиты не менее IP20 согласно МЭК 60529, чтобы
было невозможно прикоснуться инструментом к частям, находящимся под
напряжением, через любые отверстия. Это требование не относится к частям
искробезопасных цепей, остающимся под напряжением в соответствии с МЭК
60079-11.
На крышку, которая
защищает части внутри оболочки, находящиеся под напряжением, наносят
предупредительную надпись:
"НЕ ОТКРЫВАТЬ
ПОД НАПРЯЖЕНИЕМ".
17.1.2.
Средства защиты должны быть установлены в дополнительной оболочке, отвечающей
требованиям одного из видов взрывозащиты в
соответствии с МЭК 60079-0.
17.1.3.
Средства защиты должны состоять из вилки и розетки или кабельного соединителя в
соответствии с требованиями 13.3.
17.2.
Крышки и двери
17.2.1. Быстрооткрываемые крышки и двери
Быстрооткрываемые крышки и двери должны быть механически сблокированы со средствами
защиты.
17.2.1.1. Оболочка
должна обеспечивать свойства взрывонепроницаемости и
вид взрывозащиты "d", пока средства защиты
закрыты.
17.2.1.2. Средства
защиты должны закрываться только в том случае, если крышки и двери обеспечивают
свойства взрывонепроницаемой оболочки и вид взрывозащиты
"d".
17.2.2. Крышки и
двери, закрепленные винтами
Такие крышки и
двери должны иметь предупредительную надпись:
"НЕ ОТКРЫВАТЬ
ПОД НАПРЯЖЕНИЕМ".
17.2.3. Резьбовые
крышки и двери
Такие крышки и
двери должны иметь предупредительную надпись:
"НЕ ОТКРЫВАТЬ
ПОД НАПРЯЖЕНИЕМ".
18.
Ламповые патроны и цоколи
К ламповым патронам
и цоколям с видом взрывозащиты "d", для
применения их в световых приборах с видом взрывозащиты
"е", следует применять следующие требования.
18.1. Устройства,
предотвращающие выпадение лампы
Требования к
устройствам, предотвращающим выпадение лампы, согласно МЭК 60079-7 (приложение
А) могут не применяться для резьбовых ламповых патронов при условии наличия
быстродействующего выключателя на взрывонепроницаемой оболочке с видом взрывозащиты "d", отключающего все электроды
электрических цепей лампы до размыкания контактов.
18.2. Патроны и
цоколи ламп с цилиндрическими цоколями
18.2.1. Размеры
патронов и цоколей трубчатых люминесцентных ламп должны удовлетворять
требованиям спецификации Fa6 МЭК 60061.
18.2.2. Для других
патронов должны применяться требования раздела 5, но длина взрывонепроницаемого
соединения между патроном и цоколем должна быть не менее 10 мм в момент
размыкания контактов.
18.3. Патроны ламп
с резьбовыми цоколями
18.3.1. Резьбовая
часть патрона должна быть выполнена из материала, стойкого к коррозии при
заданных условиях эксплуатации.
18.3.2. В момент
размыкания контактов при отвинчивании лампы в зацеплении должны находиться не
менее двух полных витков резьбы.
18.3.3. Для
резьбовых ламповых патронов типов Е26/Е27 и Е39/Е40 электрический контакт
должен быть осуществлен подпружиненным контактным элементом. Кроме того, для
электрооборудования подгрупп IIB или IIC замыкание и размыкание контакта при
установке и удалении лампы должно происходить внутри взрывонепроницаемой
оболочки с видом взрывозащиты "d", подгрупп
IIB или IIC, соответственно.
Примечание. К
резьбовым ламповым патронам типов Е10 и Е14 требования 18.3.3 не применяют.
19.
Неметаллические оболочки
и неметаллические
части оболочек
К неметаллическим
оболочкам и неметаллическим частям оболочек, за исключением уплотнительных
колец кабельных вводов или трубных герметизирующих устройств и неметаллических
частей, от которых вид взрывозащиты не зависит,
предъявляют следующие требования.
19.1.
(Зарезервировано)
19.2.
Специальные конструктивные требования
19.2.1. Трекингостойкость и пути утечки на внутренних поверхностях
стенок оболочки
Когда
взрывонепроницаемые оболочки или ее части из неметаллических материалов служат
опорой токоведущих неизолированных частей, то трекингостойкость
и пути утечки на внутренних поверхностях стенок оболочки должны соответствовать
требованиям МЭК 60079-7. Однако оболочки электрооборудования группы I, которые
могут находиться под электрическим напряжением, способным вызвать дуговые
разряды в воздухе, при номинальных токах нагрузки, превышающих 16 А, должны удовлетворять требованиям, указанным в 12.6.
19.3.
Дополнительные требования к типовым испытаниям
Типовые испытания
по МЭК 60079-0 (подраздел п. 23.4) должны быть дополнены испытаниями в
соответствии с 19.3.1 и 19.3.2.
19.3.1. Испытания
на взрывозащищенность
19.3.1.1. Порядок
проведения испытаний
Испытания на взрывонепроницаемость должны быть проведены на оболочках,
которые выдержали испытания по МЭК 60079-0 (подраздел п. 23.4.7) согласно
заданным условиям применения в следующем порядке.
19.3.1.2.
Испытания оболочек давлением
Испытания проводят
по 15.1.
19.3.1.3.
Испытание на эрозию материала от пламени
Данному испытанию
подвергают оболочки объемом более 100 см3, имеющие хотя бы одну
взрывонепроницаемую поверхность из пластического материала. Испытание проводят
на образце, подготовленном согласно 15.2, за исключением того, что зазор между
плоскими соединениями и между плоскими частями плоскоцилиндрических соединений
должен быть от 0,1 до 0,15 мм.
Проходные
изоляторы, соединяющие два смежных отделения взрывонепроницаемой оболочки,
должны быть испытаны в отделении с худшими условиями.
Проводят 50
воспламенений взрывоопасных смесей согласно 15.1.2.1 для соответствующей группы
и подгруппы. Для электрооборудования группы IIC проводят по 25 воспламенений на
каждой из двух взрывоопасных смесей, указанных в 15.1.2.1.
Оболочка считается
выдержавшей испытания, если она затем выдерживает испытания на взрывонепроницаемость.
19.3.1.4.
Испытания на взрывонепроницаемость
Испытания проводят
по 15.2.
19.3.2.
Испытания на огнестойкость
Испытаниям
подвергают оболочки или части оболочек, изготовленные из пластического
материала.
19.3.2.1.
Испытания проводятся согласно ИСО 1210.
Образцы для
испытаний должны быть подготовлены одним из следующих способов:
- вырезаны из
материала оболочки электрооборудования;
- отлиты как
отдельные части;
- вырезаны
из пластины, приготовленной для этих целей.
Образцы для
испытаний, отлитые как отдельные части или пластины, из которых вырезают
образцы, изготовляют при тех же условиях, при которых была изготовлена оболочка
электрооборудования. Эти условия должны быть записаны в документах
изготовителя.
Примечание. Если
условия изготовления оболочки имеют решающее значение, то они должны быть
зафиксированы в протоколах.
Время, в течение
которого испытуемый образец продолжает гореть после удаления пламени, должно
быть менее 15 секунд. В течение этого времени образец не должен полностью
сгореть (см. ИСО 1210).
19.3.2.2. Если
испытания по 19.3.2.1 не могут быть проведены из-за деформации испытуемого
образца пламенем, то испытуемый образец подвергают одному из следующих
испытаний.
19.3.2.2.1. Первый
альтернативный метод испытаний
Испытание на
горение следует проводить в камере, оболочке или лабораторном вытяжном шкафу в
условиях отсутствия сквозняков. Каждый испытуемый образец
должен поддерживаться в его верхней части на расстоянии 6 мм от его конца с
продольной осью вертикально с помощью зажимного приспособления на круглой
стойке таким образом, чтобы нижний конец образца находился на расстоянии 10 мм
выше верхней части трубки горелки и на расстоянии 300 мм выше горизонтально
уложенного слоя сухой адсорбирующей хирургической ваты (полоской 50 х 50
мм), толщиной не более 6 мм.
Горелка Бунзена
должна иметь трубку длиной 100 мм внутренним диаметром (9,5 +/- 0,5) мм. Трубка
не должна обладать концевым приспособлением для стабилизации положения.
Должен быть
использован технически качественный метан, подача которого регулируется и
регистрируется расходомером (считается, что природный газ, имеющий теплоту
сгорания 37 МДж/м3, может удовлетворять этим параметрам).
Испытуемые образцы
должны быть длиной (125 +/- 5) мм, шириной (13 +/- 0,3) мм и толщиной (4 +/-
0,2) мм.
При необходимости
образцы предварительно готовят к испытаниям по ИСО 1210 (подраздел 5.2).
Горелку устанавливают напротив образца, поджигают и регулятором устанавливают
пламя высотой 20 мм. Горение обеспечивают подачей газа. Если при горении
присутствуют желтые кончики голубого пламени, то увеличивают подачу воздуха до
тех пор, пока желтые кончики пламени не исчезнут. Высоту пламени измеряют снова
и корректируют при необходимости.
Испытательное пламя
устанавливают по центру нижнего конца испытуемого образца и оставляют гореть в
течение 10 секунд. Затем пламя отводят назад не менее чем на 150 мм и наблюдают
за продолжительностью горения образца. Когда горение образца прекращается,
испытательное пламя устанавливают снова под образцом.
Через 10 секунд
пламя отводят и наблюдают за горением и тлением образца.
Результаты
испытаний считаются положительными, если:
- ни один образец
не продолжает гореть в течение 10 секунд после каждого испытания пламенем;
- суммарное время
горения не превышает 50 секунд за 10 поджигов каждого из пяти испытуемых
образцов;
- ни один образец
не горит и не тлеет до удерживающего зажима;
- горячие капающие
частички образца не воспламеняют сухую хирургическую вату, расположенную на 300
мм ниже испытуемого образца;
- испытуемый
образец не воспламеняется от тления в течение 30 секунд после второго удаления
пламени.
19.3.2.2.2. Второй
альтернативный метод испытаний
Испытания
проводят в соответствии с МЭК 60707 (метод V: Пламя - вертикальный испытуемый образец).
Образцы для
испытаний должны быть подготовлены одним из способов:
- вырезаны из
материала оболочки электрооборудования;
- отлиты как отдельные
части;
- вырезаны
из пластины, приготовленной для этих целей.
Образцы для
испытаний, отлитые как отдельные части или пластины, из которых вырезают
образцы, изготовляют при тех же условиях, при которых была изготовлена оболочка
электрооборудования. Эти условия должны быть указаны в документах изготовителя.
19.3.2.2.3. В этих
случаях проводят 50 воспламенений внутри оболочки согласно 19.3.1.3 в качестве
типовых испытаний, перед проведением испытаний согласно 19.3.1.2 и 19.3.1.4, за
исключением испытаний на эрозию материала от пламени при их положительных
результатах.
19.4.
Протокол испытаний
В протоколе
испытаний указывают:
- полные сведения
об электрооборудовании;
- полные сведения о
неметаллических материалах, из которых изготовлены оболочка или ее части;
- результаты
каждого испытания;
- причины, по
которым не были проведены какие-либо испытания.
Приложение
A
(обязательное)
ДОПОЛНИТЕЛЬНЫЕ
ТРЕБОВАНИЯ
К ГОФРИРОВАННЫМ
ЛЕНТОЧНЫМ ЭЛЕМЕНТАМ
ДЫХАТЕЛЬНЫХ И
ДРЕНАЖНЫХ УСТРОЙСТВ
A.1. Гофрированные
ленточные элементы должны быть изготовлены из медно-никелевого сплава,
нержавеющей стали или из металла, согласованного изготовителем с испытательной
организацией. Алюминий, титан, магний и сплавы на их основе к использованию не
допускаются.
A.2. Если параметры
взрывонепроницаемых соединений устройств указаны на чертежах и измерены в
полностью собранном устройстве, то ограничения по верхним и нижним допускам
этих параметров указывают в документах и контролируют при производстве.
A.3. Если
требования пункта А.2 не применяют, то применяют соответствующие требования
Приложения В.
A.4. Типовые
испытания согласно 15.4.3 должны быть выполнены на образцах, изготовленных с
наибольшими допустимыми зазорами.
Приложение
B
(обязательное)
ДОПОЛНИТЕЛЬНЫЕ
ТРЕБОВАНИЯ
К ЭЛЕМЕНТАМ С
НЕИЗМЕРЯЕМЫМИ ПАРАМЕТРАМИ
ВЗРЫВОНЕПРОНИЦАЕМЫХ
СОЕДИНЕНИЙ
ДЫХАТЕЛЬНЫХ И
ДРЕНАЖНЫХ УСТРОЙСТВ
B.1.
Металлокерамические элементы
B.1.1.
Металлокерамические элементы должны быть изготовлены с применением одного из
следующих материалов:
- нержавеющей
стали;
- бронзы с
содержанием меди 90% и олова 10% (см. 10.2);
- специального
металла или сплава, применение которого согласовано между изготовителем и
испытательной организацией. Алюминий, титан и магний, а также их сплавы и
сплавы на их основе к использованию не допускаются.
B.1.2.
Максимальные размеры пор определяют по ИСО 4003.
B.1.3.
Плотность металлокерамического элемента определяют по ИСО 2738.
B.1.4. Если
необходимо определять проницаемость для жидкостей и (или) открытую пористость
устройств в связи с их функциональными
характеристиками, то измерения выполняют согласно ИСО 2738 и ИСО 4022.
B.1.5.
Металлокерамические элементы должны быть четко определены в документах с
указанием:
- материала в
соответствии с 10.2 и В.1.1;
- максимальных
размеров пор в микрометрах согласно В.1.2;
- минимальной
плотности согласно В.1.3;
- минимальной
толщины;
- проницаемости по
отношению к жидкости и открытой пористости согласно B.1.4, если необходимо.
B.2. Спрессованные
металлические проволочные элементы
B.2.1.
Спрессованные металлические проволочные элементы должны быть изготовлены из
проволочной оплетки из нержавеющей стали или из другого металла, применение
которого должно быть согласовано между изготовителем и испытательной
организацией.
Алюминий, титан,
магний и сплавы на их основе к применению не допускаются. Изготовление начинают
с проволочной оплетки, которую прессуют для формирования однородной матрицы.
B.2.2. Для
определения плотности должен быть указан диаметр проволоки. Должна быть
представлена информация о массе, длине проволочной оплетки, толщине элемента и
размерах пор. Соотношение между массой элемента и массой идентичного объема
такого же цельного металла должно быть в пределах от 0,4 до 0,6.
B.2.3.
Максимальные размеры пор - по ИСО 4003.
B.2.4.
Плотность элемента - по ИСО 2738.
B.2.5. Если
необходимо определять проницаемость для жидкостей и (или) открытую пористость
элементов в связи с их функциональными характеристиками, то измерения выполняют
согласно ИСО 2738 и ИСО 4022.
B.2.6. Элементы из
металлической проволоки должны быть четко определены в документах с указанием:
- материала в
соответствии с 10.2 и B.2.1;
- максимальных
размеров пор в микрометрах согласно B.2.3;
- минимальной
плотности согласно B.2.4;
- размеров с
указанием допустимых отклонений;
- первоначального
диаметра проволоки;
- проницаемости по
отношению к жидкости и открытой пористости согласно п. B.2.5, если необходимо.
B.3. Металлические
вспененные элементы
B.3.1.
Металлические вспененные элементы должны быть изготовлены с помощью
полиуретановой пены, содержащей никель. Полиуретан удаляют термическим
разложением, преобразованием никеля в никель-хромовый
сплав, например, с помощью газовой диффузии и сжатия материала, если
необходимо.
B.3.2.
Металлические вспененные элементы должны содержать хрома не менее 15% (по
массе).
B.3.3.
Максимальный размер пор - по ИСО 4003.
B.3.4. Плотность
элемента - по ИСО 2738.
B.3.5. Если
необходимо определять проницаемость для жидкостей и (или) открытую пористость
элементов в связи с их функциональными характеристиками, то измерения выполняют
согласно ИСО 2738 и ИСО 4022.
B.3.6.
Металлические вспененные элементы должны быть четко определены в документах с
указанием:
- материала в
соответствии с 10.2, B.3.1 и B.3.2;
- максимальных
размеров пор в микрометрах согласно B.3.3;
- минимальной
толщины;
- минимальной
плотности;
- проницаемости по
отношению к жидкости и открытой пористости согласно B.3.5, если необходимо.
Приложение
C
(обязательное)
ДОПОЛНИТЕЛЬНЫЕ
ТРЕБОВАНИЯ
К
ВЗРЫВОНЕПРОНИЦАЕМЫМ КАБЕЛЬНЫМ ВВОДАМ,
EX-ЗАГЛУШКАМ И
EX-РЕЗЬБОВЫМ ПЕРЕХОДНИКАМ
C.1. Общие
положения
Настоящее
приложение содержит специальные требования, которые в дополнение к требованиям
МЭК 60079-0 регламентируют требования к конструкции и испытаниям
взрывонепроницаемых кабельных вводов, Ex-заглушек и Ex-резьбовых переходников.
C.2. Конструктивные
требования
C.2.1. Способы
уплотнения
C.2.1.1. Кабельные
вводы, закрепленные эластичным уплотнительным кольцом
C.2.1.1.1. Если в
кабельном вводе применяют уплотнительные кольца с одинаковым наружным
диаметром, но имеющие различные внутренние диаметры, то в несжатом состоянии
высота кольца по оси между проходным отверстием кабельного ввода и
уплотнительным кольцом и между уплотнительным кольцом и кабелем должно быть не
менее:
- 20 мм - для
кабелей круглого сечения диаметром не более 20 мм и для кабелей некруглого
сечения с периметром не более 60 мм;
- 25 мм - для
кабелей круглого сечения диаметром более 20 мм и для кабелей некруглого сечения
с периметром более 60 мм.
C.2.1.1.2. Если
кабельный ввод допускает к применению только одно специальное эластичное
уплотнительное кольцо, то высота кольца в несжатом состоянии должна быть не
менее 5 мм между проходным отверстием кабельного ввода и уплотнительным кольцом
и между уплотнительным кольцом и кабелем.
В этом случае
кабельные вводы маркируют знаком "X" согласно МЭК 60079-0
(перечисление i) 27.2).
C.2.1.2.
Кабельные вводы, закрепленные герметиком
Заливка должна быть
выполнена на длину не менее 20 мм.
Изготовитель должен
указывать:
- максимальный
диаметр жил кабеля, для которых кабельный ввод предназначен;
- максимальное
число жил кабеля, которые могут проходить через
герметик.
Указанные величины
должны гарантировать, что при требуемой длине заливки 20 мм не менее 20%
площади поперечного сечения заполнено герметиком.
Конструкция
кабельного ввода должна допускать его установку и извлечение из
электрооборудования без повреждения герметизации по истечении указанного
времени затвердевания герметика.
Изготовитель должен
предоставить потребителю инструкции по герметизации и установке кабельных
вводов. Эти инструкции являются частью технической документации.
C.2.2.
Резьбовые кабельные вводы
Резьбовые
взрывонепроницаемые соединения должны удовлетворять требованиям 5.3.
Для цилиндрических
резьбовых соединений длина резьбы должна быть не менее 8 мм и составлять не
менее шести полных витков резьбы. Если резьбовое соединение имеет подрезку, то
должны быть установлены прокладки или аналогичные изделия, гарантирующие
требуемое резьбовое соединение.
Примечание.
Требование к длине резьбы в шесть полных витков должно гарантировать, что не
менее пяти полных витков резьбы будут в зацеплении в собранной взрывонепроницаемой
оболочке.
C.2.3.
Конструктивные требования к Ex-заглушкам
C.2.3.1. Ex-заглушки с цилиндрической резьбой должны удовлетворять
одному или нескольким требованиям 11.9. Ex-заглушки с
конической резьбой должны соответствовать типу 22b (см. рисунок 22), а их
наружная поверхность должна находиться на уровне L1 (-0 + 1/4).
Примечание. Эти
требования могут распространяться на вводы в оболочки, снабженные заглушкой,
внешняя поверхность которой расположена максимально близко к оболочке.
C.2.3.2. Все
цилиндрические резьбы должны удовлетворять требованиям C.2.2.
C.2.4.
Конструктивные требования к резьбовым Ex-переходникам
C.2.4.1. Все резьбы
должны удовлетворять требованиям C.2.2.
C.2.4.2. Резьбы Ex-переходников должны быть коаксиальными (соосными).
C.2.4.3. Длина и
внутренний объем резьбовых Ex-переходников
должны быть достаточными, чтобы обеспечить необходимый минимум для надежного
соединения.
C.2.4.4. К одному
вводу подсоединяют только один переходник.
C.2.4.5. Переходник
не используют в комплекте с заглушкой.
C.3. Типовые
испытания
C.3.1. Испытания на
герметичность
C.3.1.1.
Кабельные вводы, закрепленные уплотнительным кольцом
Эти испытания
проводят, используя для каждого типа кабельного ввода по одному уплотнительному
кольцу каждого из допустимых размеров. При испытаниях эластичных уплотнительных
колец для кабелей круглого сечения каждое кольцо устанавливают в чистую сухую
отполированную цилиндрическую оправку из мягкой стали, диаметр которой равен
наименьшему диаметру кольца, указанному изготовителем кабельного ввода.
Испытания
металлического уплотнительного кольца или кольца из композитного материала
проводят на кольце, установленном на металлическую оплетку чистого сухого
образца кабеля, диаметр которого равен наименьшему допустимому диаметру кольца,
указанному изготовителем кабельного ввода.
Испытания
уплотнительных колец для кабелей некруглого сечения проводят на кольце,
установленном на чистом сухом образце кабеля, периметр которого равен
наименьшему допустимому значению для кольца, согласно указаниям изготовителя
кабельного ввода.
Уплотнительное
кольцо в сборе с оправкой или кабелем устанавливают в кабельном вводе. Затем к винтам (в случае нажимного фланца с винтами) или к гайке (в
случае нажимной гайки) прикладывают крутящий момент для сжатия уплотнительного
кольца до такой степени, чтобы не происходило выскальзывания оправки или кабеля
при приложении к ним гидравлического усилия 2000 кПа - для электрооборудования
группы I и 3000 кПа - для электрооборудования группы II.
Примечания. 1.
Значения крутящего момента могут быть определены экспериментально до испытаний
или сообщены изготовителем кабельного ввода.
Собранный узел
монтируют на гидравлической испытательной установке, использующей окрашенную
воду или гидравлическое масло, как приведено на рисунке С.1. Гидравлический
контур продувают, и давление постепенно увеличивается.
Результаты
испытаний считают положительными, если промокательная бумага не имеет следов
протекания в течение двух минут при поддержании давления 2000 кПа - для электрооборудования
группы I и 3000 кПа - для электрооборудования группы II.
2. Может появиться
необходимость уплотнить все соединения кабельного ввода, смонтированного на
испытательном устройстве, отличные от тех соединений, которые подвергались
испытаниям с уплотнительным кольцом. При проведении испытаний на образцах
кабеля в металлической оплетке необходимо избегать приложения давления к концам
проводников или к внутренней части кабеля.

1 - гидравлический
насос; 2 - манометр;
3 - рукав; 4 -
промокательная бумага;
5 - переходник; 6 -
уплотнительное кольцо;
7 - оправка/кабель
с металлической оплеткой;
8 - нажимной
элемент; 9 - прижимное устройство
Рисунок
С.1. Установка для испытаний кабельных вводов
на герметичность
C.3.1.2.
Кабельные вводы с уплотнением кабеля герметиком
Испытывают каждый
размер кабельного ввода с использованием металлических оправок, число и диаметр
которых равны максимальному диаметру жил кабеля с
максимальным числом жил кабеля, как указано изготовителем согласно требованиям
C.2.1.2.
Герметик, подготовленный в соответствии с предписаниями изготовителя
кабельного ввода, заделывают в имеющееся пространство с выдержкой времени для
затвердевания. Испытания проводят согласно МЭК 60079-0 (подпункты 23.4.7.3 и
23.4.7.4).
Затем собранный
узел монтируют на гидравлической испытательной установке согласно C.3.1.1.
Порядок проведения испытаний и критерии оценки результатов испытаний - по
3.1.1.
C.3.2. Испытания на
механическую прочность
C.3.2.1.
Кабельные вводы с резьбовым закрепляющим элементом
Закрепляющий
элемент закручивают в два раза большим по значению крутящим
моментом в сравнении с требуемым для испытаний на герметичность. При
этом крутящий момент (в Н х м) всегда должен быть, по крайней мере, в три раза
больше значения максимально возможного диаметра кабеля (в миллиметрах), если
кабельный ввод сконструирован для кабелей круглого сечения и равен значению
максимально возможного периметра кабеля (в миллиметрах), если кабельный ввод
предназначен для кабелей некруглого сечения.
Кабельный ввод
затем разбирают и его части проверяют.
C.3.2.2. Кабельные
вводы с закрепляющим элементом, зафиксированным винтами
При испытаниях на
герметичность винты закрепляющих элементов затягивают крутящим моментом,
который в два раза превышает значение крутящего момента, необходимого для
предотвращения выскальзывания кабеля. При этом крутящий момент всегда должен
быть не менее следующих значений:
10 Н x м - М6;
20 Н x м - М8;
40 Н x м - М10;
60 Н x м - М12;
100 Н x м - М14;
150 Н x м - М16.
Кабельный ввод
затем разбирают и его части проверяют.
C.3.2.3.
Кабельные вводы с уплотнением кабеля герметиком
Резьбовые кабельные
вводы следует закручивать в соответствующее резьбовое отверстие жестко
смонтированной стальной плиты крутящим моментом (в Н x м), равным минимальному
значению, указанному в C.3.2.1.
Кабельный ввод
разбирают, затем его части проверяют.
C.3.2.4. Критерии
оценки
Результаты
испытания по C.3.2.1 - C.3.2.3 считают положительными, если не произошло
повреждений ни одной части кабельного ввода.
Примечание.
Какие-либо повреждения уплотнительных колец не принимают во внимание.
C.3.3. Типовые
испытания Ex-заглушек
C.3.3.1. Испытания
крутящим моментом
Образец Ex-заглушки каждого размера закручивают в жестко
смонтированную стальную плиту с вводным резьбовым отверстием, размеры и форма
которого соответствуют испытуемому образцу. Образец должен быть затянут
соответствующим инструментом крутящим моментом, значение которого не менее указанного в таблице С.1. Результаты испытаний считают
положительными, если обеспечено необходимое зацепление резьбы и при разборке не
обнаружено повреждения частей; повреждением шейки заглушки типа 22с можно
пренебречь. Удаление заглушки типа 22b должно быть
возможно только с применением соответствующего инструмента.
Таблица C.1
Значения
крутящих моментов
|
Размер
резьбы,
мм
|
Значение крутящего момента, Н x м
|
|
при испытаниях крутящим
моментом и на удар
|
для
заглушки типа 22b
|
|
16
|
40
|
65
|
|
20
|
40
|
65
|
|
25
|
55
|
95
|
|
32
|
65
|
110
|
|
40
|
80
|
130
|
|
50
|
100
|
165
|
|
63
|
115
|
195
|
|
75
|
140
|
230
|
|
более 75
|
2d <*>
|
3,5d <*>
|
|
<*> Переменная величина d -
наружный диаметр резьбы, мм.
|
Заглушки типа 22b
должны подвергаться дальнейшим испытаниям крутящим моментом, значение которого
не менее указанного в таблице С.1. Результаты
испытаний считают положительными, если режущая кромка не зашла полностью в
резьбу.
C.3.3.2. Испытание
на взрывоустойчивость
Заглушки подвергают
типовым испытаниям статическим давлением согласно 15.1.3.1 со значениями:
- 2000 кПа - для
электрооборудования группы I;
- 3000 кПа - для
электрооборудования группы II.
C.3.4. Типовые
испытания резьбовых Ex-переходников
C.3.4.1. Испытания
крутящим моментом
Образец резьбового Ex-переходника каждого размера закручивают в жестко
смонтированную стальную плиту с вводным резьбовым отверстием, размеры и форма
которого соответствуют испытуемому образцу. В проходное отверстие переходника
закручивают стальную или латунную резьбовую заглушку соответствующей формы и
размера.
Заглушку затягивают
крутящим моментом, значение которого не менее указанного
в таблице C.1 и соответствующего большему из двух размеров резьбы переходника.
Результаты испытания считают положительными, если после разборки конструкции
повреждений переходника не обнаружено.
C.3.4.2. Испытание
на удар
Образец резьбового Ex-переходника каждого размера закручивают в жестко
смонтированную стальную плиту с вводным резьбовым отверстием, размеры и форма
которого соответствуют испытуемому образцу. В переходник закручивают нарезанным
концом латунный или стальной стержень, диаметр которого соответствует диаметру
переходника, а длина обеспечивает выступ, по величине равный входному диаметру
переходника, но не менее 50 мм, крутящим моментом, значение которого не менее указанного в таблице С.1. Собранный узел подвергают
испытаниям на удар в соответствии с требованиями МЭК 60079-0.
Конец стержня
подвергают удару под прямым углом к оси.
C.3.4.3. Испытание
на взрывоустойчивость
Резьбовые
переходники подвергают типовым испытаниям статическим давлением согласно
15.1.3.1 со значениями:
- 2000 кПа - для
электрооборудования группы I;
- 3000 кПа - для
электрооборудования группы II.

Рисунок
С.2. Примеры Ex-переходников
Приложение
D
(обязательное)
ВЗРЫВОНЕПРОНИЦАЕМЫЕ
ОБОЛОЧКИ КАК ЕХ-КОМПОНЕНТЫ
D.1. Общие
требования
Если требуется
оформление сертификата на электрооборудование законченной конструкции, то
сертификат на пустую оболочку как Ex-компонент
не обязателен. Сертификацию пустых взрывонепроницаемых оболочек проводят
с целью получения изготовителем оболочек сертификата для дальнейшей возможности
использования пустой оболочки третьей стороной, изготавливающей
электрооборудование законченной конструкции, что предоставляет возможность не
проходить все типовые испытания пустой взрывонепроницаемой оболочки.
D.2. Вводные
замечания
Настоящее
приложение содержит требования к сертификату на пустую оболочку как на Ex-компонент. При этом необходимо учесть, что это не
устраняет потребности получения сертификата на электрооборудование законченной
конструкции во взрывонепроницаемой оболочке, а только способствует его
получению.
Владелец
сертификата на Ex-компонент обязан гарантировать, что
каждое изделие:
a) конструкционно
является идентичным оригинальному изделию согласно документации, указанной в
сертификате на Ex-компонент;
b) подвергнуто
требуемым типовым испытаниям на взрывоустойчивость;
c) удовлетворяет
требованиям перечня ограничений, приведенного в сертификате на Ex-компонент.
D.3. Требования к
взрывонепроницаемой оболочке
D.3.1. Оболочки
должны удовлетворять требованиям МЭК 60079-0 и МЭК 60079-1.
D.3.2.
Оболочки электрооборудования группы I и подгрупп IIA и IIB в основном должны
иметь простую геометрическую форму квадратного, прямоугольного или круглого
поперечного сечения с допустимым отклонением на сужение, не превышающим 10%.
При этом ни один из больших размеров не должен превышать любой другой больший
размер более, чем отношение 4:1.
Оболочки
электрооборудования подгруппы IIC в основном должны иметь простую
геометрическую форму квадратного, прямоугольного или круглого поперечного
сечения с допустимым отклонением на сужение, не превышающим 10%. При этом ни
один из больших размеров не должен превышать любой другой больший размер более, чем отношение 2:1.
D.3.3.
Взрывонепроницаемые оболочки для электрических вращающихся машин не могут быть
сертифицированы как пустые Ex-компоненты.
Примечание. Термин
"машины" распространяется на электродвигатели, которые размещены в
оболочке.
D.3.4. В оболочках
должны быть предусмотрены специальные места для установки и монтажа внутренних
компонентов.
D.3.5. В оболочке
для механических и электрических цепей не должно быть просверлено ни одно
отверстие насквозь или частично, кроме указанных в
документах и в соответствующем сертификате на Ex-компонент.
Допускается
сверление любых отверстий, если они указаны в сертификате на Ex-компонент и выполнены только держателем сертификата на Ex-компонент.
Максимальное
количество отверстий, их максимальные размеры и размещение должны быть указаны
в документах, прилагаемых к Ex-сертификату.
D.3.6. Для оболочек
электрооборудования групп I, подгрупп IIA и IIB значение давления взрыва
определяется согласно 15.1.2 при ниже перечисленных внесенных изменениях
испытуемого образца:
- если ни один из
больших размеров отделений не превышает другой больший размер более, чем отношение 2:1, то внесение изменений не требуется;
- во всех остальных
допустимых конструкциях устанавливаемая перегородка должна иметь площадь,
составляющую приблизительно 80% поперечного сечения, находиться в центре малой
оси и на 2/3 большой оси. Перегородка должна повторять поперечное сечение
оболочки.
Для оболочек
электрооборудования группы IIC значение давления взрыва определяют согласно
15.1.2. При этом устанавливаемая в оболочках перегородка должна иметь площадь,
составляющую приблизительно 60% поперечного сечения, находиться в центре малой
оси и делить большую ось в соотношении приблизительно 2/3. Перегородка должна
повторять поперечное сечение оболочки.
При внесении
изменений в испытуемый образец установкой перегородки источники воспламенения и
датчики давления следует устанавливать по обе стороны от перегородки для
одновременного измерения давления.
D.3.7. Оболочки
должны выдерживать испытание на взрывоустойчивость
при максимальном количестве отверстий максимальных размеров при давлении,
равном 1,5-кратному значению давления взрыва, определяемого по 15.1.2 для
пустой оболочки с закрытыми соответствующим способом отверстиями для кабельных
вводов.
Контрольным испытаниям
не подвергают оболочки, которые выдержали типовые испытания статическим
давлением, в четыре раза превышающим давление взрыва.
Оболочки сварной
конструкции в любом случае следует подвергать контрольным испытаниям.
Контрольные
испытания на взрывоустойчивость должны включать один
из видов:
- динамические
испытания с соответствующей испытательной смесью, указанной в 15.1.2 (для
определения давления взрыва), при давлении внутри и снаружи оболочки, в 1,5
раза превышающем атмосферное;
- статические
испытания давлением, в 1,5 раза превышающим значение давления взрыва, но не
менее 350 кПа.
D.3.8. Внутренние
маркировочные надписи внутри оболочки наносят способом, обеспечивающим
долговечность и прочность. Такая маркировка должна включать следующую
информацию:
"ПУСТАЯ
ОБОЛОЧКА СЕРТИФИЦИРОВАНА КАК ЕХ-КОМПОНЕНТ".
Маркировочные
надписи должны удовлетворять также требованиям к маркировке Ex-компонентов,
приведенным в МЭК 60079-0.
Маркировку можно не
наносить, если изготовитель оболочки является также держателем сертификата на
электрооборудование законченной конструкции.
D.3.9. Внешняя
маркировка оболочки дополняется информационными данными как для
электрооборудования согласно МЭК 60079-0.
D.3.10. В
сертификате на Ex-компонент должна быть приведена
следующая информация:
- перечень
ограничений согласно D.3.2;
- любые
дополнительные ограничения, обусловленные конструкцией, например, максимальная
рабочая температура смотровых окон.
D.4. Использование
сертификата на Ex-компонент для получения сертификата
на электрооборудование
D.4.1. Процедура
оформления
Оболочки, имеющие
сертификат на Ex-компонент, могут рассматриваться как
электрооборудование для получения сертификата согласно МЭК 60079-0 и МЭК
60079-1 и, как правило, не подлежат повторным проверкам. При этом должны быть учтены
требования D.3.2.
Приложение к
сертификату электрооборудования должно иметь перечень устройств,
устанавливаемых в оболочке, с описанием условий монтажа, а также применения и
ограничений, указанных в сертификатах на Ex-компоненты.
D.4.2. Перечень ограничений
Должны быть
выполнены требования к оформлению обычного сертификата, но при этом особое
внимание следует уделять перечню ограничений, которые должны быть включены как
часть сертификата на Ex-компонент.
D.4.2.1. При
необходимости, для обеспечения требований безопасности, комплектующие элементы
оболочки должны удовлетворять соответствующим требованиям стандартов на
электрооборудование.
D.4.2.2. На
электрические вращающиеся машины или другие устройства, создающие
турбулентность, данное требование не распространяется.
D.4.2.3. Первичные
и вторичные элементы, а также батареи следует применять только в соответствии с
Приложением Е.
D.4.2.4. Оболочки,
которые могут открываться до истечения времени, необходимого для разряда
конденсаторов или охлаждения нагревательных компонентов, должны быть
маркированы в соответствии с требованиями МЭК 60079-0.
D.4.2.5. Применение
маслонаполненных выключателей и контакторов не допускается.
D.4.2.6. Все
вводные или закрывающие устройства должны соответствовать требованиям раздела 5
или должны быть сертифицированы в комплекте с электрооборудованием и
соответствовать условиям применения.
D.4.2.7. Для
электрооборудования группы I, подгрупп IIA и IIB оболочка с комплектующими
элементами внутри может иметь любую компоновку при условии, что не менее 20%
площади поперечного сечения оболочки остается свободной для беспрепятственного
течения потока газа, чтобы не ограничивать развитие взрыва.
Для
электрооборудования подгруппы IIC оболочка с комплектующими элементами внутри
может иметь любую компоновку при условии, что не менее 40% площади поперечного
сечения оболочки остается свободной для беспрепятственного течения потока газа,
чтобы не ограничивать развитие взрыва.
Отдельные свободные
площади могут суммироваться при условии, что размеры каждого свободного участка
в любом направлении будут не менее 12,5 мм.
Приложение
E
(обязательное)
ЭЛЕМЕНТЫ И
БАТАРЕИ,
ПРИМЕНЯЕМЫЕ ВО
ВЗРЫВОНЕПРОНИЦАЕМЫХ ОБОЛОЧКАХ "d"
E.1. Вводные
замечания
Настоящее
приложение регламентирует требования к электрооборудованию с
взрывонепроницаемой оболочкой видом взрывозащиты
"d", содержащей одну или несколько батарей для питания электрических
цепей.
При использовании
электрохимических элементов тока, независимо от их типа, главной целью является
предотвращение образования взрывоопасных смесей электролитических газов (обычно
водород или кислород) внутри взрывонепроницаемой оболочки. Вследствие этого
применение внутри взрывонепроницаемой оболочки элементов и батарей, способных в
нормальном режиме работы (за счет естественной вентиляции или через
разгрузочный клапан) выделять электролитические газы, не допускается.
E.2. Допустимые к
применению электрохимические системы
К применению
допускаются только элементы, перечисленные в таблицах E.1 и E.2, характеристики
которых указаны в соответствующих стандартах МЭК.
Таблица E.1
Допускаемые к
применению первичные элементы
┌───────────┬────────┬────────────────┬────────┬────────┬────────┐
│ Тип
│Положи- │ Электролит
│Отрица-
│Нормаль-│Макси- │
│элемента
по│тельный │ │тельный
│ное на- │мальное
│
│МЭК
60086-1│электрод│
│электрод│пряже-
│напряже-│
│ │ │ │ │ние,
В │ние ра- │
│ │ │ │ │ │зомкну-
│
│ │ │ │ │ │той │
│ │ │ │ │ │цепи, В
│
├───────────┼────────┼────────────────┼────────┼────────┼────────┤
│ -
│Диоксид │Хлориды
│Цинк │ 1,5
│ 1,73 │
│ │марганца│аммония,
цинка │ │ │ │
├───────────┼────────┼────────────────┼────────┼────────┼────────┤
│ A
│Соедине-│Хлорид аммония, │Цинк │
1,4 │ 1,55
│
│ │ния
кис-│хлорид цинка │ │ │ │
│ │лорода │ │ │ │ │
├───────────┼────────┼────────────────┼────────┼────────┼────────┤
│ C
│Диоксид │Органическое │Литий │
3,0 │ 3,7
│
│ │марганца│соединение │ │ │ │
├───────────┼────────┼────────────────┼────────┼────────┼────────┤
│ E
│Хлорид │Гидрат неорга- │Литий
│ 3,6 │
3,9 │
│ │тионила
│нического
│ │ │ │
│ │(SOCl ) │соединения
│ │ │ │
│ │ 2
│
│ │ │ │
├───────────┼────────┼────────────────┼────────┼────────┼────────┤
│ L
│Диоксид │Гидроксид ще- │Цинк │
1,5 │ 1,65
│
│ │марганца│лочного
металла │ │ │ │
├───────────┼────────┼────────────────┼────────┼────────┼────────┤
│ S
│Оксид
│Гидроксид
│Цинк │ 1,55
│ 1,63 │
│ │серебра │щелочного │ │ │ │
│ │(Ag
O) │металла │ │ │ │
│ │ 2 │ │ │ │ │
├───────────┼────────┼────────────────┼────────┼────────┼────────┤
│ T
│Оксиды
│Гидроксид
│Цинк │ 1,55
│ 1,87 │
│ │серебра │щелочного │ │ │ │
│ │(AgO, │металла │ │ │ │
│ │Ag
O) │ │ │ │ │
│ │ 2
│
│ │ │ │
├───────────┼────────┼────────────────┼────────┼────────┼────────┤
│ <*>
│Диоксид │Гидрат неорга- │Литий │
3,0 │ 3,0
│
│ │серы │нической
соли │ │ │ │
├───────────┼────────┼────────────────┼────────┼────────┼────────┤
│ <*>
│Ртуть │Гидроксид ще- │Цинк │ Нет
│ Нет │
│ │ │лочного
металла │ │ данных
│ данных │
├───────────┴────────┴────────────────┴────────┴────────┴────────┤
│ <*> Может использоваться только при
наличии соответствующего│
│стандарта
МЭК на элементы. │
│
│
│ Примечание. Элементы из
диоксида цинка/марганца описаны│
│в
МЭК 60086-1, но не обозначены по типу. │
└────────────────────────────────────────────────────────────────┘
Таблица E.2
Допускаемые
к применению вторичные элементы
|
Соответствующий
тип/стандарт
МЭК
|
Тип
|
Электролит
|
Номинальное
напряжение,
В
|
Максимальное
напряжение
разомкнутой
цепи, В
|
|
Тип К
МЭК 60285
МЭК 60623
МЭК 60662
|
Никель-
кадмиевые
|
Гидроксид
калия (плот-
ность
1,3 г/см3)
|
1,2
|
1,55
|
|
<*>
|
Литиевые
|
Гидрат
неор-
ганической
соли
|
Нет данных
|
Нет данных
|
|
МЭК 61436
|
Никель-
металло-
гидридные
|
Гидроокись
калия
|
1,2
|
1,5
|
|
<*> Могут использоваться только при наличии соответствующего
стандарта МЭК.
|
E.3. Общие
требования к элементам (или батареям), установленным внутри взрывонепроницаемой
оболочки
E.3.1. При
применении определенных типов элементов распространяются следующие ограничения:
- сборка батареи
внутри взрывонепроницаемой оболочки из вентилируемых и открытых элементов не
допускается;
- герметизированные
с разгрузочным клапаном элементы можно устанавливать внутри взрывонепроницаемой
оболочки, но только в целях разрядки;
- герметичные
газонепроницаемые вторичные элементы можно заряжать при условии соответствия
требованиям раздела Е.5.
E.3.2.
Взрывонепроницаемые оболочки с установленными внутри батареями должны содержать
предупредительную надпись:
"ПРЕДУПРЕЖДЕНИЕ
- Не открывать при присутствии взрывчатого газа".
Это требование не
распространяется на батареи и связанные с ними электрические цепи,
удовлетворяющие требованиям МЭК 60079-11, и на батареи, не заряжаемые при
эксплуатации по МЭК 60079-11 (подраздел 7.4).
E.3.3.
Батареи и связанные с ними устройства защиты должны крепиться надежно
(например, зажимами или держателями).
E.3.4.
Должны быть предусмотрены меры, предотвращающие перемещение между батареями и
связанными с ними устройствами защиты или устройствами, которые могут нарушить вид
взрывозащиты.
Примечание.
Соответствие требованиям E.3.3 и E.3.4 следует проверять до и после
механических испытаний согласно МЭК 60079-0 (подпункт 23.4.3).
E.4. Размещение
устройств защиты
E.4.1.
Меры, предотвращающие превышение температуры и повреждения элемента
E.4.1.1.
Если при эксплуатации батареи возможны короткие замыкания, то батареи должны
иметь устройства защиты согласно E.4.1.2 или удовлетворять следующим
требованиям:
- температура
наружной поверхности элемента или батареи не должна превышать рабочую
температуру, указанную изготовителем элемента или батареи, или 80 °C в
зависимости от того, что ниже с учетом температуры окружающей среды внутри
оболочки;
- максимальный ток
разрядки элемента или батареи не должен превышать соответствующие значения,
указанные изготовителем.
E.4.1.2.
Если требования пункта E.4.1.1 не могут быть выполнены, то необходимо
предусмотреть защитные устройства, удовлетворяющие требованиям к неповреждаемым компонентам в соответствии с МЭК 60079-11 и
расположенные в непосредственной близости к клеммам элемента или батареи.
Защитным устройством может служить:
- резистор или токоограничительное устройство, ограничивающее ток до
максимально возможных значений, указанных изготовителем батареи;
- плавкий
предохранитель, соответствующий требованиям МЭК 60127, выбранный таким образом,
чтобы его характеристики были адекватными максимальным значениям тока и
длительности отключения, указанным изготовителем батареи.
Если плавкий
предохранитель подлежит замене, то рядом с держателем предохранителя должна
быть установлена маркировочная надпись, указывающая тип используемого
предохранителя.
E.4.2. Меры
защиты от переполюсовки или обратной зарядки другим
элементом в той же батарее
E.4.2.1. Для
батарей емкостью 1,5 А x ч или меньше (при номинальной
разрядке в течение одного часа) и объемом, занимающим менее 1% свободного
объема оболочки, дополнительные меры защиты от выделения электролитического
газа, образующегося при переполюсовке или обратной
зарядке элемента за счет разряда других элементов этой же батареи, не
требуются.
Примечание. Данное
требование не следует рассматривать как допущение к выделению
электролитического газа от таких элементов.
E.4.2.2. При
использовании батарей емкостью и (или) объемом, превышающими указанные
значения, должны быть предусмотрены меры, предотвращающие переполюсовки
или обратную зарядку элементов другими элементами внутри батареи.
Это может быть
достигнуто следующими способами:
- контролем
напряжения элемента (или нескольких элементов) и отключением нагрузки, если
напряжение уменьшается до значения менее минимального
значения, указанного изготовителем;
Примечание 1. Такая
защита часто используется, чтобы предотвратить попадание элементов в состояние
"глубокого разряда". При контроле напряжения большого числа
элементов, соединенных последовательно, защита может не функционировать надежно
из-за колебаний напряжений в каждом отдельном элементе и в цепи защиты. В общем
случае защитный модуль может быть установлен для контроля не более шести
последовательно соединенных элементов.
- использованием шунтирующих диодов, подсоединенных так, чтобы
ограничить переполюсовки напряжения по каждому
элементу (например, защитные меры для батареи, состоящей из трех
последовательно соединенных элементов (схема приведена на рисунке E.1)).

Рисунок E.1. Схема
подключения диодов из трех элементов,
соединенных
последовательно
Для эффективного
воздействия таких защитных мер значение прямого падения напряжения на каждом
диоде, используемом для предотвращения обратной зарядки элемента, не должно
превышать значение безопасного обратного напряжения зарядки данного элемента.
Примечание 2.
Считается, что кремневые диоды удовлетворяют данному требованию.
E.4.3. Меры
защиты от несанкционированной зарядки батареи от других источников напряжения
во взрывонепроницаемой оболочке
Если в оболочке
имеются другие источники напряжения, в том числе другие батареи, то батарея и
связанные с ней электрические цепи должны быть защищены от зарядки способами,
отличными от специально предназначенных для этих целей цепей. Например, одним
из следующих способов:
- отделением
батареи и связанных с ней электрических цепей от всех остальных источников
напряжения, установленных внутри оболочки, при удовлетворении требований к
путям утечки и электрическим зазорам согласно МЭК 60079-7 (таблица 1) для
наибольшего значения напряжения;
-
отделением батареи и связанных с ней электрических цепей от всех остальных
источников напряжения, установленных внутри оболочки, с помощью заземленного металлического
барьера/экрана, способного защитить источник внутри оболочки, с помощью
заземленного металлического барьера/экрана, выдерживающего максимально
возможный ток источника при повреждениях в течение времени его существования (с
учетом установленных элементов защиты, таких как предохранитель или защитное
заземление);
- отделением только
батареи от других источников напряжения при удовлетворении требований к путям
утечки и электрическим зазорам согласно МЭК 60079-7 (таблица 1), при этом
должны быть установлены блокирующие диоды (рисунок Е.2) для повышения
надежности защиты в случае короткого замыкания одного из них.

Рисунок E.2. Схема
подключения блокирующих диодов
Требования E.4.3 не
распространяются на электрические цепи, подключенные к батарее с целью
стабилизации напряжения или создания источника, предназначенного для зарядки
батарей, состоящих из вторичных элементов согласно E.5.
E.5.
Зарядка вторичных элементов, установленных внутри взрывонепроницаемых оболочек
E.5.1. Зарядке
подлежат только установленные внутри взрывонепроницаемой оболочки герметичные,
газонепроницаемые, никель-кадмиевые элементы типа "К", перечисленные
в таблице E.2. Никель-металлогидридные элементы можно заряжать, только если
имеется соответствующий стандарт МЭК.
E.5.2. Если
элементы или батареи заряжают внутри взрывонепроницаемой оболочки, то условия
зарядки должны полностью соответствовать требованиям, указанным изготовителем,
а установленные устройства защиты должны гарантировать, что эти условия не
будут нарушены.
E.5.3. При зарядке
должны быть приняты меры предосторожности, например, предотвращение обратной
зарядки.
E.5.4. Для батарей
емкостью 1,5 А x ч или менее (при номинальной разрядке
в течение одного часа) и объемом, занимающим менее 1% свободного объема
оболочки, дополнительные меры для предупреждения выделения электролитического
газа при зарядке не требуются.
Примечания. 1.
Данное требование не следует рассматривать как допущение выделения
электролитического газа из таких элементов.
2. Данное
требование ограничивает применение элементов (или батарей) без защитного
устройства такими типами, какие обычно называют "дисковыми
элементами", используемыми, например, во взрывонепроницаемых оболочках для
сохранения памяти программируемых электронных устройств.
E.5.5. При
установке батарей емкостью и (или) объемом, превышающими указанные значения,
зарядка их внутри взрывонепроницаемой оболочки возможна при условии, если
батарея оснащена устройствами защиты для отключения зарядного тока с целью
предотвращения повреждения элемента электролитическими газами, а также
превышения напряжения на любом элементе батареи максимально допустимого
значения, указанного изготовителем элемента.
E.6. Требования к
номинальным параметрам защитных диодов и надежности устройств защиты
E.6.1. Номинальное
значение напряжения защитных диодов, установленных согласно E.4.2, должно быть
не менее максимального значения напряжения разомкнутой
цепи батареи.
E.6.2. Номинальное
значение напряжения каждого из последовательно соединенных блокирующих диодов,
установленных согласно E.4.3, должно быть не менее
максимального амплитудного значения напряжения, возникающего внутри
оболочки.
E.6.3. Номинальный
ток защитных диодов должен быть не менее максимального
тока разрядки, ограниченного по E.4.1.
E.6.4. Устройства
защиты, соответствующие требованиям настоящего стандарта, должны образовывать
части системы контроля и управления. Изготовитель несет ответственность за то,
чтобы устойчивость безопасности системы контроля и управления соответствовала
уровню безопасности согласно настоящему стандарту.
Примечание. Части,
связанные с безопасностью и соответствующие требованиям уровня устойчивости
безопасности [3], могут соответствовать вышеупомянутым требованиям.
Приложение
F
(справочное)
СВЕДЕНИЯ
О СООТВЕТСТВИИ ССЫЛОЧНЫХ
НАЦИОНАЛЬНЫХ
СТАНДАРТОВ
РОССИЙСКОЙ
ФЕДЕРАЦИИ
ССЫЛОЧНЫМ
МЕЖДУНАРОДНЫМ
(РЕГИОНАЛЬНЫМ)
СТАНДАРТАМ
Таблица F.1
┌─────────────────────┬──────────────────────────────────────────┐
│Обозначение
ссылоч- │
Обозначение и наименование
│
│ного международного
│ соответствующего национального стандарта │
│стандарта │
│
├─────────────────────┼──────────────────────────────────────────┤
│МЭК
60034-1:1996 │ ГОСТ 28173-89
(МЭК 34-1-83). Машины │
│ │электрические
вращающиеся. Номинальные │
│ │данные и рабочие
характеристики │
├─────────────────────┼──────────────────────────────────────────┤
│МЭК
60061 (все части)│
<*>
│
├─────────────────────┼──────────────────────────────────────────┤
│МЭК
60079-0:1998 │ ГОСТ Р 51330.0-99 (МЭК 60079-0-98). │
│ │Электрооборудование
взрывозащищенное. │
│ │Часть 0. Общие
требования │
├─────────────────────┼──────────────────────────────────────────┤
│МЭК
60079-1-1:2002 │ ГОСТ Р 51330.2-99 (МЭК 60079-1А-75). │
│ │Электрооборудование
взрывозащищенное. │
│ │Часть 1. Взрывозащита вида "взрывонепрони-│
│ │цаемая
оболочка". Дополнение 1. Приложе- │
│ │ние
D. Метод определения безопасного
│
│ │экспериментального
максимального зазора │
├─────────────────────┼──────────────────────────────────────────┤
│МЭК
60079-7:2001 │ ГОСТ Р 51330.8-99. Электрооборудование │
│ │взрывозащищенное.
Часть 7. Защита вида e. │
├─────────────────────┼──────────────────────────────────────────┤
│МЭК
60079-11:1999 │ ГОСТ Р 51330.10-99 (МЭК 60079-11-99). │
│ │Электрооборудование
взрывозащищенное. │
│ │Часть 11.
Искробезопасная электрическая │
│ │цепь i │
├─────────────────────┼──────────────────────────────────────────┤
│МЭК
60086-1:2000 │ ГОСТ Р МЭК 86-1-96. Батареи первичные. │
│ │Часть 1. Общие
положения │
├─────────────────────┼──────────────────────────────────────────┤
│МЭК
60112:1979 │ ГОСТ 27473-87
(МЭК 112-79). Материалы │
│ │электроизоляционные
твердые. Методы опре- │
│ │деления
сравнительного и контрольного ин- │
│ │дексов
трекингостойкости во влажной среде │
├─────────────────────┼──────────────────────────────────────────┤
│МЭК
60127 (все части)│ ГОСТ Р 50537-93 (МЭК
127-1-88). Миниатюр-│
│ │ные
плавкие предохранители. Терминология
│
│ │для миниатюрных
плавких предохранителей и │
│ │общие требования к миниатюрным плавким
│
│ │вставкам │
│ │ ГОСТ Р 50538-93 (МЭК 127-2-89). Миниатюр-│
│ │ные
плавкие предохранители. Трубчатые
│
│ │плавкие вставки │
│ │ ГОСТ Р 50539-93 (МЭК 127-3-88). Миниатюр-│
│ │ные
плавкие предохранители. Субминиатюрные│
│ │плавкие
вставки │
├─────────────────────┼──────────────────────────────────────────┤
│МЭК
60529:1989 │ ГОСТ 14254-96
(МЭК 529-89). Степени │
│ │защиты,
обеспечиваемые оболочками (Код IP)│
├─────────────────────┼──────────────────────────────────────────┤
│МЭК
60707:1981 │ <*> │
├─────────────────────┼──────────────────────────────────────────┤
│ИСО
185:1988 │ <*> │
├─────────────────────┼──────────────────────────────────────────┤
│ИСО
965-1:1998 │ <*> │
├─────────────────────┼──────────────────────────────────────────┤
│ИСО 965-3:1998 │ ГОСТ 16093-2004 (ИСО
965-1:1998, │
│ │ИСО 965-3:1998). Основные нормы │
│ │взаимозаменяемости.
Резьба метрическая. │
│ │Допуски. Посадки с
зазором │
├─────────────────────┼──────────────────────────────────────────┤
│ИСО
1210:1982 │ <*> │
├─────────────────────┼──────────────────────────────────────────┤
│ИСО
2738:1999 │ <*> │
├─────────────────────┼──────────────────────────────────────────┤
│ИСО
4003:1977 │ <*> │
├─────────────────────┼──────────────────────────────────────────┤
│ИСО
4022:1987 │ <*> │
├─────────────────────┼──────────────────────────────────────────┤
│ИСО
6892:1998 │ <*> │
├─────────────────────┼──────────────────────────────────────────┤
│ANSI/ASME │ <*> │
│B1.20.1-1983
(R2001) │
│
├─────────────────────┴──────────────────────────────────────────┤
│
<*> Соответствующий национальный
стандарт отсутствует. До│
│его
утверждения рекомендуется использовать
перевод на русский│
│язык данного
международного стандарта. Перевод
данного│
│международного
стандарта находится в Федеральном
информационном│
│фонде технических регламентов и стандартов. │
└────────────────────────────────────────────────────────────────┘
БИБЛИОГРАФИЯ
[1] ИСО
468:1982. Шероховатость поверхности. Параметры, их значения и общие правила
установления технических требований (отменен в 1998 г.)
[2] ИСО
31-0:1992. Величины и единицы - Часть 0. Общие принципы
[3] МЭК 61058
(все части). Системы электрические/электронные/программируемые электронные,
связанные с функциональной безопасностью.